CN210644492U - An easily adjustable hospital bed for obstetrics and gynecology - Google Patents

An easily adjustable hospital bed for obstetrics and gynecology Download PDF

Info

Publication number
CN210644492U
CN210644492U CN201921215485.0U CN201921215485U CN210644492U CN 210644492 U CN210644492 U CN 210644492U CN 201921215485 U CN201921215485 U CN 201921215485U CN 210644492 U CN210644492 U CN 210644492U
Authority
CN
China
Prior art keywords
bolts
hospital bed
obstetrics
main
base
Prior art date
Legal status (The legal status is an assumption and is not a legal conclusion. Google has not performed a legal analysis and makes no representation as to the accuracy of the status listed.)
Expired - Fee Related
Application number
CN201921215485.0U
Other languages
Chinese (zh)
Inventor
刘菲
李海军
高永梅
舒阳
Current Assignee (The listed assignees may be inaccurate. Google has not performed a legal analysis and makes no representation or warranty as to the accuracy of the list.)
Jilin University
Original Assignee
Jilin University
Priority date (The priority date is an assumption and is not a legal conclusion. Google has not performed a legal analysis and makes no representation as to the accuracy of the date listed.)
Filing date
Publication date
Application filed by Jilin University filed Critical Jilin University
Priority to CN201921215485.0U priority Critical patent/CN210644492U/en
Application granted granted Critical
Publication of CN210644492U publication Critical patent/CN210644492U/en
Expired - Fee Related legal-status Critical Current
Anticipated expiration legal-status Critical

Links

Images

Landscapes

  • Accommodation For Nursing Or Treatment Tables (AREA)

Abstract

本实用新型公开了一种妇产科用便于调节的病床,包括底座,所述底座的顶部通过螺栓连接有U型结构的安装架,且安装架的顶部之间通过螺栓连接有主卧板,底座的底部四角均通过螺栓连接有带脚刹的万向轮,所述主卧板的一侧通过螺栓连接有次卧板,且次卧板的另一端通过螺栓连接有床头板,所述主卧板的另一侧铰接有两个活动腿板。本实用新型中,医护人员通过主电动推杆带动两个活动腿板向主卧板的底端折叠,使得病床一端倾斜,孕妇站立在踏板的水平段上即可借此进行躺卧,为孕妇躺卧提供便利,且在需要对孕妇进行检查时,可以利用两个主电动推杆带动两个活动腿板向上抬起,为医护人员孕检提供极大的便利。

Figure 201921215485

The utility model discloses an easily adjustable hospital bed for obstetrics and gynecology, which comprises a base, the top of the base is connected with a U-shaped structure mounting frame by bolts, and a master sleeping board is connected between the tops of the mounting frame by bolts. The bottom four corners of the base are all connected with universal wheels with foot brakes through bolts, one side of the master sleeping board is connected with a secondary sleeping board by bolts, and the other end of the secondary sleeping board is connected with a headboard through bolts. The other side of the master bedroom is hinged with two movable leg panels. In the utility model, the medical staff drives the two movable leg boards to fold to the bottom end of the main sleeping board through the main electric push rod, so that one end of the hospital bed is inclined, and the pregnant woman can lie down by standing on the horizontal section of the pedal. It is convenient to lie down, and when pregnant women need to be checked, two main electric push rods can be used to drive the two movable leg plates to lift up, which provides great convenience for medical staff to check pregnancy.

Figure 201921215485

Description

Gynaecology and obstetrics is with sick bed convenient to adjust
Technical Field
The utility model relates to the technical field of medical equipment, especially, relate to a sick bed of gynaecology and obstetrics with being convenient for adjust.
Background
The gynaecology and obstetrics is one of four main subjects of clinical medicine, and is mainly used for researching the etiology, pathology, diagnosis and prevention of female reproductive organ diseases, physiological and pathological changes of pregnancy and delivery, prevention and treatment of high-risk pregnancy and dystocia, female reproductive endocrine, family planning, female health care and the like, deep research of medical basic theories such as modern molecular biology, oncology, genetics, reproductive endocrinology, immunology and the like and the progress of clinical medicine diagnosis and treatment detection technology, so that the development of the gynaecology and obstetrics science is widened and deepened, and the important role is played for ensuring the health of the women and the reproductive health and preventing and treating various gynecological diseases.
At present, the sick bed is very commonly seen in obstetrics and gynecology department, and the angle that the sick bed inclines needs to be adjusted when the sick bed of current gynaecology and obstetrics is used, but, current sick bed structure is complicated, can only pass through hand-cranking mode in the accommodation process, with the both ends perk of sick bed, to medical personnel use inconvenient, and the inconvenient pregnant woman of action gets into bed the action difficulty, and it is inconvenient to use.
SUMMERY OF THE UTILITY MODEL
The utility model aims at solving the defects existing in the prior art and providing a hospital bed convenient to adjust for obstetrics and gynecology department.
In order to achieve the above purpose, the utility model adopts the following technical scheme:
the utility model provides a sick bed of gynaecology and obstetrics with being convenient for adjust, includes the base, there is the mounting bracket of U type structure at the top of base through bolted connection, and has main bed plate through bolted connection between the top of mounting bracket, and the bottom four corners of base all has the universal wheel of taking the service brake through bolted connection, there is time bed plate one side of main bed plate through bolted connection, and the other end of time bed plate has a head board through bolted connection, the opposite side of main bed plate articulates there are two movable leg plates, and the bottom of two movable leg plates all articulates there is main electric putter, and two main electric putter's bottom is articulated with the mounting bracket, the one end of base is equipped with the recess, and there is the footboard of L type structure bottom through bolted connection of recess.
Preferably, the top of the base is connected with a storage battery through a bolt.
Preferably, the two sides of the mounting rack are connected with a plurality of connecting rods through bolts, sickbed handrails are connected between the top ends of the connecting rods positioned on the same side through bolts, and the side surfaces of the sickbed handrails are connected with a controller through bolts.
Preferably, the top of the main lying plate, the top of the secondary lying plate and the top of the two movable leg plates are connected with a mattress through magic tapes.
Preferably, the top end of the horizontal section of the pedal is connected with a non-slip mat through a bolt.
Preferably, the main lying plate and the secondary lying plate are connected and replaced by hinges, and an auxiliary electric push rod is hinged between the secondary lying plate and the mounting frame.
Preferably, the inside of mounting bracket articulates there is the link of U type structure, and articulates between link and the time bed board has two movable connecting rods.
The utility model has the advantages that:
1. the utility model provides a gynaecology and obstetrics is with sick bed convenient to adjust, medical personnel drive two activity leg boards through main electric putter and fold to the bottom of main bed board for sick bed one end slope, the pregnant woman stands and can borrow this to lie on the horizontal segment of footboard, facilitate for the pregnant woman lies, and when needs are examined the pregnant woman, can utilize two main electric putter to drive two activity leg boards and upwards lift up the shank of pregnant woman, provide very big facility for medical personnel pregnant woman examines.
2. The utility model provides a gynaecology and obstetrics is with sick bed convenient to adjust, the mattress passes through the connected mode that the magic was pasted for the mattress foreshadowing is more firm, and is convenient for unpick and wash, for medical personnel's clearance brings very big facility, and the setting of slipmat can avoid the pregnant woman to trample the danger that the in-process appears slipping, and the security performance is high.
3. The utility model provides a gynaecology and obstetrics is with sick bed convenient to adjust can drive the tip of the board of lying for the time through vice electric putter and go up and down to make the angle between the board of lying for the time and the main board of lying for the time board of lying for the main board of lying for the time and activity leg board can be quick adjustment between seat and sick bed, increase the functionality of sick bed.
Drawings
Fig. 1 is a schematic cross-sectional structural view of a conveniently adjustable hospital bed for obstetrics and gynecology department according to an embodiment of the present invention;
fig. 2 is a schematic structural view of a pedal of a hospital bed convenient to adjust for obstetrics and gynecology department according to an embodiment of the present invention;
fig. 3 is a schematic cross-sectional structural view of a conveniently adjustable hospital bed for obstetrics and gynecology department according to the second embodiment of the present invention;
fig. 4 is a schematic view of a top view structure of a hospital bed for adjusting in obstetrics and gynecology department according to an embodiment of the present invention.
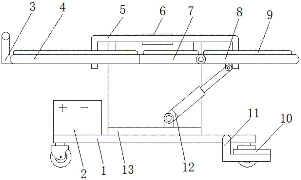
In the figure: the multifunctional bed comprises a base 1, a storage battery 2, a headboard 3, a secondary lying board 4, a sickbed handrail 5, a controller 6, a main lying board 7, a movable leg board 8, a mattress 9, a non-slip mat 10, a pedal 11, a main electric push rod 12, a mounting frame 13, an auxiliary electric push rod 14, a connecting frame 15 and a movable connecting rod 16.
Detailed Description
The technical solutions in the embodiments of the present invention will be described clearly and completely with reference to the accompanying drawings in the embodiments of the present invention, and it is obvious that the described embodiments are only some embodiments of the present invention, not all embodiments.
Example one
Referring to fig. 1-2, a hospital bed convenient for adjustment for obstetrics and gynecology department comprises a base 1, wherein the top of the base 1 is connected with a mounting frame 13 with a U-shaped structure through bolts, a main lying plate 7 is connected between the tops of the mounting frame 13 through bolts, four corners of the bottom of the base 1 are connected with universal wheels with foot brakes through bolts, one side of the main lying plate 7 is connected with a secondary lying plate 4 through bolts, the other end of the secondary lying plate 4 is connected with a headboard 3 through bolts, the other side of the main lying plate 7 is hinged with two movable leg plates 8, the bottoms of the two movable leg plates 8 are hinged with main electric push rods 12, the bottom ends of the two main electric push rods 12 are hinged with the mounting frame 13, one end of the base 1 is provided with a groove, the bottom of the groove is connected with a pedal 11 with an L-shaped structure through bolts, one end of the hospital bed is provided, when the pregnant woman moves about inconveniently, medical personnel drive two activity leg board 8 through main electric putter 12 and fold to the bottom of main board 7 of lying for sick bed one end slope, the pregnant woman stands and can whereby lie on the horizontal segment of footboard 11, it facilitates for the pregnant woman to lie, and when needs were examined the pregnant woman, can utilize two main electric putter 12 to drive two activity leg board 8 and upwards lift, provide very big facility for medical personnel pregnant woman examines.
In the utility model, the top of the base 1 is connected with the storage battery 2 through the bolt, and the storage battery 2 is used for providing electric power for the electric device on the sickbed, so that the sickbed can be adjusted in the moving process, and the mobility of the sickbed is improved;
the two sides of the mounting frame 13 are connected with a plurality of connecting rods through bolts, the top ends of the connecting rods positioned on the same side are connected with a sickbed handrail 5 through bolts, the side surface of the sickbed handrail 5 is connected with a controller 6 through bolts, a switch of an electric device in a sickbed is electrically connected with the storage battery 2 through the controller 6 and a lead, and the controller 6 can control the work of the electric device to drive the sickbed to adjust;
the top of main bed plate 7, inferior bed plate 4 and two activity leg boards 8 all is connected with mattress 9 through magic subsides, and mattress 9 passes through the connected mode that magic was pasted for mattress 9 bedding is more firm, and is convenient for unpick and wash, brings very big facility for medical personnel's clearance, and bolted connection has slipmat 10 on the horizontal segment top of footboard 11, and the setting of slipmat 10 can avoid the pregnant woman to trample the danger that the in-process appears slipping, and the security performance is high.
The working principle is as follows: in the idle position of the device, all the electric devices, which refer to power elements, electric devices, adaptive controllers and power supplies, are connected through leads, and the specific connection means refers to the following working principle that the electric devices are electrically connected in sequence, and the detailed connection means is a known technology in the field, the following mainly introduces the working principle and process without explaining the electric control, one end of a sickbed is provided with two movable leg plates 8 which can be adjusted through a main electric push rod 12, when a pregnant woman is inconvenient to move, a medical worker drives the two movable leg plates 8 to be folded towards the bottom end of a main lying plate 7 through the main electric push rod 12 to enable one end of the sickbed to be inclined and stand on the horizontal section of a pedal 11 of the pregnant woman to lie, so that the pregnant woman can lie conveniently, and when the pregnant woman needs to be checked, the two main electric push rods 12 can be used for driving the two movable leg plates 8 to lift the legs of the pregnant woman upwards, great convenience is provided for medical staff to perform pregnancy check;
mattress 9 is through the connected mode that the magic was pasted for mattress 9 foreshadowing is more firm, and is convenient for unpick and wash, for medical personnel's clearance brings very big facility, and the setting of slipmat 10 can avoid the pregnant woman to trample the danger that the in-process appears slipping, and the security performance is high.
Example two
Referring to fig. 3-4, the hospital bed for the gynaecology and obstetrics convenient to adjust is characterized in that a main lying plate 7 and a secondary lying plate 4 are connected through hinges instead of being connected, an auxiliary electric push rod 14 is hinged between the secondary lying plate 4 and an installation frame 13, and the end of the secondary lying plate 4 can be driven to lift through the auxiliary electric push rod 14, so that the angle between the secondary lying plate 4 and the main lying plate 7 has good adjustability, the main lying plate 7, the secondary lying plate 4 and a movable leg plate 8 can be quickly adjusted between a seat and the hospital bed, and the functionality of the hospital bed is improved;
the inside of mounting bracket 13 articulates there is the link 15 of U type structure, and articulates between link 15 and time bed plate 4 to have two movable connecting rod 16, drives the one end perk of link 15 through movable connecting rod 16 at the in-process that time bed plate 4 was adjusted, and medical personnel can act as the push rod with link 15, promotes to adjust into the sick bed of seat structure and removes, uses for medical personnel and provides very big facility.
The working principle is as follows: can drive the tip of inferior board 4 through vice electric putter 14 and go up and down, thereby make the angle between inferior board 4 and the main board 7 of sleeping in have good regulation nature, make main board 7 of sleeping in, inferior board 4 and activity leg board 8 of sleeping in can be quick adjustment between seat and sick bed, increase the functional of sick bed, the one end perk that drives link 15 through movable connecting rod 16 at the in-process that inferior board 4 was adjusted, medical personnel can act as the push rod with link 15, promote to adjust into the sick bed of seat structure and remove, provide very big facility for medical personnel use.
The above, only be the concrete implementation of the preferred embodiment of the present invention, but the protection scope of the present invention is not limited thereto, and any person skilled in the art is in the technical scope of the present invention, according to the technical solution of the present invention and the utility model, the concept of which is equivalent to replace or change, should be covered within the protection scope of the present invention.

Claims (7)

1. A hospital bed convenient to adjust for obstetrics and gynecology department comprises a base (1), wherein the top of the base (1) is connected with a mounting rack (13) with a U-shaped structure through a bolt, the top of the mounting frame (13) is connected with a main horizontal plate (7) through bolts, four corners of the bottom of the base (1) are connected with universal wheels with foot brakes through bolts, one side of the main horizontal plate (7) is connected with a secondary horizontal plate (4) through bolts, the other end of the secondary lying plate (4) is connected with a headboard (3) through a bolt, it is characterized in that the other side of the main lying plate (7) is hinged with two movable leg plates (8), the bottoms of the two movable leg plates (8) are respectively hinged with a main electric push rod (12), the bottom ends of the two main electric push rods (12) are hinged with a mounting frame (13), one end of the base (1) is provided with a groove, and the bottom of the groove is connected with a pedal (11) with an L-shaped structure through a bolt.
2. The adjustable hospital bed for obstetrics and gynecology department according to claim 1, characterized in that the top of the base (1) is connected with the storage battery (2) through bolts.
3. The adjustable hospital bed for obstetrics and gynecology department according to claim 2, characterized in that, a plurality of connecting rods are connected to both sides of the mounting frame (13) through bolts, a hospital bed handrail (5) is connected between the top ends of the connecting rods on the same side through bolts, and a controller (6) is connected to the side surface of the hospital bed handrail (5) through bolts.
4. The adjustable hospital bed for obstetrics and gynecology department according to claim 1, wherein the top of the main lying plate (7), the secondary lying plate (4) and the two movable leg plates (8) are connected with a mattress (9) through magic tapes.
5. The adjustable hospital bed for obstetrics and gynecology department according to claim 4, wherein the top end of the horizontal section of the pedal (11) is connected with a non-slip mat (10) through a bolt.
6. The adjustable hospital bed for obstetrics and gynecology department according to claim 3, characterized in that the connection of the main lying plate (7) and the secondary lying plate (4) is replaced by a hinge connection, and an auxiliary electric push rod (14) is hinged between the secondary lying plate (4) and the mounting frame (13).
7. The adjustable hospital bed for obstetrics and gynecology department according to claim 6, characterized in that the inside of the mounting frame (13) is hinged with a connecting frame (15) with a U-shaped structure, and two movable connecting rods (16) are hinged between the connecting frame (15) and the secondary lying plate (4).
CN201921215485.0U 2019-07-30 2019-07-30 An easily adjustable hospital bed for obstetrics and gynecology Expired - Fee Related CN210644492U (en)

Priority Applications (1)

Application Number Priority Date Filing Date Title
CN201921215485.0U CN210644492U (en) 2019-07-30 2019-07-30 An easily adjustable hospital bed for obstetrics and gynecology

Applications Claiming Priority (1)

Application Number Priority Date Filing Date Title
CN201921215485.0U CN210644492U (en) 2019-07-30 2019-07-30 An easily adjustable hospital bed for obstetrics and gynecology

Publications (1)

Publication Number Publication Date
CN210644492U true CN210644492U (en) 2020-06-02

Family

ID=70833054

Family Applications (1)

Application Number Title Priority Date Filing Date
CN201921215485.0U Expired - Fee Related CN210644492U (en) 2019-07-30 2019-07-30 An easily adjustable hospital bed for obstetrics and gynecology

Country Status (1)

Country Link
CN (1) CN210644492U (en)

Cited By (1)

* Cited by examiner, † Cited by third party
Publication number Priority date Publication date Assignee Title
CN115429600A (en) * 2022-11-09 2022-12-06 安徽省立医院(中国科学技术大学附属第一医院) Three-type operation bed for regulating ovum taking

Cited By (1)

* Cited by examiner, † Cited by third party
Publication number Priority date Publication date Assignee Title
CN115429600A (en) * 2022-11-09 2022-12-06 安徽省立医院(中国科学技术大学附属第一医院) Three-type operation bed for regulating ovum taking

Similar Documents

Publication Publication Date Title
CN107802449A (en) A kind of gynaecology and obstetrics operation auxiliary frame
CN103919656B (en) a nursing device
CN113274233B (en) Obstetric table supported by limbs for obstetrical clinic
CN205626342U (en) Gynecology and obstetrics nursing device
CN209450861U (en) An emergency examination bed
CN210644492U (en) An easily adjustable hospital bed for obstetrics and gynecology
CN220513028U (en) Four-column standing bed
CN115813696A (en) Multifunctional examining bed
CN211835100U (en) Nursing room multifunctional bed rail
CN211156153U (en) Novel clinical production of gynaecology and obstetrics is assisted device
CN216777469U (en) Novel bed is examined to woman
CN213994108U (en) Auxiliary delivery device for obstetrics and gynecology department
CN213851766U (en) Multi-functional supplementary device of delivering a child of gynaecology and obstetrics
CN215020868U (en) Gynaecology and obstetrics's nursing bed convenient to accompany and attend to
CN211512396U (en) Limbs supporting device for obstetrics and gynecology department
CN213465837U (en) Clinical production of gynaecology and obstetrics assists device
CN210228331U (en) Obstetrical examination equipment and control system thereof
CN209316327U (en) A mobile assisting device for disabled patients
CN109259961B (en) patient transfer vehicle
CN214679271U (en) Obstetrical department uses medical bed
CN218636286U (en) Be used for clinical operation auxiliary device of gynaecology and obstetrics
CN206730081U (en) Nurse lifting apparatus
CN206603870U (en) Medical scoop stretcher transfer car(buggy)
CN222238109U (en) A movable tooling for hospital bed
CN215425804U (en) Multifunctional obstetric table for gynecological nursing

Legal Events

Date Code Title Description
GR01 Patent grant
GR01 Patent grant
CF01 Termination of patent right due to non-payment of annual fee
CF01 Termination of patent right due to non-payment of annual fee

Granted publication date: 20200602