CN210511916U - Indoor unit of air conditioner - Google Patents

Indoor unit of air conditioner Download PDF

Info

Publication number
CN210511916U
CN210511916U CN201921519843.7U CN201921519843U CN210511916U CN 210511916 U CN210511916 U CN 210511916U CN 201921519843 U CN201921519843 U CN 201921519843U CN 210511916 U CN210511916 U CN 210511916U
Authority
CN
China
Prior art keywords
indoor unit
fresh air
air conditioner
air
conditioner indoor
Prior art date
Legal status (The legal status is an assumption and is not a legal conclusion. Google has not performed a legal analysis and makes no representation as to the accuracy of the status listed.)
Expired - Fee Related
Application number
CN201921519843.7U
Other languages
Chinese (zh)
Inventor
孟庆刚
黄民柱
张江
王伟戈
肖美娜
Current Assignee (The listed assignees may be inaccurate. Google has not performed a legal analysis and makes no representation or warranty as to the accuracy of the list.)
Hisense Air Conditioning Co Ltd
Original Assignee
Hisense Shandong Air Conditioning Co Ltd
Priority date (The priority date is an assumption and is not a legal conclusion. Google has not performed a legal analysis and makes no representation as to the accuracy of the date listed.)
Filing date
Publication date
Application filed by Hisense Shandong Air Conditioning Co Ltd filed Critical Hisense Shandong Air Conditioning Co Ltd
Priority to CN201921519843.7U priority Critical patent/CN210511916U/en
Application granted granted Critical
Publication of CN210511916U publication Critical patent/CN210511916U/en
Expired - Fee Related legal-status Critical Current
Anticipated expiration legal-status Critical

Links

Images

Landscapes

  • Air Filters, Heat-Exchange Apparatuses, And Housings Of Air-Conditioning Units (AREA)

Abstract

The utility model provides an air-conditioning indoor unit, which comprises an electric control box (3), a heat exchanger (2), a base (24) and a shell combined with the base (24); the heat exchanger (2) is arranged in the shell, and the heat exchanger (2) comprises a connecting end (6) connected with an outdoor unit; the shell and the base (24) jointly define a mounting cavity for accommodating the electric control box (3), and the electric control box (3) is positioned on one side of the connecting end (6) of the heat exchanger (2); the air-conditioning indoor unit (1) comprises a fresh air device (7), wherein the fresh air device (7) is arranged outside the air-conditioning indoor unit (1) and is positioned at the top of the electric control box (3); the fresh air device (7) comprises a fresh air outlet (15) facing the front side of the indoor unit of the air conditioner; the utility model provides an indoor unit of air conditioner, it sets up the top of new trend device in the indoor unit of air conditioner, does not occupy the inner space of indoor unit of air conditioner, effectively reduces the influence to the size of indoor unit of air conditioner.

Description

Indoor unit of air conditioner
Technical Field
The utility model belongs to the technical field of the air conditioner, especially, relate to an indoor unit of air conditioner.
Background
When the industry is rapidly developed, the population is extremely rapidly increased, an environment and human crisis is hidden behind the flourishing, the air pollution seriously threatens the health of people, and more than 70 percent of the time is spent indoors for people living in cities in particular. Research shows that indoor air pollution far exceeds outdoor air pollution: outdoor dirty air in haze weather enters the room through doors and windows, and toxic gas continuously emitted by indoor decoration materials, paint, furniture and the like is gathered indoors, so that second-hand smoke, kitchen oil smoke and the like pollute the indoor air, and the indoor air pollution is more than 5 times more serious than that outdoors. Therefore, a fresh air and air conditioner integrated machine is arranged in the prior art to adjust the temperature of indoor air and perform cleaning treatment, so that the quality of the indoor air is improved.
At present, the current fresh air device of on-hook mostly sets up the tip at the indoor set to be located the inside of indoor set completely, current fresh air device occupies the tip space of indoor set, leads to indoor set length to be long partially under the structure setting of guaranteeing the new trend air supply volume, is unfavorable for the size of control indoor set.
In view of this, the present invention is proposed.
Disclosure of Invention
The utility model discloses to foretell technical problem, provide an indoor unit of air conditioner.
In order to achieve the above object, the utility model discloses a technical scheme be:
the air-conditioning indoor unit comprises an electric control box, a heat exchanger, a base and a shell combined with the base; the heat exchanger is arranged in the shell and comprises a connecting end connected with the outdoor unit; the shell and the base jointly define an installation cavity for accommodating the electric control box, and the electric control box is positioned on one side of the connecting end of the heat exchanger; the air-conditioning indoor unit comprises a fresh air device, and the fresh air device is arranged outside the air-conditioning indoor unit and is positioned at the top of the electric control box; the fresh air device comprises a fresh air outlet facing the front side of the indoor unit of the air conditioner.
Preferably, the fresh air device comprises a fan module and an air inlet cavity; the air inlet cavity is arranged at the top of the indoor unit of the air conditioner; the fan module is located air inlet chamber top, and is linked together with the air inlet chamber.
Preferably, a fresh air communicating opening is formed in the top of the air inlet cavity; the fan module comprises a fresh air suction inlet; the fresh air suction inlet is connected with the fresh air communication port.
Preferably, the air-conditioning indoor unit comprises a side end plate positioned on one side of the connecting end of the heat exchanger, a gap is formed between the side end plate and the electric control box, and an accommodating groove is formed between the side end plate and a box body of the electric control box.
Preferably, a fresh air pipe interface is arranged in an area, corresponding to the accommodating groove, of the top of the indoor unit of the air conditioner; the fresh air pipe joint corresponds to a fresh air pipe joint at the top of the indoor unit of the air conditioner and penetrates through the fresh air pipe joint to enter the accommodating groove.
Preferably, the fresh air device is covered with an outer cover.
Preferably, a through hole is formed in the bottom of the outer cover and corresponds to the fresh air pipe joint; and a fresh air pipe joint on the fresh air device penetrates through the through hole.
Preferably, the housing comprises a casing; an opening is formed in one end of the housing, and a baffle is arranged outside the opening; the baffle plate is matched with the housing to form an accommodating space for accommodating the fresh air device.
Preferably, the bottom of the fresh air device is provided with a fresh air pipe joint, and the fresh air pipe joint can be connected with a fresh air pipe.
Preferably, the top of the indoor unit of the air conditioner is provided with an air inlet, and the fresh air device is located adjacent to the air inlet.
Compared with the prior art, the utility model discloses an advantage lies in with positive effect:
the utility model provides an air-conditioning indoor unit, which arranges a fresh air device at the top of the air-conditioning indoor unit, does not occupy the inner space of the air-conditioning indoor unit, and effectively reduces the influence on the size of the air-conditioning indoor unit; simultaneously with the new trend air outlet of new trend device towards the front side of air conditioning indoor set to guide new trend to blow to the front of indoor set, be favorable to the diffusion of new trend in indoor, improved user's comfort level.
Drawings
Fig. 1 is a schematic view of the whole structure of the indoor unit of the air conditioner of the present invention;
FIG. 2 is an exploded view of the indoor unit of the air conditioner of the present invention;
FIG. 3 is a schematic structural view of a fresh air device of the indoor unit of an air conditioner of the present invention;
fig. 4 is a schematic structural view of a fan module of the indoor unit of the air conditioner of the present invention;
FIG. 5 is a first schematic view of the structure of the casing of the indoor unit of the air conditioner of the present invention;
FIG. 6 is a second schematic view of the housing structure of the indoor unit of the air conditioner of the present invention;
fig. 7 is a schematic view of a partial structure of an indoor unit of an air conditioner according to the present invention;
fig. 8 is a schematic view of the overall structure of the indoor unit of the air conditioner of the present invention;
fig. 9 is a schematic view of a partial structure of an indoor unit of an air conditioner of the present invention;
fig. 10 is a schematic view of the overall structure of the indoor unit of an air conditioner according to the present invention.
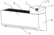
In the above figures: an air-conditioning indoor unit 1; a heat exchanger 2; an electric control box 3; an air inlet 4; an air outlet 5; a connecting end 6; a fresh air device 7; a side end plate 8; a housing tank 9; a fresh air pipe connector 10; a fan module 11; an air inlet cavity 12; a fresh air communication port 13; a fresh air suction inlet 14; a fresh air outlet 15; a fresh air duct joint 16; a housing 17; a housing 18; an opening 20; a baffle plate 21; a through-hole 22; a through hole 23; a base 24.
Detailed Description
The present invention is further described below in conjunction with specific embodiments so that those skilled in the art may better understand the present invention and can implement the present invention, but the scope of the present invention is not limited to the scope described in the detailed description. It should be noted that the embodiments and features of the embodiments in the present application may be arbitrarily combined with each other without conflict.
It should be noted that all directional indicators (such as up, down, left, right, front, and back) in the embodiments of the present invention are only used to explain the relative position relationship between the components, the motion situation, etc. in a specific posture (as shown in the drawings), and if the specific posture is changed, the directional indicator is correspondingly changed accordingly.
In addition, the descriptions related to "first", "second", etc. in the present invention are for descriptive purposes only and are not to be construed as indicating or implying relative importance or implicit ly indicating the number of technical features indicated. Thus, a feature defined as "first" or "second" may explicitly or implicitly include at least one such feature.
In addition, the technical solutions in the embodiments may be combined with each other, but it must be based on the realization of those skilled in the art, and when the technical solutions are contradictory or cannot be realized, the combination of the technical solutions should not be considered to exist, and is not within the protection scope of the present invention.
As shown in fig. 1-10, an air-conditioning indoor unit 1 includes an electric control box 3, a heat exchanger 2, a base 24, and a casing combined with the base 24. The top of the indoor air-conditioning unit 1 is provided with an air inlet 4, and the front lower side of the indoor air-conditioning unit 1 is provided with an air outlet 5. The heat exchanger 2 is arranged in the shell; the heat exchanger 2 comprises a connecting end 6, and the copper pipe of the heat exchanger 2 of the indoor unit 1 of the air conditioner and the interface of the copper pipe of the heat exchanger of the outdoor unit are both positioned at the connecting end 6. In this embodiment, the connection end 6 of the indoor unit 1 of the air conditioner is arranged at the right end of the indoor unit 1 of the air conditioner; the shell and the base 24 jointly define a mounting cavity for accommodating the electric control box 3, and the electric control box 3 is mounted on the base 24 and is positioned on one side of the connecting end 6 of the heat exchanger 2.
The electric control box 3 is connected with the base 24 through detachable connecting structures such as screws, buckle structures and the like. As a known technology, the electrical control box 3 has an inner cavity for accommodating electrical control elements of the air conditioner, and the electrical control elements in the electrical control box 3 are connected to electrical devices (such as an air deflector driving motor, a display lamp circuit board, etc.) distributed at various positions of the indoor unit 1 of the air conditioner through wires.
The indoor unit 1 of the air conditioner comprises a fresh air device 7, wherein the fresh air device 7 is arranged at the top of the indoor unit 1 of the air conditioner and corresponds to the position of the electric control box 3. The fresh air device 7 is located at the position adjacent to the air inlet 4 at the top of the indoor air conditioner 1, so that the length and the size of the indoor air conditioner 1 are effectively limited, and meanwhile, the air inlet 4 is not shielded.
The air-conditioning indoor unit 1 comprises a side end plate 8 positioned on one side of the connecting end 6 of the heat exchanger 2, a gap is formed between the side end plate 8 and the electric control box 3, and an accommodating groove 9 is formed between the side end plate 8 and the electric control box 3. A fresh air pipe connector 10 is arranged in the area, corresponding to the accommodating groove 9, of the top of the indoor unit 1 of the air conditioner; namely, the fresh air pipe interface 10 penetrates through the top of the indoor unit 1 of the air conditioner and is communicated with the accommodating groove 9.
The fresh air device 7 comprises a fan module 11 and an air inlet cavity 12. The air inlet cavity 12 is arranged at the top of the indoor unit 1 of the air conditioner; the fan module 11 is located on the top of the air inlet cavity 12 and is communicated with the air inlet cavity 12. And a fresh air communicating opening 13 is formed in the top of the air inlet cavity 12. The fan module 11 comprises a fresh air suction inlet 14 and a fresh air outlet 15; the fresh air suction port 14 corresponds to the fresh air communication port 13 so as to communicate the air inlet cavity 12 with the fan module 11; the fresh air outlet 15 is arranged on the front surface of the indoor unit 1 of the air conditioner, namely, in front of the indoor unit 1 of the air conditioner. The fresh air device is arranged in the indoor unit in the current market, and the fresh air outlet of the fresh air device can be arranged on the top surface, the side surface, the front surface and the lower surface. If the fresh air outlet is arranged on the top surface, because the installation position of the indoor unit is closer to the ceiling, the fresh air blown out from the fresh air outlet is easy to blow to the ceiling, and the diffusion of the fresh air indoors is not facilitated. If the fresh air outlet is arranged on the side face, the diffusion of the fresh air to the other side is not facilitated. If the fresh air outlet is arranged on the front side, an air outlet or an air outlet hole needs to be added on the panel of the indoor unit, and the appearance effect of the panel of the indoor unit is affected. If the fresh air outlet is arranged below, when the fresh air function is used in winter or summer, the fresh air can blow to people, and the people feel uncomfortable. In the embodiment, the fresh air device 7 is arranged at the top of the indoor unit 1 of the air conditioner, so that the internal space of the indoor unit 1 of the air conditioner is not occupied, and the size of the indoor unit 1 of the air conditioner is not affected. In addition, the fresh air outlet 15 of the fresh air device 7 is arranged on the front face of the indoor unit 1 of the air conditioner, and guides fresh air to blow to the front face of the indoor unit, so that the fresh air device is favorable for indoor diffusion of fresh air, and user experience is improved.
And a fresh air pipe joint 16 is arranged at the bottom of the air inlet cavity 12, the fresh air pipe joint 16 can be connected with a fresh air pipe, and the fresh air pipe is communicated with the outside so as to introduce outdoor air into the room. The fresh air pipe joint 16 corresponds to the fresh air pipe joint 10 at the top of the indoor unit 1 of the air conditioner and penetrates through the fresh air pipe joint 10 to enter the accommodating groove 9; avoid new trend coupling and new trend pipe in the holding tank 9, it is little to the whole length size influence of air conditioning indoor set 1. The fresh air pipe joint 10 is arranged in the embodiment, so that the fresh air pipe joint 16 can be effectively avoided, and the fresh air pipe is arranged in the accommodating groove 9; install in holding tank 9 the new tuber pipe can merge together with the pipeline and pass the wall body, need not in addition to punch for passing the new tuber pipe on the wall body, reduces the installation procedure of air conditioner, improves the installation effectiveness.
The air-conditioning indoor unit 1 comprises an outer cover 17, and a fresh air device 7 is installed in the outer cover 17. In this embodiment, the housing 17 includes a housing 18 and a baffle 21, an opening 20 is disposed at one end of the housing 18, the baffle 21 is matched with the opening 20 of the housing 18, and the baffle 21 and the housing 18 are matched to form an accommodating space for accommodating the fresh air device 7. The bottom of the housing 18 is provided with a through hole 22, and the front side of the housing is provided with a through hole 23; the through hole 22 corresponds to the fresh air pipe joint 10 at the top of the indoor unit 1 of the air conditioner; a fresh air pipe joint 16 on the fresh air device 7 penetrates through the through hole 22 and the fresh air pipe joint 10; the through hole 23 corresponds to the fresh air outlet 15 on the fan module 11. The fresh air device 7 is installed in the housing 18 through an opening 20 on the housing 18, and then a baffle 21 is installed to shield. In this embodiment, the opening 20 of the housing 18 is disposed at the rear side; the appearance of the air-conditioning indoor unit 1 is beautiful. In addition, in the embodiment, the fresh air device 7 is installed in the outer cover 17, so that the fresh air device 7 and the outer cover 17 are integrated, and the top of the indoor unit 1 of the air conditioner is convenient to disassemble and assemble.
The utility model arranges the fresh air device 7 at the top of the indoor unit 1 of the air conditioner, does not occupy the inner space of the indoor unit 1 of the air conditioner, and reduces the influence on the size of the indoor unit of the air conditioner; in addition, the fresh air outlet 15 of the fresh air device 7 is arranged on the front side, and fresh air is blown to the front side of the indoor unit 1 of the air conditioner, so that the indoor diffusion of the fresh air is facilitated. The bottom of the fresh air device 7 is provided with a fresh air pipe joint 16 which can be connected with a fresh air pipe joint 10 arranged at the top of the indoor unit 1 of the air conditioner, and the fresh air pipe is arranged inside the indoor unit 1 of the air conditioner and is connected with the fresh air device 7 through the fresh air pipe joint 10.
The above description is only a preferred embodiment of the present invention, and is not intended to limit the present invention in other forms, and any person skilled in the art may use the above-mentioned technical contents to change or modify the equivalent embodiment into equivalent changes and apply to other fields, but any simple modification, equivalent change and modification made to the above embodiments according to the technical matters of the present invention will still fall within the protection scope of the technical solution of the present invention.

Claims (10)

1.空调室内机,其包括电控盒(3)、换热器(2)、底座(24)及与该底座(24)相结合的壳体;所述换热器(2)安装在壳体内,且所述换热器(2)包括与室外机连接的连接端(6);所述壳体与底座(24)共同限定出容置电控盒(3)的安装腔,所述电控盒(3)位于换热器(2)的连接端(6)一侧;其特征在于:所述空调室内机(1)包括新风装置(7),所述新风装置(7)设于空调室内机(1)的外部,且位于电控盒(3)的顶部;所述新风装置(7)包括朝向空调室内机(1)前侧的新风出风口(15)。1. An indoor unit of an air conditioner, comprising an electric control box (3), a heat exchanger (2), a base (24) and a casing combined with the base (24); the heat exchanger (2) is installed in the casing and the heat exchanger (2) includes a connection end (6) connected to the outdoor unit; the casing and the base (24) together define an installation cavity for accommodating the electric control box (3), the electric control box (3). The control box (3) is located on the side of the connecting end (6) of the heat exchanger (2); it is characterized in that: the air conditioner indoor unit (1) includes a fresh air device (7), and the fresh air device (7) is arranged in the air conditioner The outside of the indoor unit (1) and located at the top of the electric control box (3); the fresh air device (7) includes a fresh air outlet (15) facing the front side of the air conditioner indoor unit (1). 2.根据权利要求1所述的空调室内机,其特征在于:所述新风装置(7)包括风机模块(11)和进风腔(12);所述进风腔(12)安装于空调室内机(1)的顶部;所述风机模块(11)位于进风腔(12)顶部,且与进风腔(12)相连通。2. The air conditioner indoor unit according to claim 1, characterized in that: the fresh air device (7) comprises a fan module (11) and an air inlet chamber (12); the air inlet chamber (12) is installed in the air conditioner room The fan module (11) is located on the top of the air inlet cavity (12) and communicated with the air inlet cavity (12). 3.根据权利要求2所述的空调室内机,其特征在于:所述进风腔(12)顶部设有新风连通口(13);所述风机模块(11)包括新风吸入口(14);所述新风吸入口(14)与新风连通口(13)相连接。3. The air conditioner indoor unit according to claim 2, characterized in that: the top of the air inlet cavity (12) is provided with a fresh air communication port (13); the fan module (11) comprises a fresh air suction port (14); The fresh air suction port (14) is connected with the fresh air communication port (13). 4.根据权利要求1所述的空调室内机,其特征在于:所述空调室内机(1)包括位于换热器(2)的连接端(6)一侧的侧端板(8),所述侧端板(8)与电控盒(3)之间设有间隙,并于侧端板(8)与底座(24)端部之间形成容纳槽(9)。4. The air conditioner indoor unit according to claim 1, characterized in that: the air conditioner indoor unit (1) comprises a side end plate (8) on one side of the connection end (6) of the heat exchanger (2), so A gap is provided between the side end plate (8) and the electric control box (3), and a receiving groove (9) is formed between the side end plate (8) and the end of the base (24). 5.根据权利要求4所述的空调室内机,其特征在于:所述新风装置(7)底部设有新风管接头(16),所述新风管接头(16)能够连接新风管。5 . The air conditioner indoor unit according to claim 4 , wherein a fresh air pipe joint ( 16 ) is provided at the bottom of the fresh air device ( 7 ), and the fresh air pipe joint ( 16 ) can be connected to a fresh air pipe. 6 . 6.根据权利要求5所述的空调室内机,其特征在于:所述空调室内机(1)顶部与容纳槽(9)相对应的区域设有新风管接口(10);所述新风管接头(16)与空调室内机(1)顶部的新风管接口(10)相对应,并穿过新风管接口(10)进入容纳槽(9)内。6. The air conditioner indoor unit according to claim 5, characterized in that: a fresh air duct interface (10) is provided in the area corresponding to the top of the air conditioner indoor unit (1) and the accommodating groove (9); The pipe joint (16) corresponds to the fresh air duct interface (10) on the top of the air conditioner indoor unit (1), and passes through the fresh air duct interface (10) into the accommodating groove (9). 7.根据权利要求5所述的空调室内机,其特征在于:所述新风装置(7) 上罩设有外罩(17)。7. The air conditioner indoor unit according to claim 5, characterized in that: an outer cover (17) is provided on the upper cover of the fresh air device (7). 8.根据权利要求7所述的空调室内机,其特征在于:所述外罩(17)底部设有贯穿孔(22),所述贯穿孔(22)与所述新风管接头(16)相对应;所述新风装置(7)上的新风管接头(16)穿过贯穿孔(22)。8 . The air conditioner indoor unit according to claim 7 , wherein a through hole ( 22 ) is provided at the bottom of the outer cover ( 17 ), and the through hole ( 22 ) is in contact with the fresh air pipe joint ( 16 ). 9 . Correspondingly: the fresh air pipe joint (16) on the fresh air device (7) passes through the through hole (22). 9.根据权利要求8所述的空调室内机,其特征在于:所述外罩(17)包括罩壳(18);所述罩壳(18)一端设有开口(20),所述开口(20)外设有挡板(21);所述挡板(21)与罩壳(18)相配合形成容置新风装置(7)的容纳空间。9. The air conditioner indoor unit according to claim 8, characterized in that: the outer cover (17) comprises a cover (18); an opening (20) is provided at one end of the cover (18), and the opening (20) ) is provided with a baffle plate (21); the baffle plate (21) cooperates with the casing (18) to form an accommodation space for accommodating the fresh air device (7). 10.根据权利要求1所述的空调室内机,其特征在于:所述空调室内机(1)顶部设有进风口(4),所述新风装置(7)位于进风口(4)的相邻位置。10. The air conditioner indoor unit according to claim 1, characterized in that: an air inlet (4) is provided at the top of the air conditioner indoor unit (1), and the fresh air device (7) is located adjacent to the air inlet (4). Location.
CN201921519843.7U 2019-09-11 2019-09-11 Indoor unit of air conditioner Expired - Fee Related CN210511916U (en)

Priority Applications (1)

Application Number Priority Date Filing Date Title
CN201921519843.7U CN210511916U (en) 2019-09-11 2019-09-11 Indoor unit of air conditioner

Applications Claiming Priority (1)

Application Number Priority Date Filing Date Title
CN201921519843.7U CN210511916U (en) 2019-09-11 2019-09-11 Indoor unit of air conditioner

Publications (1)

Publication Number Publication Date
CN210511916U true CN210511916U (en) 2020-05-12

Family

ID=70569759

Family Applications (1)

Application Number Title Priority Date Filing Date
CN201921519843.7U Expired - Fee Related CN210511916U (en) 2019-09-11 2019-09-11 Indoor unit of air conditioner

Country Status (1)

Country Link
CN (1) CN210511916U (en)

Cited By (1)

* Cited by examiner, † Cited by third party
Publication number Priority date Publication date Assignee Title
CN114110754A (en) * 2021-11-26 2022-03-01 Tcl空调器(中山)有限公司 Indoor unit of air conditioner

Cited By (1)

* Cited by examiner, † Cited by third party
Publication number Priority date Publication date Assignee Title
CN114110754A (en) * 2021-11-26 2022-03-01 Tcl空调器(中山)有限公司 Indoor unit of air conditioner

Similar Documents

Publication Publication Date Title
CN210463245U (en) Air conditioner indoor unit
MY136575A (en) Air conditioner
CN210511916U (en) Indoor unit of air conditioner
CN210832261U (en) Floor type air conditioner indoor unit and air conditioner
CN216592216U (en) Fresh air device and air conditioner indoor unit having the same
CN113639360B (en) Fresh air device and air conditioner indoor unit having the same
CN210463243U (en) Indoor unit of air conditioner
CN210601934U (en) Air conditioner indoor unit and air conditioner
CN207334917U (en) The apparatus of air conditioning
CN210463244U (en) Indoor unit of air conditioner
CN201314647Y (en) Indoor unit of triangular vertical air-conditioner
CN201259279Y (en) Embedded side-blown air conditioner indoor unit combination and installation structure
CN211695284U (en) Automatic air supplement device with oil smoke heat recovery function
CN221279593U (en) Indoor ecological environment system
CN206377744U (en) Air conditioner room unit
JPH02169938A (en) air conditioner
CN2716709Y (en) Energy-saving ventilator
CN221197555U (en) Window air conditioner
CN208011869U (en) Wall-hanging air conditioner indoor unit and wall-hanging air conditioner
CN218495119U (en) Indoor unit and air conditioner
CN114593467A (en) Indoor unit of air conditioner, air conditioner system, and ion generation unit
CN100487326C (en) Indoor unit of separated wall air-conditioner
CN217817061U (en) Machine and air conditioner in new trend air conditioning
CN220689214U (en) Wall-mounted environment all-in-one machine
CN217357176U (en) Wall-mounted air conditioner indoor unit and air conditioner

Legal Events

Date Code Title Description
GR01 Patent grant
GR01 Patent grant
CP03 Change of name, title or address
CP03 Change of name, title or address

Address after: No.1 Haixin Road, Nancun Town, Pingdu City, Qingdao City, Shandong Province

Patentee after: Hisense Air Conditioning Co.,Ltd.

Country or region after: China

Address before: No. 151, Zhuzhou Road, Laoshan District, Qingdao, Shandong

Patentee before: HISENSE (SHANDONG) AIR-CONDITIONING Co.,Ltd.

Country or region before: China

CF01 Termination of patent right due to non-payment of annual fee
CF01 Termination of patent right due to non-payment of annual fee

Granted publication date: 20200512