CN210114693U - A negative pressure suction device - Google Patents
A negative pressure suction device Download PDFInfo
- Publication number
- CN210114693U CN210114693U CN201822269817.5U CN201822269817U CN210114693U CN 210114693 U CN210114693 U CN 210114693U CN 201822269817 U CN201822269817 U CN 201822269817U CN 210114693 U CN210114693 U CN 210114693U
- Authority
- CN
- China
- Prior art keywords
- negative pressure
- pipe
- fixedly connected
- adsorption
- brush body
- Prior art date
- Legal status (The legal status is an assumption and is not a legal conclusion. Google has not performed a legal analysis and makes no representation as to the accuracy of the status listed.)
- Expired - Fee Related
Links
- 206010036790 Productive cough Diseases 0.000 claims abstract description 68
- 208000024794 sputum Diseases 0.000 claims abstract description 68
- 238000001179 sorption measurement Methods 0.000 claims abstract description 67
- 210000003802 sputum Anatomy 0.000 claims abstract description 67
- 238000007789 sealing Methods 0.000 claims description 9
- 230000001681 protective effect Effects 0.000 claims description 7
- 206010039509 Scab Diseases 0.000 abstract description 16
- 230000029058 respiratory gaseous exchange Effects 0.000 abstract description 6
- 230000000903 blocking effect Effects 0.000 abstract description 2
- 210000003437 trachea Anatomy 0.000 description 11
- 206010062717 Increased upper airway secretion Diseases 0.000 description 10
- 208000026435 phlegm Diseases 0.000 description 10
- 239000007788 liquid Substances 0.000 description 7
- 238000000034 method Methods 0.000 description 4
- 238000004140 cleaning Methods 0.000 description 3
- 210000002345 respiratory system Anatomy 0.000 description 2
- 230000028327 secretion Effects 0.000 description 2
- 206010003497 Asphyxia Diseases 0.000 description 1
- 206010003598 Atelectasis Diseases 0.000 description 1
- 206010011224 Cough Diseases 0.000 description 1
- 208000028399 Critical Illness Diseases 0.000 description 1
- 206010064091 Iatrogenic infection Diseases 0.000 description 1
- 206010035669 Pneumonia aspiration Diseases 0.000 description 1
- 208000007123 Pulmonary Atelectasis Diseases 0.000 description 1
- 238000010521 absorption reaction Methods 0.000 description 1
- 201000009807 aspiration pneumonia Diseases 0.000 description 1
- 230000000740 bleeding effect Effects 0.000 description 1
- 238000010586 diagram Methods 0.000 description 1
- 230000000694 effects Effects 0.000 description 1
- 239000013013 elastic material Substances 0.000 description 1
- 238000003780 insertion Methods 0.000 description 1
- 230000037431 insertion Effects 0.000 description 1
- 230000003993 interaction Effects 0.000 description 1
- 210000000867 larynx Anatomy 0.000 description 1
- 238000013312 nursing technique Methods 0.000 description 1
- 230000001575 pathological effect Effects 0.000 description 1
Images
Landscapes
- External Artificial Organs (AREA)
Abstract
本实用新型公开了一种负压吸痰仪器,所述连接管的一端与所述负压机固定连接,所述连接管的另一端与所述吸附管转动连接,所述收集管通过所述导管与所述连接管固定连接,两个所述支杆分别与所述吸附管固定连接,所述连接杆的两端分别与两个所述支杆转动连接,所述刷体与所述连接杆转动连接,所述刷头与所述刷体固定连接,所述刮板固定连接在所述吸附管的外侧壁,且所述刮板与所述刷头远离所述刷体的一端接触,达到吸附管能够吸痰的同时,能够清除管道内壁附着的痰痂,避免堵塞管道,影响病人呼吸的目的。
The utility model discloses a negative pressure sputum suction instrument. One end of the connecting pipe is fixedly connected with the negative pressure machine, the other end of the connecting pipe is rotatably connected with the adsorption pipe, and the collecting pipe passes through the suction pipe. The conduit is fixedly connected with the connecting pipe, the two support rods are respectively fixedly connected with the adsorption tube, the two ends of the connecting rod are respectively connected in rotation with the two support rods, and the brush body is connected with the suction pipe. The rod is rotatably connected, the brush head is fixedly connected to the brush body, the scraper is fixedly connected to the outer side wall of the adsorption tube, and the scraper is in contact with the end of the brush head away from the brush body, At the same time that the adsorption tube can suck sputum, the sputum scab attached to the inner wall of the pipeline can be removed, so as to avoid the purpose of blocking the pipeline and affecting the patient's breathing.
Description
技术领域technical field
本实用新型涉及医疗器械技术领域,尤其涉及一种负压吸痰仪器。The utility model relates to the technical field of medical devices, in particular to a negative pressure sputum suction instrument.
背景技术Background technique
痰是喉以下呼吸道病理或生理分泌物。吸痰术是一项重要的急救护理技术,是指经口、鼻、人工气道将呼吸道的分泌物吸出,以保持呼吸道通畅,预防吸入性肺炎、肺不张、窒息等并发症的一种方法。对于长期卧床的重症病人来说,大部分病人都需要在气管中插入管道,当病人喉咙有痰无法咳出时,可使用带有负压吸痰仪器的吸附管插入管道内,进行吸痰,以保持呼吸顺畅。Phlegm is a pathological or physiological secretion of the respiratory tract below the larynx. Sputum suction is an important emergency nursing technique, which refers to the suction of secretions from the respiratory tract through the mouth, nose, and artificial airway to keep the airway open and prevent complications such as aspiration pneumonia, atelectasis, and asphyxia. method. For critically ill patients who are bedridden for a long time, most patients need to insert a tube into the trachea. When the patient has sputum in the throat and cannot cough up, an adsorption tube with a negative pressure suction device can be used to insert the tube into the tube for sputum suction. to keep breathing easy.
但是目前带有负压吸痰仪器的吸附管只能够吸取管道内的痰,而无法清除管道内壁附着的痰痂,而痰痂的长时间累积,容易堵塞管道,影响病人呼吸。However, the current adsorption tube with a negative pressure sputum suction instrument can only absorb the sputum in the pipe, but cannot remove the sputum scab attached to the inner wall of the pipe.
实用新型内容Utility model content
本实用新型的目的在于提供一种负压吸痰仪器,旨在解决现有技术中的负压吸痰仪器的吸附管无法清除管道内壁附着的痰痂,而痰痂的长时间累积,容易堵塞管道,影响病人呼吸的技术问题。The purpose of the present utility model is to provide a negative pressure sputum suction instrument, which aims to solve the problem that the adsorption tube of the negative pressure sputum suction instrument in the prior art cannot remove the sputum scab attached to the inner wall of the pipe, and the sputum scab accumulates for a long time and is easy to block. Tubing, technical problems affecting the patient's breathing.
为实现上述目的,本实用新型采用的一种负压吸痰仪器,所述负压吸痰仪器包括连接管、负压机、吸附管、导管、收集瓶和清除装置,所述连接管的一端与所述负压机固定连接,所述连接管的另一端与所述吸附管转动连接,所述吸附管远离所述连接管的一端具有吸痰口,所述吸附管的外侧壁上具有通孔,所述吸附管的外侧壁的内部具有湿化槽,所述导管的一端与所述连接管固定连接,所述导管的另一端与所述收集瓶固定连接,所述清除装置与所述吸附管固定连接,并位于所述吸附管的外侧壁,In order to achieve the above purpose, the utility model adopts a negative pressure sputum suction instrument, which comprises a connecting pipe, a negative pressure machine, an adsorption pipe, a catheter, a collection bottle and a removal device. It is fixedly connected with the negative pressure machine, and the other end of the connecting pipe is rotatably connected with the adsorption pipe. The inside of the outer side wall of the adsorption tube has a humidification tank, one end of the conduit is fixedly connected to the connecting pipe, the other end of the conduit is fixedly connected to the collection bottle, and the cleaning device is connected to the The adsorption tube is fixedly connected and located on the outer side wall of the adsorption tube,
所述清除装置包括支杆、连接杆、刷体、刷头和刮板,所述支杆的数量为两个,两个所述支杆分别与所述吸附管固定连接,并位于所述吸附管的外侧壁,所述连接杆的两端分别与两个所述支杆转动连接,并位于两个所述支杆的之间,所述刷体与所述连接杆转动连接,所述刷头与所述刷体固定连接,并位于所述刷体的外表壁,所述刮板呈弧形结构设置,所述刮板与所述吸附管固定连接,并位于所述吸附管的外侧壁,且所述刮板与所述刷头远离所述刷体的一端接触,所述刮板远离所述刷头的一端位于所述通孔的下方。The removal device includes a support rod, a connecting rod, a brush body, a brush head and a scraper. The number of the support rods is two, and the two support rods are respectively fixedly connected with the adsorption pipe and located in the adsorption The outer side wall of the pipe, the two ends of the connecting rod are respectively rotatably connected with the two supporting rods, and are located between the two supporting rods, the brush body is rotatably connected with the connecting rod, the brush The head is fixedly connected with the brush body and is located on the outer wall of the brush body, the scraper is arranged in an arc structure, the scraper is fixedly connected with the adsorption pipe, and is located on the outer side wall of the adsorption pipe , and the scraper is in contact with the end of the brush head away from the brush body, and the end of the scraper away from the brush head is located below the through hole.
其中,所述刷头与所述刷体呈倾斜角度设置,且所述刷头与所述刷体的倾斜角度小于90°。Wherein, the brush head and the brush body are arranged at an inclined angle, and the inclination angle between the brush head and the brush body is less than 90°.
其中,所述负压吸痰仪器还包括湿化装置,所述湿化装置包括注射器、连接头和支管,所述注射器通过所述连接头与所述支管的一端固定连接,所述支管的另一端与所述湿化槽的一端连通,所述湿化槽的另一端与所述吸痰口连通。Wherein, the negative pressure sputum suction instrument further includes a humidification device, the humidification device includes a syringe, a connecting head and a branch pipe, the syringe is fixedly connected to one end of the branch pipe through the connecting head, and the other end of the branch pipe is fixedly connected. One end is communicated with one end of the humidification tank, and the other end of the humidification tank is communicated with the sputum suction port.
其中,所述注射器与所述连接头螺纹连接,并位于所述连接头远离所述支管的一端。Wherein, the syringe is threadedly connected with the connecting head, and is located at one end of the connecting head away from the branch pipe.
其中,所述注射器与所述连接头的连接处具有密封圈。Wherein, the connection between the syringe and the connecting head has a sealing ring.
其中,所述负压吸痰仪器还包括防护罩,所述防护罩与所述吸附管固定连接,并位于所述吸附管的外侧壁,且位于所述注射器的前端。Wherein, the negative pressure sputum suction instrument further includes a protective cover, the protective cover is fixedly connected with the adsorption tube, and is located on the outer side wall of the adsorption tube and at the front end of the syringe.
其中,所述负压吸痰仪器还包括固定环,所述固定环的一端与所述连接管固定连接,所述固定环的另一端与所述负压机固定连接。Wherein, the negative pressure suction instrument further comprises a fixing ring, one end of the fixing ring is fixedly connected with the connecting pipe, and the other end of the fixing ring is fixedly connected with the negative pressure machine.
其中,所述负压吸痰仪器还包括阀门,所述阀门与所述固定环固定连接,并位于所述固定环的外表壁。Wherein, the negative pressure sputum suction instrument further includes a valve, which is fixedly connected with the fixing ring and is located on the outer wall of the fixing ring.
其中,所述收集瓶上具有刻度线。Wherein, the collection bottle has a scale line.
本实用新型的一种负压吸痰仪器,通过所述连接管的一端与所述负压机固定连接,所述连接管的另一端与所述吸附管转动连接,所述吸附管远离所述连接管的一端具有吸痰口,所述吸附管的外侧壁上具有通孔,所述吸附管的外侧壁的内部具有湿化槽,所述收集管通过所述导管与所述连接管固定连接,两个所述支杆分别与所述吸附管固定连接,并位于所述吸附管的外侧壁,所述连接杆的两端分别与两个所述支杆转动连接,并位于两个所述支杆的之间,所述刷体与所述连接杆转动连接,所述刷头与所述刷体固定连接,所述刮板呈弧形结构设置,所述刮板固定连接在所述吸附管的外侧壁,且所述刮板与所述刷头远离所述刷体的一端接触,所述刮板远离所述刷头的一端位于所述通孔的下方。将所述吸附管具有所述吸痰口的一端伸入插入患者气管的管道中,通过所述负压机吸附管道内的痰,并且同时转动所述吸附管,使得所述刷体上的刷毛与管道的内壁接触而转动,进而刮除管道内壁附着的痰痂,并将痰痂通过所述通孔进入所述吸附管内吸出,获得吸附管能够吸痰的同时,能够清除管道内壁附着的痰痂,避免堵塞管道,影响病人呼吸的效果。A negative pressure sputum suction instrument of the utility model is fixedly connected with the negative pressure machine through one end of the connecting pipe, the other end of the connecting pipe is rotatably connected with the adsorption pipe, and the adsorption pipe is far away from the One end of the connecting pipe has a suction port, the outer side wall of the adsorption pipe has a through hole, the inside of the outer side wall of the adsorption pipe has a humidification groove, and the collecting pipe is fixedly connected to the connecting pipe through the conduit , the two support rods are respectively fixedly connected with the adsorption pipe and located on the outer side wall of the adsorption pipe, and the two ends of the connecting rod are respectively rotatably connected with the two support rods and located in the two said support rods. Between the struts, the brush body is rotatably connected to the connecting rod, the brush head is fixedly connected to the brush body, the scraper is arranged in an arc structure, and the scraper is fixedly connected to the suction the outer side wall of the tube, and the scraper is in contact with the end of the brush head away from the brush body, and the end of the scraper away from the brush head is located below the through hole. The end of the suction tube with the suction port is inserted into the pipeline inserted into the patient's trachea, and the sputum in the pipeline is adsorbed by the negative pressure machine, and the suction tube is rotated at the same time, so that the bristles on the brush body are Contact with the inner wall of the pipeline and rotate, and then scrape off the sputum scab attached to the inner wall of the pipeline, and suck the sputum scab into the adsorption tube through the through hole, so that the adsorption tube can suck sputum while removing the sputum attached to the inner wall of the pipeline. scab, to avoid blockage of the pipeline, affecting the effect of the patient's breathing.
附图说明Description of drawings
为了更清楚地说明本实用新型实施例或现有技术中的技术方案,下面将对实施例或现有技术描述中所需要使用的附图作简单地介绍,显而易见地,下面描述中的附图仅仅是本实用新型的一些实施例,对于本领域普通技术人员来讲,在不付出创造性劳动的前提下,还可以根据这些附图获得其他的附图。In order to more clearly illustrate the embodiments of the present utility model or the technical solutions in the prior art, the following briefly introduces the accompanying drawings that need to be used in the description of the embodiments or the prior art. Obviously, the accompanying drawings in the following description These are just some embodiments of the present invention, and for those of ordinary skill in the art, other drawings can also be obtained from these drawings without creative effort.
图1是本实用新型的负压吸痰仪器的剖视图。FIG. 1 is a cross-sectional view of the negative pressure sputum suction instrument of the present invention.
图2是本实用新型的负压吸痰仪器的结构示意图。FIG. 2 is a schematic structural diagram of the negative pressure sputum suction instrument of the present invention.
图3是本实用新型的负压吸痰仪器的侧视图。Fig. 3 is a side view of the negative pressure sputum suction instrument of the present invention.
图4是本实用新型的负压吸痰仪器的正视图。4 is a front view of the negative pressure suction device of the present invention.
图5是本实用新型的清除装置的放大图。FIG. 5 is an enlarged view of the cleaning device of the present invention.
图6是本实用新型的湿化装置的放大图。FIG. 6 is an enlarged view of the humidification device of the present invention.
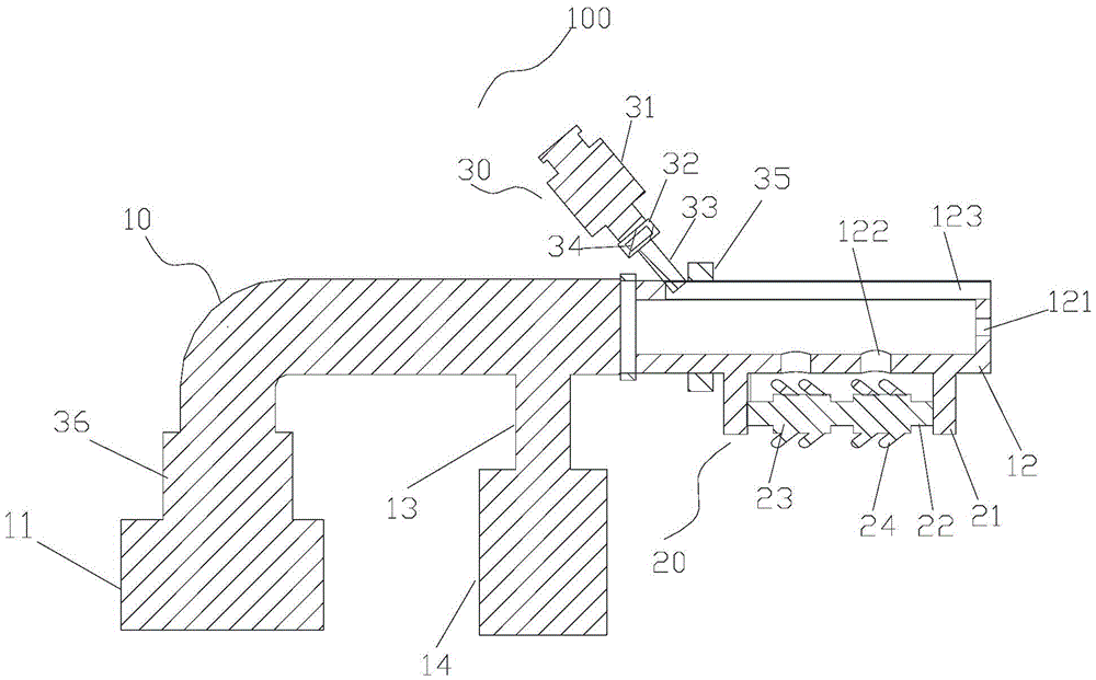
100-负压吸痰仪器、10-连接管、11-负压机、12-吸附管、121-吸痰口、122-通孔、123-湿化槽、13-导管、14-收集瓶、20-清除装置、21-支杆、22-连接杆、23-刷体、24-刷头、25-刮板、30-湿化装置、31-注射器、32-连接头、33-支管、34-密封圈、35-防护罩、36-固定环、37-阀门、38-刻度线。100-negative pressure suction instrument, 10-connecting tube, 11-negative pressure machine, 12-absorption tube, 121-sputum suction port, 122-through hole, 123-humidification tank, 13-catheter, 14-collecting bottle, 20-clearing device, 21-support rod, 22-connecting rod, 23-brush body, 24-brush head, 25-scraper, 30-humidification device, 31-syringe, 32-connecting head, 33-branch pipe, 34 -Sealing ring, 35-protective cover, 36-fixing ring, 37-valve, 38-scale line.
具体实施方式Detailed ways
下面详细描述本实用新型的实施例,所述实施例的示例在附图中示出,其中自始至终相同或类似的标号表示相同或类似的元件或具有相同或类似功能的元件。下面通过参考附图描述的实施例是示例性的,旨在用于解释本实用新型,而不能理解为对本实用新型的限制。The following describes in detail the embodiments of the present invention, examples of which are illustrated in the accompanying drawings, wherein the same or similar reference numerals refer to the same or similar elements or elements having the same or similar functions throughout. The embodiments described below with reference to the accompanying drawings are exemplary, and are intended to be used to explain the present invention, but should not be construed as a limitation of the present invention.
在本实用新型的描述中,需要理解的是,术语“长度”、“宽度”、“上”、“下”、“前”、“后”、“左”、“右”、“竖直”、“水平”、“顶”、“底”“内”、“外”等指示的方位或位置关系为基于附图所示的方位或位置关系,仅是为了便于描述本实用新型和简化描述,而不是指示或暗示所指的装置或元件必须具有特定的方位、以特定的方位构造和操作,因此不能理解为对本实用新型的限制。此外,在本实用新型的描述中,“多个”的含义是两个或两个以上,除非另有明确具体的限定。In the description of the present invention, it should be understood that the terms "length", "width", "upper", "lower", "front", "rear", "left", "right", "vertical" , "horizontal", "top", "bottom", "inside", "outside" and other indicated orientations or positional relationships are based on the orientations or positional relationships shown in the accompanying drawings, only for the convenience of describing the present utility model and simplifying the description, Rather than indicating or implying that the indicated device or element must have a particular orientation, be constructed and operate in a particular orientation, it should not be construed as a limitation of the present invention. In addition, in the description of the present invention, "plurality" means two or more, unless otherwise expressly and specifically defined.
请参阅图1至图6,本实用新型提供了一种负压吸痰仪器100,所述负压吸痰仪器100包括连接管10、负压机11、吸附管12、导管13、收集瓶14和清除装置20,所述连接管10的一端与所述负压机11固定连接,所述连接管10的另一端与所述吸附管12转动连接,所述吸附管12远离所述连接管10的一端具有吸痰口121,所述吸附管12的外侧壁上具有通孔122,所述吸附管12的外侧壁的内部具有湿化槽123,所述导管13的一端与所述连接管10固定连接,所述导管13的另一端与所述收集瓶14固定连接,所述清除装置20与所述吸附管12固定连接,并位于所述吸附管12的外侧壁;Please refer to FIGS. 1 to 6 , the present invention provides a negative
所述清除装置20包括支杆21、连接杆22、刷体23、刷头24和刮板25,所述支杆21的数量为两个,两个所述支杆21分别与所述吸附管12固定连接,并位于所述吸附管12的外侧壁,所述连接杆22的两端分别与两个所述支杆21转动连接,并位于两个所述支杆21的之间,所述刷体23与所述连接杆22转动连接,所述刷头24与所述刷体23固定连接,并位于所述刷体23的外表壁,所述刮板25呈弧形结构设置,所述刮板25与所述吸附管12固定连接,并位于所述吸附管12的外侧壁,且所述刮板25与所述刷头24远离所述刷体23的一端接触,所述刮板25远离所述刷头24的一端位于所述通孔122的下方。The
在本实施方式中,所述负压机11与外部电源连接电性连接,所述连接管10的一端与所述负压机11固定连接,所述连接管10的另一端与所吸附管12转动连接,所述吸附管12与患者插入气管的管道的内壁接触的一端上具有所述吸痰口121,所述吸痰口121的数量为多个,所述吸附管12的外侧壁上具有通孔122,且所述通孔122的数量为多个,多个所述通孔122同样能够吸痰,所述吸附管12的外侧壁的内部具有所述湿化槽123,所述清除装置20设置在与所述湿化槽123相对设置的一端,且位于所述吸附管12的外侧壁,两个所述支杆21固定连接在所述吸附管12的外侧壁,且两个所述支杆21之间转动连接所述连接杆22,所述连接杆22上转动连接有多个所述刷体23,每个所述刷体23上均设置有多个所述刷头24,所述刮板25的一端固定连接在所述吸附管12的外侧壁,且位于多个所述通孔122的下方,所述刮板25的另一端与多个所述刷体23上的刷头24充分接触,且所述刮板25呈弧形结构,当患者无法咳出痰时,此时医护人员将所述吸附管12伸入患者的气管内的管道中,并且将所述负压机11通电,使得所述负压机11动作,进而所述负压机11动作后,所述吸附管12产生吸力,此时可通过所述吸附管12上的所述吸痰口121吸出患者喉咙中的痰,以保持患者呼吸畅通,吸出的痰通过所述导管13进入所述收集瓶14进而收集痰,避免污染环境,同时在所述吸附管12吸痰的过程中,转动所述吸附管12,使得所述吸附管12在管道内的转动,此时所述刷体23上的所述刷头24与管道内表壁接触,在力的相互作用下进而带动所述刷体23和所述连接杆22同时转动,所述刷体23绕所述连接杆22呈360°旋转,所述刷体23上的多个所述刷头24刮除管道内的聚集的痰痂,刮除痰痂后,一部分痰痂会顺着管道的内表壁向下滑动,并通过多个所述吸痰口121吸取痰痂,进入所述吸附管12的内部,最后进入所述收集瓶14,一部分痰痂会附着在所述刷头24上,在所述刷体23转动过程中多个所述刷头24与所述刮板25接触,所述刮板25与多个所述刷头24产生摩擦力,进而刮除多个所述刷头24上残留的痰痂,保持多个所述刷头24的干净,同时刮除干净后的多个所述刷头24能够将管道内壁的痰痂清除得更加干净,由于所述刮板25呈弧形结构设置,清除的痰痂会顺着所述刮板25流入多个所述通孔122,并且吸附进所述吸附管12的内部,最终进入所述收集瓶14,最后将所述吸附管12取出,关闭所述负压机11即可,所述负压吸痰仪器100不仅能够吸取患者插入气管的管道内部的痰,同时能够刮除管道内的痰痂,避免痰痂堵塞管道,保证病人的呼吸顺畅。In this embodiment, the
进一步地,所述刷头24与所述刷体23呈倾斜角度设置,且所述刷头24与所述刷体23的倾斜角度小于90°。Further, the
在本实施方式中,所述刷头24与所述刷体23呈倾斜角度设置,且倾斜角度小于90°,当医护人员需要将所述吸附管12插入气管的管道的内部时,所述刷头24呈向后弯曲收拢状态,使得医护人员能够轻松插入。In this embodiment, the
进一步地,所述负压吸痰仪器100还包括湿化装置30,所述湿化装置30包括注射器31、连接头32和支管33,所述注射器31通过所述连接头32与所述支管33的一端固定连接,所述支管33的另一端与所述湿化槽123的一端连通,所述湿化槽123的另一端与所述吸痰口121连通。Further, the negative pressure
在本实施方式中,所述湿化装置30与所述湿化槽123连通,将所述支管33的一端与所述湿化槽123连通,所述支管33的另一端与所述连接头32连通,且所述注射器31通过所述连接头32与所述支管33连通,当患者在吸痰时,按压所述注射器31,使得所述注射器31内部的湿化液进入所述湿化槽123,由于所述湿化槽123与所述吸痰口121连通,所述湿化槽123内部的湿化液能够从其中一个所述吸痰口121排出,进而湿化液进入患者的气管,继而对痰液和患者气管进行充分湿化,提高所述吸附管12的吸痰效率,同时避免负压吸痰时损坏气道,造成出血,提高患者的安全性和舒适性。In this embodiment, the
进一步地,所述注射器31与所述连接头32螺纹连接,并位于所述连接头32远离所述支管33的一端。Further, the
在本实施方式中,所述注射器31与所述连接头32螺纹设置,使得医护人员需要对患者吸痰湿化时,方便对所述注射器31的内部添加湿化液,同时能够实现所述支管33与所述注射器31的快速安装与拆卸,提高工作效率。In this embodiment, the
进一步地,所述注射器31与所述连接头32的连接处具有密封圈34。Further, a sealing
在本实施方式中,所述密封圈34采用弹性材料制成,所述密封圈34的设置能够增加所述连接头32与所述注射器31之间的密封性,避免所述注射器31向所述支管33内注射湿化液时,湿化液从所述注射器31与所述连接头32之间的连接处渗出。In this embodiment, the sealing
进一步地,所述负压吸痰仪器100还包括防护罩35,所述防护罩35与所述吸附管12固定连接,并位于所述吸附管12的外侧壁,且位于所述注射器31的前端。Further, the negative pressure
在本实施方式中,所述防护罩35的设置能够防止所述吸附管12在管道内吸痰时,痰液从所述管道内溅出,溅到医护人员身上,造成医源性感染。In this embodiment, the setting of the
进一步地,所述负压吸痰仪器100还包括固定环36,所述固定环36的一端与所述连接管10固定连接,所述固定环36的另一端与所述负压机11固定连接。Further, the negative
在本实施方式中,所述固定环36能够将所述负压机11与所述连接管10连接更加牢固,提高了所述负压机11与所述连接管10之间的密封性,避免所述负压机11与所述连接管10的连接因密封性不好而造成泄压。In this embodiment, the fixing
进一步地,所述负压吸痰仪器100还包括阀门37,所述阀门37与所述固定环36固定连接,并位于所述固定环36的外表壁。Further, the negative
在本实施方式中,所述阀门37能够控制所述负压机11到所述连接管10的气压大小,方便医护人员将气压调节到能够将患者气管内的痰吸出的气压,给医护人员的工作带了方便。In this embodiment, the
进一步地,所述收集瓶14上具有刻度线38。Further, the
在本实施方式中,所述刻度线38的设置能够方便医护人员直观地观察出所述吸附管12吸出患者气管内的痰液的容量,同时方便医护人员能够对所述收集瓶14内的痰液到达预定量后进行更换。In this embodiment, the setting of the
以上所揭露的仅为本实用新型一种较佳实施例而已,当然不能以此来限定本实用新型之权利范围,本领域普通技术人员可以理解实现上述实施例的全部或部分流程,并依本实用新型权利要求所作的等同变化,仍属于实用新型所涵盖的范围。What has been disclosed above is only a preferred embodiment of the present invention, of course, it cannot limit the scope of rights of the present invention. Those of ordinary skill in the art can understand that all or part of the process of realizing the above-mentioned embodiment can be implemented according to the present invention. The equivalent changes made by the claims of the utility model still belong to the scope covered by the utility model.
Claims (9)
Priority Applications (1)
| Application Number | Priority Date | Filing Date | Title |
|---|---|---|---|
| CN201822269817.5U CN210114693U (en) | 2018-12-29 | 2018-12-29 | A negative pressure suction device |
Applications Claiming Priority (1)
| Application Number | Priority Date | Filing Date | Title |
|---|---|---|---|
| CN201822269817.5U CN210114693U (en) | 2018-12-29 | 2018-12-29 | A negative pressure suction device |
Publications (1)
| Publication Number | Publication Date |
|---|---|
| CN210114693U true CN210114693U (en) | 2020-02-28 |
Family
ID=69611215
Family Applications (1)
| Application Number | Title | Priority Date | Filing Date |
|---|---|---|---|
| CN201822269817.5U Expired - Fee Related CN210114693U (en) | 2018-12-29 | 2018-12-29 | A negative pressure suction device |
Country Status (1)
| Country | Link |
|---|---|
| CN (1) | CN210114693U (en) |
Cited By (1)
| Publication number | Priority date | Publication date | Assignee | Title |
|---|---|---|---|---|
| CN111297455A (en) * | 2020-03-18 | 2020-06-19 | 卢乐 | Tumor uptake device for oncology department |
-
2018
- 2018-12-29 CN CN201822269817.5U patent/CN210114693U/en not_active Expired - Fee Related
Cited By (1)
| Publication number | Priority date | Publication date | Assignee | Title |
|---|---|---|---|---|
| CN111297455A (en) * | 2020-03-18 | 2020-06-19 | 卢乐 | Tumor uptake device for oncology department |
Similar Documents
| Publication | Publication Date | Title |
|---|---|---|
| CN210114693U (en) | A negative pressure suction device | |
| CN109731149A (en) | A negative pressure suction device | |
| CN201361341Y (en) | Multifunctional protective device for continuous humidification of artificial airway | |
| CN208031576U (en) | A kind of closed sputum aspirator tube | |
| CN205612858U (en) | Phlegm pipe is inhaled to split type double -end | |
| CN219983557U (en) | Auxiliary device for sucking trachea cannula | |
| CN210933238U (en) | An integrated nursing device for oxygen inhalation and sputum suction in respiratory medicine | |
| CN203507256U (en) | Artificial nose | |
| CN213347278U (en) | Anti-splashing oxygen inhalation device for tracheotomy patient | |
| CN201543076U (en) | Double lumen endotracheal tube | |
| CN209548008U (en) | Nipple type detection device | |
| CN211461664U (en) | Trachea cannula port plugging device | |
| CN209916822U (en) | Closed sputum suction tube | |
| CN219896553U (en) | An easy-to-clean sputum suction device | |
| CN209092327U (en) | A sputum suction nursing device for respiratory medicine | |
| CN222092232U (en) | Sputum aspirator for autogenous cutting patient | |
| CN219681393U (en) | Sputum suction oxygen inlet equipment | |
| CN219646374U (en) | Sputum aspirator tube | |
| CN219481006U (en) | Organ accumulation phlegm suction device for pediatrics | |
| CN209122998U (en) | A sputum suction aid | |
| CN221084283U (en) | Sputum aspirator for thoracic operation capable of preventing airway obstruction | |
| CN222488293U (en) | Sputum aspirator with forced induction | |
| CN222510568U (en) | Sputum aspirator tube and sputum aspirator | |
| CN105879187A (en) | Positive pressure ventilation flushing multifunctional suction tube | |
| CN215386326U (en) | Sputum suction device for department of pediatrics |
Legal Events
| Date | Code | Title | Description |
|---|---|---|---|
| GR01 | Patent grant | ||
| GR01 | Patent grant | ||
| CF01 | Termination of patent right due to non-payment of annual fee |
Granted publication date: 20200228 Termination date: 20201229 |
|
| CF01 | Termination of patent right due to non-payment of annual fee |
