CN203558603U - Membrane rewinding machine - Google Patents
Membrane rewinding machine Download PDFInfo
- Publication number
- CN203558603U CN203558603U CN201320797238.2U CN201320797238U CN203558603U CN 203558603 U CN203558603 U CN 203558603U CN 201320797238 U CN201320797238 U CN 201320797238U CN 203558603 U CN203558603 U CN 203558603U
- Authority
- CN
- China
- Prior art keywords
- reel
- winding
- ring
- unwinding
- film tape
- Prior art date
- Legal status (The legal status is an assumption and is not a legal conclusion. Google has not performed a legal analysis and makes no representation as to the accuracy of the status listed.)
- Expired - Fee Related
Links
Images
Landscapes
- Winding Of Webs (AREA)
Abstract
本实用新型公开了一种膜带倒卷机,包括工作台,所述工作台带有水平台面,还包括:轴接在水平台面上的收卷盘,该收卷盘的中心带有收卷环;轴接在水平台面上的放卷盘,该放卷盘的中心带有放卷环;驱动收卷盘的电机;对应设置在放卷盘上方和收卷盘上方的两个压盘;位于收卷盘一侧且延伸至收卷盘上方的收卷整理装置。本实用新型中,待倒卷整理的膜带卷的管芯穿套固定在放卷盘的放卷环上,操作放卷盘上方的压盘将膜带卷压紧,收卷管芯穿套固定在收卷盘的收卷环上,操作收卷盘上方的压盘将收卷管芯压紧,将膜带的一端拉伸绕置在收卷盘的收卷环上,电机驱动收卷盘转动,倒卷膜带,收卷整理装置延伸至收料膜带卷的上方整齐膜带。
The utility model discloses a film tape rewinding machine, which comprises a workbench, the workbench is provided with a horizontal platform surface, and further comprises: a winding reel which is axially connected to the horizontal platform surface, and the center of the rewinding reel has a winding reel ring; the unwinding reel shaft connected to the horizontal platform, the center of the unwinding reel has an unwinding ring; the motor driving the reel; two pressure plates arranged above the unwinding reel and the rewinding reel; A winding finishing device located on one side of the winding reel and extending above the winding reel. In the utility model, the tube core of the film tape roll to be rewound is fixed on the unwinding ring of the unwinding reel, and the pressure plate above the unwinding reel is operated to compress the film tape roll, and the rewinding tube core is put through the sleeve Fixed on the winding ring of the winding reel, operate the pressure plate above the winding reel to press the winding tube core tightly, stretch one end of the film tape and place it on the winding ring of the winding reel, and the motor drives the winding The disk rotates, the film tape is rewound, and the winding and finishing device extends to the top of the film tape roll to tidy the film tape.
Description
技术领域technical field
本实用新型涉及倒卷装置,具体涉及一种膜带倒卷机,用于聚酯膜、甲胺膜等膜带的倒卷整理。The utility model relates to a rewinding device, in particular to a film tape rewinding machine, which is used for rewinding of polyester films, methylamine films and other film tapes.
背景技术Background technique
聚酯膜、甲胺膜等膜料在分切为膜带时卷绕在收卷辊上,但是在分切过程中的卷绕通常难以卷绕整齐,不利于膜带的包装和运输,因此,在分为卷料后都需要重新及倒卷整理,使膜带卷绕整齐。Film materials such as polyester film and methylamine film are wound on the winding roller when they are slit into film tapes, but the winding during the slitting process is usually difficult to wind neatly, which is not conducive to the packaging and transportation of film tapes. , After being divided into roll materials, it needs to be re-rolled and rewound to make the film tape wound neatly.
例如,公告号为CN201626719U的中国实用新型专利公开了一种坯布倒卷机,包括放卷架、放卷辊、导布辊、传动电机、传动带和摆布斗,所述放卷架呈“T”字型结构,所述放卷辊有若干个,若干个放卷辊分成二组,二组放卷辊左右对称设置于放卷架下部放卷区,所述导布辊也有若干个,若干个导布辊也分成二组,二组导布辊左右对称设置于放卷架顶部横梁的左右两边,二组导布辊中有一个导布辊是主动导布辊,其余各导布辊均为从动导布辊,主动导布辊与从动导布辊之间由传动带相连,且主动导布辊与传动电机相连接,所述摆布斗也有二个,二个摆布斗(6)左右对称设置于放卷架顶部横梁的两端下方。For example, the Chinese utility model patent with the notification number CN201626719U discloses a gray cloth rewinding machine, which includes an unwinding frame, an unwinding roller, a cloth guide roller, a transmission motor, a transmission belt, and a swing bucket. The unwinding frame is in the shape of a "T" font structure, there are several unwinding rollers, and several unwinding rollers are divided into two groups. The cloth guide rollers are also divided into two groups. The two groups of cloth guide rollers are symmetrically arranged on the left and right sides of the top beam of the unwinding stand. One of the two groups of cloth guide rollers is an active cloth guide roller, and the rest of the cloth guide rollers are The driven cloth guide roller, the active cloth guide roller and the driven cloth guide roller are connected by a transmission belt, and the active cloth guide roller is connected with the transmission motor. There are also two left and right buckets, and the two left and right buckets (6) are symmetrical It is set under the two ends of the beam on the top of the unwinding stand.
公告号为CN203079369U的中国实用新型专利公开了一种织带收卷装置,包括工作台,还包括轴接在工作台顶面的若干织带导向轮;缠绕杆,转动地插设于工作台上,该缠绕杆顶部为织带缠绕部;驱动机构,用于驱动缠绕杆的转动和升降;长度测量仪,用于测量和显示织带缠绕部上已卷绕织带的长度。该实用新型中,首先将织带的一端穿过织带导向轮后固定于缠绕杆上,然后通过驱动机构驱动缠绕杆转动,接着用手轻握着织带上位于织带导向轮外的部分,并稍叫施加拉力,随着缠绕杆的转动,使得织带被迅速绕缠绕杆迅速绕成盘状。The Chinese utility model patent with the notification number CN203079369U discloses a webbing rewinding device, which includes a workbench and a number of webbing guide wheels axially connected to the top surface of the workbench; the winding rod is rotatably inserted on the workbench. The top of the winding rod is the webbing winding part; the driving mechanism is used to drive the rotation and lifting of the winding rod; the length measuring instrument is used to measure and display the length of the wrapped webbing on the webbing winding part. In this utility model, first pass one end of the webbing through the webbing guide wheel and then fix it on the winding rod, then drive the winding rod to rotate through the driving mechanism, and then lightly hold the part of the webbing outside the webbing guiding wheel with your hand, and apply it for a while. The pulling force, along with the rotation of the winding rod, causes the webbing to be quickly wound around the winding rod into a disc shape.
传统的收卷机构存在机构复杂或者收整效果不好的缺点。The traditional winding mechanism has the disadvantages of complex mechanism or poor winding effect.
实用新型内容Utility model content
本实用新型提供了一种膜带倒卷机,对膜带进行倒卷整理,装置结构简单,倒卷整理效率高。The utility model provides a film strip rewinding machine for rewinding the film strips. The device has a simple structure and high rewinding efficiency.
一种膜带倒卷机,包括工作台,所述工作台带有水平台面,还包括:A film tape rewinding machine, including a workbench, the workbench has a horizontal platform, and also includes:
轴接在水平台面上的收卷盘,该收卷盘的中心带有收卷环;A take-up reel axially connected to the horizontal platform, with a take-up ring in the center of the take-up reel;
轴接在水平台面上的放卷盘,该放卷盘的中心带有放卷环;An unwinding reel axially connected to the horizontal platform, with an unwinding ring in the center of the unwinding reel;
驱动收卷盘的电机;The motor that drives the winding reel;
对应设置在放卷盘上方和收卷盘上方的两个压盘;Corresponding to the two pressure plates set above the unwinding reel and the rewinding reel;
位于收卷盘一侧且延伸至收卷盘上方的收卷整理装置。A winding finishing device located on one side of the winding reel and extending above the winding reel.
待倒卷整理的膜带卷的管芯穿套固定在放卷盘的放卷环上,操作放卷盘上方的压盘将膜带卷压紧,使膜带卷与放卷盘之间不产生相对运动;收卷管芯穿套固定在收卷盘的收卷环上,操作收卷盘上方的压盘将收卷管芯压紧,使收卷管芯与收卷盘之间不产生相对运动;将膜带的一端拉伸绕置在收卷管芯上,电机驱动收卷盘转动,倒卷膜带,收卷整理装置延伸至收料膜带卷的上方整齐膜带。The tube core of the film tape roll to be rewound is fixed on the unwinding ring of the unwinding reel, and the pressure plate above the unwinding reel is operated to press the film tape roll tightly so that there is no gap between the film tape roll and the unwinding reel. Relative movement is generated; the winding core is threaded and fixed on the winding ring of the winding reel, and the pressure plate above the winding reel is operated to compress the winding core so that there is no gap between the winding core and the winding reel. Relative movement; one end of the film tape is stretched and wound on the winding tube core, the motor drives the winding disc to rotate, the film tape is rewound, and the winding finishing device extends to the top of the film tape roll to tidy the film tape.
作为优选,所述收卷整理装置包括:Preferably, the winding and finishing device includes:
与工作台固定的固定杆;Fixing rods fixed to the workbench;
穿套安装在固定杆上的安装板,该安装板延伸至收卷盘的上方;A mounting plate installed on the fixed rod through a sleeve, and the mounting plate extends to the top of the winding reel;
固定在安装板底面的整平压块。Leveling clamps fixed to the underside of the mounting plate.
收卷过程中,整平压块始终与膜带卷的顶面接触,整齐膜带卷,为了进一步使本实用新型能够收卷不同厚度的膜带卷,进一步优选地,所述收卷整理装置还包括穿套在固定杆上的弹簧,该弹簧上端抵接安装板、下端抵接工作台。During the rewinding process, the leveling briquetting block is always in contact with the top surface of the film tape roll, and the film tape roll is neatly arranged. In order to further enable the utility model to rewind film tape rolls of different thicknesses, it is further preferred that the winding finishing device It also includes a spring sheathed on the fixed rod, the upper end of the spring abuts against the mounting plate, and the lower end abuts against the workbench.
弹簧的缓冲作用可以调节整平压块的高度,以适应不同厚度的膜带卷。The buffering effect of the spring can adjust the height of the leveling pressing block to adapt to film rolls of different thicknesses.
作为优选,所述收卷盘通过主动轴与水平台面轴接;所述主动轴上端穿入收卷环且与收卷环相固定;所述主动轴的下端贯穿水平台面形成第一延伸部,该第一延伸部通过皮带轮机构与电机的输出轴相连。Preferably, the winding reel is axially connected to the horizontal platform through the driving shaft; the upper end of the driving shaft penetrates the winding ring and is fixed with the winding ring; the lower end of the driving shaft passes through the horizontal platform to form a first extension, The first extension part is connected with the output shaft of the motor through a pulley mechanism.
主动轴通过皮带轮机构与电机的输出轴连接,便于调整收卷的速度。The driving shaft is connected with the output shaft of the motor through a pulley mechanism, which is convenient for adjusting the winding speed.
进一步优选,所述放卷盘通过从动轴与水平台面轴接;所述从动轴的上端穿入放卷环且与放卷环相固定;所述从动轴的下端贯穿水平台面形成第二延伸部,该第二延伸部连接制动器。Further preferably, the unwinding reel is axially connected to the horizontal platform through a driven shaft; the upper end of the driven shaft penetrates the unwinding ring and is fixed with the unwinding ring; the lower end of the driven shaft penetrates the horizontal platform to form a second Two extension parts, the second extension part is connected with the brake.
电机启动收卷盘,开始膜带的倒卷,收卷快结束时,关闭电机,通过惯性作用进行尾部膜带的收卷,收卷完成后启动制动器,停止放卷盘,自动收卷防卷。The motor starts the take-up reel to start the rewinding of the film tape. When the rewinding is about to end, the motor is turned off, and the tail film tape is rewound through inertia. After the rewinding is completed, the brake is activated, the unwinding reel is stopped, and the rewinding and anti-rolling are performed automatically. .
为方便压盘的安装,作为优选,还设有分别与主动轴及从动轴同轴连接的两个压盘安装轴,每个压盘安装轴对应安装一个所述压盘。In order to facilitate the installation of the pressure plate, preferably, two pressure plate installation shafts are coaxially connected with the driving shaft and the driven shaft respectively, and each pressure plate installation shaft is correspondingly equipped with one pressure plate.
即一根压盘安装轴与主动轴同轴连接,该压盘安装轴上安装一个压盘;另一根压盘安装轴与从动轴同轴连接,该压盘安装轴上安装另一个压盘。That is, one pressure plate installation shaft is coaxially connected with the driving shaft, and a pressure plate is installed on the pressure plate installation shaft; the other pressure plate installation shaft is coaxially connected with the driven shaft, and another pressure plate is installed on the pressure plate installation shaft. plate.
进一步优选地,所述压盘安装轴为螺杆,压盘与压盘安装轴之间螺纹连接。这样固定不同厚度膜带卷更方便。Further preferably, the pressure plate installation shaft is a screw, and the pressure plate is threadedly connected to the pressure plate installation shaft. It is more convenient to fix film tape rolls of different thicknesses like this.
为了在初始收卷时增强膜带的张紧度,使膜带在收卷盘上缠绕得更紧密,作为优选,所述水平台面上还设有至少一个位于收卷盘与防卷盘之间的导向辊。进一步优选地,所述导向辊固定在水平台面的边缘处,远离收卷盘和放卷盘,膜带绕过该导向辊后再与收卷盘连接。In order to enhance the tension of the film tape during the initial winding, the film tape is wound more tightly on the take-up reel, preferably, the horizontal platform is also provided with at least one guide rollers. Further preferably, the guide roller is fixed at the edge of the horizontal platform, away from the take-up reel and the unwind reel, and the film belt is connected to the take-up reel after passing around the guide roller.
为方便电机的启停,所述工作台上还设有一个电源控制柜,该电源控制柜通过电线与电机相连。In order to facilitate the start and stop of the motor, a power control cabinet is also provided on the workbench, which is connected with the motor through wires.
本实用新型具有如下有益效果:The utility model has the following beneficial effects:
传统的收卷机构存在机构复杂或者收整效果不好的缺点。本实用新型中,待倒卷整理的膜带卷的管芯穿套固定在放卷盘的放卷环上,操作放卷盘上方的压盘将膜带卷压紧,使膜带卷与放卷盘之间不产生相对运动;收卷管芯穿套固定在收卷盘的收卷环上,操作收卷盘上方的压盘将收卷管芯压紧,使收卷管芯与收卷盘之间不产生相对运动;将膜带的一端拉伸绕置在收卷管芯上,电机驱动收卷盘转动,倒卷膜带,收卷整理装置延伸至收料膜带卷的上方整齐膜带。倒卷机结构简单,倒卷整理效果好。The traditional winding mechanism has the disadvantages of complex mechanism or poor winding effect. In the utility model, the tube core of the film tape roll to be rewinded is fixed on the unwinding ring of the unwinding reel, and the pressure plate above the unwinding reel is operated to compress the film tape roll, so that the film tape roll and the unwinding reel There is no relative movement between the reels; the winding core is fixed on the winding ring of the winding reel through the sleeve, and the pressure plate above the winding reel is operated to compress the winding core so that the winding core and the winding There is no relative movement between the reels; one end of the film tape is stretched and wound on the rewinding tube core, the motor drives the reel to rotate, the film tape is rewound, and the rewinding and finishing device extends to the top of the rewinding film tape roll. film tape. The structure of the rewinding machine is simple, and the effect of rewinding is good.
附图说明Description of drawings
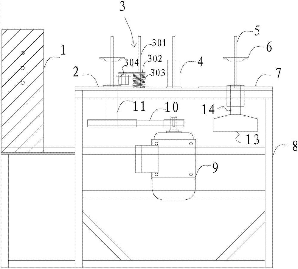
图1是本实用新型的结构示意图。Fig. 1 is the structural representation of the utility model.
图2是图1所示的俯视图。Fig. 2 is a top view of Fig. 1 .
图中所示附图标记如下:The reference signs shown in the figure are as follows:
1-电源控制柜 2-收卷盘 3-收卷整理装置1-Power control cabinet 2-Rewinding reel 3-Rewinding finishing device
4-导向辊 5-压盘安装轴 6-压盘4-guide roller 5-pressure plate installation shaft 6-pressure plate
7-放卷盘 8-工作台 9-电机7-Unwinding reel 8-Workbench 9-Motor
10-皮带轮机构 11-主动轴 12-膜带10-Pulley mechanism 11-Drive shaft 12-Membrane belt
13-制动器 14-从动轴 301-固定杆13-brake 14-driven shaft 301-fixing rod
302-安装板 303-弹簧 304-整平压块302-Mounting plate 303-Spring 304-Leveling pressure block
具体实施方式Detailed ways
如图1和图2所示,一种膜带倒卷机,包括工作台8,该工作台8包括机架和固定在机架顶部的水平台面,收卷盘2、放卷盘7和收卷整理装置3安装在水平台面上方,电机9安装在水平台面下方,电源控制柜1安装在工作台8一侧,电源控制柜1通过电线与电机9连接。As shown in Fig. 1 and Fig. 2, a kind of film strip rewinding machine comprises
放卷盘7为圆形盘,中心带有一个向上凸出的放卷环,该放卷环用于固定放料膜带卷的管芯;从动轴14贯穿水平台面与水平台面轴接,从动轴14上端穿入放卷环中且与放卷环相固定,该处的固定方式可以采用卡接方式,在从动轴的表面设置突起,放卷环的内表面设置对应的凹槽,突起与凹槽配合防止从动轴与放卷环相对转动;从动轴14的下端延伸至水平台面的下方形成第二延伸部,该第二延伸部连接制动器13,该制动器可以采用常规制动器。The unwinding
收卷盘2为圆形盘,中心带有一个向上凸出的收卷环,该收卷环用于固定倒卷膜带的管芯;主动轴11贯穿水平台面并与水平台面轴接,主动轴11的上端穿入收卷环内并与收卷环相固定,该处的固定方式可以采用卡接方式,在主动轴的表面设置突起,收卷环的内表面设置对应凹槽,突起与凹槽配合防止主动轴与收卷环相对转动;主动轴11下端延伸至水平台面的下方形成第一延伸部,该第一延伸部通过皮带轮机构10连接电机9的输出轴。The winding
从动轴14和主动轴11的顶部各同轴固定一个压盘安装轴5,压盘安装轴5为螺杆,每个压盘安装轴5上固定一个压盘6,压盘6与压盘安装轴5之间为螺纹连接,该压盘的大小以稍大于收卷环及放卷环为宜,这样不会干扰收卷盘上方的收卷整理装置3。The tops of the driven
收卷盘2边上安装一个收卷整理装置3,该收卷整理装置3包括固定杆301、安装板302、弹簧303和整平压块304,固定杆301固定在靠近收卷盘2处的水平台面上,固定杆301上穿套一弹簧303,弹簧303的下端与水平台面抵接,固定杆301上且位于弹簧303上方再穿套一个安装板302,弹簧303的顶端与安装板302底面抵接,安装板302的另一个端部延伸至收卷盘2的上方,在安装板302的底面固定一个整平压块304,整平压块304位于收卷盘2的上方。A winding
在水平台面上还固定一个导向辊4,该导向辊4位于收卷盘2和放卷盘7之间且远离放卷盘和收卷盘,膜带12绕过该导向辊4后与收卷环连接,进行倒卷。A guide roller 4 is also fixed on the horizontal platform, and the guide roller 4 is positioned between the winding
本实用新型的工作方式如下:The mode of work of the present utility model is as follows:
待倒卷整理的膜带卷的管芯穿套固定在放卷盘7的放卷环上,操作放卷盘7上方的压盘将膜带卷压紧,使膜带卷与放卷盘之间不产生相对运动;收卷管芯穿套固定在收卷盘2的收卷环上,操作收卷盘上方的压盘将收卷管芯压紧,使收卷管芯与收卷盘之间不产生相对运动;将膜带12的一端拉伸绕过导向辊4后绕置在收卷盘2的收卷环上,电机9驱动收卷盘2转动,倒卷膜带,收卷整理装置3延伸至收料膜带卷的上方整齐膜带。The tube core of the film tape roll to be rewinded is fixed on the unwinding ring of the unwinding
收卷快结束时,关闭电机9,通过惯性作用进行尾部膜带的收卷,收卷完成后启动制动器13,停止放卷盘7。When rewinding ends soon,
以上所述仅为本实用新型的较佳实施举例,并不用于限制本实用新型,凡在本实用新型精神和原则之内,所作的任何修改、等同替换、改进等,均应包含在本实用新型的保护范围之内。The above descriptions are only examples of the preferred implementation of the present utility model, and are not intended to limit the present utility model. Any modifications, equivalent replacements, improvements, etc. made within the spirit and principles of the present utility model shall be included in the present utility model. within the scope of the new protection.
Claims (8)
Priority Applications (1)
| Application Number | Priority Date | Filing Date | Title |
|---|---|---|---|
| CN201320797238.2U CN203558603U (en) | 2013-12-05 | 2013-12-05 | Membrane rewinding machine |
Applications Claiming Priority (1)
| Application Number | Priority Date | Filing Date | Title |
|---|---|---|---|
| CN201320797238.2U CN203558603U (en) | 2013-12-05 | 2013-12-05 | Membrane rewinding machine |
Publications (1)
| Publication Number | Publication Date |
|---|---|
| CN203558603U true CN203558603U (en) | 2014-04-23 |
Family
ID=50508337
Family Applications (1)
| Application Number | Title | Priority Date | Filing Date |
|---|---|---|---|
| CN201320797238.2U Expired - Fee Related CN203558603U (en) | 2013-12-05 | 2013-12-05 | Membrane rewinding machine |
Country Status (1)
| Country | Link |
|---|---|
| CN (1) | CN203558603U (en) |
Cited By (5)
| Publication number | Priority date | Publication date | Assignee | Title |
|---|---|---|---|---|
| CN108128651A (en) * | 2017-12-12 | 2018-06-08 | 杨裕鑫 | A kind of full-automatic anti-wrinkle cloth-rolling device of weaving |
| CN108821038A (en) * | 2018-07-17 | 2018-11-16 | 安徽智泓净化科技股份有限公司 | A kind of reverse osmosis function membrane component adhesive waterproof tape winding device |
| CN109230691A (en) * | 2018-10-19 | 2019-01-18 | 曾宪录 | A food plastic bag rewinder with edge-aligning function |
| CN113460764A (en) * | 2021-07-27 | 2021-10-01 | 赣州市中金高能电池材料股份有限公司 | Coiling mechanism of nickel plating steel band punches a hole |
| TWI841967B (en) * | 2021-05-26 | 2024-05-11 | 瑞士商明門瑞士股份有限公司 | Automatic webbing winding device and bedside bed having the same |
-
2013
- 2013-12-05 CN CN201320797238.2U patent/CN203558603U/en not_active Expired - Fee Related
Cited By (7)
| Publication number | Priority date | Publication date | Assignee | Title |
|---|---|---|---|---|
| CN108128651A (en) * | 2017-12-12 | 2018-06-08 | 杨裕鑫 | A kind of full-automatic anti-wrinkle cloth-rolling device of weaving |
| CN108128651B (en) * | 2017-12-12 | 2019-05-24 | 威海迪尚华绮毛纺织有限公司 | A kind of full-automatic anti-wrinkle cloth-rolling device of weaving |
| CN108821038A (en) * | 2018-07-17 | 2018-11-16 | 安徽智泓净化科技股份有限公司 | A kind of reverse osmosis function membrane component adhesive waterproof tape winding device |
| CN108821038B (en) * | 2018-07-17 | 2023-09-22 | 安徽智泓净化科技股份有限公司 | Waterproof adhesive tape winding device for reverse osmosis functional membrane element |
| CN109230691A (en) * | 2018-10-19 | 2019-01-18 | 曾宪录 | A food plastic bag rewinder with edge-aligning function |
| TWI841967B (en) * | 2021-05-26 | 2024-05-11 | 瑞士商明門瑞士股份有限公司 | Automatic webbing winding device and bedside bed having the same |
| CN113460764A (en) * | 2021-07-27 | 2021-10-01 | 赣州市中金高能电池材料股份有限公司 | Coiling mechanism of nickel plating steel band punches a hole |
Similar Documents
| Publication | Publication Date | Title |
|---|---|---|
| CN203558603U (en) | Membrane rewinding machine | |
| CN114476175A (en) | A kind of coil automatic packaging equipment | |
| CN204702289U (en) | Thin film winding machine on a kind of rubber production line | |
| CN100567106C (en) | Center take-up synthetic leather finished product inspection machine | |
| CN202046735U (en) | Roll paper rewinder | |
| CN103950779B (en) | A kind of capstan head cutting machine | |
| CN214452044U (en) | Device is decided in automatic winding of packaging film | |
| CN111703953A (en) | Glue sticking device, sticking mechanism and sticking method for zero tension sticking of double-sided tape | |
| CN206645613U (en) | A kind of zero tension rolling machine | |
| CN209536592U (en) | A kind of winding/unwinding device | |
| CN114408249B (en) | A packaging film automatic winding and cutting device | |
| CN213011083U (en) | Winding device for film | |
| CN204917334U (en) | Broad width paper coating machine feeding change of lap mechanism | |
| CN110921392A (en) | A rewinding device suitable for film | |
| CN202558334U (en) | Membrane folding and automatic winding device | |
| CN207061401U (en) | Full-automatic three station twines membrane coiler | |
| CN203127824U (en) | Rewinding checking machine | |
| CN206069016U (en) | Material-receiving system and reverse osmosis membrane production equipment | |
| CN218785648U (en) | A cutting machine for EVA packaging film | |
| CN206927317U (en) | BOPP film wrap-up | |
| CN206886362U (en) | A kind of computer-controlled high speed banding machine | |
| CN204714166U (en) | A kind of planer-type rewinding machine for film | |
| CN211254603U (en) | Rewinding machine for gummed paper | |
| CN209651534U (en) | A kind of semi-automatic dual-purpose rewinding mechanism of aluminium foil preservative film | |
| CN205087643U (en) | Coiling apparatus at uniform velocity |
Legal Events
| Date | Code | Title | Description |
|---|---|---|---|
| C14 | Grant of patent or utility model | ||
| GR01 | Patent grant | ||
| TR01 | Transfer of patent right |
Effective date of registration: 20170828 Address after: 312300 Zhejiang Province, Shaoxing city Shangyu District Jinhua City Street Road No. 154 Patentee after: Shangyu Shaoxing Wen Lian Trading Co., Ltd. Address before: 312369 Zhenxing Road, Shangyu Industrial Zone, Hangzhou Bay, Zhejiang, Shaoxing Patentee before: CASHEM ADVANCED MATERIALS HI-TECH CO., LTD. ZHEJIANG |
|
| TR01 | Transfer of patent right | ||
| CF01 | Termination of patent right due to non-payment of annual fee |
Granted publication date: 20140423 Termination date: 20181205 |
|
| CF01 | Termination of patent right due to non-payment of annual fee |
