CN203543572U - Automobile balancing device for preventing side tilting and front tilting of automobile - Google Patents
Automobile balancing device for preventing side tilting and front tilting of automobile Download PDFInfo
- Publication number
- CN203543572U CN203543572U CN201320726230.7U CN201320726230U CN203543572U CN 203543572 U CN203543572 U CN 203543572U CN 201320726230 U CN201320726230 U CN 201320726230U CN 203543572 U CN203543572 U CN 203543572U
- Authority
- CN
- China
- Prior art keywords
- air bag
- automobile
- sensor
- wheel
- tilting
- Prior art date
- Legal status (The legal status is an assumption and is not a legal conclusion. Google has not performed a legal analysis and makes no representation as to the accuracy of the status listed.)
- Expired - Fee Related
Links
- 239000000725 suspension Substances 0.000 claims description 11
- 238000002955 isolation Methods 0.000 abstract description 3
- 238000004519 manufacturing process Methods 0.000 abstract description 2
- 238000000034 method Methods 0.000 description 7
- 239000006096 absorbing agent Substances 0.000 description 4
- 230000009471 action Effects 0.000 description 4
- 230000035939 shock Effects 0.000 description 4
- 230000006872 improvement Effects 0.000 description 3
- 230000005540 biological transmission Effects 0.000 description 2
- 230000008859 change Effects 0.000 description 2
- 238000010586 diagram Methods 0.000 description 2
- 230000000694 effects Effects 0.000 description 2
- 238000012544 monitoring process Methods 0.000 description 2
- 238000004891 communication Methods 0.000 description 1
- 230000000052 comparative effect Effects 0.000 description 1
- 230000000881 depressing effect Effects 0.000 description 1
- 230000009916 joint effect Effects 0.000 description 1
- 230000008569 process Effects 0.000 description 1
- 238000005096 rolling process Methods 0.000 description 1
Images
Landscapes
- Vehicle Body Suspensions (AREA)
Abstract
本实用新型公开了一种防止汽车侧倾斜、前倾的汽车平衡装置,装置包括传感器模块、电子控制单元ECU、气囊,传感器模块包括轮速传感器、方向盘传感器、刹车传感器,轮速传感器、方向盘传感器及刹车传感器分别与电子控制单元ECU的输入端连接,气囊设置在车轮臂轴与车身之间,气囊包括与车身连接的柔性主气室、与车轮臂轴连接的刚性副气室,柔性主气室与刚性副气室之间通过气囊电磁阀控制连通/隔离。本实用新型具有以下优点:1、更加的准确,快速,能够更好的消除汽车急刹车减速、转弯所产生的前倾,和侧倾,增加汽车的舒适性;2、结构比较紧凑,不产生较为明显的干涉运动;使用空气气囊,价格合理,制造容易。
The utility model discloses an automobile balance device for preventing the automobile from leaning sideways and forward. The device includes a sensor module, an electronic control unit ECU, and an air bag. The sensor module includes a wheel speed sensor, a steering wheel sensor, a brake sensor, a wheel speed sensor, and a steering wheel sensor. and the brake sensor are respectively connected to the input end of the electronic control unit ECU. The airbag is arranged between the wheel arm shaft and the vehicle body. The airbag includes a flexible main air chamber connected with the The connection/isolation between the chamber and the rigid auxiliary air chamber is controlled by the air bag solenoid valve. The utility model has the following advantages: 1. It is more accurate and fast, and can better eliminate the forward tilt and roll produced by the car's sudden braking deceleration and turning, so as to increase the comfort of the car; 2. The structure is relatively compact and does not produce Obvious interference movement; using air bag, reasonable price, easy to manufacture.
Description
技术领域technical field
本实用新型涉及汽车技术领域,特别涉及一种防止汽车侧倾斜、前倾的汽车平衡装置。The utility model relates to the technical field of automobiles, in particular to an automobile balance device for preventing the automobile from tilting sideways and leaning forward.
背景技术Background technique
现在随着人们的生活水平的提高,人们对于生活的舒适度要求也越来越高,汽车慢慢成为人们上班、出行旅游选乘的交通工具的主流。然而汽车在减速时,汽车由于惯性的作用产生前倾,乘客容易随车身前倾,会使乘客感觉不舒服;在转弯时车身容易向左或右倾斜,也容易使乘客不舒服。而在已有的汽车平衡装置中有汽车转弯平衡装置,但不能同时做到汽车在减速刹车时也能保证汽车的平衡。也有利用汽车减震器来保证汽车平衡,而这种装置不能可靠的做到汽车平衡,其他的装置有的结构很复杂,有的用单摆原理则受外力干扰,而不可靠。Nowadays, with the improvement of people's living standards, people's requirements for the comfort of life are getting higher and higher, and cars have gradually become the mainstream of transportation for people to go to work and travel. However, when the car is decelerating, the car will lean forward due to the inertia, and the passenger will easily lean forward with the vehicle body, which will make the passenger feel uncomfortable; And there is automobile turning balance device in existing automobile balancing device, but can not accomplish automobile also can guarantee the balance of automobile when deceleration brakes simultaneously. Also have to utilize automobile shock absorber to guarantee automobile balance, and this device can not accomplish automobile balance reliably, and the structure that other devices have is very complicated, and what have is disturbed by external force with simple pendulum principle, and is unreliable.
实用新型内容Utility model content
本实用新型所要解决的技术问题是,针对现有技术的不足,提供一种防止汽车侧倾斜、前倾的汽车平衡装置,以达到在汽车减速、转弯时,减少汽车发生前倾、侧倾问题的目的。The technical problem to be solved by the utility model is to provide a car balance device for preventing the car from tilting and leaning forward, so as to reduce the problem of leaning forward and leaning forward when the car is decelerating or turning. the goal of.
为解决上述技术问题,本实用新型的技术方案是:一种防止汽车侧倾斜、前倾的汽车平衡装置,包括传感器模块、电子控制单元ECU、气囊,所述的传感器模块包括安装在车轮旁侧的轮速传感器、安装在方向盘上的方向盘传感器、安装在刹车踏板上的刹车传感器,所述的轮速传感器、方向盘传感器及刹车传感器分别与电子控制单元ECU的输入端连接,所述的气囊设置在车轮臂轴与车身之间,所述气囊包括与车身连接的柔性主气室、与车轮臂轴连接的刚性副气室,所述的柔性主气室与刚性副气室之间通过气囊电磁阀控制连通/隔离,所述的气囊电磁阀与电子控制单元ECU连接。In order to solve the above-mentioned technical problems, the technical solution of the utility model is: an automobile balancing device for preventing the automobile from leaning sideways and forward, including a sensor module, an electronic control unit ECU, and an airbag. The wheel speed sensor, the steering wheel sensor installed on the steering wheel, the brake sensor installed on the brake pedal, the wheel speed sensor, the steering wheel sensor and the brake sensor are respectively connected with the input end of the electronic control unit ECU, the air bag is set Between the wheel arm shaft and the vehicle body, the airbag includes a flexible main air chamber connected with the vehicle body, and a rigid auxiliary air chamber connected with the wheel arm shaft. The valve controls connection/isolation, and the air bag solenoid valve is connected with the electronic control unit ECU.
所述的电子控制单元ECU,用于根据轮速传感器采集的行车速度信号、方向盘传感器采集的方向盘转向信号、刹车踏板踩踏速率信号,判断驾驶员的刹车、转弯意向,继而控制气囊电磁阀的开关动作。The electronic control unit ECU is used to judge the driver's braking and turning intention according to the driving speed signal collected by the wheel speed sensor, the steering wheel steering signal collected by the steering wheel sensor, and the brake pedal stepping rate signal, and then control the switch of the airbag solenoid valve action.
所述的车轮臂轴与车身之间连接有悬架弹簧。A suspension spring is connected between the wheel arm shaft and the vehicle body.
所述的车轮臂轴上设有悬架减震器。The wheel arm shaft is provided with a suspension shock absorber.
所述的气囊电磁阀打开状态下,所述的气囊的柔性主气室与刚性副气室相连通,所述的气囊电磁阀关闭状态下,所述的气囊的柔性主气室与刚性副气室相隔离。When the solenoid valve of the airbag is opened, the flexible main air chamber of the airbag communicates with the rigid auxiliary chamber; when the electromagnetic valve of the airbag is closed, the flexible main chamber of the airbag communicates with the rigid auxiliary chamber. room is isolated.
所述的气囊电磁阀采用通口开关气阀。The air bag solenoid valve adopts a port switch air valve.
所述的气囊包括连接在左前车轮臂轴与车身之间的左前气囊、连接在左后车轮臂轴与车身之间的左后气囊、连接在右前车轮臂轴与车身之间的右前气囊、连接在右后车轮臂轴与车身之间的右后气囊。The air bag includes a left front air bag connected between the left front wheel arm shaft and the vehicle body, a left rear air bag connected between the left rear wheel arm shaft and the vehicle body, a right front air bag connected between the right front wheel arm shaft and the vehicle body, a connecting The right rear airbag between the right rear wheel arm shaft and the body.
一种防止汽车侧倾斜、前倾的汽车平衡装置的平衡控制方法,所述的方法包括以下步骤:A balance control method of an automobile balance device for preventing the automobile from leaning sideways and forward, the method comprising the following steps:
a)当刹车减速时,所述电子控制单元ECU根据所述的轮速传感器与刹车传感器传递的车速信号与刹车踏板踩踏情况信号数据,通过与原始设定的对比车速(V0)、刹车踏板踩踏速率(λ0)比较判断驾驶员的高速慢刹、高速急刹、低速急刹及低速慢刹四种刹车意向,当低速慢刹时,则所述电子控制单元ECU忽略信号,所有气囊电磁阀均不动作,其他三种状态时,则所述电子控制单元ECU输出控制所述的所有气囊电磁阀关闭信号,使得所有气囊主气室与副气室阻断,提高气囊刚度,减缓车辆的侧倾程度;a) When braking to decelerate, the electronic control unit ECU compares the vehicle speed (V 0 ), brake pedal The stepping rate (λ 0 ) compares and judges the driver's four braking intentions of high-speed slow braking, high-speed sudden braking, low-speed sudden braking and low-speed slow braking. None of the valves are in action, and in the other three states, the electronic control unit ECU outputs a signal to control the closing of all airbag solenoid valves, so that the main air chambers and auxiliary air chambers of all airbags are blocked, the rigidity of the airbags is improved, and the speed of the vehicle is slowed down. degree of roll;
b)当汽车转弯时,所述电子控制单元ECU根据所述的轮速传感器与方向盘传感器传递的车速信号与方向盘转速信号数据,通过与设定的原始对比车速(V0)、方向盘转速(ω0)比较判断驾驶员高速大弯、高速小弯、低速大弯及低速小弯四种转弯意向,当低速大弯时则所述电子控制单元ECU忽略信号,所有气囊电磁阀均不动作,其他三种状态下转弯时,则所述电子控制单元ECU输出控制所述的所有气囊电磁阀关闭信号,使得相应的气囊主气室与副气室阻断,提高气囊刚度,减缓车辆的侧倾程度。b) When the car is turning, the electronic control unit ECU compares the vehicle speed (V 0 ) and steering wheel speed (ω 0 ) Comparing and judging the driver's four turning intentions of high-speed big curve, high-speed small curve, low-speed big curve and low-speed small curve, the electronic control unit ECU ignores the signal when the low-speed big curve occurs, and all airbag solenoid valves do not operate. Others When turning in the three states, the electronic control unit ECU outputs and controls all the airbag solenoid valves to close signals, so that the corresponding airbag main air chamber and auxiliary air chamber are blocked, the airbag rigidity is improved, and the rolling degree of the vehicle is slowed down. .
当所述的电子控制单元ECU判断轮速传感器、刹车传感器及方向盘传感器所传递的信号值不超预设的原始值时,延时1秒时间后,系统控制所有的气囊电磁阀继续保持打开状态。When the electronic control unit ECU judges that the signal values transmitted by the wheel speed sensor, the brake sensor and the steering wheel sensor do not exceed the preset original value, after a delay of 1 second, the system controls all airbag solenoid valves to continue to open .
本实用新型采用上述结构,具有以下优点:1、采用控制单元ECU自动控制,更加的准确,快速,能够更好的消除汽车急刹车减速、转弯所产生的前倾,和侧倾,增加汽车的舒适性;2、本实用新型安装在车轮臂轴上,不占用汽车的其他空间,结构比较紧凑,不产生任何干涉运动;3、使用空气气囊,价格合理,制造容易;气囊控制只是简单的开关控制,成本低。The utility model adopts the above-mentioned structure and has the following advantages: 1. The automatic control of the control unit ECU is adopted, which is more accurate and fast, and can better eliminate the forward lean and roll produced by the car's sudden braking, deceleration and turning, and increase the safety of the car. Comfort; 2. The utility model is installed on the wheel arm shaft, does not occupy other spaces of the car, has a relatively compact structure, and does not produce any interference movement; 3. Uses the air bag, which is reasonable in price and easy to manufacture; the air bag control is just a simple switch control, low cost.
附图说明Description of drawings
下面结合附图和具体实施方式对本实用新型作进一步详细的说明;Below in conjunction with accompanying drawing and specific embodiment the utility model is described in further detail;
图1为本实用新型中气囊连接在车轮臂轴与车身之间的结构示意图;Fig. 1 is the structural representation that air bag is connected between wheel arm shaft and vehicle body in the utility model;
图2为本实用新型中平衡装置安装在车辆上的结构示意图;Fig. 2 is the structure schematic diagram that balance device is installed on the vehicle in the utility model;
图3为本实用新型的控制逻辑结构框图;Fig. 3 is a control logic structural block diagram of the present utility model;
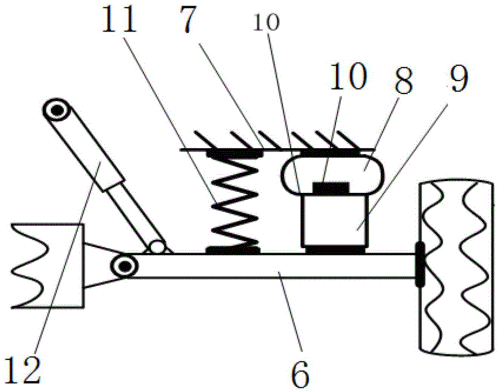
在图1~图3中,1、轮速传感器;2、方向盘;3、方向盘传感器;4、刹车踏板;5、刹车传感器;6、车轮臂轴;7、车身;8、柔性主气室;9、刚性副气室;10、气囊电磁阀;11、悬架弹簧;12、悬架减震器。In Figures 1 to 3, 1. Wheel speed sensor; 2. Steering wheel; 3. Steering wheel sensor; 4. Brake pedal; 5. Brake sensor; 6. Wheel arm shaft; 7. Body; 8. Flexible main air chamber; 9. Rigid secondary air chamber; 10. Airbag solenoid valve; 11. Suspension spring; 12. Suspension shock absorber.
具体实施方式Detailed ways
如图1~图3所示一种防止汽车侧倾斜、前倾的汽车平衡装置,包括传感器模块、电子控制单元ECU、气囊,所述的传感器模块包括安装在车轮旁侧的轮速传感器1、安装在方向盘2上的方向盘传感器3、安装在刹车踏板4上的刹车传感器5,轮速传感器1、方向盘传感器3及刹车传感器5分别与电子控制单元ECU的输入端连接,气囊设置在车轮臂轴6与车身7之间,所述气囊包括与车身连接的柔性主气室8、与车轮臂轴6连接的刚性副气室9,柔性主气室8与刚性副气室9之间通过气囊电磁阀10控制连通/隔离,气囊电磁阀10与电子控制单元ECU连接。所述轮速传感器负责测量汽车的行驶车速信号并传递给电子控制单元ECU;所述方向盘传感器安装在方向盘上,通过监测方向盘的转速信号,反映驾驶员的转弯意向并传递给所述电控单元;所述刹车行为传感器通过监测刹车踏板踩踏速度,反映驾驶员的转弯意向并传递给所述电控单元;电子控制单元ECU通过控制其的开关控制所述的主、副气室联通与否,间接控制所述右后气囊的刚度大小变化。As shown in Fig. 1~Fig. 3, a kind of automobile balance device that prevents automobile side tilting, forward tilting, comprises sensor module, electronic control unit ECU, air bag, described sensor module comprises the
电子控制单元ECU是本实用新型的核心控制器,其作用在于接收所述传感器部分传来的各部分信号并做出分析处理,传出控制信号控制相应气囊电磁阀的开关动作。电子控制单元ECU通过车轮传感器,方向盘传感器,和刹车行为传感器监测驾驶员的刹车与转弯意向,用控制单元EUC可靠的控制四个空气气囊减缓车身的倾斜。The electronic control unit ECU is the core controller of the utility model, and its function is to receive and analyze and process the signals of various parts transmitted from the sensor part, and send out control signals to control the switching action of the corresponding airbag solenoid valve. The electronic control unit ECU monitors the driver's braking and turning intentions through wheel sensors, steering wheel sensors, and braking behavior sensors, and uses the control unit EUC to reliably control the four airbags to slow down the tilt of the vehicle body.
电子控制单元ECU,用于根据轮速传感器1采集的行车速度信号、方向盘传感器3采集的方向盘转向信号、刹车踏板4踩踏速率信号,判断驾驶员的刹车、转弯意向,继而控制气囊电磁阀10的开关动作。车轮臂轴6与车身7之间连接有悬架弹簧11。车轮臂轴6上设有悬架减震器12。气囊电磁阀10打开状态下,气囊的柔性主气室8与刚性副气室9相连通,气囊电磁阀10关闭状态下,气囊的柔性主气室8与刚性副气室9相隔离。气囊电磁阀10采用通口开关气阀。The electronic control unit ECU is used to judge the driver's braking and turning intention according to the driving speed signal collected by the
气囊包括连接在左前车轮臂轴与车身之间的左前气囊、连接在左后车轮臂轴与车身之间的左后气囊、连接在右前车轮臂轴与车身之间的右前气囊、连接在右后车轮臂轴与车身之间的右后气囊。The air bag includes a left front air bag connected between the left front wheel arm shaft and the body, a left rear air bag connected between the left rear wheel arm shaft and the body, a right front air bag connected between the right front wheel arm shaft and the body, and a right rear air bag connected between the right rear wheel arm shaft and the body. Right rear airbag between wheel arm shaft and body.
该防止汽车侧倾斜、前倾的汽车平衡装置的平衡控制方法,方法包括以下步骤:The balance control method of the vehicle balance device for preventing the vehicle from tilting sideways and forward tilting, the method includes the following steps:
汽车正常行驶时,所有气囊电磁阀处于常开状态,相应的气囊主气室与副气室联通,此时的各个气囊的刚度处于较低的状态,车桥与车身之间力的传递主要靠悬架系统,而气囊传递的力较小;When the car is running normally, all airbag solenoid valves are in the normally open state, and the corresponding airbag main air chamber is connected with the auxiliary air chamber. At this time, the stiffness of each airbag is in a low state, and the force transmission between the axle and the body mainly depends on Suspension system, while airbags transmit less force;
当刹车减速时,所述电子控制单元ECU根据所述的轮速传感器与刹车传感器传递的车速信号与刹车踏板踩踏情况信号数据,通过与原始设定的对比车速V0、刹车踏板踩踏速率λ0比较判断驾驶员的高速慢刹、高速急刹、低速急刹及低速慢刹四种刹车意向,当低速慢刹时,则所述电子控制单元ECU忽略信号,所有气囊电磁阀均不动作,其他三种状态时,则所述电子控制单元ECU输出控制所述的各个气囊电磁阀关闭信号,使得各个气囊主气室与副气室阻断,提高所有气囊的刚度,车桥与车身之间力的传递靠悬架系统与气囊共同作用,其作用效果就相当于提高了汽车前轮的悬架刚度,可减缓汽车由刹车减速引起的前倾的效果;通过与原始设定的对比车速V0、刹车踏板踩踏速率λ0比较判断驾驶员的高速慢刹、高速急刹、低速急刹及低速慢刹四种刹车意向的情况如表格1所示:When braking to decelerate, the electronic control unit ECU compares the vehicle speed V 0 and the brake pedal depressing rate λ 0 with the original setting according to the vehicle speed signal transmitted by the wheel speed sensor and the brake sensor and the signal data of the brake pedal depression. Compare and judge the driver's four braking intentions of high-speed slow braking, high-speed sudden braking, low-speed sudden braking and low-speed slow braking. In the three states, the electronic control unit ECU outputs signals to control the closing of the electromagnetic valves of each airbag, so that the main air chamber and auxiliary air chamber of each airbag are blocked, the stiffness of all airbags is improved, and the force between the axle and the vehicle body is improved. The transmission depends on the joint action of the suspension system and the airbag, and its effect is equivalent to improving the suspension stiffness of the front wheel of the car, which can slow down the effect of the car's forward tilt caused by braking deceleration; by comparing with the original set speed V 0 , Brake pedal stepping speed λ 0 compares and judges the driver's high-speed slow brake, high-speed sudden brake, low-speed sudden brake and low-speed slow brake four kinds of braking intentions as shown in Table 1:
表1Table 1
当汽车转弯时,所述电子控制单元ECU根据所述的轮速传感器与方向盘传感器传递的车速信号与方向盘转速信号数据,通过与设定的原始对比车速V0、方向盘转速ω0比较判断驾驶员高速大弯、高速小弯、低速大弯及低速小弯四种转弯意向,当低速大弯时则所述电子控制单元ECU忽略信号,所有气囊电磁阀均不动作,其他三种状态下转弯时,则所述电子控制单元ECU输出控制所述的各个气囊电磁阀关闭信号,使得相应的气囊主气室与副气室阻断,提高气囊刚度,可减缓汽车转弯所引起的侧倾现象,增加汽车的舒适性。通过与设定的原始对比车速V0、方向盘转速ω0比较判断驾驶员高速大弯、高速小弯、低速大弯及低速小弯四种转弯意向的情况如表格2所示:When the car is turning, the electronic control unit ECU judges the driver by comparing the vehicle speed V 0 and the steering wheel speed ω 0 with the set original comparison vehicle speed V 0 and steering wheel speed ω 0 according to the vehicle speed signal transmitted by the wheel speed sensor and the steering wheel sensor and the steering wheel speed signal data. There are four kinds of turning intentions: high-speed large bend, high-speed small bend, low-speed large bend, and low-speed small bend. When the low-speed large bend occurs, the electronic control unit ECU ignores the signal, and all airbag solenoid valves do not operate. When turning in the other three states , then the electronic control unit ECU outputs a signal to control the closing of each airbag solenoid valve, so that the corresponding airbag main air chamber and auxiliary air chamber are blocked, and the stiffness of the airbag is improved, which can slow down the roll phenomenon caused by the turning of the car, and increase Car comfort. By comparing with the set original vehicle speed V 0 and steering wheel speed ω 0 , judge the driver’s four turning intentions of high-speed big curve, high-speed small curve, low-speed big curve and low-speed small curve, as shown in Table 2:
表2Table 2
当所述的电子控制单元ECU判断轮速传感器、刹车传感器及方向盘传感器所传递的信号值不超预设的原始值时,延时1秒时间后,系统控制所有的气囊电磁阀继续保持打开状态。When the electronic control unit ECU judges that the signal values transmitted by the wheel speed sensor, the brake sensor and the steering wheel sensor do not exceed the preset original value, after a delay of 1 second, the system controls all airbag solenoid valves to continue to open .
本实用新型原始设计时,可以通过改变各个气囊主气室与副气室容积之比,以匹配不同车型。对比车速(V0)、方向盘转速(ω0)、刹车踏板踩踏速率(λ0)的大小由汽车生产厂家根据不同车型或使用环境来设定,也可以根据驾驶员的特殊要求来设定,作为电控单元判断驾驶员刹车与转弯意向的依据,从而满足不同驾驶员要求。During the original design of the utility model, it is possible to match different vehicle types by changing the ratio of the volumes of the main air chambers and auxiliary air chambers of each airbag. Compared with vehicle speed (V 0 ), steering wheel speed (ω 0 ), and brake pedal pedaling rate (λ 0 ), the size is set by the car manufacturer according to different models or usage environments, and can also be set according to the special requirements of the driver. As the basis for the electronic control unit to judge the driver's braking and turning intentions, it can meet the requirements of different drivers.
本实用新型通过调整各个气囊主气室与副气室容积之比,协调本实用新型气囊内部气压对悬架系统的干涉与其工作可靠性之间的不协同关系。电子控制单元ECU的输入端连接有输入模块,可以手动输入对比的车速、方向盘转速及刹车踏板踩踏速率的大小,来改变电子控制单元ECU判断驾驶员刹车与转弯的意向的依据,从而满足不同驾驶员要求。The utility model adjusts the ratio of the volumes of the main air chambers and auxiliary air chambers of each airbag to coordinate the uncoordinated relationship between the interference of the air pressure inside the airbag to the suspension system and the working reliability of the utility model. The input terminal of the electronic control unit ECU is connected with an input module, which can manually input the comparative vehicle speed, steering wheel speed and brake pedal stepping rate to change the basis for the electronic control unit ECU to judge the driver's intention of braking and turning, so as to meet different driving requirements. staff request.
上面结合附图对本实用新型进行了示例性描述,显然本实用新型具体实现并不受上述方式的限制,只要采用了本实用新型的技术方案进行的各种改进,或未经改进直接应用于其它场合的,均在本实用新型的保护范围之内。The utility model has been exemplarily described above in conjunction with the accompanying drawings. Obviously, the specific implementation of the utility model is not limited by the above methods, as long as the various improvements of the technical solution of the utility model are adopted, or directly applied to other applications without improvement. Occasions, all within the protection scope of the present utility model.
Claims (7)
Priority Applications (1)
| Application Number | Priority Date | Filing Date | Title |
|---|---|---|---|
| CN201320726230.7U CN203543572U (en) | 2013-11-15 | 2013-11-15 | Automobile balancing device for preventing side tilting and front tilting of automobile |
Applications Claiming Priority (1)
| Application Number | Priority Date | Filing Date | Title |
|---|---|---|---|
| CN201320726230.7U CN203543572U (en) | 2013-11-15 | 2013-11-15 | Automobile balancing device for preventing side tilting and front tilting of automobile |
Publications (1)
| Publication Number | Publication Date |
|---|---|
| CN203543572U true CN203543572U (en) | 2014-04-16 |
Family
ID=50461736
Family Applications (1)
| Application Number | Title | Priority Date | Filing Date |
|---|---|---|---|
| CN201320726230.7U Expired - Fee Related CN203543572U (en) | 2013-11-15 | 2013-11-15 | Automobile balancing device for preventing side tilting and front tilting of automobile |
Country Status (1)
| Country | Link |
|---|---|
| CN (1) | CN203543572U (en) |
Cited By (3)
| Publication number | Priority date | Publication date | Assignee | Title |
|---|---|---|---|---|
| CN103600635A (en) * | 2013-11-15 | 2014-02-26 | 安徽工程大学 | Automobile balance device capable of preventing side tilt and forward tilt of automobile, and control method thereof |
| CN108298442A (en) * | 2018-04-08 | 2018-07-20 | 苏州库力铁重工有限公司 | Crane Anti-side-turning device |
| CN111301086A (en) * | 2019-11-29 | 2020-06-19 | 徐工集团工程机械股份有限公司 | Engineering truck, hydro-pneumatic suspension system and control method of hydro-pneumatic suspension system |
-
2013
- 2013-11-15 CN CN201320726230.7U patent/CN203543572U/en not_active Expired - Fee Related
Cited By (5)
| Publication number | Priority date | Publication date | Assignee | Title |
|---|---|---|---|---|
| CN103600635A (en) * | 2013-11-15 | 2014-02-26 | 安徽工程大学 | Automobile balance device capable of preventing side tilt and forward tilt of automobile, and control method thereof |
| CN103600635B (en) * | 2013-11-15 | 2015-06-17 | 安徽工程大学 | Automobile balance device capable of preventing side tilt and forward tilt of automobile, and control method thereof |
| CN108298442A (en) * | 2018-04-08 | 2018-07-20 | 苏州库力铁重工有限公司 | Crane Anti-side-turning device |
| CN111301086A (en) * | 2019-11-29 | 2020-06-19 | 徐工集团工程机械股份有限公司 | Engineering truck, hydro-pneumatic suspension system and control method of hydro-pneumatic suspension system |
| CN111301086B (en) * | 2019-11-29 | 2024-03-08 | 徐工集团工程机械股份有限公司 | Engineering vehicle and oil and gas suspension system and control method thereof |
Similar Documents
| Publication | Publication Date | Title |
|---|---|---|
| CN103600635B (en) | Automobile balance device capable of preventing side tilt and forward tilt of automobile, and control method thereof | |
| CN101074015B (en) | Method for reducing motor-driven vehicle turning radius using automatic single side after braking | |
| CN112407104B (en) | A chassis domain control system and automobile | |
| US10953868B2 (en) | Control method when vehicle tire bursts, vehicle control system and vehicle | |
| CN104786772B (en) | A kind of interconnection type air suspension control device, control system and method thereof | |
| CN105109299A (en) | Multi-working-condition automobile electric control suspension system and control method thereof | |
| US20170050697A1 (en) | Variable ride height systems and methods | |
| CN205059121U (en) | Automatically controlled suspension system of multiplex condition car | |
| CN105857007B (en) | A kind of combined type interconnection air suspension and its interconnection mode control method | |
| CN106891874A (en) | A kind of vehicle automatic emergency brake system based on ABS/ASR | |
| CN103568774A (en) | Shock mitigation system preventing inclination of car body and control method thereof | |
| CN108099536A (en) | It is a kind of to damp continuously adjustable and variable rigidity control system and vehicle | |
| CN110936940A (en) | Commercial vehicle ESC system based on AEBS relay valve | |
| CN203543572U (en) | Automobile balancing device for preventing side tilting and front tilting of automobile | |
| CN106740812A (en) | Blow out emergent safety assistant control system | |
| CN110509737A (en) | A kind of adaptive electronic controlled suspension control system and method | |
| CN205327194U (en) | Automobile body rigidity adjusting system | |
| CN104097482A (en) | Automobile ECAS (Electronically Controlled Air Suspension) control method and device | |
| CN115892215A (en) | Control system and control method for a subframe bushing with adjustable stiffness | |
| CN210364101U (en) | Semi-active damping adjustable cab suspension system | |
| CN111645472A (en) | Control method of truck suspension variable stiffness auxiliary device | |
| CN203344662U (en) | System for identifying positions of pressure sensors in automobile tire pressure monitoring system and automobile tire pressure monitoring system | |
| CN201800701U (en) | Electronic brake system based on FlexRay bus | |
| CN214999050U (en) | Damping adjustable car intelligence shock mitigation system | |
| CN110873143A (en) | Variable-stiffness air spring system, vehicle and vehicle stability control method |
Legal Events
| Date | Code | Title | Description |
|---|---|---|---|
| C14 | Grant of patent or utility model | ||
| GR01 | Patent grant | ||
| CF01 | Termination of patent right due to non-payment of annual fee |
Granted publication date: 20140416 Termination date: 20151115 |
|
| EXPY | Termination of patent right or utility model |

