CN203538427U - Detachable mask - Google Patents
Detachable mask Download PDFInfo
- Publication number
- CN203538427U CN203538427U CN201320735660.5U CN201320735660U CN203538427U CN 203538427 U CN203538427 U CN 203538427U CN 201320735660 U CN201320735660 U CN 201320735660U CN 203538427 U CN203538427 U CN 203538427U
- Authority
- CN
- China
- Prior art keywords
- cloth
- sides
- fiber filter
- activated carbon
- nose
- Prior art date
- Legal status (The legal status is an assumption and is not a legal conclusion. Google has not performed a legal analysis and makes no representation as to the accuracy of the status listed.)
- Expired - Fee Related
Links
Images
Landscapes
- Respiratory Apparatuses And Protective Means (AREA)
Abstract
一种可拆装式口罩,属于卫生领域,解决了现在的口罩存在鼻子两侧封闭不严的问题,它包含高效熔喷布、活性炭布、涤纶长纤滤布、针织棉、鼻梁筋和耳挂;所述高效熔喷布、活性炭布、涤纶长纤滤布和针织棉通过两侧设置的魔术贴连接;所述鼻梁筋设置在高效熔喷布的外侧面,所述耳挂有两根,两根耳挂的下端分别连接在高效熔喷布的下边缘两侧,两根耳挂的上端分别连接在鼻梁筋的中点两侧10mm至15mm处。本实用新型用于防止吸入空气中的有害物质。
A detachable face mask, which belongs to the hygienic field, solves the problem that the two sides of the nose are not tightly closed in the current masks. hanging; the high-efficiency melt-blown cloth, activated carbon cloth, polyester long-fiber filter cloth and knitted cotton are connected by Velcro arranged on both sides; , The lower ends of the two ear hooks are respectively connected to both sides of the lower edge of the high-efficiency meltblown cloth, and the upper ends of the two ear hooks are respectively connected to 10mm to 15mm on both sides of the midpoint of the bridge of the nose. The utility model is used for preventing inhalation of harmful substances in the air.
Description
技术领域:Technical field:
本实用新型属于卫生领域,具体涉及一种可拆装式口罩。The utility model belongs to the hygienic field, in particular to a detachable mask.
背景技术:Background technique:
现在的口罩存在鼻子两侧封闭不严的问题,有害物容易从鼻子两侧被吸入,使口罩的防护效果降低,虽然很多口罩加装了鼻梁筋,仍会有鼻梁筋与面部贴合不严的现象发生。The current masks have the problem that the sides of the nose are not tightly closed. Harmful substances are easily inhaled from both sides of the nose, which reduces the protective effect of the mask. Although many masks are equipped with a bridge of the nose, there are still bridges of the nose that do not fit the face tightly. phenomenon occurs.
实用新型内容:Utility model content:
本实用新型的目的是为了解决现在的口罩存在鼻子两侧封闭不严的问题,提供了一种可拆装式口罩,其技术方案如下:The purpose of this utility model is to provide a detachable mask in order to solve the problem that the current masks have no tight seal on both sides of the nose, and its technical scheme is as follows:
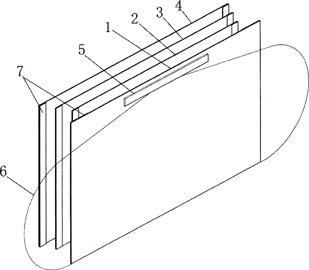
一种可拆装式口罩,它包含高效熔喷布、活性炭布、涤纶长纤滤布、针织棉、鼻梁筋和耳挂;所述高效熔喷布、活性炭布、涤纶长纤滤布和针织棉通过两侧设置的魔术贴连接,在高效熔喷布的内侧表面两侧设置有魔术巾的绒毛面,在活性炭布、涤纶长纤滤布和针织棉的外侧表面两侧设置有魔术贴的勾毛面,活性炭布的长度小于涤纶长纤滤布的长度,涤纶长纤滤布的长度小于针织棉的长度,活性炭布、涤纶长纤滤布和针织棉两侧的魔术贴的勾毛面均与高效熔喷布两侧的魔术贴的绒毛面粘贴;所述鼻梁筋设置在高效熔喷布的外侧面,所述耳挂有两根,两根耳挂的下端分别连接在高效熔喷布的下边缘两侧,两根耳挂的上端分别连接在鼻梁筋的中点两侧10mm至15mm处。A detachable mask, which includes high-efficiency melt-blown cloth, activated carbon cloth, polyester long-fiber filter cloth, knitted cotton, bridge of the nose and ear hooks; the high-efficiency melt-blown cloth, activated carbon cloth, polyester long-fiber filter cloth and knitted The cotton is connected by Velcro provided on both sides. The fluffy surface of the Velcro is provided on both sides of the inner surface of the high-efficiency melt-blown cloth, and the Velcro is provided on both sides of the outer surface of the activated carbon cloth, polyester long fiber filter cloth and knitted cotton. Hook surface, the length of activated carbon cloth is less than the length of polyester long fiber filter cloth, the length of polyester long fiber filter cloth is less than the length of knitted cotton, the hook surface of activated carbon cloth, polyester long fiber filter cloth and Velcro on both sides of knitted cotton Both are pasted with the fluffy surface of the Velcro on both sides of the high-efficiency melt-blown cloth; the bridge of the nose is set on the outer surface of the high-efficiency melt-blown cloth, and there are two ear hangers, and the lower ends of the two ear hangers are respectively connected to the high-efficiency melt-blown cloth. On both sides of the lower edge of the cloth, the upper ends of the two ear hooks are respectively connected at 10mm to 15mm on both sides of the midpoint of the bridge of the nose.
本实用新型的有益效果为:可以有效过滤空气中的有害物质,并使鼻子两侧封闭严密。The beneficial effect of the utility model is that harmful substances in the air can be effectively filtered, and both sides of the nose can be tightly sealed.
附图说明:Description of drawings:
图1是本实用新型的分解结构示意图。Fig. 1 is a schematic diagram of an exploded structure of the utility model.
具体实施方式:Detailed ways:
参照图1,一种可拆装式口罩,它包含高效熔喷布1、活性炭布2、涤纶长纤滤布3、针织棉4、鼻梁筋5和耳挂6;所述高效熔喷布1、活性炭布2、涤纶长纤滤布3和针织棉4通过两侧设置的魔术贴7连接,在高效熔喷布1的内侧表面两侧设置有魔术贴7的绒毛面,在活性炭布2、涤纶长纤滤布3和针织棉4的外侧表面两侧设置有魔术贴7的勾毛面,活性炭布2的长度小于涤纶长纤滤布3的长度,涤纶长纤滤布3的长度小于针织棉4的长度,活性炭布2、涤纶长纤滤布3和针织棉4两侧的魔术贴7的勾毛面均与高效熔喷布1两侧的魔术贴7的绒毛面粘贴;所述鼻梁筋5设置在高效熔喷布1的外侧面,所述耳挂6有两根,两根耳挂6的下端分别连接在高效熔喷布1的下边缘两侧,两根耳挂6的上端分别连接在鼻梁筋5的中点两侧10mm至15mm处。Referring to Fig. 1, a detachable mask, which includes high-efficiency melt-blown
实用新型的使用方法及原理:针织棉4一侧贴面部配戴;高效熔喷布1、活性炭布2、涤纶长纤滤布3能有效的阻隔病菌、灰尘、异物等进入呼吸道,针织棉4可减少对皮肤的刺激;由于所述高效熔喷布1、活性炭布2、涤纶长纤滤布3和针织棉4通过两侧设置的魔术贴7连接,所以方便拆换活性炭布2和涤纶长纤滤布3;由于两根耳挂6的上端分别连接在鼻梁筋5的中点两侧10mm至15mm处,所以耳挂6的拉力作用在鼻窝处,可使鼻子两侧封闭严密。The use method and principle of the utility model: knitted cotton 4 is worn on the face on one side; high-efficiency melt-blown
Claims (1)
Priority Applications (1)
| Application Number | Priority Date | Filing Date | Title |
|---|---|---|---|
| CN201320735660.5U CN203538427U (en) | 2013-11-20 | 2013-11-20 | Detachable mask |
Applications Claiming Priority (1)
| Application Number | Priority Date | Filing Date | Title |
|---|---|---|---|
| CN201320735660.5U CN203538427U (en) | 2013-11-20 | 2013-11-20 | Detachable mask |
Publications (1)
| Publication Number | Publication Date |
|---|---|
| CN203538427U true CN203538427U (en) | 2014-04-16 |
Family
ID=50456617
Family Applications (1)
| Application Number | Title | Priority Date | Filing Date |
|---|---|---|---|
| CN201320735660.5U Expired - Fee Related CN203538427U (en) | 2013-11-20 | 2013-11-20 | Detachable mask |
Country Status (1)
| Country | Link |
|---|---|
| CN (1) | CN203538427U (en) |
Cited By (4)
| Publication number | Priority date | Publication date | Assignee | Title |
|---|---|---|---|---|
| CN106108177A (en) * | 2016-07-29 | 2016-11-16 | 江苏翊博雷明医疗科技有限公司 | A kind of slim easy spray mask |
| CN106418807A (en) * | 2016-11-09 | 2017-02-22 | 湖州优创科技有限公司 | Mouth-exposable mask with nose wing thimble |
| CN111743241A (en) * | 2020-07-08 | 2020-10-09 | 安徽省桐城市雅格卫生材料有限公司 | Preparation process of high-fitting-degree dustproof mask |
| CN112056652A (en) * | 2020-09-11 | 2020-12-11 | 无锡泰伯服饰有限公司 | A kind of multifunctional protective mask |
-
2013
- 2013-11-20 CN CN201320735660.5U patent/CN203538427U/en not_active Expired - Fee Related
Cited By (5)
| Publication number | Priority date | Publication date | Assignee | Title |
|---|---|---|---|---|
| CN106108177A (en) * | 2016-07-29 | 2016-11-16 | 江苏翊博雷明医疗科技有限公司 | A kind of slim easy spray mask |
| CN106418807A (en) * | 2016-11-09 | 2017-02-22 | 湖州优创科技有限公司 | Mouth-exposable mask with nose wing thimble |
| CN111743241A (en) * | 2020-07-08 | 2020-10-09 | 安徽省桐城市雅格卫生材料有限公司 | Preparation process of high-fitting-degree dustproof mask |
| CN112056652A (en) * | 2020-09-11 | 2020-12-11 | 无锡泰伯服饰有限公司 | A kind of multifunctional protective mask |
| CN112056652B (en) * | 2020-09-11 | 2024-02-02 | 无锡泰伯服饰有限公司 | Multifunctional protective mask |
Similar Documents
| Publication | Publication Date | Title |
|---|---|---|
| CN103393239A (en) | Medical mask | |
| CN204393421U (en) | A kind of Novel medical gauze mask | |
| CN203538427U (en) | Detachable mask | |
| CN203523847U (en) | Cold-proof mask | |
| CN207202132U (en) | A kind of haze-proof mask of replaceable filter core | |
| CN204120287U (en) | A kind of mouth mask | |
| CN204447022U (en) | A kind of can the Simple mask of anti-ultra-fine grain | |
| CN203388306U (en) | A medical mask | |
| CN203934690U (en) | A kind of humidification, ventilative anti-dust respirator | |
| CN201658763U (en) | Filtering-type mask | |
| CN204599394U (en) | Built-in filter face mask | |
| CN204708044U (en) | A kind of single use medical mask | |
| CN206612242U (en) | Mask structure with liner replacement | |
| CN103271464B (en) | Three-dimensional mask | |
| CN203898970U (en) | In-mouth breathing filter | |
| CN204540901U (en) | Real silk antibacterial mask | |
| CN202340876U (en) | Easily-worn disposable mask | |
| CN201905270U (en) | Novel sterilized mask | |
| CN206433827U (en) | A filter replaceable antibacterial mask | |
| CN206482060U (en) | A kind of graphene mouth mask | |
| CN206025293U (en) | Antifog haze gauze mask with practicality is strong | |
| CN203801791U (en) | Sleep mouth mask | |
| CN204670435U (en) | A kind of wear-type mouth mask | |
| CN204579965U (en) | A kind of mouth mask with humidification pad | |
| CN209883132U (en) | Gauze mask |
Legal Events
| Date | Code | Title | Description |
|---|---|---|---|
| C14 | Grant of patent or utility model | ||
| GR01 | Patent grant | ||
| CF01 | Termination of patent right due to non-payment of annual fee |
Granted publication date: 20140416 Termination date: 20141120 |
|
| EXPY | Termination of patent right or utility model |
