CN203434233U - 一种具有低阻抗结构的锂离子电池组 - Google Patents

一种具有低阻抗结构的锂离子电池组 Download PDF

Info

Publication number
CN203434233U
CN203434233U CN201320254566.8U CN201320254566U CN203434233U CN 203434233 U CN203434233 U CN 203434233U CN 201320254566 U CN201320254566 U CN 201320254566U CN 203434233 U CN203434233 U CN 203434233U
Authority
CN
China
Prior art keywords
lithium ion
ion battery
low impedance
battery pack
impedance structure
Prior art date
Legal status (The legal status is an assumption and is not a legal conclusion. Google has not performed a legal analysis and makes no representation as to the accuracy of the status listed.)
Expired - Fee Related
Application number
CN201320254566.8U
Other languages
English (en)
Inventor
梁周广
Current Assignee (The listed assignees may be inaccurate. Google has not performed a legal analysis and makes no representation or warranty as to the accuracy of the list.)
SHENZHEN BILITONG TELECOMMUNICATION TECHNOLOGY Co Ltd
Original Assignee
SHENZHEN BILITONG TELECOMMUNICATION TECHNOLOGY Co Ltd
Priority date (The priority date is an assumption and is not a legal conclusion. Google has not performed a legal analysis and makes no representation as to the accuracy of the date listed.)
Filing date
Publication date
Application filed by SHENZHEN BILITONG TELECOMMUNICATION TECHNOLOGY Co Ltd filed Critical SHENZHEN BILITONG TELECOMMUNICATION TECHNOLOGY Co Ltd
Priority to CN201320254566.8U priority Critical patent/CN203434233U/zh
Application granted granted Critical
Publication of CN203434233U publication Critical patent/CN203434233U/zh
Anticipated expiration legal-status Critical
Expired - Fee Related legal-status Critical Current

Links

Images

Classifications

    • YGENERAL TAGGING OF NEW TECHNOLOGICAL DEVELOPMENTS; GENERAL TAGGING OF CROSS-SECTIONAL TECHNOLOGIES SPANNING OVER SEVERAL SECTIONS OF THE IPC; TECHNICAL SUBJECTS COVERED BY FORMER USPC CROSS-REFERENCE ART COLLECTIONS [XRACs] AND DIGESTS
    • Y02TECHNOLOGIES OR APPLICATIONS FOR MITIGATION OR ADAPTATION AGAINST CLIMATE CHANGE
    • Y02EREDUCTION OF GREENHOUSE GAS [GHG] EMISSIONS, RELATED TO ENERGY GENERATION, TRANSMISSION OR DISTRIBUTION
    • Y02E60/00Enabling technologies; Technologies with a potential or indirect contribution to GHG emissions mitigation
    • Y02E60/10Energy storage using batteries

Landscapes

  • Connection Of Batteries Or Terminals (AREA)

Abstract

本实用新型公开了一种具有低阻抗结构的锂离子电池组,包括外壳和叠置在外壳内的多个电池单体;每一个电池单体具有2个电极端子,所有的电极端子均从外壳的前面板上的圆孔伸出形成外露的接线排;所述的具有低阻抗结构的锂离子电池组还包括用于套装在多个电极端子上的连接片,所述的连接片包括2孔连接片、3孔连接片和4孔连接片;所述的电池单体为4个、6个或8个。具有低阻抗结构的锂离子电池组采用一体式结构,通过连接片实现串并连接,灵活性好,结构紧凑。

Description

一种具有低阻抗结构的锂离子电池组
技术领域
本实用新型涉及一种具有低阻抗结构的锂离子电池组。 
背景技术
现有的锂离子电池组由于结构松散,连线复杂,而且连线杂乱容易造成电池短路,而且改变电池的串并拓扑结构较为复杂,因而也无法调整电池的阻抗,因此有必要设计一种新型的具有低阻抗结构的锂离子电池组。 
实用新型内容
本实用新型所要解决的技术问题是提供一种具有低阻抗结构的锂离子电池组,该具有低阻抗结构的锂离子电池组采用一体式结构,通过连接片实现串并连接,灵活性好,结构紧凑。 
实用新型的技术解决方案如下: 
一种具有低阻抗结构的锂离子电池组,包括外壳和叠置在外壳内的多个电池单体;每一个电池单体具有2个电极端子,所有的电极端子均从外壳的前面板上的圆孔伸出形成外露的接线排;所述的具有低阻抗结构的锂离子电池组还包括用于套装在多个电极端子上的连接片,所述的连接片包括2孔连接片、3孔连接片和4孔连接片; 
所述的电池单体为4个、6个或8个。 
有益效果: 
本实用新型的具有低阻抗结构的锂离子电池组采用一体式结构,通过连接片实现灵活的串并连接(连接后再在电极端子上拧一个螺母,即完成稳定的电连接),灵活性好,结构紧凑,可以灵活设置得到低阻抗的满足电压要求的供电方案,如多个电池单体并联比一个电池单体具有更换的阻抗特性。 
另外,其中若有某一块电池单体出现故障,更换也方便。 
附图说明
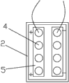
图1是本实用新型的具有低阻抗结构的锂离子电池组的总体结构示意图。 
图2为通过连接片连接接线排的示意图(4个电池单体并联的示意图)。 
图3为通过连接片连接接线排的示意图(4个电池单体串联的示意图)。 
标号说明:1-电池单体,2-外壳,3-前面板,4-电极端子,5-连接片。 
具体实施方式
以下将结合附图和具体实施例对本实用新型做进一步详细说明: 
实施例1: 
如图1-3所示,一种具有低阻抗结构的锂离子电池组,包括外壳和叠置在外壳内的多个电池单体;每一个电池单体具有2个电极端子,所有的电极端子均从外壳的前面板上的圆孔伸出形成外露的接线排;所述的具有低阻抗结构的锂离子电池组还包括用于套装在多个电极端子上的连接片,所述的连接片包括2孔连接片、3孔连接片和4孔连接片; 
所述的电池单体为4个、6个或8个。也可以是3个、5个、7个或12个电池单体。 
除了图2-3中的连接片,还可以采用3孔的连接片进行连接。也可以实现上面或下面3个电池单体的并联或串联,使用方式极为灵活。 

Claims (1)

1.一种具有低阻抗结构的锂离子电池组,其特征在于,包括外壳和叠置在外壳内的多个电池单体;每一个电池单体具有2个电极端子,所有的电极端子均从外壳的前面板上的圆孔伸出形成外露的接线排;所述的具有低阻抗结构的锂离子电池组还包括用于套装在多个电极端子上的连接片,所述的连接片包括2孔连接片、3孔连接片和4孔连接片;
所述的电池单体为4个、6个或8个。
CN201320254566.8U 2013-05-13 2013-05-13 一种具有低阻抗结构的锂离子电池组 Expired - Fee Related CN203434233U (zh)

Priority Applications (1)

Application Number Priority Date Filing Date Title
CN201320254566.8U CN203434233U (zh) 2013-05-13 2013-05-13 一种具有低阻抗结构的锂离子电池组

Applications Claiming Priority (1)

Application Number Priority Date Filing Date Title
CN201320254566.8U CN203434233U (zh) 2013-05-13 2013-05-13 一种具有低阻抗结构的锂离子电池组

Publications (1)

Publication Number Publication Date
CN203434233U true CN203434233U (zh) 2014-02-12

Family

ID=50063254

Family Applications (1)

Application Number Title Priority Date Filing Date
CN201320254566.8U Expired - Fee Related CN203434233U (zh) 2013-05-13 2013-05-13 一种具有低阻抗结构的锂离子电池组

Country Status (1)

Country Link
CN (1) CN203434233U (zh)

Cited By (2)

* Cited by examiner, † Cited by third party
Publication number Priority date Publication date Assignee Title
TWI828607B (zh) * 2023-10-11 2024-01-01 天揚精密科技股份有限公司 低阻抗電瓶
WO2025077678A1 (zh) * 2023-10-11 2025-04-17 天扬精密科技股份有限公司 低阻抗电瓶

Cited By (2)

* Cited by examiner, † Cited by third party
Publication number Priority date Publication date Assignee Title
TWI828607B (zh) * 2023-10-11 2024-01-01 天揚精密科技股份有限公司 低阻抗電瓶
WO2025077678A1 (zh) * 2023-10-11 2025-04-17 天扬精密科技股份有限公司 低阻抗电瓶

Similar Documents

Publication Publication Date Title
EP2317587A3 (en) Rechargeable battery
CN104753093B (zh) 充电器和充电控制方法
CN104734259A (zh) 一种钠硫电池运营管理系统
CN203434233U (zh) 一种具有低阻抗结构的锂离子电池组
CN201663216U (zh) 一种具有自检功能的电池
CN205017056U (zh) 一种新型多输出锂电池电源装置
CN203134905U (zh) 一种便携式特种锂电池结构
CN201838671U (zh) 一种内设金属导管的锂电池
CN201191624Y (zh) 一种可充电电池
CN205982573U (zh) 一种新型锂电池化成用探针床
CN205039556U (zh) 锂离子电池储能电站
CN203521536U (zh) 一种新型软包装锂离子动力电池
CN202167571U (zh) 一种叠层电池
CN202503064U (zh) 高功率锂离子电池装置
CN203632298U (zh) 一次性锂电池组
CN208093663U (zh) 一种蓄电池及其蓄电池极板板栅
CN203826462U (zh) 圆柱锂电池结构
CN206250262U (zh) 软包锂电池极耳结构
CN201854067U (zh) 蓄电池在线充放电装置
CN201946706U (zh) 锂离子动力电池
CN201466154U (zh) 多串聚合物锂离子电池包结构
CN203707854U (zh) 一种风光互补智能充放电控制器
CN105244940B (zh) 一种表带单元和包括多个表带单元的表带及具有表带的电子设备
CN204407420U (zh) 一种锂电池组
CN202487716U (zh) 双极性铅蓄电池

Legal Events

Date Code Title Description
C14 Grant of patent or utility model
GR01 Patent grant
CF01 Termination of patent right due to non-payment of annual fee

Granted publication date: 20140212

Termination date: 20170513

CF01 Termination of patent right due to non-payment of annual fee