CN203425987U - 具有上砂装置的防水涂料合成机 - Google Patents
具有上砂装置的防水涂料合成机 Download PDFInfo
- Publication number
- CN203425987U CN203425987U CN201320409277.0U CN201320409277U CN203425987U CN 203425987 U CN203425987 U CN 203425987U CN 201320409277 U CN201320409277 U CN 201320409277U CN 203425987 U CN203425987 U CN 203425987U
- Authority
- CN
- China
- Prior art keywords
- roller
- synthesizer
- sand
- frame
- rack
- Prior art date
- Legal status (The legal status is an assumption and is not a legal conclusion. Google has not performed a legal analysis and makes no representation as to the accuracy of the status listed.)
- Expired - Fee Related
Links
- 239000004576 sand Substances 0.000 title claims abstract description 22
- 239000011248 coating agent Substances 0.000 title abstract 3
- 238000000576 coating method Methods 0.000 title abstract 3
- 238000005488 sandblasting Methods 0.000 claims abstract description 10
- 239000003973 paint Substances 0.000 claims description 13
- 239000005871 repellent Substances 0.000 claims description 13
- 238000004519 manufacturing process Methods 0.000 abstract description 3
- 239000000463 material Substances 0.000 abstract description 3
- 230000015572 biosynthetic process Effects 0.000 abstract 3
- 238000003786 synthesis reaction Methods 0.000 abstract 3
- 238000000034 method Methods 0.000 abstract 1
- 230000009286 beneficial effect Effects 0.000 description 1
Images
Landscapes
- Coating Apparatus (AREA)
Abstract
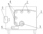
本实用新型涉及防水材料生产技术领域,名称是具有上砂装置的防水涂料合成机,包括机架,机架上设置有合成辊和盘辊,其特征是:所述的合成辊安装在机架的上面,盘辊安装在机架的下面,在合成辊和盘辊一侧的机架上有多个支承辊,对着支承辊侧面有喷砂装置,所述的多个支承辊竖直排列设置,在所述的支撑辊的下面有集砂槽,集砂槽用管道和传送装置连接喷砂装置,这样的具有上砂装置的防水涂料合成机具有结构简单、可以一次完成产品喷砂、节省能源和工序的优点。
Description
技术领域
本实用新型涉及防水材料生产技术领域,涉及防水涂料合成机。
背景技术
防水涂料合成机具有机架,机架的前面设置有合成辊,机架的后面有盘辊。现有技术中,防水涂料合成机没有上砂装置,要想在防水涂料上上砂,需在另外的机器上进行,具有工序麻烦的缺点,影响生产效率,另外,在另一台机器上进行,还具有浪费能源的缺点。
发明内容
本实用新型的目的就是针对上述的缺点,提供一种结构简单、可以一次完成防水材料喷砂、节省能源和工序的防水涂料合成机——具有上砂装置的防水涂料合成机。
本实用新型的技术方案是这样实现的:具有上砂装置的防水涂料合成机,包括机架,机架上设置有合成辊和盘辊,其特征是:所述的合成辊安装在机架的上面,盘辊安装在机架的下面,在合成辊和盘辊一侧的机架上有多个支承辊,对着支承辊侧面有喷砂装置。
进一步的讲,所述的多个支承辊竖直排列设置。
进一步的讲,在所述的支撑辊的下面有集砂槽,集砂槽用管道和传送装置连接喷砂装置。
本实用新型的有益效果是:这样的具有上砂装置的防水涂料合成机具有结构简单、可以一次完成产品喷砂、节省能源和工序的优点。
附图说明
图1是本实用新型的结构示意图。
其中:1、机架 2、合成辊 3、盘辊 4、支承辊 5、喷砂装置 6、集砂槽 。
具体实施方式
下面结合附图对本实用新型作进一步的描述。
如图1所示,具有上砂装置的防水涂料合成机,包括机架1,机架上设置有合成辊2和盘辊3,其特征是:所述的合成辊安装在机架的上面,盘辊安装在机架的下面,在合成辊和盘辊一侧的机架上有多个支承辊4,对着支承辊侧面有喷砂装置5。
进一步的讲,所述的多个支承辊竖直排列设置。这样可以便于多余的砂粒除去,砂层均匀。
进一步的讲,在所述的支撑辊的下面有集砂槽6,集砂槽用管道和传送装置连接喷砂装置。
Claims (3)
1.具有上砂装置的防水涂料合成机,包括机架,机架上设置有合成辊和盘辊,其特征是:所述的合成辊安装在机架的上面,盘辊安装在机架的下面,在合成辊和盘辊一侧的机架上有多个支承辊,对着支承辊侧面有喷砂装置。
2.根据权利要求1所述的防水涂料合成机,其特征是所述的多个支承辊竖直排列设置。
3.根据权利要求1或2所述的防水涂料合成机,其特征是在所述的支撑辊的下面有集砂槽,集砂槽用管道和传送装置连接喷砂装置。
Priority Applications (1)
| Application Number | Priority Date | Filing Date | Title |
|---|---|---|---|
| CN201320409277.0U CN203425987U (zh) | 2013-07-11 | 2013-07-11 | 具有上砂装置的防水涂料合成机 |
Applications Claiming Priority (1)
| Application Number | Priority Date | Filing Date | Title |
|---|---|---|---|
| CN201320409277.0U CN203425987U (zh) | 2013-07-11 | 2013-07-11 | 具有上砂装置的防水涂料合成机 |
Publications (1)
| Publication Number | Publication Date |
|---|---|
| CN203425987U true CN203425987U (zh) | 2014-02-12 |
Family
ID=50055050
Family Applications (1)
| Application Number | Title | Priority Date | Filing Date |
|---|---|---|---|
| CN201320409277.0U Expired - Fee Related CN203425987U (zh) | 2013-07-11 | 2013-07-11 | 具有上砂装置的防水涂料合成机 |
Country Status (1)
| Country | Link |
|---|---|
| CN (1) | CN203425987U (zh) |
Cited By (1)
| Publication number | Priority date | Publication date | Assignee | Title |
|---|---|---|---|---|
| CN103894317A (zh) * | 2014-03-28 | 2014-07-02 | 苏州市建诚装饰材料有限公司 | 一种喷涂装置 |
-
2013
- 2013-07-11 CN CN201320409277.0U patent/CN203425987U/zh not_active Expired - Fee Related
Cited By (1)
| Publication number | Priority date | Publication date | Assignee | Title |
|---|---|---|---|---|
| CN103894317A (zh) * | 2014-03-28 | 2014-07-02 | 苏州市建诚装饰材料有限公司 | 一种喷涂装置 |
Similar Documents
| Publication | Publication Date | Title |
|---|---|---|
| CN203959144U (zh) | 一种可升降的皮带机 | |
| CN203425987U (zh) | 具有上砂装置的防水涂料合成机 | |
| CN203411051U (zh) | 一种单侧犁式卸料器 | |
| CN202742441U (zh) | 一种冷冲压装置 | |
| CN201756193U (zh) | 一种化肥装袋、封袋装置 | |
| CN203831214U (zh) | 一种塑料膜砂光装置 | |
| CN203612674U (zh) | 一种改性沥青防水卷材自动回砂系统 | |
| CN202174574U (zh) | 模具置放架 | |
| CN202572377U (zh) | 一种冷轧带钢放料架 | |
| CN203568408U (zh) | 一种传送带固定底座 | |
| CN203513971U (zh) | 一种新型的胶水添加装置 | |
| CN202213936U (zh) | 一种循环输送装置 | |
| CN203901891U (zh) | 一种陶瓷贴膜机的刹车装置 | |
| CN203545037U (zh) | 皮带机清扫装置 | |
| CN204658062U (zh) | 一种上料装置 | |
| CN203767519U (zh) | 带式输送机的防跑偏托辊机构 | |
| CN203634507U (zh) | 鸡眼膏联合包装机 | |
| CN203226244U (zh) | 一种新型冷却装置 | |
| CN204369008U (zh) | 一种粉料输送装置 | |
| CN203600220U (zh) | 板材切割整理托架 | |
| CN202263567U (zh) | 干法制粒机方形纹压轮组 | |
| CN203448513U (zh) | 一种解决卷带状金属原材喷砂纹理及喷砂变形度装置 | |
| CN202803507U (zh) | 一种竹板表面上漆装置 | |
| CN202765724U (zh) | 一种物料平输送装置 | |
| CN204367134U (zh) | 一种立体陶瓷砖的压制装置 |
Legal Events
| Date | Code | Title | Description |
|---|---|---|---|
| C14 | Grant of patent or utility model | ||
| GR01 | Patent grant | ||
| CF01 | Termination of patent right due to non-payment of annual fee |
Granted publication date: 20140212 Termination date: 20140711 |
|
| EXPY | Termination of patent right or utility model |