CN203377560U - A cable branch box support - Google Patents

A cable branch box support Download PDF

Info

Publication number
CN203377560U
CN203377560U CN201320428140.XU CN201320428140U CN203377560U CN 203377560 U CN203377560 U CN 203377560U CN 201320428140 U CN201320428140 U CN 201320428140U CN 203377560 U CN203377560 U CN 203377560U
Authority
CN
China
Prior art keywords
shaped ring
branch box
cable branch
pair
plate
Prior art date
Legal status (The legal status is an assumption and is not a legal conclusion. Google has not performed a legal analysis and makes no representation as to the accuracy of the status listed.)
Expired - Lifetime
Application number
CN201320428140.XU
Other languages
Chinese (zh)
Inventor
韩忠育
陈鹏
张立博
李敏
董沁芳
李丹
Current Assignee (The listed assignees may be inaccurate. Google has not performed a legal analysis and makes no representation or warranty as to the accuracy of the list.)
SHANXI JINCHENG ELECTRIC POWER SUPPLY Co
State Grid Corp of China SGCC
Original Assignee
SHANXI JINCHENG ELECTRIC POWER SUPPLY Co
State Grid Corp of China SGCC
Priority date (The priority date is an assumption and is not a legal conclusion. Google has not performed a legal analysis and makes no representation as to the accuracy of the date listed.)
Filing date
Publication date
Application filed by SHANXI JINCHENG ELECTRIC POWER SUPPLY Co, State Grid Corp of China SGCC filed Critical SHANXI JINCHENG ELECTRIC POWER SUPPLY Co
Priority to CN201320428140.XU priority Critical patent/CN203377560U/en
Application granted granted Critical
Publication of CN203377560U publication Critical patent/CN203377560U/en
Anticipated expiration legal-status Critical
Expired - Lifetime legal-status Critical Current

Links

Images

Landscapes

  • Suspension Of Electric Lines Or Cables (AREA)

Abstract

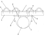
The utility model discloses a cable branch box support and resolves problems of inconvenient field installation and poor firmness of a conventional cable branch box support. The cable branch box support comprises angle iron, a base plate (5), and a concrete electric pole (10). Small hoops (3) are disposed on the top end plate of the angle iron and are fixedly connected with the top end plate (1) of the angle iron through small hoop bolts (4). The base plate is welded on the bottom end face of a vertical plate (2) of the angle iron. A pair of U-shaped ring connecting holes (7) are disposed on the base plate. The two ends of a U-shaped ring (11) are respectively connected with a corresponding U-shaped ring connecting hole (7) disposed on the base plate through a U-shaped ring fixing bolt. A pair of triangular chucking protrusions (9) are symmetrically disposed on the bottom surface of the base plate. The concrete electric pole is clamped between the pair of triangular chucking protrusions and the inner side surface of the U-shaped ring. The cable branch box support with simple structure is easy to produce and has strong applicability.

Description

电缆分支箱支架Cable branch box bracket

技术领域 technical field

 本实用新型涉及一种输电线路上的电缆分支箱支架,特别涉及一种电缆分支箱在砼电杆上的安装支架。 The utility model relates to a support for a cable branch box on a power transmission line, in particular to a mounting bracket for a cable branch box on a concrete pole.

背景技术 Background technique

在输电线路的砼电杆上,经常要安装电缆分支箱,由于砼电杆的粗细不同,以及电缆分支箱的电缆根数不同,使现场安装电缆分支箱遇到困难,现有的电缆分支箱支架形式多样,不方便现场的安装,同时支架的牢固性也存在缺陷,影响到了输电线路的正常运行。 On the concrete pole of the transmission line, the cable branch box is often installed. Due to the different thickness of the concrete pole and the different number of cables in the cable branch box, it is difficult to install the cable branch box on site. The existing cable branch box There are various forms of brackets, which are inconvenient for on-site installation. At the same time, there are defects in the firmness of the brackets, which affect the normal operation of the transmission line.

发明内容 Contents of the invention

本实用新型提供了一种电缆分支箱支架,解决了现有的电缆分支箱支架存在的不方便现场安装和牢固性差的问题。 The utility model provides a cable branch box bracket, which solves the problems of inconvenient on-site installation and poor firmness existing in the existing cable branch box bracket.

本实用新型是通过以下技术方案解决以上技术问题的: The utility model solves the above technical problems through the following technical solutions:

一种电缆分支箱支架,包括角钢、垫板和砼电杆,在角钢的上端板上设置有小抱箍,小抱箍通过小抱箍螺栓与角钢的上端板固定连接在一起,垫板固定焊接在角钢的立板的底端面上,在垫板上设置有一对U形环连接孔,U形环的两端分别通过一个U形环固定螺栓与垫板上设置的对应的U形环连接孔连接在一起,在垫板的下底面上对称地设置有一对三角形的卡紧凸起,在一对三角形的卡紧凸起与U形环的内侧面之间卡接有砼电杆。 A cable branch box support, including angle steel, backing plate and concrete pole, a small hoop is arranged on the upper end plate of the angle steel, the small hoop is fixedly connected with the upper end plate of the angle steel through small hoop bolts, and the backing plate is fixed Welded on the bottom surface of the vertical plate of the angle steel, a pair of U-shaped ring connection holes are set on the backing plate, and the two ends of the U-shaped ring are respectively connected to the corresponding U-shaped rings set on the backing plate through a U-shaped ring fixing bolt The holes are connected together, a pair of triangular clamping protrusions are symmetrically arranged on the lower bottom surface of the backing plate, and a concrete pole is clamped between the pair of triangular clamping protrusions and the inner surface of the U-shaped ring.

在上端板与垫板之间焊接有加强筋,在角钢的上端板上设置的小抱箍有4个。 A reinforcing rib is welded between the upper end plate and the backing plate, and there are four small hoops arranged on the upper end plate of the angle steel.

本实用新型结构简单,易于安装,适用性较强,可对任何杆上用的电力分支箱都可以进行安装,提高了工作效率,减轻了工作人员的劳动强度。 The utility model has the advantages of simple structure, easy installation and strong applicability, and can be installed on any power branch box used on the pole, which improves the work efficiency and reduces the labor intensity of the staff.

附图说明 Description of drawings

图1是本实用新型的结构示意图。 Fig. 1 is the structural representation of the utility model.

具体实施方式 Detailed ways

一种电缆分支箱支架,包括角钢、垫板5和砼电杆10,在角钢的上端板1上设置有小抱箍3,小抱箍3通过小抱箍螺栓4与角钢的上端板1固定连接在一起,垫板5固定焊接在角钢的立板2的底端面上,在垫板5上设置有一对U形环连接孔7,U形环11的两端分别通过一个U形环固定螺栓8与垫板5上设置的对应的U形环连接孔7连接在一起,在垫板5的下底面上对称地设置有一对三角形的卡紧凸起9,在一对三角形的卡紧凸起9与U形环11的内侧面之间卡接有砼电杆10。 A cable branch box bracket, including angle steel, backing plate 5 and concrete pole 10, a small hoop 3 is arranged on the upper end plate 1 of the angle steel, and the small hoop 3 is fixed to the upper end plate 1 of the angle steel by a small hoop bolt 4 Connected together, the backing plate 5 is fixedly welded on the bottom end surface of the vertical plate 2 of the angle steel, a pair of U-shaped ring connection holes 7 are arranged on the backing plate 5, and the two ends of the U-shaped ring 11 are respectively fixed by a U-shaped ring bolt 8 is connected with the corresponding U-shaped ring connection hole 7 provided on the backing plate 5, and a pair of triangular locking protrusions 9 are symmetrically arranged on the lower bottom surface of the backing plate 5. A concrete pole 10 is clipped between 9 and the inner surface of the U-shaped ring 11 .

在上端板1与垫板5之间焊接有加强筋6,在角钢的上端板1上设置的小抱箍3有4个。 A reinforcing rib 6 is welded between the upper end plate 1 and the backing plate 5, and there are four small hoops 3 arranged on the upper end plate 1 of the angle steel.

Claims (2)

1.一种电缆分支箱支架,包括角钢、垫板(5)和砼电杆(10),在角钢的上端板(1)上设置有小抱箍(3),小抱箍(3)通过小抱箍螺栓(4)与角钢的上端板(1)固定连接在一起,垫板(5)固定焊接在角钢的立板(2)的底端面上,其特征在于,在垫板(5)上设置有一对U形环连接孔(7),U形环(11)的两端分别通过一个U形环固定螺栓(8)与垫板(5)上设置的对应的U形环连接孔(7)连接在一起,在垫板(5)的下底面上对称地设置有一对三角形的卡紧凸起(9),在一对三角形的卡紧凸起(9)与U形环(11)的内侧面之间卡接有砼电杆(10)。 1. A cable branch box bracket, including angle steel, backing plate (5) and concrete pole (10), a small hoop (3) is arranged on the upper end plate (1) of the angle steel, and the small hoop (3) passes through The small hoop bolt (4) is fixedly connected with the upper end plate (1) of the angle steel, and the backing plate (5) is fixedly welded on the bottom end surface of the vertical plate (2) of the angle steel, and it is characterized in that the backing plate (5) A pair of U-shaped ring connecting holes (7) are arranged on the top, and the two ends of the U-shaped ring (11) are connected to the corresponding U-shaped ring connecting holes ( 7) Connected together, a pair of triangular clamping protrusions (9) are symmetrically arranged on the lower surface of the backing plate (5), and a pair of triangular clamping protrusions (9) and the U-shaped ring (11) Concrete poles (10) are clamped between the inner surfaces of the two. 2.根据权利要求1所述的一种电缆分支箱支架,其特征在于,在上端板(1)与垫板(5)之间焊接有加强筋(6),在角钢的上端板(1)上设置的小抱箍(3)有4个。 2. A cable branch box bracket according to claim 1, characterized in that a reinforcing rib (6) is welded between the upper end plate (1) and the backing plate (5), and the upper end plate (1) of the angle steel There are 4 small hoops (3) provided on the top.
CN201320428140.XU 2013-07-18 2013-07-18 A cable branch box support Expired - Lifetime CN203377560U (en)

Priority Applications (1)

Application Number Priority Date Filing Date Title
CN201320428140.XU CN203377560U (en) 2013-07-18 2013-07-18 A cable branch box support

Applications Claiming Priority (1)

Application Number Priority Date Filing Date Title
CN201320428140.XU CN203377560U (en) 2013-07-18 2013-07-18 A cable branch box support

Publications (1)

Publication Number Publication Date
CN203377560U true CN203377560U (en) 2014-01-01

Family

ID=49840065

Family Applications (1)

Application Number Title Priority Date Filing Date
CN201320428140.XU Expired - Lifetime CN203377560U (en) 2013-07-18 2013-07-18 A cable branch box support

Country Status (1)

Country Link
CN (1) CN203377560U (en)

Cited By (2)

* Cited by examiner, † Cited by third party
Publication number Priority date Publication date Assignee Title
CN108321746A (en) * 2018-02-02 2018-07-24 国网湖北省电力有限公司随州供电公司 A kind of pole grasp type distribution box fixing bracket and the distribution box mating with it
CN110376410A (en) * 2019-07-31 2019-10-25 威胜电气有限公司 A kind of anchor ear and ammeter box

Cited By (2)

* Cited by examiner, † Cited by third party
Publication number Priority date Publication date Assignee Title
CN108321746A (en) * 2018-02-02 2018-07-24 国网湖北省电力有限公司随州供电公司 A kind of pole grasp type distribution box fixing bracket and the distribution box mating with it
CN110376410A (en) * 2019-07-31 2019-10-25 威胜电气有限公司 A kind of anchor ear and ammeter box

Similar Documents

Publication Publication Date Title
CN103291699A (en) An adjustable electric pole hoop
CN102231492A (en) Multifunctional suspension insulator string cross arm side hardware fitting replacement fixture
CN203531401U (en) Inclined supporting and fixing device between wall template and ground
CN105606858A (en) A polycarbonate electric meter box fixing frame
CN203377560U (en) A cable branch box support
CN102661057B (en) Power angle tower pull leg main material changing method and special main material clamp
CN103579961A (en) Adjustable lifting type fixing device applied to cable connector manufacturing and achieving method thereof
CN204855599U (en) Electric energy meter installing support
CN204277336U (en) The vertical bracing frame of herringbone bar group
CN102619377B (en) Improved auxiliary holding pole fixing base
CN203161459U (en) Fixing device used for fixing wind power generator tower barrel with platform
CN202165696U (en) Cable bridge fixing support clamping device of joist steel
CN201931229U (en) Narrow gap welding and fixing support for construction steel bar
CN205137006U (en) Portable hank mill is with installation stores pylon
CN206180529U (en) Convenient safe firm construction cable fastening clip
CN104900147A (en) Hardware fitting special for rod number marking
CN203942212U (en) wire stretcher special safety clip
CN204940865U (en) A kind of fittable slackening device of creeping formwork seat in the plane
CN202181614U (en) Steel pipe fixing device for joist steel
CN203782991U (en) Fixing point of inhaul cable on steel-structured roof
CN206657040U (en) A kind of ammeter box fixed mount
CN201645097U (en) A Special Fixture Applied to H-beam Assembly and Welding
CN102328737A (en) Sectional scaffold apparatus for hull
CN207465507U (en) A kind of window side embedded parts positioning device
CN206722334U (en) China Democratic National Construction Association's power electronic box pre-buried structure

Legal Events

Date Code Title Description
C14 Grant of patent or utility model
GR01 Patent grant
CX01 Expiry of patent term

Granted publication date: 20140101

CX01 Expiry of patent term