CN203351671U - 一种移动电源 - Google Patents
一种移动电源 Download PDFInfo
- Publication number
- CN203351671U CN203351671U CN2013204258850U CN201320425885U CN203351671U CN 203351671 U CN203351671 U CN 203351671U CN 2013204258850 U CN2013204258850 U CN 2013204258850U CN 201320425885 U CN201320425885 U CN 201320425885U CN 203351671 U CN203351671 U CN 203351671U
- Authority
- CN
- China
- Prior art keywords
- power source
- portable power
- cover plate
- metal case
- groove shape
- Prior art date
- Legal status (The legal status is an assumption and is not a legal conclusion. Google has not performed a legal analysis and makes no representation as to the accuracy of the status listed.)
- Expired - Fee Related
Links
- 229910052751 metal Inorganic materials 0.000 claims abstract description 33
- 239000002184 metal Substances 0.000 claims abstract description 33
- 239000011888 foil Substances 0.000 claims description 3
- 238000002347 injection Methods 0.000 claims description 2
- 239000007924 injection Substances 0.000 claims description 2
- 239000002991 molded plastic Substances 0.000 claims description 2
- 238000000034 method Methods 0.000 abstract description 4
- 238000012856 packing Methods 0.000 abstract description 4
- RVCKCEDKBVEEHL-UHFFFAOYSA-N 2,3,4,5,6-pentachlorobenzyl alcohol Chemical compound OCC1=C(Cl)C(Cl)=C(Cl)C(Cl)=C1Cl RVCKCEDKBVEEHL-UHFFFAOYSA-N 0.000 description 5
- 238000005538 encapsulation Methods 0.000 description 5
- 238000005516 engineering process Methods 0.000 description 5
- 238000001746 injection moulding Methods 0.000 description 3
- 239000004033 plastic Substances 0.000 description 3
- 239000004568 cement Substances 0.000 description 2
- 238000004519 manufacturing process Methods 0.000 description 2
- 239000000463 material Substances 0.000 description 2
- 229910052782 aluminium Inorganic materials 0.000 description 1
- XAGFODPZIPBFFR-UHFFFAOYSA-N aluminium Chemical compound [Al] XAGFODPZIPBFFR-UHFFFAOYSA-N 0.000 description 1
- 238000004458 analytical method Methods 0.000 description 1
- 230000002146 bilateral effect Effects 0.000 description 1
- 150000001875 compounds Chemical class 0.000 description 1
- 239000003292 glue Substances 0.000 description 1
- 238000002372 labelling Methods 0.000 description 1
- 238000010309 melting process Methods 0.000 description 1
- 230000003647 oxidation Effects 0.000 description 1
- 238000007254 oxidation reaction Methods 0.000 description 1
- 239000007787 solid Substances 0.000 description 1
Images
Classifications
-
- Y—GENERAL TAGGING OF NEW TECHNOLOGICAL DEVELOPMENTS; GENERAL TAGGING OF CROSS-SECTIONAL TECHNOLOGIES SPANNING OVER SEVERAL SECTIONS OF THE IPC; TECHNICAL SUBJECTS COVERED BY FORMER USPC CROSS-REFERENCE ART COLLECTIONS [XRACs] AND DIGESTS
- Y02—TECHNOLOGIES OR APPLICATIONS FOR MITIGATION OR ADAPTATION AGAINST CLIMATE CHANGE
- Y02E—REDUCTION OF GREENHOUSE GAS [GHG] EMISSIONS, RELATED TO ENERGY GENERATION, TRANSMISSION OR DISTRIBUTION
- Y02E60/00—Enabling technologies; Technologies with a potential or indirect contribution to GHG emissions mitigation
- Y02E60/10—Energy storage using batteries
Landscapes
- Battery Mounting, Suspending (AREA)
Abstract
本实用新型涉及一种移动电源,包括壳体、位于壳体内的带极耳的软包电芯和与所述软包电芯的极耳连接的电源管理模块,壳体包括槽状盖板和与槽状盖板以抽屉式连接方式连接的金属盒体。由于壳体是由槽状盖板和与所述槽状盖板以抽屉式连接方式连接的金属盒体,使得金属盒体的体积完全可以根据软包电芯的体积大小来做,不需要预留空间,而且,因电芯和壳体之间不需要粘接,金属盒体的壁可以制做得很薄,装配时也只需象抽屉那样推入,简化了装配工艺。
Description
技术领域
本实用新型涉及一种移动电源。
背景技术
移动电源(mobile power system)其结构是把充电电池(即二次电池)与电源管理模块(PCBA)组装在有一定强度的壳体内,其生产过程是:首先是生产电芯(CELL),再将电芯与电源管理模块组装为成品移动电源(mobile power system)。电芯有硬壳和软包之分,软包电芯(也叫软包电芯)是一种用复合铝箔包装的电芯,与硬壳电芯相比,软包电芯怕挤压、易变形、易刺破,因此,必须将软包电芯及保护板装配在有一定机械强度的壳体内,才能获得安全使用。
目前使用软包电芯组装的便携式移动电源,普遍采用的是上盖、下盖组合式的封装结构。这种结构的上盖、下盖(或者其中之一)结构一般是槽状腔体,封装时将软包电芯粘贴在腔体内,电源管理模块(PCBA)同时固定在下盖内,再将上盖、下盖紧密扣合在一起,上盖与下盖的结合采用超声波焊接或者胶水粘接;上盖、下盖材质可以是全塑胶的,也可以是塑胶与金属薄片的结合体,但这种槽状上盖、下盖都需要经过注塑形成一定厚度的槽状边框。
这种上盖、下盖组合方式形成的封装结构,浪费空间大,装配工艺复杂,对于便携式移动电源(mobile power system)缩小体积、减小厚度,从而更便于携带带来大的影响。软包电芯采用这种上盖、下盖结构封装成移动电源(mobile power system)时,槽状下盖或者上盖的边框是注塑形成的,塑胶材料及注塑工艺决定了该边框要有一定的厚度,一般在0.8~3毫米,才能保证足够的强度,而边框都是双边的、有的甚至是四边都有边框,那么仅边框就需占据不少空间;因此该结构使软包电芯做成的移动电源(mobile power system)在边框上都必须增加较多尺寸,在有限体积下,该结构浪费空间,同等容量情况下,移动电源厚度也不能做的很薄,提高单位体积下便携式移动电源容量的希望相违背。
实用新型内容:
本实用新型提供一种移动电源,以解决现有移动电源浪费空间和装配工艺复杂的技术问题。
为了解决以上技术问题,本实用新型采取的技术方案是:
一种移动电源,包括壳体、位于所述壳体内的带极耳的软包电芯和与所述软包电芯的极耳连接的电源管理模块,其特征在于:所述壳体包括槽状盖板和与所述槽状盖板以抽屉式连接方式连接的金属盒体。
所述金属盒体是用薄金属片冲压而成的一个整体零件。
所述槽状盖板为注塑而成的塑胶体。
所述金属盒体上直接设置有便携式移动电源(mobile power system)标记。
所述软包电芯与所述金属盒体过盈配合。
所述金属盒体壁厚为0.2~3毫米。
在采用了上述技术方案后,由于壳体是由槽状盖板和与所述槽状盖板以抽屉式连接方式连接的金属盒体,使得金属盒体的体积完全可以根据软包电芯的体积大小来做,而不需要预留空间,而且,因不需要把电芯与壳体粘接,金属盒体的壁可以制做得很薄,装配时也只需象抽屉那样推,简化了装配工艺,解决了现有便携式移动电源(mobile power system)浪费空间和装配工艺复杂的技术问题。另外,由于将电源管理模块(PCBA)一部分置于在软包电芯的耳舌上,巧妙利用耳舌原有的空间,进一步缩小成品成品便携式移动电源(mobile power system)体积。最后,由于槽状注塑盖板与金属壳体采用热熔工艺粘接,这样便携式移动电源(mobile power system)结构稳定、牢靠,另外金属壳体外表面采用喷砂、氧化处理,外观美观。
附图说明:
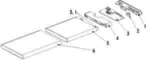
图1 本实用新型的爆炸示意图;
图2 本实用新型的另一方向爆炸示意图;
图3 本实用新型的立体结构示意图。
具体实施方式:
下面通过具体实施例对本实用新型进一步详述:
参见图1~图3,一种软包电芯封装的便携式移动电源结构,包括软包电芯5,软包电芯外的封装壳体6,壳体内还设置有与电芯的极耳连接的电源管理模块3(PCBA),电源管理模块3与槽状盖板1、开关按键2及内支架4用两颗螺钉结合成一个整体;将电芯5的极耳5.1与槽状盖板1、开关按键2、电源管理模块3及内支架4组成的整体进行焊接,然后将以上整体以抽屉式推入金属盒体6,槽状盖板与用金属薄片冲压成型金属盒体6过盈配合且用热熔胶粘结,牢固可靠。金属盒体6为一宽高面开口的长方体,
具体实施时对金属盒体6的外表面进行喷砂、氧化着色处理,外观更精美,将便携式移动电源标记直接丝印在金属盒体6外表面上,还可以节省标签纸、省去贴标签纸工序、减少便携式移动电源(mobile power system)厚度。金属盒体壁厚为0.2~3毫米,本实用新型采用薄壁金属盒体6封装的内置软包电芯的便携式移动电源,比以往的上、下盖结构在边框上节省空间,同时电源管理模块(PCBA)一部分置于在软包电芯的耳舌5.2上充分利用电芯耳舌52原有空间,使得封装体积减小,从而可以提高单位体积下携式移动电源容量,同时厚度减薄,更便于携带。本实用新型所要保护的是软包电芯采用金属 盒体6、抽屉式封装结构的携式移动电源(mobile power system),金属盒体6是冲压而成的,金属盒体6的一个端面完全开口,槽状盖板1过盈配合压入金属外壳开口,从而完成整个封装。
Claims (6)
1.一种移动电源,包括壳体、位于所述壳体内的带极耳的软包电芯和与所述软包电芯的极耳连接的电源管理模块,其特征在于:所述壳体包括槽状盖板和与所述槽状盖板以抽屉式连接方式连接的金属盒体。
2.根据权利要求1所述的移动电源,其特征在于:所述金属盒体是用薄金属片冲压而成的一个整体零件。
3.根据权利要求1所述的移动电源,其特征在于:所述槽状盖板为注塑而成的塑胶体,所述电源管理模块安装在槽状盖板内。
4.根据权利要求1所述移动电源,其特征在于:所述金属盒体上直接设置有移动电源标记。
5.根据权利要求1或2或3或4所述的移动电源,其特征在于:所述软包电芯与所述金属盒体过盈配合。
6.根据权利要求5所述的移动电源,其特征在于:所述金属盒体壁厚为0.2~3毫米。
Priority Applications (1)
| Application Number | Priority Date | Filing Date | Title |
|---|---|---|---|
| CN2013204258850U CN203351671U (zh) | 2013-07-18 | 2013-07-18 | 一种移动电源 |
Applications Claiming Priority (1)
| Application Number | Priority Date | Filing Date | Title |
|---|---|---|---|
| CN2013204258850U CN203351671U (zh) | 2013-07-18 | 2013-07-18 | 一种移动电源 |
Publications (1)
| Publication Number | Publication Date |
|---|---|
| CN203351671U true CN203351671U (zh) | 2013-12-18 |
Family
ID=49751527
Family Applications (1)
| Application Number | Title | Priority Date | Filing Date |
|---|---|---|---|
| CN2013204258850U Expired - Fee Related CN203351671U (zh) | 2013-07-18 | 2013-07-18 | 一种移动电源 |
Country Status (1)
| Country | Link |
|---|---|
| CN (1) | CN203351671U (zh) |
Cited By (1)
| Publication number | Priority date | Publication date | Assignee | Title |
|---|---|---|---|---|
| CN105262152A (zh) * | 2014-06-30 | 2016-01-20 | 比亚迪股份有限公司 | 移动电源 |
-
2013
- 2013-07-18 CN CN2013204258850U patent/CN203351671U/zh not_active Expired - Fee Related
Cited By (1)
| Publication number | Priority date | Publication date | Assignee | Title |
|---|---|---|---|---|
| CN105262152A (zh) * | 2014-06-30 | 2016-01-20 | 比亚迪股份有限公司 | 移动电源 |
Similar Documents
| Publication | Publication Date | Title |
|---|---|---|
| CN201233916Y (zh) | 一种锂电池 | |
| CN201994384U (zh) | 一种锂离子电池 | |
| CN203351671U (zh) | 一种移动电源 | |
| CN204577474U (zh) | 一种改良的锂电池结构 | |
| CN102664241A (zh) | 一种锂离子电池及其制备方法 | |
| CN203691458U (zh) | 一种超薄手机壳 | |
| CN204289626U (zh) | 一种提高聚合物锂电池单位面积容量的模具 | |
| CN203607301U (zh) | 一种遥控器塑胶帽固定结构 | |
| CN212528492U (zh) | 一种蓝牙耳机电池保护层注塑设备 | |
| JP3174759U (ja) | リチウムイオン電池 | |
| CN203660576U (zh) | 一种便携式的移动电源 | |
| CN202839780U (zh) | 结构改进的手机电池支承板 | |
| CN204216096U (zh) | 一种电池一体化壳体结构及移动终端设备 | |
| CN201663200U (zh) | 一种分体结构电池 | |
| CN201827832U (zh) | Led驱动电源盒 | |
| CN201663199U (zh) | 端盖一次注塑成型的整体式锂电池 | |
| CN202455702U (zh) | Lay5-nbe型控制盒 | |
| CN203871384U (zh) | 一种锂离子电池和金属壳体结构 | |
| CN201663198U (zh) | 四面框架电池 | |
| CN205790077U (zh) | 一种电池、带指纹模组的电池结构及移动设备 | |
| CN202111159U (zh) | 低压注塑一体成型电池壳 | |
| CN204615869U (zh) | 一种新型手机对焦马达机壳 | |
| CN202979221U (zh) | 扬声器密封腔体 | |
| CN203134877U (zh) | 一种新型锂离子电池 | |
| CN202917544U (zh) | 聚合物外置电池外壳钢片塑胶结构 |
Legal Events
| Date | Code | Title | Description |
|---|---|---|---|
| C14 | Grant of patent or utility model | ||
| GR01 | Patent grant | ||
| CF01 | Termination of patent right due to non-payment of annual fee |
Granted publication date: 20131218 Termination date: 20160718 |
|
| CF01 | Termination of patent right due to non-payment of annual fee |