CN203154893U - Rapid filter tank - Google Patents

Rapid filter tank Download PDF

Info

Publication number
CN203154893U
CN203154893U CN201320047203.7U CN201320047203U CN203154893U CN 203154893 U CN203154893 U CN 203154893U CN 201320047203 U CN201320047203 U CN 201320047203U CN 203154893 U CN203154893 U CN 203154893U
Authority
CN
China
Prior art keywords
water
layer
branch pipe
flushing
pipe
Prior art date
Legal status (The legal status is an assumption and is not a legal conclusion. Google has not performed a legal analysis and makes no representation as to the accuracy of the status listed.)
Expired - Fee Related
Application number
CN201320047203.7U
Other languages
Chinese (zh)
Inventor
岳桂存
李树琼
Current Assignee (The listed assignees may be inaccurate. Google has not performed a legal analysis and makes no representation or warranty as to the accuracy of the list.)
YUNNAN WRT ENVIRONMENT ENGINEERING Co Ltd
Original Assignee
YUNNAN WRT ENVIRONMENT ENGINEERING Co Ltd
Priority date (The priority date is an assumption and is not a legal conclusion. Google has not performed a legal analysis and makes no representation as to the accuracy of the date listed.)
Filing date
Publication date
Application filed by YUNNAN WRT ENVIRONMENT ENGINEERING Co Ltd filed Critical YUNNAN WRT ENVIRONMENT ENGINEERING Co Ltd
Priority to CN201320047203.7U priority Critical patent/CN203154893U/en
Application granted granted Critical
Publication of CN203154893U publication Critical patent/CN203154893U/en
Anticipated expiration legal-status Critical
Expired - Fee Related legal-status Critical Current

Links

Images

Classifications

    • YGENERAL TAGGING OF NEW TECHNOLOGICAL DEVELOPMENTS; GENERAL TAGGING OF CROSS-SECTIONAL TECHNOLOGIES SPANNING OVER SEVERAL SECTIONS OF THE IPC; TECHNICAL SUBJECTS COVERED BY FORMER USPC CROSS-REFERENCE ART COLLECTIONS [XRACs] AND DIGESTS
    • Y02TECHNOLOGIES OR APPLICATIONS FOR MITIGATION OR ADAPTATION AGAINST CLIMATE CHANGE
    • Y02WCLIMATE CHANGE MITIGATION TECHNOLOGIES RELATED TO WASTEWATER TREATMENT OR WASTE MANAGEMENT
    • Y02W10/00Technologies for wastewater treatment
    • Y02W10/10Biological treatment of water, waste water, or sewage

Landscapes

  • Filtration Of Liquid (AREA)

Abstract

The utility model relates to a rapid filter tank which comprises a tank body, wherein a filter material layer and a support layer are arranged at the bottom of the tank body from top to bottom; a muddy water channel, a wastewater channel and a pipe rack component are arranged outside the tank body; a water distribution system and a flushing drainage tank are arranged in the tank body; the water distribution system is arranged at the lower part of the support layer; and the filter material layer is of a two-layer or three-layer structure. According to the rapid filter tank provided by the utility model, the filter material layer is set as a two-layer or three-layer structure, and the filter speed is higher than that of a single-layer structure; and meanwhile, the dirt containing capacity is great, the working period is long, and the efficiency is high.

Description

一种快滤池a fast filter

技术领域 technical field

本实用新型涉及一种快滤池。  The utility model relates to a fast filter pool. the

背景技术 Background technique

快滤池是应用最广的给水过滤设备,用来除去水中经过混凝沉淀处理后残余的悬浮物,或水中经过凝聚处理后的悬浮物。主要是采用石英砂或白煤、矿石等粒状滤料对自来水进行快速过滤而达到截留水中悬浮固体和部分细菌、微生物等目的的池子。目前的快滤池的滤料一般采用单层滤料,采用单层滤料时滤速较慢,且设备设置的阀门比较多,需要单独设置冲洗设备。  Quick filter is the most widely used water supply filtration equipment, which is used to remove the residual suspended solids after coagulation and sedimentation treatment in water, or the suspended solids in water after coagulation treatment. It is mainly a pool that uses quartz sand, white coal, ore and other granular filter materials to quickly filter tap water to intercept suspended solids and some bacteria and microorganisms in the water. The filter material of the current fast filter generally adopts a single-layer filter material. When a single-layer filter material is used, the filtration speed is relatively slow, and there are many valves in the equipment, so separate washing equipment needs to be installed. the

实用新型内容 Utility model content

本实用新型的目的在于提供一种快滤池,该装置滤速快,效率高。  The purpose of the utility model is to provide a fast filter, which has a fast filtration rate and high efficiency. the

为实现上述目的,本实用新型采用了以下技术方案:包括池体,池体底部自上向下设置有滤料层及承托层,所述的池体外部设有浑水渠、废水渠以及管廊部件,所述的池体内部设有配水系统及冲洗排水槽,所述的配水系统设置在承托层的下部,所述的滤料层为双层或三层结构。  In order to achieve the above purpose, the utility model adopts the following technical solutions: including a pool body, a filter material layer and a supporting layer are arranged at the bottom of the pool body from top to bottom, and a muddy water channel, a waste water channel and a pipe are arranged outside the pool body. Gallery parts, the pool body is equipped with a water distribution system and a flushing drainage tank, the water distribution system is arranged at the lower part of the supporting layer, and the filter material layer is a double-layer or three-layer structure. the

所述的滤料层为双层结构,包括自上向下设置的无烟煤层及石英沙层。  The filter material layer is a double-layer structure, including an anthracite layer and a quartz sand layer arranged from top to bottom. the

所述的滤料层为三层结构,包括自上向下设置的无烟煤层、石英沙层及石榴石层。  The filter material layer has a three-layer structure, including an anthracite layer, a quartz sand layer and a garnet layer arranged from top to bottom. the

所述的管廊部件包括自上向下设置的进水总管、冲洗水总管和清水总管,所述的进水总管、冲洗水总管和清水总管分别与进水支管、冲洗水支管和清水支管相连,所述的进水支管、冲洗水支管和清水支管上分别设有第一、第二、第三阀门,所述的进水支管与浑水渠连通,浑水渠与池体连通,所述的冲洗水支管与池体连通,所述的清水支管与冲洗水支管连通,所述的浑水渠设置在废水渠的上方且浑水渠底部设有将水排入废水渠的排水阀。  The pipe gallery part includes a water inlet main pipe, a flushing water main pipe and a clean water main pipe arranged from top to bottom, and the water inlet main pipe, the flushing water main pipe and the clean water main pipe are respectively connected with the water inlet branch pipe, the flushing water branch pipe and the clean water branch pipe , the first, second, and third valves are respectively arranged on the water inlet branch pipe, the flushing water branch pipe and the clear water branch pipe, the water inlet branch pipe is connected with the muddy water channel, the muddy water channel is connected with the pool body, and the flushing The water branch pipe communicates with the pool body, the clear water branch pipe communicates with the flushing water branch pipe, the muddy water channel is arranged above the waste water channel and the bottom of the muddy water channel is provided with a drain valve for discharging water into the waste water channel. the

所述的配水系统包括均布于池体底部的多根配水支管,所述的多根配水支管与配水干管连通,所述的配水干管的出口与冲洗水支管连通,所述的冲洗排水槽设置在滤料层的上方,且冲洗排水槽的排水口与浑水渠连通。  The water distribution system includes a plurality of branch water distribution pipes evenly distributed at the bottom of the pool body, the plurality of branch water distribution pipes are connected to the main water distribution pipe, the outlet of the main water distribution pipe is connected to the flushing water branch pipe, and the flushing drain The water tank is arranged above the filter material layer, and the outlet of the flushing drainage tank is communicated with the muddy water channel. the

由上述技术方案可知,本实用新型通过将滤料层设置成双层或三层结构,滤速相对于单层结构的高,同时含污能力较大,工作周期长,效率高。  It can be seen from the above technical solution that the utility model sets the filter material layer into a double-layer or three-layer structure, and the filtration rate is higher than that of the single-layer structure, and at the same time, the dirt-holding capacity is larger, the working cycle is long, and the efficiency is high. the

附图说明 Description of drawings

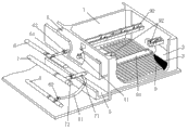
图1是本实用新型的结构示意图;  Fig. 1 is a structural representation of the utility model;

图2是本实用新型滤料层实施例一的结构示意图; Fig. 2 is the structural representation of embodiment one of filter material layer of the present invention;

图3是本实用新型滤料层实施例二的结构示意图。 Fig. 3 is a structural schematic diagram of Embodiment 2 of the filter material layer of the present invention.

具体实施方式 Detailed ways

下面结合附图对本实用新型做进一步说明:  Below in conjunction with accompanying drawing, the utility model is further described:

如图1-图3所示的一种快滤池,包括池体1,池体1底部自上向下设置有滤料层2及承托层3,池体1外部设有浑水渠4、废水渠5以及管廊部件,池体内部设有配水系统及冲洗排水槽92,配水系统设置在承托层3的下部,所述的滤料层2为双层或三层结构。  A kind of rapid filter as shown in Fig. 1-Fig. 3, comprises pond body 1, and the bottom of pond body 1 is provided with filter material layer 2 and support layer 3 from top to bottom, and the exterior of pond body 1 is provided with muddy water channel 4, The waste water channel 5 and the pipe gallery parts, the pool body are equipped with a water distribution system and a flushing drainage tank 92, and the water distribution system is arranged at the lower part of the support layer 3, and the filter material layer 2 is a double-layer or three-layer structure. the

实施例一:  Embodiment one:

如图2所示,滤料层2为双层结构,包括自上向下设置的无烟煤层21及石英沙层22。 As shown in FIG. 2 , the filter material layer 2 has a double-layer structure, including an anthracite layer 21 and a quartz sand layer 22 arranged from top to bottom.

实施例二:  Embodiment two:

如图3所示,滤料层2为三层结构,包括自上向下设置的无烟煤层21、石英沙层22及石榴石层23。 As shown in FIG. 3 , the filter layer 2 has a three-layer structure, including an anthracite layer 21 , a quartz sand layer 22 and a garnet layer 23 arranged from top to bottom.

进一步的,管廊部件包括自上向下设置的进水总管6、冲洗水总管7和清水总管8,进水总管6、冲洗水总管7和清水总管8分别与进水支管61、冲洗水支管71和清水支管81相连,进水支管61、冲洗水支管71和清水支管81上分别设有第一、第二、第三阀门62、72、82,进水支管61与浑水渠4连通,浑水渠4与池体1连通,冲洗水支管71与池体1连通,清水支管81与冲洗水支管71连通,浑水渠4设置在废水渠5的上方且浑水渠4底部设有将水排入废水渠5的排水阀41。  Further, the pipe gallery components include a water inlet main pipe 6, a flushing water main pipe 7 and a clean water main pipe 8 arranged from top to bottom. 71 is connected with the clean water branch pipe 81, the water inlet branch pipe 61, the flushing water branch pipe 71 and the clean water branch pipe 81 are respectively provided with the first, second and third valves 62, 72, 82, the water inlet branch pipe 61 is connected with the muddy water channel 4, and the muddy water The water channel 4 is communicated with the pool body 1, the flushing water branch pipe 71 is communicated with the pool body 1, the clear water branch pipe 81 is communicated with the flushing water branch pipe 71, the muddy water channel 4 is arranged on the top of the waste water channel 5 and the bottom of the muddy water channel 4 is provided with a water discharge into the waste water The drain valve 41 of the channel 5. the

配水系统包括均布于池体1底部的多根配水支管9,多根配水支管9与配水干管91连通,配水干管91的出口与冲洗水支管71连通,冲洗排水槽92设置在滤料层2的上方,且冲洗排水槽92的排水口与浑水渠4连通。  The water distribution system includes a plurality of water distribution branch pipes 9 evenly distributed at the bottom of the pool body 1. The plurality of water distribution branch pipes 9 communicate with the water distribution main pipe 91, the outlet of the water distribution main pipe 91 communicates with the flushing water branch pipe 71, and the flushing drainage tank 92 is arranged on the filter material The top of the layer 2, and the outlet of the flushing drainage tank 92 communicates with the muddy water channel 4. the

具体工作过程如下:  The specific working process is as follows:

在一种快滤池进行过滤时,开启进水支管61及清水支管81上的第一、第三阀门62、82,此时浑水经进水总管6、进水支管61、浑水渠4进入池体1,进入池体1的水经过滤料层2、承托层3后,在配水支管9汇集,再经配水干管91、清水支管81、清水总管8流往清水池;在一种快滤池进行反冲洗时,关闭进水支管61上的第一阀门61,等水位下降到砂面以上约20cm时,再关闭清水支管81上的第三阀门82,开启排水阀41和冲洗水支管71上的第二阀门72,冲洗水即由冲洗水总管7经冲洗水支管71,经配水系统沿与过滤相反的方向,均匀地分布于整个池体平面上,滤料层2在由下而上均匀分布的水流作用下悬浮起来,并逐步膨胀到一定高度,滤料颗粒互相碰撞、摩擦,附在滤料表面上的污泥等杂质便脱落下来,冲洗后的废水排水冲洗排水槽92,再经浑水渠4、排水阀41进入废水渠5排入下水道,直至排出的水较为清澈为止。 When filtering in a fast filter tank, the first and third valves 62, 82 on the water inlet branch pipe 61 and the clean water branch pipe 81 are opened. At this time, the muddy water enters through the water inlet main pipe 6, the water inlet branch pipe 61, and the muddy water channel 4. The pool body 1, the water entering the pool body 1 passes through the filter material layer 2 and the supporting layer 3, then collects in the water distribution branch pipe 9, and then flows to the clean water pool through the water distribution main pipe 91, the clean water branch pipe 81, and the clean water main pipe 8; When the quick filter is backwashed, close the first valve 61 on the water inlet branch pipe 61, and when the water level drops to about 20 cm above the sand surface, close the third valve 82 on the clear water branch pipe 81, open the drain valve 41 and flush water The second valve 72 on the branch pipe 71, the flushing water is distributed from the flushing water main pipe 7 through the flushing water branch pipe 71 through the water distribution system in the opposite direction to the filtration, and is evenly distributed on the entire pool body plane. Under the action of evenly distributed water flow, it is suspended and gradually expands to a certain height. The particles of the filter material collide and rub against each other, and impurities such as sludge attached to the surface of the filter material fall off. , Enter waste water channel 5 and discharge into sewer through muddy water channel 4, drain valve 41 again, till the water of discharging is comparatively clear.

以上所述的实施例仅仅是对本实用新型的优选实施方式进行描述,并非对本实用新型的范围进行限定,在不脱离本实用新型设计精神的前提下,本领域普通技术人员对本实用新型的技术方案作出的各种变形和改进,均应落入本实用新型权利要求书确定的保护范围内。  The above-mentioned embodiments are only described to the preferred implementation of the utility model, and are not limited to the scope of the utility model. Various modifications and improvements made should fall within the scope of protection determined by the claims of the utility model. the

Claims (5)

1.一种快滤池,其特征在于:包括池体(1),池体(1)底部自上向下设置有滤料层(2)及承托层(3),所述的池体(1)外部设有浑水渠(4)、废水渠(5)以及管廊部件,所述的池体内部设有配水系统及冲洗排水槽(92),所述的配水系统设置在承托层(3)的下部,所述的滤料层(2)为双层或三层结构。 1. A fast filter, characterized in that: it includes a pool body (1), and the bottom of the pool body (1) is provided with a filter material layer (2) and a supporting layer (3) from top to bottom, and the pool body (1) There are muddy water canals (4), waste water canals (5) and pipe gallery components on the outside, and the water distribution system and flushing drainage tanks (92) are arranged inside the pool body, and the water distribution system is set on the supporting layer In the lower part of (3), the filter material layer (2) has a double-layer or three-layer structure. 2. 根据权利要求1所述的一种快滤池,其特征在于:所述的滤料层(2)为双层结构,包括自上向下设置的无烟煤层(21)及石英沙层(22)。 2. A kind of fast filter tank according to claim 1, characterized in that: the filter layer (2) is a double-layer structure, including an anthracite layer (21) and a quartz sand layer ( twenty two). 3.根据权利要求1所述的一种快滤池,其特征在于:所述的滤料层(2)为三层结构,包括自上向下设置的无烟煤层(21)、石英沙层(22)及石榴石层(23)。 3. A fast filter tank according to claim 1, characterized in that: the filter material layer (2) is a three-layer structure, including an anthracite layer (21), a quartz sand layer ( 22) and garnet layers (23). 4.根据权利要求1所述的一种快滤池,其特征在于:所述的管廊部件包括自上向下设置的进水总管(6)、冲洗水总管(7)和清水总管(8),所述的进水总管(6)、冲洗水总管(7)和清水总管(8)分别与进水支管(61)、冲洗水支管(71)和清水支管(81)相连,所述的进水支管(61)、冲洗水支管(71)和清水支管(81)上分别设有第一、第二、第三阀门(62、72、82),所述的进水支管(61)与浑水渠(4)连通,浑水渠(4)与池体(1)连通,所述的冲洗水支管(71)与池体(1)连通,所述的清水支管(81)与冲洗水支管(71)连通,所述的浑水渠(4)设置在废水渠(5)的上方且浑水渠(4)底部设有将水排入废水渠(5)的排水阀(41)。 4. A fast filter tank according to claim 1, characterized in that: the pipe gallery part includes a water inlet main pipe (6), a flushing water main pipe (7) and a clear water main pipe (8) arranged from top to bottom ), the water inlet main pipe (6), flushing water main pipe (7) and clean water main pipe (8) are respectively connected with the water inlet branch pipe (61), the flushing water branch pipe (71) and the clean water branch pipe (81), and the The first, second and third valves (62, 72, 82) are respectively arranged on the water inlet branch pipe (61), the flushing water branch pipe (71) and the clean water branch pipe (81), and the water inlet branch pipe (61) and The muddy water channel (4) is connected, the muddy water channel (4) is connected with the pool body (1), the flushing water branch pipe (71) is connected with the pool body (1), the clear water branch pipe (81) is connected with the flushing water branch pipe ( 71) connected, the muddy water ditch (4) is set above the waste water ditch (5) and the bottom of the muddy water ditch (4) is provided with a drain valve (41) for draining water into the waste water ditch (5). 5.根据权利要求4所述的一种快滤池,其特征在于:所述的配水系统包括均布于池体(1)底部的多根配水支管(9),所述的多根配水支管(9)与配水干管(91)连通,所述的配水干管(91)的出口与冲洗水支管(71)连通,所述的冲洗排水槽(92)设置在滤料层(2)的上方,且冲洗排水槽(92)的排水口与浑水渠(4)连通。 5. A fast filter tank according to claim 4, characterized in that: the water distribution system includes a plurality of water distribution branch pipes (9) evenly distributed at the bottom of the pool body (1), and the plurality of water distribution branch pipes (9) Connected with the main water distribution pipe (91), the outlet of the water distribution main pipe (91) is connected with the flushing water branch pipe (71), and the flushing drainage tank (92) is set at the bottom of the filter material layer (2) Above, and the outlet of the flushing gutter (92) is communicated with the muddy water channel (4).
CN201320047203.7U 2013-01-29 2013-01-29 Rapid filter tank Expired - Fee Related CN203154893U (en)

Priority Applications (1)

Application Number Priority Date Filing Date Title
CN201320047203.7U CN203154893U (en) 2013-01-29 2013-01-29 Rapid filter tank

Applications Claiming Priority (1)

Application Number Priority Date Filing Date Title
CN201320047203.7U CN203154893U (en) 2013-01-29 2013-01-29 Rapid filter tank

Publications (1)

Publication Number Publication Date
CN203154893U true CN203154893U (en) 2013-08-28

Family

ID=49016118

Family Applications (1)

Application Number Title Priority Date Filing Date
CN201320047203.7U Expired - Fee Related CN203154893U (en) 2013-01-29 2013-01-29 Rapid filter tank

Country Status (1)

Country Link
CN (1) CN203154893U (en)

Cited By (2)

* Cited by examiner, † Cited by third party
Publication number Priority date Publication date Assignee Title
CN106823502A (en) * 2017-03-15 2017-06-13 山东问清环境科技有限公司 A kind of automatic pump of valveless gate control rinses sand filter
CN106823538A (en) * 2016-12-28 2017-06-13 芜湖顺景自动化设备有限公司 A kind of high efficiency particulate air filter equipment with anticorrosive coat

Cited By (2)

* Cited by examiner, † Cited by third party
Publication number Priority date Publication date Assignee Title
CN106823538A (en) * 2016-12-28 2017-06-13 芜湖顺景自动化设备有限公司 A kind of high efficiency particulate air filter equipment with anticorrosive coat
CN106823502A (en) * 2017-03-15 2017-06-13 山东问清环境科技有限公司 A kind of automatic pump of valveless gate control rinses sand filter

Similar Documents

Publication Publication Date Title
JP7145544B2 (en) Backwash variable speed upward flow type lightweight filter medium filter with minute water volume and its method
CN204017466U (en) A high-efficiency water purification V-shaped filter
CN105461180A (en) Water quality purification integrated device and method for eutrophic water
CN203154893U (en) Rapid filter tank
CN103100258A (en) Sediment filter box
CN103239905A (en) Siphon type valveless filtering pool
CN204138468U (en) A kind of mine wastewater treatment for reuse system
CN203899301U (en) Novel sedimentation tank for sewage disposal
CN209740835U (en) An integrated device for drip irrigation and sediment separation and cleaning
CN207314425U (en) A kind of full-automatic roof rain water collecting purifier
CN105233562A (en) Iron sheet dewatering pool
CN205635081U (en) Difficult constructed wetland system of blockking up
CN205461187U (en) Gravity type valveless filter
CN203904062U (en) Biological filter for porous ceramsites
CN204342580U (en) Small-size movable handles water purification unit of high turbidity water source water
CN105536348B (en) A kind of minute-pressure flushing type desilting filtration system facility and its application
CN204815927U (en) Infuse with ditch way resource of water supply silt processing system drips
CN204039168U (en) A kind of cistern free automatic backwash purifier
CN203922877U (en) A kind of city domestic sewage purifies and oil-water separation system
CN203411417U (en) Backflow continuous type filtering purifier
CN205821021U (en) Sanitary sewage oil-water separation integrated treatment unit
CN206767745U (en) A kind of biological slow filtering device with back purge system
CN205360823U (en) Minute -pressure washout type sinks husky filtration system facility
CN203694696U (en) Automatic filter
CN103790214B (en) Flushing device for recycling bathing wastewater

Legal Events

Date Code Title Description
C14 Grant of patent or utility model
GR01 Patent grant
CF01 Termination of patent right due to non-payment of annual fee

Granted publication date: 20130828

Termination date: 20210129

CF01 Termination of patent right due to non-payment of annual fee