CN203112601U - Submersed ozonic oxygen-increasing machine - Google Patents

Submersed ozonic oxygen-increasing machine Download PDF

Info

Publication number
CN203112601U
CN203112601U CN2013200887622U CN201320088762U CN203112601U CN 203112601 U CN203112601 U CN 203112601U CN 2013200887622 U CN2013200887622 U CN 2013200887622U CN 201320088762 U CN201320088762 U CN 201320088762U CN 203112601 U CN203112601 U CN 203112601U
Authority
CN
China
Prior art keywords
water
ozone
inlet pipe
motor
keg float
Prior art date
Legal status (The legal status is an assumption and is not a legal conclusion. Google has not performed a legal analysis and makes no representation as to the accuracy of the status listed.)
Expired - Fee Related
Application number
CN2013200887622U
Other languages
Chinese (zh)
Inventor
杨汇鑫
陈士英
Current Assignee (The listed assignees may be inaccurate. Google has not performed a legal analysis and makes no representation or warranty as to the accuracy of the list.)
ZHENJIANG KAISEA TECHNOLOGY Co Ltd
Original Assignee
ZHENJIANG KAISEA TECHNOLOGY Co Ltd
Priority date (The priority date is an assumption and is not a legal conclusion. Google has not performed a legal analysis and makes no representation as to the accuracy of the date listed.)
Filing date
Publication date
Application filed by ZHENJIANG KAISEA TECHNOLOGY Co Ltd filed Critical ZHENJIANG KAISEA TECHNOLOGY Co Ltd
Priority to CN2013200887622U priority Critical patent/CN203112601U/en
Application granted granted Critical
Publication of CN203112601U publication Critical patent/CN203112601U/en
Anticipated expiration legal-status Critical
Expired - Fee Related legal-status Critical Current

Links

Images

Classifications

    • YGENERAL TAGGING OF NEW TECHNOLOGICAL DEVELOPMENTS; GENERAL TAGGING OF CROSS-SECTIONAL TECHNOLOGIES SPANNING OVER SEVERAL SECTIONS OF THE IPC; TECHNICAL SUBJECTS COVERED BY FORMER USPC CROSS-REFERENCE ART COLLECTIONS [XRACs] AND DIGESTS
    • Y02TECHNOLOGIES OR APPLICATIONS FOR MITIGATION OR ADAPTATION AGAINST CLIMATE CHANGE
    • Y02WCLIMATE CHANGE MITIGATION TECHNOLOGIES RELATED TO WASTEWATER TREATMENT OR WASTE MANAGEMENT
    • Y02W10/00Technologies for wastewater treatment
    • Y02W10/10Biological treatment of water, waste water, or sewage

Landscapes

  • Treatment Of Water By Oxidation Or Reduction (AREA)

Abstract

本实用新型公开一种水下臭氧增氧机,包括高氧射流器(1)、水泵(2)、驱动电机(3)、臭氧发生器(4)、浮桶(8),高氧射流器(1)上设置有至少一个用于混合水、臭氧和空气并进行喷射的喷枪(1-1),浮桶(8)内部设有臭氧发生器(4)、分离隔板(7)和驱动电机(3),驱动电机(3)安装在分离隔板(7)下方,臭氧发生器(4)安装在分离隔板(7)上方,水泵(2)输入轴连接到驱动电机(3)输出轴,水泵(2)出水口连接到高氧射流器(1)的进水管(16)上,臭氧发生器(4)出气端经进气管(6)连接到高氧射流器(1)的进气口(15)上,形成高压喷流曝气结构。本实用新型既能大面积水下深层增氧和杀菌消毒,又有水体环流和曝气作用。

Figure 201320088762

The utility model discloses an underwater ozone aerator, comprising a high oxygen jet device (1), a water pump (2), a drive motor (3), an ozone generator (4), a floating bucket (8), and a high oxygen jet device (1) is equipped with at least one spray gun (1-1) for mixing water, ozone and air and spraying, and the inside of the floating bucket (8) is equipped with an ozone generator (4), a separation partition (7) and a drive The motor (3), the drive motor (3) is installed under the separation partition (7), the ozone generator (4) is installed above the separation partition (7), and the input shaft of the water pump (2) is connected to the output of the drive motor (3) shaft, the outlet of the water pump (2) is connected to the water inlet pipe (16) of the high oxygen jet (1), and the outlet of the ozone generator (4) is connected to the inlet of the high oxygen jet (1) through the air inlet pipe (6). On the air port (15), a high-pressure jet aeration structure is formed. The utility model can not only increase oxygen and sterilize and sterilize large-area underwater deep layers, but also have the functions of water body circulation and aeration.

Figure 201320088762

Description

Ozone oxygenating machine under water
Technical field
The utility model relates to aquaculture, environmental protection field, specifically refer to a kind of can water body oxygenation again can the ozone sterilization sterilization a kind of oxygenating machine under water.
Background technology
At present, in aquaculture and water surrounding process field, in order to improve the water body dissolved oxygen amount, improve and purify water, the oxygenating machine equipment that is absolutely necessary.At present in that to use oxygenating machine to have a variety of, as all kinds oxygenating devices such as vane type, water wheel type, water jet, water pump pulling flow type and inflatables.Wherein, vane type, water wheel type, water-spraying oxygen-increasing machine are that the disturbance surface water reaches surface layer of water oxygenation, are difficult to realize deep layer oxygenation, particularly can't solve the oxygenation difficult problem at subglacial; Water pump pulling flow type efficient is low, oxygen transfer rate is poor; The air-pump type oxygenating machine is inflated to the water body of certain depth and is reached the deep layer oxygenation effect, but needs pipe laying, and cost is expensive, and is poor to the flowability of water body.In order to improve cultured output, reduce aquaculture cost, need more high-level efficiency, the oxygenating machine of less energy-consumption more.
Ozone (O 3) be oxygen (O 2) isomer, be a kind of have popularity, quick sterilization agent efficiently, it can kill multiple germ, virus and the microorganism that humans and animals is caused a disease, and destroys the structure of bacterium, virus and other microorganisms in the short period of time, makes it to lose viability.Ozone all has tangible inactivating efficacy to a lot of germs, mould, virus, fungi, protozoon, egg capsule, and with regard to sterilization time, is 300~600 times of chlorine, ultraviolet 3000 times.Ozone all can effectively be killed as Vibrio anguillarum, furunculosis bacterium, liver shape virus HIVVR and ascites venereal disease poison YAN etc. pathogenic germ, the virus of some fishes and shrimps in the aquaculture.Reduction reaction takes place constantly in ozone in water, produce intermediate material antozone (O) and hydroxyl (OH), does not produce secondary pollution, can also play the oxygenation effect.Existing water source is handled and is adopted chlorine, materials such as lime, though play the effect of sterilization and disinfestation, the secondary pollution that causes influences survival rate and the healthy growth of seedling inevitably.Therefore ozone is desirable water quality cleansing agent, sterilizing agent, oxygenation agent at present.
Above-mentioned argumentation content purpose is all respects of the technology that may be relevant with all respects of the present utility model that below will be described and/or advocate of introducing to the reader, believe that this argumentation content helps to provide background information for the reader, to be conducive to understanding all respects of the present utility model better, therefore, should be appreciated that it is to read these argumentations with this angle, rather than admit prior art.
The utility model content
The purpose of this utility model is to avoid deficiency of the prior art and a kind of oxygenating machine of ozone under water is provided, its hyperoxia oxygenation under water can realize the sterilization of water body circulation and ozone sterilization again, by oxygenation, ozone sterilization sterilization, aeration, circulation, increase the water body dissolved oxygen amount, make obnoxious flavour oxygenolysis or the effusion waters surface such as ammonia nitrogen in the water, hydrogen sulfide, nitrite, methane, play the effect that improves and purify water.
The purpose of this utility model is achieved through the following technical solutions:
A kind of oxygenating machine of ozone under water is provided, comprise the hyperoxia ejector, water pump, drive-motor, ozonizer, keg float, described hyperoxia ejector is provided with at least one and is used for mixing water, ozone and air and the spray gun that sprays, keg float inside is provided with ozonizer, separate dividing plate and drive-motor, drive-motor is installed in and separates the dividing plate below, ozonizer is installed in and separates the dividing plate top, the water pump input shaft is connected to the drive-motor output shaft, pump outlet is connected on the water inlet pipe of hyperoxia ejector, the ozonizer outlet side is connected to through inlet pipe on the inlet mouth of hyperoxia ejector, forms high-pressure jet aeration structure.
Wherein, described hyperoxia ejector is made up of spray gun and water inlet pipe, and the circumferential direction of water inlet pipe is provided with spray gun.
Wherein, described spray gun is by shower nozzle, induction chamber, mixing tube, aeration tube, inlet mouth and water inlet pipe are formed, and shower nozzle is arranged on induction chamber inside, shower nozzle is connected to water inlet pipe, induction chamber is provided with inlet mouth, and the mixing tube two ends are connected respectively to induction chamber and the less end of aeration tube diameter, shower nozzle and maintenance certain distance relative with the inlet end center of mixing tube, aeration tube is the structure of taper, forms the aeration structure.
Wherein, the long-pending ratio that amasss with the shower nozzle inner hole section of described mixing tube inner hole section is 3~5, and the mixing tube exit end has tooth in several.
Wherein, described ozonizer is the pipeline type structure.
Wherein, described drive-motor adopts vertical machine, and drive-motor is installed on the keg float base plate, and motor shaft connects water pump at the bottom of keg float, between motor shaft and the bucket end wetted surface annular seal space is arranged, and the sealing of charge of oil envelope forms sealed structure in the annular seal space.
Wherein, water pump is arranged between keg float and the hyperoxia ejector.
Wherein, middle being provided with of described inlet pipe prevents that aqueous reflux from entering the vacuum breaker in the keg float.
Wherein, described keg float below is equipped with feet, and the quantity of feet is more than 3.
Wherein, described keg float top is provided with air inlet port, and the air inlet port top is equipped with rain cover.
When the oxygenating machine of ozone under water of the present utility model is worked, air flows through from the ozonizer inner chamber, electrion produces ozone, the electric motor driving water pump forms high pressure water and sprays the formation high velocity flow through the spray gun water jet standpipe, high velocity flow is taken away air-breathing room air and ready-made negative pressure, produce the high speed water air-flow suck the air that contains ozone from inlet pipe after, high velocity flow carries out gas in mixing tube, water fully mixes, the kinetic energy of jet progressively is transformed into pressure energy, interior tooth in the mixing tube forces gas to continue to shear, pulverize and emulsification, gas, water mixture further mixes, and oxygen fully is dissolved in the water, ready-made hyperoxia jet, under the effect of jet hydrodynamicpressure, jet carries oxygen molecule and micro-bubble, from aeration tube diffusion ejection, forms to water body with to biochemistry pool bottom mud and impacts, after the stirring, by slowly rising to the water surface at the bottom of the pond, microbubble residence time in water reaches the time, makes the fully dissolved and absorption of airborne oxygen, has improved oxygen transfer efficiency and oxygenation capacity.The high speed water air-flow stirs at the waters inside vortex than big area and deep degree, produces strong circulation, and the aeration of generation makes obnoxious flavour oxygenolysis or the effusion waters surface such as ammonia in the water, carbonic acid gas, methane, hydrogen sulfide, effectively improves water quality.
The utlity model has following advantage: the oxygenating machine of ozone under water of the present utility model can reach hyperoxia oxygenation under water and sterilization and disinfection, water body circulation and aeration effect are arranged again, be a kind of high-level efficiency, less energy-consumption, oxygenating machine that cost is low, its reasonable in design, simple in structure, in light weight, easy accessibility, working stability; Can realize big area deep layer oxygenation under water, ozone sterilization sterilization, aeration, water body circulation, oxygen transfer rate and dynamic efficiency be all than existing oxygenating machine height, and be energy-conservation, cost is low.
Description of drawings
The utility model is described in further detail to utilize accompanying drawing, but the embodiment in the accompanying drawing does not constitute any restriction of the present utility model, for those of ordinary skill in the art, under the prerequisite of not paying creative work, can also obtain other accompanying drawing according to the following drawings.
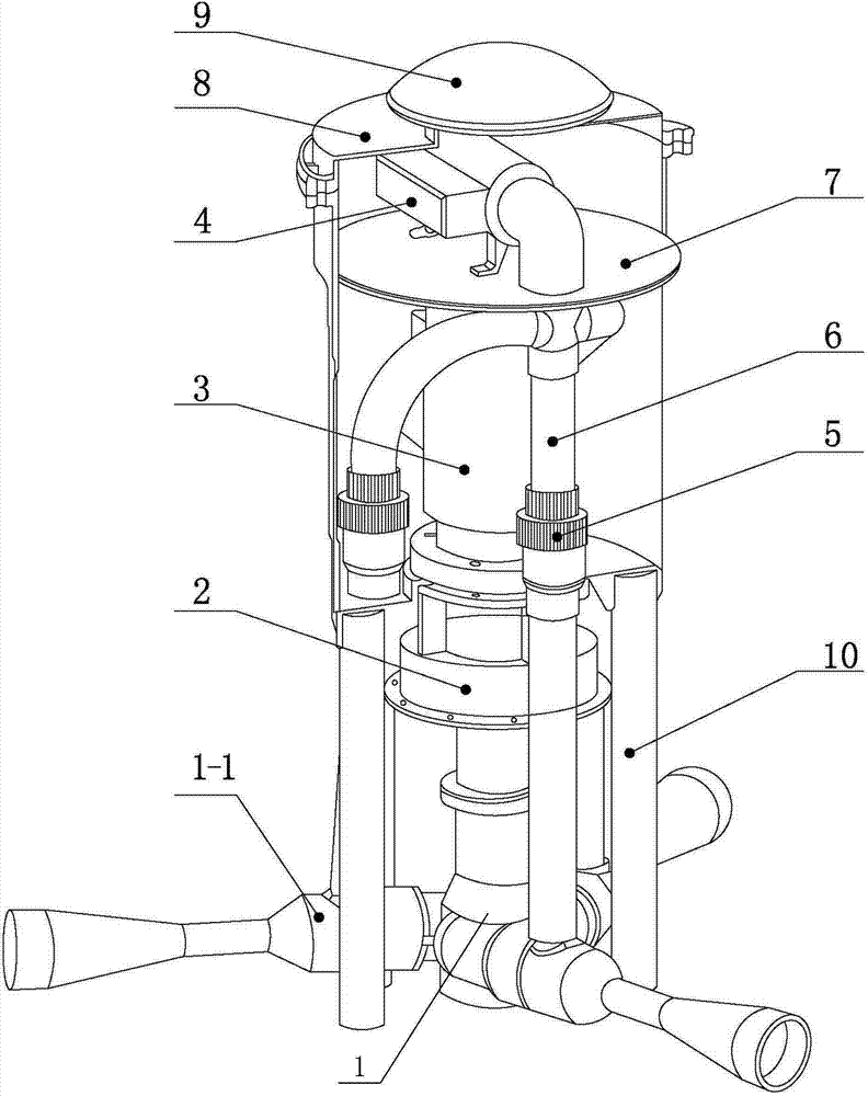
Fig. 1 is the structural representation of ozone oxygenating machine under water.
Fig. 2 is the structural representation of hyperoxia ejector.
Fig. 3 is the exit end end face front view of mixing tube.
Include: 1---hyperoxia ejector, 1-1---spray gun, 2---water pump, 3---drive-motor, 4---ozonizer, 5---vacuum breaker, 6---inlet pipe, 7---separation dividing plate, 8---keg float, 9---rain cover, 10---feet, 11---shower nozzle, 12---induction chamber, 13---mixing tube, 14---aeration tube, 15---the interior tooth of inlet mouth, 16---water inlet pipe, 17---in the drawings.
Embodiment
In order to make those skilled in the art understand the technical solution of the utility model better, below in conjunction with the drawings and specific embodiments the utility model is described in further detail, need to prove, under the situation of not conflicting, the application's embodiment and the feature among the embodiment can make up mutually.
Core of the present utility model is to provide a kind of oxygenating machine of ozone under water, its hyperoxia oxygenation under water can realize the sterilization of water body circulation and ozone sterilization again, by oxygenation, ozone sterilization sterilization, aeration, circulation, increase the water body dissolved oxygen amount, make obnoxious flavour oxygenolysis or the effusion waters surface such as ammonia nitrogen in the water, hydrogen sulfide, nitrite, methane, play the effect that improves and purify water.
As shown in Figure 1, the oxygenating machine of ozone under water described in the utility model comprises hyperoxia ejector 1, water pump 2, drive-motor 3, ozonizer 4, keg float 8.Described keg float 8 plays buoyancy and stabilization, and keg float is shaped as circular or square.Be provided with in the described keg float 8 and separate dividing plate 7, described ozonizer 4 is arranged on and separates on the dividing plate 7, and ozonizer is the pipeline type structure, and air flows through from the ozonizer inner chamber, and the power supply electrion produces ozone.Air inlet port is arranged at keg float 8 tops, and air inlet port can be convenient to ozonizer for air admission and use.Described keg float 8 is equipped with rain cover 9 on air inlet port, rain cover 9 is used for preventing that rainwater from entering in the keg float.Described drive-motor 3 is arranged on the bottom of keg float 8, separates dividing plate 7 belows, and described water pump 2 is arranged on described motor 3 bottoms, and motor adopts vertical machine, connects water pump at the bottom of the motor shaft keg float, and motor shaft and bucket have an annular seal space at the end, charge of oil envelope sealing in the annular seal space.Water pump 2 upper ends were connected with the bucket end, and water pump shaft is connected with motor shaft, and the water pump lower end is connected with the hyperoxia ejector.Described hyperoxia ejector is arranged on described water pump 2 bottoms, and the bottom of keg float 8 also is provided with 3 ~ 6 feets 10, and feet 10 plays a supportive role, and prevents bucket 8 overturnings.Described hyperoxia ejector is provided with at least one spray gun 1 that is used for mixing water and ozone and sprays, the spray gun 1-1 quantity of described hyperoxia ejector is 1~6, according to the quantity of spray gun 1-1, spray gun 1-1 and water inlet pipe 16 are tangent at circumferential direction, and the axial angle between the adjacent spray gun is 30 0~65 0One end of described inlet pipe 6 is connected on the inlet mouth 15 of hyperoxia ejector 1 induction chamber 12, and the other end is interconnected and is connected to ozonizer 4 outlet sides, is provided with vacuum breaker 5 in the middle of the described inlet pipe 6, prevents that aqueous reflux from entering in the keg float 8.
As shown in Figure 2, described spray gun 1-1 specifically comprises shower nozzle 11, induction chamber 12, mixing tube 13, aeration tube 14, inlet mouth 15.The water intake end of described shower nozzle 11 links to each other with water inlet pipe 16, shower nozzle 11 is in induction chamber 12, the inlet end of described mixing tube 13 is connected to induction chamber 12, exit end is connected with aeration tube 14, the water side mouth of pipe of described shower nozzle 11 is relative with the inlet end mouth of pipe of mixing tube 13 and keep certain distance, the water side spout diameter of shower nozzle 11 is less than mixing tube 13 internal diameters, described inlet mouth 15 is communicated with induction chamber 12, inlet mouth 15 connect by inlet pipe 6 and many intercommunications after join with the ozone outlet side of described ozonizer 4.The ratio that described mixing tube 13 inner hole sections are long-pending and shower nozzle 11 inner hole sections are long-pending is 3~5.Described aeration tube 14 is tapered tube.Spray gun 1-1 and water inlet pipe 16 are tangent at circumferential direction, and the axial angle between the adjacent spray gun is 30 0~65 0
As shown in Figure 3, the exit end inwall of described mixing tube 13 is provided with along several interior teeth 17 that circumferentially distribute, and interior tooth 17 can increase the efficient of gas-vapor mix.
Above-described embodiment adopts the mode of self-priming to draw the air admission that contains ozone to mix with water in spray gun, also can adopt the mode of air pump pump gas that the air admission that contains ozone is mixed with water in spray gun.
Set forth a lot of details so that fully understand the utility model in the top description, still, the utility model can also adopt other to be different from other modes described here and implement, and therefore, can not be interpreted as the restriction to the utility model protection domain.
In a word; though the utility model has exemplified above-mentioned preferred implementation; but should illustrate; though those skilled in the art can carry out various variations and remodeling; unless such variation and remodeling have departed from scope of the present utility model, otherwise all should be included in the protection domain of the present utility model.

Claims (10)

1. ozone oxygenating machine under water, it is characterized in that: comprise hyperoxia ejector (1), water pump (2), drive-motor (3), ozonizer (4), keg float (8), described hyperoxia ejector (1) is provided with at least one and is used for mixing water, ozone and air and the spray gun (1-1) that sprays, keg float (8) inside is provided with ozonizer (4), separate dividing plate (7) and drive-motor (3), drive-motor (3) is installed in and separates dividing plate (7) below, ozonizer (4) is installed in and separates dividing plate (7) top, water pump (2) input shaft is connected to drive-motor (3) output shaft, water pump (2) water outlet is connected on the water inlet pipe (16) of hyperoxia ejector (1), ozonizer (4) outlet side is connected to through inlet pipe (6) on the inlet mouth (15) of hyperoxia ejector (1), forms high-pressure jet aeration structure.
2. a kind of oxygenating machine of ozone under water according to claim 1, it is characterized in that: described hyperoxia ejector (1) is made up of spray gun (1-1) and water inlet pipe (16), and the circumferential direction of water inlet pipe (16) is provided with spray gun (1-1).
3. a kind of oxygenating machine of ozone under water according to claim 2, it is characterized in that: described spray gun (1-1) is by shower nozzle (11), induction chamber (12), mixing tube (13), aeration tube (14), inlet mouth (15) and water inlet pipe (16) are formed, shower nozzle (11) is arranged on induction chamber (12) inside, shower nozzle (11) is connected to water inlet pipe (16), induction chamber (12) is provided with inlet mouth (15), and mixing tube (13) two ends are connected respectively to induction chamber (12) and the less end of aeration tube (14) diameter, shower nozzle (11) and maintenance certain distance relative with the inlet end center of mixing tube (13), aeration tube (14) is the structure of taper, forms the aeration structure.
4. a kind of oxygenating machine of ozone under water according to claim 3 is characterized in that: described mixing tube (13) inner hole section long-pending with the long-pending ratio of shower nozzle (11) inner hole section be 3~5, mixing tube (13) exit end has several interior teeth.
5. the oxygenating machine of ozone under water according to claim 1 is characterized in that: described ozonizer (4) is the pipeline type structure.
6. a kind of oxygenating machine of ozone under water according to claim 1, it is characterized in that: described drive-motor (3) adopts vertical machine, drive-motor (3) is installed on keg float (8) base plate, motor shaft connects water pump at the bottom of keg float, between motor shaft and the bucket end wetted surface annular seal space is arranged, the sealing of charge of oil envelope forms sealed structure in the annular seal space.
7. the oxygenating machine of ozone under water according to claim 6, it is characterized in that: water pump (2) is arranged between keg float (8) and the hyperoxia ejector (1).
8. a kind of oxygenating machine of ozone under water according to claim 1 is characterized in that: be provided with in the middle of the described inlet pipe (6) and prevent that aqueous reflux from entering the vacuum breaker (5) in the keg float (8).
9. according to each described oxygenating machine of ozone under water in the claim 1 to 8, it is characterized in that: described keg float (8) below is equipped with feet (10), and the quantity of feet (10) is more than 3.
10. according to each described oxygenating machine of ozone under water in the claim 1 to 8, it is characterized in that: described keg float (8) top is provided with air inlet port, and the air inlet port top is equipped with rain cover (9).
CN2013200887622U 2013-02-27 2013-02-27 Submersed ozonic oxygen-increasing machine Expired - Fee Related CN203112601U (en)

Priority Applications (1)

Application Number Priority Date Filing Date Title
CN2013200887622U CN203112601U (en) 2013-02-27 2013-02-27 Submersed ozonic oxygen-increasing machine

Applications Claiming Priority (1)

Application Number Priority Date Filing Date Title
CN2013200887622U CN203112601U (en) 2013-02-27 2013-02-27 Submersed ozonic oxygen-increasing machine

Publications (1)

Publication Number Publication Date
CN203112601U true CN203112601U (en) 2013-08-07

Family

ID=48892970

Family Applications (1)

Application Number Title Priority Date Filing Date
CN2013200887622U Expired - Fee Related CN203112601U (en) 2013-02-27 2013-02-27 Submersed ozonic oxygen-increasing machine

Country Status (1)

Country Link
CN (1) CN203112601U (en)

Cited By (3)

* Cited by examiner, † Cited by third party
Publication number Priority date Publication date Assignee Title
CN103086526A (en) * 2013-02-27 2013-05-08 湛江市科海科技有限公司 Underwater ozone aerator
CN104719239A (en) * 2015-03-25 2015-06-24 广东英锐生物科技有限公司 Surge type oxygenation device for breeding pond
CN110024736A (en) * 2018-01-11 2019-07-19 苏振明 Suspended pond heats aeration oxygenator

Cited By (5)

* Cited by examiner, † Cited by third party
Publication number Priority date Publication date Assignee Title
CN103086526A (en) * 2013-02-27 2013-05-08 湛江市科海科技有限公司 Underwater ozone aerator
CN103086526B (en) * 2013-02-27 2014-06-18 湛江市科海科技有限公司 Underwater ozone aerator
CN104719239A (en) * 2015-03-25 2015-06-24 广东英锐生物科技有限公司 Surge type oxygenation device for breeding pond
CN104719239B (en) * 2015-03-25 2017-08-29 广东英锐生物科技有限公司 A kind of cultivating pool swell type oxygen-increasing device
CN110024736A (en) * 2018-01-11 2019-07-19 苏振明 Suspended pond heats aeration oxygenator

Similar Documents

Publication Publication Date Title
CN103086526B (en) Underwater ozone aerator
CN207632522U (en) Micro-nano bubble generator
CN104496046B (en) Dry room submersible solar micro-nano bubble aerator
CN202030576U (en) Micro-nano plugflow aeration machine
CN106745867A (en) A kind of aerator
CN106115951A (en) A kind of gas-vapor mix oxygen-increasing device and application thereof
AU2011368432A1 (en) A system for biological treatment
CN202379802U (en) Air lift type underwater aeration device based on high pressure air pump system
CN204369665U (en) The dry micro-nano bubble aeration machine of room submersible type sun power
CN203112601U (en) Submersed ozonic oxygen-increasing machine
CN203295268U (en) Multichannel vortex jet aerator
KR101624118B1 (en) Water purification apparatus having multistage model
CN103102021A (en) High oxygen ejector
CN201442884U (en) Super Rotary Magnetic Oxygenation Aerator
CN205575786U (en) Micro -nano aeration systems
CN101935108A (en) Foam separation-oxygenation integrated equipment
CN209974400U (en) Rotatory from inhaling formula double-end venturi nanobubble generating device
CN203608719U (en) Sterilizing and oxygen-enriching device for aquatic products
CN208080341U (en) An oxygen-increasing jet device
CN2367606Y (en) Water purifying apparatus for closed water area
CN206014461U (en) A kind of eddy flow water-distributing protein separator
US7661660B2 (en) Method and apparatus for aeration of a fluid
CN202576079U (en) Jet aerator for oxygenation in water
CN2633880Y (en) Multifunction water purifying device
CN2791033Y (en) Flow-forming aeration algae-killing device

Legal Events

Date Code Title Description
C14 Grant of patent or utility model
GR01 Patent grant
CF01 Termination of patent right due to non-payment of annual fee
CF01 Termination of patent right due to non-payment of annual fee

Granted publication date: 20130807

Termination date: 20170227