CN203045001U - 一种结构稳固的超高速枪钻 - Google Patents

一种结构稳固的超高速枪钻 Download PDF

Info

Publication number
CN203045001U
CN203045001U CN 201220647886 CN201220647886U CN203045001U CN 203045001 U CN203045001 U CN 203045001U CN 201220647886 CN201220647886 CN 201220647886 CN 201220647886 U CN201220647886 U CN 201220647886U CN 203045001 U CN203045001 U CN 203045001U
Authority
CN
China
Prior art keywords
screw thread
external screw
gun drill
nut
ultra high
Prior art date
Legal status (The legal status is an assumption and is not a legal conclusion. Google has not performed a legal analysis and makes no representation as to the accuracy of the status listed.)
Expired - Fee Related
Application number
CN 201220647886
Other languages
English (en)
Inventor
陈晓龙
王亚锋
焦伟利
武小勇
师欢梅
范丛晖
田磊
Current Assignee (The listed assignees may be inaccurate. Google has not performed a legal analysis and makes no representation or warranty as to the accuracy of the list.)
Shaanxi Golden Stone Machinery Manufacturing Co Ltd
Original Assignee
Shaanxi Golden Stone Machinery Manufacturing Co Ltd
Priority date (The priority date is an assumption and is not a legal conclusion. Google has not performed a legal analysis and makes no representation as to the accuracy of the date listed.)
Filing date
Publication date
Application filed by Shaanxi Golden Stone Machinery Manufacturing Co Ltd filed Critical Shaanxi Golden Stone Machinery Manufacturing Co Ltd
Priority to CN 201220647886 priority Critical patent/CN203045001U/zh
Application granted granted Critical
Publication of CN203045001U publication Critical patent/CN203045001U/zh
Anticipated expiration legal-status Critical
Expired - Fee Related legal-status Critical Current

Links

Images

Landscapes

  • Drilling Tools (AREA)

Abstract

本实用新型属于枪钻技术领域,具体涉及一种结构稳固的超高速枪钻。现有技术结构不稳固,存在不安全因素。为解决现有技术存在的问题,本实用新型提供的技术方案是:一种结构稳固的超高速枪钻,包括锥柄套,所述锥柄套内设有枪钻钻杆,枪钻钻杆的外端部设有外螺纹,外螺纹上安装有锁紧螺母和圆螺母,圆螺母位于锁紧螺母外侧,所述锥柄套的端部设有外螺纹,外螺纹上安装有用于压紧圆螺母的锁紧螺母套。本实用新型采用锁紧螺母、圆螺母和锁紧螺母套三重锁紧机构,使得枪钻钻杆安装稳固,达到了安全生产标准。

Description

一种结构稳固的超高速枪钻
技术领域
本实用新型属于枪钻技术领域,具体涉及一种结构稳固的超高速枪钻。 
背景技术
在小孔径加工中,枪钻超高速旋转,现有技术安装枪钻钻杆时采用顶丝将枪钻钻杆顶死,在枪钻旋转时容易造成顶丝松动,且顶紧螺钉可能会甩出,存在不安全因素。 
实用新型内容
本实用新型的目的是提供一种结构稳固的超高速枪钻,以解决现有技术结构不稳固,存在不安全因素的问题。 
为解决现有技术存在的问题,本实用新型提供的技术方案是:一种结构稳固的超高速枪钻,包括锥柄套,所述锥柄套内设有枪钻钻杆,其特殊之处在于:枪钻钻杆的外端部设有外螺纹,外螺纹上安装有锁紧螺母和圆螺母,圆螺母位于锁紧螺母外侧,所述锥柄套的端部设有外螺纹,外螺纹上安装有用于压紧圆螺母的锁紧螺母套。 
本实用新型相对于现有技术,具有如下优点和效果: 
本实用新型采用锁紧螺母、圆螺母和锁紧螺母套三重锁紧机构,使得枪钻钻杆安装稳固,达到了安全生产标准。
附图说明
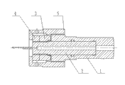
图1为本实用新型结构示意图; 
其中,1-锥柄套、2-枪钻钻杆、3-锁紧螺母、4-圆螺母、5-锁紧螺母套。
具体实施方式
    下面结合附图对本实用新型做详细说明: 
参照图1,一种结构稳固的超高速枪钻,包括锥柄套1,所述锥柄套1内设有枪钻钻杆2,其特殊之处在于:枪钻钻杆2的外端部设有外螺纹,外螺纹上安装有锁紧螺母3和圆螺母4,圆螺母4位于锁紧螺母3的外侧,所述锥柄套1的端部设有外螺纹,外螺纹上安装有用于压紧圆螺母4的锁紧螺母套5。
安装枪钻时,先在锥柄套1内装入相应规格的O形橡胶密封圈,然后将枪钻钻杆2装入锥柄套,旋转锁紧螺母3,使锁紧螺母3的牙进入锥柄套1端面的豁口,然后调整枪钻钻杆2伸出长度,用圆螺母4背紧锁紧螺母防松。最后将锁紧螺母套5拧入锥柄套1压紧圆螺母4即完成枪钻的安装。 

Claims (1)

1.一种结构稳固的超高速枪钻,包括锥柄套(1),所述锥柄套(1)内设有枪钻钻杆(2),其特征在于:枪钻钻杆(2)的外端部设有外螺纹,外螺纹上安装有锁紧螺母(3)和圆螺母(4),圆螺母(4)位于锁紧螺母(3)的外侧,所述锥柄套(1)的端部设有外螺纹,外螺纹上安装有用于压紧圆螺母(4)的锁紧螺母套(5)。
CN 201220647886 2012-11-30 2012-11-30 一种结构稳固的超高速枪钻 Expired - Fee Related CN203045001U (zh)

Priority Applications (1)

Application Number Priority Date Filing Date Title
CN 201220647886 CN203045001U (zh) 2012-11-30 2012-11-30 一种结构稳固的超高速枪钻

Applications Claiming Priority (1)

Application Number Priority Date Filing Date Title
CN 201220647886 CN203045001U (zh) 2012-11-30 2012-11-30 一种结构稳固的超高速枪钻

Publications (1)

Publication Number Publication Date
CN203045001U true CN203045001U (zh) 2013-07-10

Family

ID=48727998

Family Applications (1)

Application Number Title Priority Date Filing Date
CN 201220647886 Expired - Fee Related CN203045001U (zh) 2012-11-30 2012-11-30 一种结构稳固的超高速枪钻

Country Status (1)

Country Link
CN (1) CN203045001U (zh)

Cited By (3)

* Cited by examiner, † Cited by third party
Publication number Priority date Publication date Assignee Title
CN105772785A (zh) * 2014-12-26 2016-07-20 中核建中核燃料元件有限公司 一种控制棒组件销孔配钻装置
CN109648122A (zh) * 2019-02-26 2019-04-19 天润曲轴股份有限公司 可调式曲轴中心钻定位装置
CN109940202A (zh) * 2019-04-15 2019-06-28 德州德隆(集团)机床有限责任公司 一种枪钻加工用过载保护装置及其装配方法

Cited By (4)

* Cited by examiner, † Cited by third party
Publication number Priority date Publication date Assignee Title
CN105772785A (zh) * 2014-12-26 2016-07-20 中核建中核燃料元件有限公司 一种控制棒组件销孔配钻装置
CN109648122A (zh) * 2019-02-26 2019-04-19 天润曲轴股份有限公司 可调式曲轴中心钻定位装置
CN109940202A (zh) * 2019-04-15 2019-06-28 德州德隆(集团)机床有限责任公司 一种枪钻加工用过载保护装置及其装配方法
CN109940202B (zh) * 2019-04-15 2024-05-07 德州德隆(集团)机床有限责任公司 一种枪钻加工用过载保护装置及其装配方法

Similar Documents

Publication Publication Date Title
CN204083437U (zh) 电动楔式闸阀
CN203045001U (zh) 一种结构稳固的超高速枪钻
CN203627817U (zh) 一种带有可伸缩加长杆装置的埋地蝶阀
CN203717577U (zh) 一种双头螺纹自锁螺栓
CN103967905A (zh) 一种用于口盖锁的不脱落结构
CN206200824U (zh) 一种拉绳旋拧式螺母松紧扳手
CN203973497U (zh) 一种电锤安全脱扣装置
CN203371493U (zh) 一种闸板阀阀座安装工具
CN201922419U (zh) 固钉装置
CN201627811U (zh) 一种防盗内螺纹螺母
CN204878214U (zh) 一种滑牙后能方便替换的钻尾螺钉
CN204505111U (zh) 直柄螺栓锁紧扳手
CN213145280U (zh) 一种滑轮更换机构
CN205677957U (zh) 双重防松动螺栓
CN203441198U (zh) 一种电梯三角锁
CN204004430U (zh) 一种卫星防水转轴机构
CN204344660U (zh) 成圈包膜一体机的转盘主轴
CN204354141U (zh) 机器人关节螺钉
CN204339671U (zh) 适用于调节吉他琴颈的六角扳手
CN206309731U (zh) 一种军工用锁定式螺栓
CN203614102U (zh) 一种内外螺旋线变导程采煤机螺旋滚筒
CN203529205U (zh) 输送机构的切料阀装置
CN203201976U (zh) 一种具有加强筋的螺钉
CN202910631U (zh) 用蜗轮副调整主轴间隙装置
CN205805999U (zh) 水泵叶轮防松装置

Legal Events

Date Code Title Description
C14 Grant of patent or utility model
GR01 Patent grant
CF01 Termination of patent right due to non-payment of annual fee

Granted publication date: 20130710

Termination date: 20151130

EXPY Termination of patent right or utility model