CN202993754U - A structurally improved industrial oven - Google Patents

A structurally improved industrial oven Download PDF

Info

Publication number
CN202993754U
CN202993754U CN 201220626468 CN201220626468U CN202993754U CN 202993754 U CN202993754 U CN 202993754U CN 201220626468 CN201220626468 CN 201220626468 CN 201220626468 U CN201220626468 U CN 201220626468U CN 202993754 U CN202993754 U CN 202993754U
Authority
CN
China
Prior art keywords
electric heating
box body
box
controller
heating wire
Prior art date
Legal status (The legal status is an assumption and is not a legal conclusion. Google has not performed a legal analysis and makes no representation as to the accuracy of the status listed.)
Expired - Fee Related
Application number
CN 201220626468
Other languages
Chinese (zh)
Inventor
陈善胜
Current Assignee (The listed assignees may be inaccurate. Google has not performed a legal analysis and makes no representation or warranty as to the accuracy of the list.)
Dongguan Liyi Environment Technology Co ltd
Original Assignee
Dongguan Liyi Environment Technology Co ltd
Priority date (The priority date is an assumption and is not a legal conclusion. Google has not performed a legal analysis and makes no representation as to the accuracy of the date listed.)
Filing date
Publication date
Application filed by Dongguan Liyi Environment Technology Co ltd filed Critical Dongguan Liyi Environment Technology Co ltd
Priority to CN 201220626468 priority Critical patent/CN202993754U/en
Application granted granted Critical
Publication of CN202993754U publication Critical patent/CN202993754U/en
Anticipated expiration legal-status Critical
Expired - Fee Related legal-status Critical Current

Links

Images

Landscapes

  • Electric Stoves And Ranges (AREA)

Abstract

本实用新型涉及工业应用烤箱技术领域,尤其涉及一种结构改良的工业烤箱,包括箱体、箱门、内胆、循环风机、电热元件及控制器,所述箱体的两侧分别开设有进气孔及出气孔,所述箱门与箱体活动连接,所述控制器设置于箱体的一侧,所述内胆设置于箱体内,所述循环风机设置于箱体的顶部,所述电热元件及循环风机均与控制器电连接,所述电热元件为电热丝,所述电热丝设置于内胆的顶部并位于出气孔的一侧。本实用新型采用电热丝作为电热元件,并将其设置于出气孔侧,通过循环风机的作用,使得电热丝的发热效果更加好。

Figure 201220626468

The utility model relates to the technical field of industrial application ovens, and in particular to an industrial oven with improved structure, comprising a box body, a box door, an inner tank, a circulating fan, an electric heating element and a controller, wherein air inlet and air outlet are respectively provided on both sides of the box body, the box door is movably connected to the box body, the controller is arranged on one side of the box body, the inner tank is arranged in the box body, the circulating fan is arranged on the top of the box body, the electric heating element and the circulating fan are both electrically connected to the controller, the electric heating element is an electric heating wire, and the electric heating wire is arranged on the top of the inner tank and on one side of the air outlet. The utility model adopts an electric heating wire as the electric heating element, and arranges it on the side of the air outlet, and through the action of the circulating fan, the heating effect of the electric heating wire is better.

Figure 201220626468

Description

A kind of structure improved industrial baking oven
Technical field
The utility model relates to commercial Application baking box technical field, relates in particular to a kind of structure improved industrial baking oven.
Background technology
In energy growing tension and non-renewable resources such as the day by day exhausted today such as metal, oil, energy-conservation, green equipment becomes the emphasis of research and development.On commercial Application to the durability pay attention to day by day of baking box.The application of baking box on industrial production is very extensive, and it can durable be also that the user considers the important evidence bought, and baking box is to utilize heating to send a kind of industrial equipment that radiant heat baking needs dry various industrial materials.Traditional baking box generally adopts heat-generating pipe as the heater element of baking box, but heat-generating pipe when work electrothermal calefactive rate is slow and radiating effect is poor, adds that conventional oven causes heat-generating pipe generally to only have the service life of 2 ~ 3 years in the defective that some inner components connect and cloth is set up.Therefore, industry needs a kind of baking box that good heating effect can be provided.
The utility model content
The purpose of this utility model is to provide a kind of heating effect good baking box for the deficiencies in the prior art.
for achieving the above object, a kind of structure improved industrial baking oven of the present utility model, comprise casing, chamber door, inner bag, circulating fan, heating and controller, the both sides of described casing offer respectively air admission hole and venthole, described chamber door and casing are flexibly connected, described controller is arranged at a side of casing, described inner bag is arranged in casing, described circulating fan is arranged at the top of casing, described heating and circulating fan all are electrically connected to controller, described heating is heating wire, described heating wire is arranged at the top of inner bag and is positioned at a side of venthole.
Wherein, the front end face of described casing also is provided with timer, and described timer is electrically connected to controller.
Wherein, a side at described casing top is provided with radiator fan, and described radiator fan is electrically connected to controller.
Wherein, described chamber door and casing are flexibly connected by hinge, and described chamber door is provided with transparent window.
Wherein, the bottom even of described casing is provided with several universal wheels.
Wherein, the arranged outside having air switch of described casing, described air switch is electrically connected to described controller.
The beneficial effects of the utility model: a kind of structure improved industrial baking oven of the present utility model, adopt heating wire to replace heat-generating pipe as the heating of baking box, heating wire is because it becomes filament, compare heat-generating pipe, the efficient heat generation surface area of heating wire is larger, so not only electrothermal calefactive rate is fast for it, and good heat dissipation effect.In addition, heating wire is arranged at the top of inner bag and is positioned at a side of venthole, during work, the electrothermal wire heating, circulating fan directly blows to heating wire from the air admission hole exhausting and with wind, simultaneously the heat on heating wire is sent in the inner bag that is arranged in casing, makes whole inner bag be full of the air of uniform temperature.The utility model adopts heating wire as heating, and it is arranged at the venthole side, by the effect of circulating fan, makes the heating effect of heating wire better.
Description of drawings
Fig. 1 is internal structure schematic diagram of the present utility model.
Fig. 2 is structural representation of the present utility model.
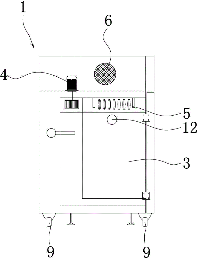
Reference numeral comprises:
1-casing, 2-chamber door, 3-inner bag, 4-circulating fan
5-heating wire, 6-radiator fan, 7-air switch, 8-timer
9-universal wheel, 11-air admission hole, 12-venthole, 21-transparent window.
The specific embodiment
Below in conjunction with accompanying drawing, the utility model is described in detail.
as extremely shown in Figure 2 in Fig. 1, a kind of structure improved industrial baking oven of the present utility model, comprise casing 1, chamber door 2, inner bag 3, circulating fan 4, heating and controller, the both sides of described casing 1 offer respectively air admission hole 11 and venthole 12, described chamber door 2 is flexibly connected with casing 1, described controller is arranged at a side of casing 1, described inner bag 3 is arranged in casing 1, described circulating fan 4 is arranged at the top of casing 1, described heating and circulating fan 4 all are electrically connected to described heating with controller be heating wire 5, described heating wire 5 is arranged at the top of inner bag 3 and is positioned at a side of venthole 12.
During work, first will need dry industrial material to be positioned in the inner bag 3 of baking box casing 1 setting, then start power supply, heating wire 5 heatings, circulating fan 4 work simultaneously directly blow on heating wire 5 from air admission hole 11 exhausting and with wind, simultaneously the heat on heating wire 5 are sent to the inner bag 3 that is arranged in casing 1, make the air that is full of uniform temperature in whole inner bag 3, more even to the baking of industrial material.Adopt heating wire 5 to replace heat-generating pipe as the heating of baking box, heating wire 5 is compared heat-generating pipe due to its curl structure, and the efficient heat generation surface area of heating wire 5 is larger, and during work, its electrothermal calefactive rate is faster.The utility model adopts heating wire 5 as heater element, and under the effect of circulating fan 4, the heating effect when making baking box work is better.
In the present embodiment, the front end face of described casing 1 also is provided with timer 8, and described timer 8 is electrically connected to controller.Before baking box is started working, first start timer 8 set one predetermined time value, after starting power supply, baking box can toast industrial material in the time value of setting, complete the time value of setting after baking box can automatically quit work.
In the present embodiment, a side at described casing 1 top is provided with radiator fan 6, and described radiator fan 6 is electrically connected to controller.Arranging of radiator fan 6 can be dispelled the heat to casing 1, prevents casing 1 and cause because of the high temperature of heating wire 5 aging, qualitative change etc.
In the present embodiment, described chamber door 2 is flexibly connected by hinge with casing 1, and described chamber door 2 is provided with transparent window 21.Chamber door 2 is flexibly connected by hinge with casing 1, facilitates each switch of chamber door 2; In addition, being provided with of transparent window 21 is conducive to the instant situation that the operator observes the industrial material baking of inner bag 3 interior placements, and the handled easily person makes preliminary judgement to cured effect.
In the present embodiment, the bottom even of described casing 1 is provided with several universal wheels 9.The setting of universal wheel 9 can so that baking box can move freely, need to not carried baking box by aid or more manpower.
Originally be in example, the arranged outside having air switch 7 of described casing 1, described air switch 7 is electrically connected to described controller.Air switch 7 has another name called air-break, is a kind of of breaker.During work, as long as when the electric current in the baking box circuit surpasses load current value, air switch 7 will automatic disconnection, plays the effect of holding circuit.
Above content is only preferred embodiment of the present utility model, for those of ordinary skill in the art, according to thought of the present utility model, all will change in specific embodiments and applications, this description should not be construed as restriction of the present utility model.

Claims (6)

1.一种结构改良的工业烤箱,包括箱体(1)、箱门(2)、内胆(3)、循环风机(4)、电热元件及控制器,所述箱体(1)的两侧分别开设有进气孔(11)及出气孔(12),所述箱门(2)与箱体(1)活动连接,所述控制器设置于箱体(1)的一侧,所述内胆(3)设置于箱体(1)内,所述循环风机(4)设置于箱体(1)的顶部,所述电热元件及循环风机(4)均与控制器电连接,其特征在于:所述电热元件为电热丝(5),所述电热丝(5)设置于内胆(3)的顶部并位于出气孔(12)的一侧。 1. An industrial oven with improved structure, including a box body (1), a box door (2), an inner tank (3), a circulating fan (4), an electric heating element and a controller, and the two parts of the box body (1) There are air inlet holes (11) and air outlet holes (12) on the sides respectively, the box door (2) is movably connected with the box body (1), the controller is set on one side of the box body (1), and the The liner (3) is set in the box body (1), the circulation fan (4) is set on the top of the box body (1), the electric heating element and the circulation fan (4) are both electrically connected to the controller, and its characteristics That is: the electric heating element is an electric heating wire (5), and the electric heating wire (5) is arranged on the top of the inner tank (3) and is located on one side of the air outlet (12). 2.根据权利要求1所述的一种结构改良的工业烤箱,其特征在于:所述箱体(1)的前端面还设置有计时器(8),所述计时器(8)与控制器电连接。 2. An industrial oven with improved structure according to claim 1, characterized in that: a timer (8) is also provided on the front face of the box (1), and the timer (8) is connected with the controller electrical connection. 3.根据权利要求1所述的一种结构改良的工业烤箱,其特征在于:所述箱体(1)顶部的一侧设置有散热风扇(6),所述散热风扇(6)与控制器电连接。 3. An industrial oven with improved structure according to claim 1, characterized in that: one side of the top of the box (1) is provided with a cooling fan (6), and the cooling fan (6) is connected with the controller electrical connection. 4.根据权利要求1所述的一种结构改良的工业烤箱,其特征在于:所述箱门(2)与箱体(1)通过合页活动连接,所述箱门(2)设置有透明视窗(21)。 4. The structurally improved industrial oven according to claim 1, characterized in that: the box door (2) is movably connected to the box body (1) through a hinge, and the box door (2) is provided with a transparent Windows (21). 5.根据权利要求1所述的一种结构改良的工业烤箱,其特征在于:所述箱体(1)的底部均匀设置有若干个万向轮(9)。 5. The structurally improved industrial oven according to claim 1, characterized in that: several universal wheels (9) are uniformly arranged on the bottom of the box (1). 6.根据权利要求1所述的一种结构改良的工业烤箱,其特征在于:所述箱体(1)的外侧设置有空气开关(7),所述空气开关(7)与所述控制器电连接。 6. The structurally improved industrial oven according to claim 1, characterized in that: an air switch (7) is provided on the outside of the box (1), and the air switch (7) is connected with the controller electrical connection.
CN 201220626468 2012-11-23 2012-11-23 A structurally improved industrial oven Expired - Fee Related CN202993754U (en)

Priority Applications (1)

Application Number Priority Date Filing Date Title
CN 201220626468 CN202993754U (en) 2012-11-23 2012-11-23 A structurally improved industrial oven

Applications Claiming Priority (1)

Application Number Priority Date Filing Date Title
CN 201220626468 CN202993754U (en) 2012-11-23 2012-11-23 A structurally improved industrial oven

Publications (1)

Publication Number Publication Date
CN202993754U true CN202993754U (en) 2013-06-12

Family

ID=48564928

Family Applications (1)

Application Number Title Priority Date Filing Date
CN 201220626468 Expired - Fee Related CN202993754U (en) 2012-11-23 2012-11-23 A structurally improved industrial oven

Country Status (1)

Country Link
CN (1) CN202993754U (en)

Cited By (2)

* Cited by examiner, † Cited by third party
Publication number Priority date Publication date Assignee Title
CN104406369A (en) * 2014-11-04 2015-03-11 无锡市华明化工有限公司 Movable drying device
CN111520976A (en) * 2020-04-24 2020-08-11 西安凯翔光电科技有限公司 Vacuum oven

Cited By (2)

* Cited by examiner, † Cited by third party
Publication number Priority date Publication date Assignee Title
CN104406369A (en) * 2014-11-04 2015-03-11 无锡市华明化工有限公司 Movable drying device
CN111520976A (en) * 2020-04-24 2020-08-11 西安凯翔光电科技有限公司 Vacuum oven

Similar Documents

Publication Publication Date Title
CN202993754U (en) A structurally improved industrial oven
CN204070269U (en) Novel hot-air weeding bug killing equipment
CN202635568U (en) Tobacco barn integrating solar energy and high temperature heat pump
CN204205350U (en) Intelligent switch cabinet moisture separating device
CN205300139U (en) Lithium - ion battery pole pieces toasts case
CN202665487U (en) Domestic dish warming machine
CN207197116U (en) A kind of silica gel baker for electric power overhaul
CN201869384U (en) Novel energy-saving porous ceramic electric-heating film heater
CN207702865U (en) A kind of energy-saving efficient dried bean curd automatic drier
CN201524883U (en) Moderate-temperature powder baker for flux-cored wires
CN206181611U (en) Wireless network equipment low temperature protective housing
CN203534124U (en) Drying device for polycrystalline silicon wafer cleaning and texturing machine
CN202545142U (en) Anti-frozen fan blade
CN203364332U (en) Grid-connected fan integrated temperature adjusting air curtain machine
CN207047292U (en) A kind of copper foil heated oven
CN202993786U (en) Industrial oven with box internally provided with air direction plate
CN208108251U (en) A kind of pneumatic state machine of heat-accumulating type electric-heating
CN205986595U (en) High heat generation is control cabinet for converter
CN206269576U (en) A kind of simple structure, production efficiency are high, high insulating effect LED continuous curing ovens
CN204594124U (en) A kind of drier
CN201735508U (en) Oven for a device for automatically and continuously pasting foamed nickel
CN217715682U (en) Energy-saving and environmentally friendly circulating curing oven
CN205316840U (en) Radiator core height temperature drying device that exhaust gas circulation utilized
CN202800505U (en) Electric hair drier with anion function
CN201282730Y (en) High-efficient bake oven with heated air circulation

Legal Events

Date Code Title Description
C14 Grant of patent or utility model
GR01 Patent grant
CF01 Termination of patent right due to non-payment of annual fee
CF01 Termination of patent right due to non-payment of annual fee

Granted publication date: 20130612

Termination date: 20171123