CN202950772U - Portable health-care treatment box for doctors practicing traditional Chinese medicine - Google Patents

Portable health-care treatment box for doctors practicing traditional Chinese medicine Download PDF

Info

Publication number
CN202950772U
CN202950772U CN2012207019556U CN201220701955U CN202950772U CN 202950772 U CN202950772 U CN 202950772U CN 2012207019556 U CN2012207019556 U CN 2012207019556U CN 201220701955 U CN201220701955 U CN 201220701955U CN 202950772 U CN202950772 U CN 202950772U
Authority
CN
China
Prior art keywords
box
acupuncture needle
traditional chinese
placement
chinese medicine
Prior art date
Legal status (The legal status is an assumption and is not a legal conclusion. Google has not performed a legal analysis and makes no representation as to the accuracy of the status listed.)
Expired - Fee Related
Application number
CN2012207019556U
Other languages
Chinese (zh)
Inventor
张长河
Current Assignee (The listed assignees may be inaccurate. Google has not performed a legal analysis and makes no representation or warranty as to the accuracy of the list.)
Beihua University
Original Assignee
Beihua University
Priority date (The priority date is an assumption and is not a legal conclusion. Google has not performed a legal analysis and makes no representation as to the accuracy of the date listed.)
Filing date
Publication date
Application filed by Beihua University filed Critical Beihua University
Priority to CN2012207019556U priority Critical patent/CN202950772U/en
Application granted granted Critical
Publication of CN202950772U publication Critical patent/CN202950772U/en
Anticipated expiration legal-status Critical
Expired - Fee Related legal-status Critical Current

Links

Images

Landscapes

  • Finger-Pressure Massage (AREA)

Abstract

中医用便携式保健治疗箱,包括箱体、箱盖、连接扣,在箱体内设有若干个器械放置区;器械放置区上面放置针灸针放置框架;箱盖上设有紫外线杀菌灯管。箱盖上还设有放置兜或放置袋,箱体外侧设有提手或背带等。本实用新型可将火罐、痧刀、艾灸条、镊子、诊脉枕等器械,分门别类放在器械放置区中,将各型号针灸针分别放在针灸针放置槽中,即便于完整的携带各种器械,又便于在治疗时取出或放回,避免器械之间相互碰触,不容易损坏或丢失。同时可在诊病治疗后,定时对箱内的各种器械进行消毒灭菌处理,提高保健治疗的安全性,提高工作秩序和效率。具有结构简单、容易实施、成本低、使用灵活携带方便、可定时消毒灭菌、应用范围广等优点。

Figure 201220701955

The portable health care treatment box for traditional Chinese medicine includes a box body, a box cover, and a connecting buckle. There are several instrument storage areas in the box body; acupuncture needle placement frames are placed on the instrument storage area; ultraviolet germicidal lamp tubes are arranged on the box cover. The case cover is also provided with a placement pocket or a placement bag, and the outside of the case body is provided with a handle or straps, etc. The utility model can put cupping jars, sha knife, moxibustion strips, tweezers, pulse diagnosis pillows and other instruments in the instrument placement area by category, and place acupuncture needles of various models in the acupuncture needle placement grooves, so that it is convenient to carry all kinds of The device is easy to take out or put back during treatment, avoiding mutual contact between the devices, and is not easy to be damaged or lost. At the same time, after diagnosis and treatment, various instruments in the box can be regularly sterilized to improve the safety of health care and treatment, and improve work order and efficiency. The utility model has the advantages of simple structure, easy implementation, low cost, flexible use, convenient portability, timing disinfection and sterilization, wide application range and the like.

Figure 201220701955

Description

In medical Portable health-care treatment case
Technical field
This utility model relates to device that concentrate to place the apparatus that the traditional Chinese medical science used, be specifically a kind of in medical Portable health-care treatment case, belong to the medical supplies packaging facilities.
Background technology
China has tcm diagnosis and the Therapeutic Method of long history, for example: acupuncture, moxa-moxibustion, cupping, scrape therapy etc., there are safe and reliable, nontoxic, the characteristics such as have no side effect, deeply be subject to numerous people's welcome.But, at present in departments such as hospital, clinic and infirmary, the apparatuses such as acupuncture needle, Moxibustion strip, cupping jar, sha-syndrome scraping plate and pulse-taking pad that traditional Chinese medical science personnel often use, mostly scattered placement, use very inconvenient.For example: acupuncture needle is continued to use traditional soft cloth packing mostly always, after sterilization, uses for a long time, and the acupuncture needle of various models is almost to mix to be inserted on soft cloth, during use, selects time-consumingly, easily damages or loses.Simultaneously, the various apparatuses of scattered placement, easily be subject to the various pollutions of surrounding, after use, can't disinfect in time, is easy to cause various cross infections, exists great hidden danger.In addition, the present situation of this scattered unordered placement equipment used in TCM, during the outdoor activities such as more uncomfortable required basic unit pays a home visit or gathers, tourism, for people provide the demand of Traditional Chinese health treatment.At this moment traditional Chinese medical science personnel can only use the interim part apparatus of collecting of the splendid attires such as existing bag, pocket, case, the workload that both wasted time and energy is large, carry very inconvenience, easily cause again the mutual pollution of various apparatuses, the even damage of colliding with, sometimes also may forget some apparatus, to Traditional Chinese health treatment services, cause certain influence.
Summary of the invention
The purpose of this utility model is for above-mentioned deficiency, provide a kind of simple in structure, flexible and convenient to use, can place in order various apparatuses, medical Portable health-care treatment case in the sterilizing that can carry out disinfection in time after use.
The technical scheme that realizes this utility model purpose is: medical Portable health-care treatment case in this, comprise rectangular casing, case lid, and the junction button of casing and case lid front portion, characteristics are that the bottom in casing is provided with at least one apparatus rest area; On the apparatus rest area, the movable acupuncture needle of placing is placed framework; Be provided with the ultraviolet sterilization fluorescent tube on case lid, the ultraviolet sterilization fluorescent tube is electrically connected with the timing power supply circuit, and the gauge tap of timing power supply circuit is located at the connecting portion of casing and case lid.
Described acupuncture needle is placed framework; by rectangular outside framework, be fixedly connected on acupuncture needle in outside framework along long side direction and place the bar frame and form; acupuncture needle is placed the bar frame and is provided with at least one section acupuncture needle placing trough; the acupuncture needle placing trough is provided with pressing plate, is respectively equipped with the elastic protective layer below the top and corresponding pressing plate of acupuncture needle placing trough.
In order to place the assistant products such as clinical thermometer or paper, pen, prescription list, also can be provided with soft placement pocket or the putting bag of upper shed simultaneously on case lid.
In withdrawing at any time or carry on the back away for the ease of traditional Chinese medical science personnel, medical Portable health-care treatment case, also can be provided with handle or braces etc. in the outside of casing.
This utility model is simple in structure, can select raw material and the universal machine electric parts such as existing timber, plastics, and adopts conventional processes to make, and easily implements.
This utility model is reasonable in design, use very convenient, can be by different apparatuses such as cupping jar, acute diseases such as cholera and sunstroke cutter, Moxibustion strip, tweezers, pulse-taking pads, be placed on disaggregatedly in each corresponding apparatus rest area, the acupuncture needle of various models be placed on respectively to acupuncture needle and place in acupuncture needle placing troughs different in framework, be convenient to the complete various apparatuses that carry, be convenient to again take out or put back to corresponding apparatus when treatment, avoid mutually touching between various apparatuses, be not easy to damage or lose, be conducive to preserve and use.Simultaneously again can be after the treatment of diagnosing a disease, regularly to the sterilization treatment that carries out disinfection of the various apparatuses in case, effectively avoid the chance of cross infection and communicate illness, the safety that improves health therapy, alleviate traditional Chinese medical science personnel's labor intensity, increases work efficiency.
This utility model can be widely used in the traditional Chinese medical science librarian use of each medical department, but have simple in structure, easy enforcement, cost low, use the advantages such as timing sterilization sterilizing easy to carry, applied range flexibly.
The accompanying drawing explanation
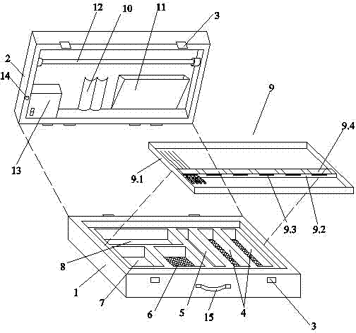
Fig. 1 is the structural representation of a kind of embodiment of this utility model.Clear for drawing, in figure, casing, acupuncture needle placement framework and case lid leave respectively drafting.
Fig. 2 is the amplification profile structural representation that in Fig. 1, acupuncture needle is placed an acupuncture needle placing trough part in the bar frame.
In figure: 1 casing, 2 case lids, 3 junction buttons; 4 cupping jar rest areas, 5 Moxibustion strip rest areas, the rest areas such as 6 acute diseases such as cholera and sunstroke cuttves; the comprehensive rest area of 7 alcohol swab pin tweezers, 8 pulse-taking pad rest areas, 9 acupuncture needles are placed framework, 9.1 outside frameworks, 9.2 acupuncture needles placement bar framves, 9.3 acupuncture needle placing troughs, 9.4 magnet hook type pressing plates, 9.5 elastic protective layers; 10 clinical thermometers, pen are placed pocket; 11 hard copys or single putting bag of writing out a prescription, 12 ultraviolet sterilization fluorescent tubes, 13 timing power supply circuit; 14 gauge taps, 15 handles.
The specific embodiment
Below in conjunction with accompanying drawing, with the embodiment provided, this utility model is further described.
With reference to accompanying drawing, medical Portable health-care treatment case in this, by rectangular casing 1, case lid 2, the junction button 3 of casing and case lid front portion, the handle 15 in the casing outside forms.Bottom in casing is provided with 6 rectangular apparatus rest areas, is respectively rest area 6, the comprehensive rest area 7 of alcohol swab pin tweezers, the pulse-taking pad rest areas 8 such as 2 cupping jar rest areas 4 and Moxibustion strip rest area 5, acute diseases such as cholera and sunstroke cutter.On the apparatus rest area, activity is placed with acupuncture needle and places framework 9; acupuncture needle place framework by rectangular outside framework 9.1, be fixedly connected on acupuncture needle in outside framework along long side direction and place bar frame 9.2 and form; acupuncture needle is placed the bar frame and is provided with some sections acupuncture needle placing troughs 9.3; the acupuncture needle placing trough is provided with magnet hook type pressing plate 9.4, is respectively equipped with elastic protective layer 9.5 below the top and corresponding pressing plate of acupuncture needle placing trough.Be provided with soft clinical thermometer, pen placement pocket 10 and hard copy or single putting bag 11 of writing out a prescription on case lid.Be provided with ultraviolet sterilization fluorescent tube 12 on case lid, the ultraviolet sterilization fluorescent tube is electrically connected with timing power supply circuit 13, and the gauge tap 14 of timing power supply circuit is located on the case lid of casing and case lid connecting portion.
This utility model applicant presses embodiment, select the universal machine electric parts such as the raw materials such as veneer, plastics, foam plastics and ultraviolet sterilization fluorescent tube, implement medical Portable health-care treatment case in this, the timing power supply circuit is comprised of conventional transformator, start-up circuit, timing circuit etc., adopts DC power supply.
During use; can be by different apparatuses such as cupping jar, acute diseases such as cholera and sunstroke cutter, Moxibustion strip, tweezers, pulse-taking pads; be placed on disaggregatedly in each corresponding apparatus rest area; the acupuncture needle of each model is placed on respectively to acupuncture needle to be placed in the bar frame in corresponding acupuncture needle placing trough; cover the magnet hook type pressing plate; due to the effect that upper and lower elastic protective layer is arranged, what acupuncture needle can be firm is placed in the acupuncture needle placing trough.Also can utilize the space in the apparatus rest area, place the article such as some Chinese patent medicines commonly used, medical proof fabric.After work, case lid is covered, the gauge tap of timeing closing power supply circuits, start the timing power supply circuit and make the work of ultraviolet germicidal lamp pipe, to the equipment used in TCM of placing in the case sterilization treatment that carries out disinfection, and when the time of setting arrives, automatically close power supply circuits and stop sterilization, effectively avoid the chance of cross infection and communicate illness.Because acupuncture needle is that horizontal Tile is placed in the acupuncture needle placing trough, there is very large space, do not affect the ultraviolet sterilization fluorescent tube sterilization of each apparatus in case is processed.
The on probation demonstration through inside, medical Portable health-care treatment case in this, facilitated the concentrated preservation of these equipments used in TCM and used in order, avoid mutually touching between various apparatuses, be not easy to damage or lose, simultaneously again can be after the treatment of diagnosing a disease, regularly to the various apparatuses sterilization treatment that carries out disinfection, avoid the chance of cross infection and communicate illness, improved the safety of health therapy, traditional Chinese medical science personnel's order of work and efficiency have been improved, simple in structure, easily implement, cost is low, flexible and convenient to use, applied range, be subject to traditional Chinese medical science personnel's popular welcome and favorable comment.

Claims (3)

1.一种中医用便携式保健治疗箱,包括长方形的箱体、箱盖,箱体和箱盖前部的连接扣,其特征在于:箱体内的下部设有至少一个器械放置区;在器械放置区的上面活动放置针灸针放置框架;在箱盖上设有紫外线杀菌灯管,紫外线杀菌灯管电连接有定时供电电路,定时供电电路的控制开关设在箱体与箱盖的连接部;所述的针灸针放置框架,由长方形的外框架、沿长边方向固定连接在外框架内的针灸针放置条架组成,针灸针放置条架上设有至少一段针灸针放置槽,针灸针放置槽上设有压板,针灸针放置槽的上面和对应的压板的下面分别设有弹性保护层。 1. A portable medical treatment box for traditional Chinese medicine, comprising a rectangular box body, a box cover, and a connecting buckle on the front of the box body and the box cover, characterized in that: the bottom of the box body is provided with at least one device placement area; Place the frame for acupuncture needles on the top of the area; on the box cover, there is an ultraviolet germicidal lamp tube, which is electrically connected to a timing power supply circuit, and the control switch of the timing power supply circuit is located at the connection between the box body and the box cover; The above-mentioned acupuncture needle placement frame is composed of a rectangular outer frame and an acupuncture needle placement rack fixedly connected in the outer frame along the long side direction. A pressure plate is provided, and an elastic protective layer is respectively provided on the upper side of the acupuncture needle placement groove and the lower side of the corresponding pressure plate. 2.根据权利要求1所述的中医用便携式保健治疗箱,其特征在于:在箱盖上设有软性的放置兜或上开口的放置袋。 2. The portable medical treatment box for traditional Chinese medicine according to claim 1, characterized in that: the box cover is provided with a soft pocket or a pocket with an upper opening. 3.根据权利要求1所述的中医用便携式保健治疗箱,其特征在于:在箱体的外侧设有提手或背带。 3. The portable medical treatment box for traditional Chinese medicine according to claim 1, characterized in that: a handle or a strap is provided outside the box body.
CN2012207019556U 2012-12-18 2012-12-18 Portable health-care treatment box for doctors practicing traditional Chinese medicine Expired - Fee Related CN202950772U (en)

Priority Applications (1)

Application Number Priority Date Filing Date Title
CN2012207019556U CN202950772U (en) 2012-12-18 2012-12-18 Portable health-care treatment box for doctors practicing traditional Chinese medicine

Applications Claiming Priority (1)

Application Number Priority Date Filing Date Title
CN2012207019556U CN202950772U (en) 2012-12-18 2012-12-18 Portable health-care treatment box for doctors practicing traditional Chinese medicine

Publications (1)

Publication Number Publication Date
CN202950772U true CN202950772U (en) 2013-05-29

Family

ID=48456370

Family Applications (1)

Application Number Title Priority Date Filing Date
CN2012207019556U Expired - Fee Related CN202950772U (en) 2012-12-18 2012-12-18 Portable health-care treatment box for doctors practicing traditional Chinese medicine

Country Status (1)

Country Link
CN (1) CN202950772U (en)

Cited By (4)

* Cited by examiner, † Cited by third party
Publication number Priority date Publication date Assignee Title
CN104398307A (en) * 2014-12-16 2015-03-11 北京瑞克斡医疗科技有限公司 Stackable combined instrument storage box
CN106413141A (en) * 2016-11-25 2017-02-15 天津尚吉液压设备有限公司 Portable automatic heater
CN109820726A (en) * 2019-03-27 2019-05-31 日照市岚山区人民医院(日照市第二人民医院) A kind of acupuncture carrying case based on composite disinfecting technology
CN114948696A (en) * 2021-02-27 2022-08-30 尹克自 Suspended pot moxibustion and umbilical therapy special equipment and method of use

Cited By (4)

* Cited by examiner, † Cited by third party
Publication number Priority date Publication date Assignee Title
CN104398307A (en) * 2014-12-16 2015-03-11 北京瑞克斡医疗科技有限公司 Stackable combined instrument storage box
CN106413141A (en) * 2016-11-25 2017-02-15 天津尚吉液压设备有限公司 Portable automatic heater
CN109820726A (en) * 2019-03-27 2019-05-31 日照市岚山区人民医院(日照市第二人民医院) A kind of acupuncture carrying case based on composite disinfecting technology
CN114948696A (en) * 2021-02-27 2022-08-30 尹克自 Suspended pot moxibustion and umbilical therapy special equipment and method of use

Similar Documents

Publication Publication Date Title
CN202950772U (en) Portable health-care treatment box for doctors practicing traditional Chinese medicine
CN203029402U (en) Portable otolaryngology diagnosis and treatment box
CN202426564U (en) Sanitary tongue depressor with lighting and image pick-up device
CN202714926U (en) Medicine box for nursing
CN205163494U (en) Special multi -functional nursing treatment box of ward nurse
CN204379737U (en) Infectious Disease's sterilizing therapeutic apparatus
CN104799945B (en) Combined nursing device for infection department
CN211132246U (en) Gastroenterology is clinical with vomitus collection device
CN205084135U (en) Respiratory track nursing therapeutic instrument
CN203493751U (en) Disposable and portable surgical instrument storage bag
CN204563292U (en) New pattern chest surgical sterilizing device
CN204246380U (en) Multifunction Medical nursing bed
CN202961045U (en) Sterilized cotton ball heater for obstetrics and gynecology departments
CN209075690U (en) Bedside infusion pad towel
CN204890196U (en) Portable disposable nurse kit
CN202665406U (en) Medical glove wet towel
CN202314519U (en) Thermometer disinfection case
CN203988747U (en) Cesarean patient Special nursing bed
CN201375687Y (en) Sterilizer for auscultator
CN202236472U (en) Non-contact double-disinfection box for thermometers
CN204426994U (en) A kind of animal doctor's clinic tool case
CN210811553U (en) A special box for diagnosis and treatment items for patients with multidrug-resistant bacteria
CN203676940U (en) Newborn bedside bathing trolley
CN203915321U (en) Obstetrics and gynecology department newborn care device
CN204207958U (en) Small-sized airtight vein mixing preparation instrument

Legal Events

Date Code Title Description
C14 Grant of patent or utility model
GR01 Patent grant
C17 Cessation of patent right
CF01 Termination of patent right due to non-payment of annual fee

Granted publication date: 20130529

Termination date: 20131218