CN202949087U - Magnetic suction quick-plug connector device - Google Patents
Magnetic suction quick-plug connector device Download PDFInfo
- Publication number
- CN202949087U CN202949087U CN 201220648077 CN201220648077U CN202949087U CN 202949087 U CN202949087 U CN 202949087U CN 201220648077 CN201220648077 CN 201220648077 CN 201220648077 U CN201220648077 U CN 201220648077U CN 202949087 U CN202949087 U CN 202949087U
- Authority
- CN
- China
- Prior art keywords
- plug
- utility
- model
- jack
- connector device
- Prior art date
- Legal status (The legal status is an assumption and is not a legal conclusion. Google has not performed a legal analysis and makes no representation as to the accuracy of the status listed.)
- Expired - Fee Related
Links
Images
Landscapes
- Details Of Connecting Devices For Male And Female Coupling (AREA)
Abstract
本实用新型涉及一种磁吸式快速插拔接头装置,其包括设置有圆锥台形的带有导线的插头、带有与所述圆锥台形的插头形状相对应的插孔的插座,所述插孔的底部和插头的顶部设置有极性相反的磁铁。本实用新型采用小角度配合,在插头顶部和插孔底部的磁铁相互吸合,即使很小的吸力即可使接触面的接触压力很大,本实用新型接触面大、压力大、接触电阻小、连接紧固、插拔迅速、使用方便。
The utility model relates to a magnetic fast plug-in connector device, which comprises a truncated cone-shaped plug with wires, a socket with a jack corresponding to the shape of the truncated cone-shaped plug, the jack The bottom of the plug and the top of the plug are provided with magnets of opposite polarity. The utility model adopts a small angle fit, and the magnets on the top of the plug and the bottom of the jack are attracted to each other. Even a small suction force can make the contact pressure on the contact surface very large. The utility model has large contact surface, high pressure and small contact resistance. , Tight connection, fast plug-in and pull-out, easy to use.
Description
技术领域 technical field
本实用新型涉及一种磁吸式快速插拔接头装置。 The utility model relates to a magnetic fast plug-in and pull-out joint device.
背景技术 Background technique
在当前的现场电力试验中,二次试验接线为标准尺寸的接头和插座,适用于各专业的不同试验项目。一般二次试验接线的接头部分采用金属弹片或者紧固螺丝,以保证二次接头和插座之间连接的接触压力,使连接紧固可靠。 In the current on-site electric power test, the secondary test wiring is standard-sized connectors and sockets, which are suitable for different test items of various professions. Generally, the joint part of the secondary test wiring adopts metal shrapnel or fastening screws to ensure the contact pressure of the connection between the secondary joint and the socket, so that the connection is fastened and reliable.
但是,这两种连接方式存在着易损坏,接触压力小,连接不可靠,试验时连接点容易断开,影响现场试验的安全性等问题。 However, these two connection methods have problems such as easy damage, small contact pressure, unreliable connection, and easy disconnection of the connection point during the test, which affects the safety of the field test.
实用新型内容 Utility model content
本实用新型所解决的技术问题是提供一种接触面大、压力大、接触电阻小、连接紧固的磁吸式快速插拔接头装置。 The technical problem solved by the utility model is to provide a magnetic quick plug-in connector device with large contact surface, high pressure, small contact resistance and fast connection.
本实用新型的技术方案如下: The technical scheme of the utility model is as follows:
本实用新型包括设置有圆锥台形的带有导线的插头、带有与所述圆锥台形的插头形状相对应的插孔的插座,所述插孔的底部和插头的顶部设置有极性相反的磁铁。 The utility model comprises a socket with a truncated conical plug with wires and a socket corresponding to the shape of the truncated conical plug, and the bottom of the socket and the top of the plug are provided with magnets with opposite polarities .
本实用新型的积极效果如下:本实用新型作为一种磁吸式快速插拔接头装置,使用时,能使插头和插座自动吸合,使其之间连接牢固可靠,本实用新型采用小角度配合,根据力学原理,很小的吸力即可使接触面的接触压力很大,本实用新型接触电阻小,插拔迅速,使用方便。 The positive effects of the utility model are as follows: the utility model is a magnetic fast plug-in connector device. When in use, the plug and the socket can be automatically sucked together so that the connection between them is firm and reliable. The utility model adopts a small angle fit According to the principle of mechanics, a very small suction force can make the contact pressure on the contact surface very large. The utility model has small contact resistance, quick insertion and removal, and convenient use.
附图说明 Description of drawings
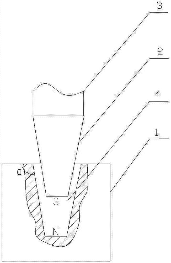
附图1为本实用新型的结构示意图。 Accompanying drawing 1 is the structural representation of the utility model.
在附图中:1插座、2插头、3导线、4插孔。 In the attached drawings: 1 socket, 2 plug, 3 wire, 4 jack.
具体实施方式 Detailed ways
如附图1所示,本实用新型包括设置有圆锥台形的带有导线3的插头2、带有与所述圆锥台形的插头2形状相对应的插孔4的插座1,所述插孔4的底部和插头2的顶部设置有极性相反的磁铁。插孔4为斜凹槽,角度α为100°,能增加插头2和插座1连接处的接触面积,又能增加二者在磁力作用下吸合后接触面的压力,可以有效的减小接触电阻,满足现场电气专业试验的需要。使用时,插孔4底部带磁铁的插座1和顶部带有磁铁与插孔4底部磁性相反的圆锥台形插头2插合后,吸力较大,连接牢固,在插头2的尾部连接有二次试验导线3。在磁铁的磁力作用下,插座1和插头2自动吸合,现场使用时快捷方便。
As shown in accompanying drawing 1, the utility model comprises the socket 1 that is provided with the plug 2 that has
本实用新型中插座1和插头2均为金属材质,可作为标准型工具,在电力行业的各种专业试验中推广。 In the utility model, both the socket 1 and the plug 2 are made of metal, which can be used as a standard tool and popularized in various professional tests in the electric power industry. the
Claims (1)
Priority Applications (1)
| Application Number | Priority Date | Filing Date | Title |
|---|---|---|---|
| CN 201220648077 CN202949087U (en) | 2012-11-30 | 2012-11-30 | Magnetic suction quick-plug connector device |
Applications Claiming Priority (1)
| Application Number | Priority Date | Filing Date | Title |
|---|---|---|---|
| CN 201220648077 CN202949087U (en) | 2012-11-30 | 2012-11-30 | Magnetic suction quick-plug connector device |
Publications (1)
| Publication Number | Publication Date |
|---|---|
| CN202949087U true CN202949087U (en) | 2013-05-22 |
Family
ID=48424768
Family Applications (1)
| Application Number | Title | Priority Date | Filing Date |
|---|---|---|---|
| CN 201220648077 Expired - Fee Related CN202949087U (en) | 2012-11-30 | 2012-11-30 | Magnetic suction quick-plug connector device |
Country Status (1)
| Country | Link |
|---|---|
| CN (1) | CN202949087U (en) |
Cited By (7)
| Publication number | Priority date | Publication date | Assignee | Title |
|---|---|---|---|---|
| CN106025689A (en) * | 2016-07-19 | 2016-10-12 | 李良杰 | Tapered self-sucking plug and socket |
| CN106207529A (en) * | 2016-07-19 | 2016-12-07 | 李良杰 | Self-priming plug and socket |
| CN106207528A (en) * | 2016-07-19 | 2016-12-07 | 李良杰 | Hemispherical self-priming plug and socket |
| CN106207527A (en) * | 2016-07-19 | 2016-12-07 | 李良杰 | Truncated cone-shaped self-priming plug and socket |
| CN110829123A (en) * | 2018-11-28 | 2020-02-21 | 文成县简创科技有限公司 | Magnetic control touch-pressure plugboard |
| CN113049854A (en) * | 2021-03-04 | 2021-06-29 | 内蒙古电力(集团)有限责任公司内蒙古电力科学研究院分公司 | Multi-purpose high-voltage test fastener connecting piece |
| CN115405971A (en) * | 2021-05-27 | 2022-11-29 | 芜湖美的厨卫电器制造有限公司 | Smoke exhaust ventilator |
-
2012
- 2012-11-30 CN CN 201220648077 patent/CN202949087U/en not_active Expired - Fee Related
Cited By (8)
| Publication number | Priority date | Publication date | Assignee | Title |
|---|---|---|---|---|
| CN106025689A (en) * | 2016-07-19 | 2016-10-12 | 李良杰 | Tapered self-sucking plug and socket |
| CN106207529A (en) * | 2016-07-19 | 2016-12-07 | 李良杰 | Self-priming plug and socket |
| CN106207528A (en) * | 2016-07-19 | 2016-12-07 | 李良杰 | Hemispherical self-priming plug and socket |
| CN106207527A (en) * | 2016-07-19 | 2016-12-07 | 李良杰 | Truncated cone-shaped self-priming plug and socket |
| CN110829123A (en) * | 2018-11-28 | 2020-02-21 | 文成县简创科技有限公司 | Magnetic control touch-pressure plugboard |
| CN110829123B (en) * | 2018-11-28 | 2021-01-22 | 温州市鹿城区渊龙电器科技有限公司 | Magnetic control touch-pressure plugboard |
| CN113049854A (en) * | 2021-03-04 | 2021-06-29 | 内蒙古电力(集团)有限责任公司内蒙古电力科学研究院分公司 | Multi-purpose high-voltage test fastener connecting piece |
| CN115405971A (en) * | 2021-05-27 | 2022-11-29 | 芜湖美的厨卫电器制造有限公司 | Smoke exhaust ventilator |
Similar Documents
| Publication | Publication Date | Title |
|---|---|---|
| CN202949087U (en) | Magnetic suction quick-plug connector device | |
| CN201829734U (en) | Inflexible plug | |
| CN203205671U (en) | A novel electronic product charging adapter | |
| CN205195013U (en) | USB 3.1 Type-c magnetic plug data cable | |
| CN104882695B (en) | Magnetic suction type connector | |
| CN202127155U (en) | Connector of relaying protection testing wire | |
| CN204651577U (en) | A modular power socket that can be combined freely | |
| CN201845950U (en) | Guide slot type socket | |
| CN202260030U (en) | Novel power strip | |
| CN202513325U (en) | Convenient plug | |
| CN204130850U (en) | The rotating plug of earth pin | |
| CN207052851U (en) | A kind of self-priming hangs touch electrical socket device | |
| CN204118384U (en) | a quick connector | |
| CN205488787U (en) | Electric connector | |
| CN204216307U (en) | A kind of novel magnet-type connector | |
| CN201518361U (en) | multifunctional socket | |
| CN204216306U (en) | A kind of magnet-type connector | |
| CN202363672U (en) | Hidden-type power socket | |
| CN202633668U (en) | Foolproof structure of heavy-current connector | |
| CN203103589U (en) | a socket | |
| CN202025967U (en) | Novel rotatable socket | |
| CN206250531U (en) | A kind of Novel electric plug converter | |
| CN205069969U (en) | Plug is prevented pulling out and is inserted electric shock device and prevent pulling out and insert electric shock plug | |
| CN205264907U (en) | Easy plug | |
| CN202550241U (en) | Novel power supply socket |
Legal Events
| Date | Code | Title | Description |
|---|---|---|---|
| C14 | Grant of patent or utility model | ||
| GR01 | Patent grant | ||
| CF01 | Termination of patent right due to non-payment of annual fee | ||
| CF01 | Termination of patent right due to non-payment of annual fee |
Granted publication date: 20130522 Termination date: 20161130 |
