CN202899302U - Shock insulation support for high-rise building - Google Patents

Shock insulation support for high-rise building Download PDF

Info

Publication number
CN202899302U
CN202899302U CN 201220358463 CN201220358463U CN202899302U CN 202899302 U CN202899302 U CN 202899302U CN 201220358463 CN201220358463 CN 201220358463 CN 201220358463 U CN201220358463 U CN 201220358463U CN 202899302 U CN202899302 U CN 202899302U
Authority
CN
China
Prior art keywords
isolation
plate
shock
friction
fixedly connected
Prior art date
Legal status (The legal status is an assumption and is not a legal conclusion. Google has not performed a legal analysis and makes no representation as to the accuracy of the status listed.)
Expired - Fee Related
Application number
CN 201220358463
Other languages
Chinese (zh)
Inventor
武雪莉
张纪刚
高弘凯
杨盼盼
刘彬
宁伟
Current Assignee (The listed assignees may be inaccurate. Google has not performed a legal analysis and makes no representation or warranty as to the accuracy of the list.)
Qingdao University of Technology
Original Assignee
Qingdao University of Technology
Priority date (The priority date is an assumption and is not a legal conclusion. Google has not performed a legal analysis and makes no representation as to the accuracy of the date listed.)
Filing date
Publication date
Application filed by Qingdao University of Technology filed Critical Qingdao University of Technology
Priority to CN 201220358463 priority Critical patent/CN202899302U/en
Application granted granted Critical
Publication of CN202899302U publication Critical patent/CN202899302U/en
Anticipated expiration legal-status Critical
Expired - Fee Related legal-status Critical Current

Links

Images

Landscapes

  • Vibration Prevention Devices (AREA)
  • Buildings Adapted To Withstand Abnormal External Influences (AREA)

Abstract

本实用新型涉及一种减震装置,尤其涉及一种高层建筑的隔震支座。本实用新型的高层建筑隔震支座,包括防护装置(4),防护装置(4)顶端与建筑物(1)固定连接,防护装置(4)内设有摩擦摆隔震装置(3),防护装置(4)整体压在摩擦摆隔震装置(3)上,摩擦摆隔震装置(3)的底端与地基(5)固定连接。此建筑隔震支座具有竖向承载力大、抗拉力大、回复能力强、可向任意方向滑移等优势。真正做到小震不坏、中震不坏或轻度受损、大震不丧失功能。此外,在施工中,通过现场情况可在一定高度楼层中反复使用该装置,不但能够适当降低设防烈度,并且有较大的安全储备。

Figure 201220358463

The utility model relates to a shock-absorbing device, in particular to a shock-isolation support for high-rise buildings. The high-rise building shock-isolation bearing of the present utility model comprises a protective device (4), the top of the protective device (4) is fixedly connected with the building (1), and the protective device (4) is provided with a friction pendulum shock-isolation device (3), The protective device (4) is integrally pressed on the friction pendulum shock-isolation device (3), and the bottom end of the friction pendulum shock-isolation device (3) is fixedly connected to the foundation (5). This building isolation bearing has the advantages of large vertical bearing capacity, high tensile strength, strong recovery ability, and can slide in any direction. It is true that it is not damaged by small earthquakes, not damaged by moderate earthquakes or slightly damaged, and that it does not lose its function in major earthquakes. In addition, during construction, the device can be used repeatedly in floors of a certain height according to the site conditions, which not only can appropriately reduce the fortification intensity, but also has a large safety reserve.

Figure 201220358463

Description

The highrise building shock isolating pedestal
Technical field
The utility model relates to a kind of damping device, relates in particular to a kind of shock isolating pedestal of highrise building.
Background technology
Earthquake brings too many disaster with painful to the mankind.But earthquake itself there is no great injury to the mankind, and earthquake disaster is mainly manifested in the secondary that collapsing of disaster area building etc. cause and destroys, and brings heavy losses for people's life and property.Along with the maturation of construction theory, prevented and reduced natural disasters into an eternal topic.
For highrise building, base isolation is absolutely necessary, and it not only makes building reduce destructiveness as much as possible in earthquake, and has ensured inhabitation people's life and property safety.
In recent years, it is comparatively extensive that the frictional slip shock insulation was used, and also relatively early, the friction material of application mostly is the cheap materials such as grit, graphite, French chalk, and is economical and simple and practical in exploitation.The sliding and shock isolation system is comprised of friction sliding mechanism and the spacing damping member that resets of isolation geological process usually.General System can not automatically reset, the excessive destruction that may cause Seismic Isolation of Isolation Layer of slippage, even structural instability.
The utility model content
Technique effect of the present utility model can overcome defects, and a kind of highrise building shock isolating pedestal is provided, and it is isolated or the dissipation seismic energy to greatest extent.
For achieving the above object, the utility model adopts following technical scheme: it comprises protector, the protector top is fixedly connected with building, be provided with the friction-pendulum shock-insulation device in the protector, the protector integrated pressure is on the friction-pendulum shock-insulation device, and the bottom of friction-pendulum shock-insulation device is fixedly connected with ground.
For existing friction-pendulum shock-insulation support, for its advantage and defect, simultaneously friction-pendulum shock-insulation support is improved and innovated, remedied the deficiency of original friction-pendulum shock-insulation support, make shock isolating pedestal can further bring into play due effect.This paper has carried out research system, deep by friction-pendulum shock-insulation support being carried out the reference of theory analysis and numerical simulation to shock isolating pedestal.
The friction-pendulum shock-insulation device comprises upper bracket plate, lower support plate, the upper surface of lower support plate is provided with the slip sphere, the slip sphere is provided with the link slide block, be fixedly installed spheroid on the link slide block, link slide block and spheroid swing with respect to the slip sphere, the upper bracket integrated circuit board swings on spheroid and with respect to spheroid, and the upper bracket plate is fixedly connected with protector.
The friction-pendulum shock-insulation device also comprises the memorial alloy drag-line, and memorial alloy drag-line one end and upper bracket plate are affixed, and the other end is with to link slide block affixed.
The periphery of slip sphere arranges positive stop lug boss, and the link slide block is arranged between the boss.
The slip sphere is identical with the curvature of spheroid.
The slip spherical face is provided with frictional layer.
Friction-pendulum shock-insulation support is the sphere sliding and shock isolation device, can rely on self gravitation to automatically reply.Hinged slide block is consistent with the basal sliding curvature of face in the friction-pendulum shock-insulation support, can fit fully with slide plane.The slip sphere scribbles low-friction material, can consume energy in the sliding process.The positive stop lug boss of the left and right sides can guarantee that slide block can not depart from bearing and damages in sliding process, and because the slip sphere is identical with spheroid curvature, can arrive original position at self-recovery under the self gravitation after slide block moves.
The center of rigidity of this bearing has the trend that automatically overlaps with the barycenter of isolation structure, can eliminate to the full extent the twist motion of structure, the indexs such as the cycle of shock isolating pedestal, vertical bearing capacity, damping ratio can be controlled separately, are convenient to design the optimization with shock isolation system.
In addition, for further improving the properties of friction-pendulum shock-insulation support, consider that the fireproof performance of bearing is bad, therefore designed protector.Protector comprises upper junction plate, lower connecting plate, and upper junction plate is fixedly connected with building by upper embedded board, and upper embedded board, upper junction plate, upper bracket plate are bolted to connection; Lower connecting plate is fixedly connected with ground by lower embedded board, and lower embedded board, lower connecting plate, lower support plate are bolted to connection.
The periphery of lower connecting plate arranges damped ring, and damped ring is arranged on the upper junction plate inside wall.
This shock isolation system is to be referred from the bridge pad shock absorption principle; this protective device has vertical tension and the anti-side direction performance of toppling; and after friction-pendulum shock-insulation support bears most of swing power consumption; protector plays the Quadratic Damping cushioning effect; if energy increases; stopping means also can play for the third time rigidity antihunt action, effect when consuming energy by three dampings, to greatest extent isolation or dissipation seismic energy.
This architectural vibration-insulation bearing has that vertical bearing capacity is large, stretching resistance is large, recovery capacity is strong, can be to advantages such as any direction slippages.Really accomplish no damage in small earthquake, middle shake is not bad or slightly impaired, large not loss of function of shake.In addition, in construction, by field condition can be in the certain altitude floor this device of Reusability, not only can suitably reduce fortification intensity, and larger safety stock is arranged.
Description of drawings
Fig. 1 is overall structure schematic diagram of the present utility model;
Fig. 2 is friction-pendulum shock-insulation apparatus structure schematic diagram of the present utility model;
Fig. 3 is protective device structure schematic diagram of the present utility model;
Fig. 4 is friction-pendulum shock-insulation device theoretical analysis model;
Fig. 5 is that the simulation process horizontal movement loads schematic diagram;
Fig. 6 is hysteretic energy ability hysteresis loop schematic diagram.
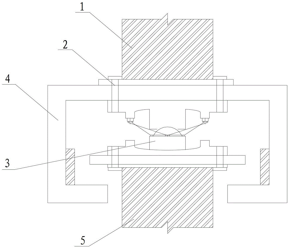
Among the figure: 1. building; 2. bolt; 3. friction-pendulum shock-insulation device; 4. protector; 5. ground;
31. upper bracket plate; 32. lower support plate; 33. slip sphere; 34. link slide block; 35. spheroid; 36. memorial alloy drag-line; 37. frictional layer; 38. positive stop lug boss;
41. upper embedded board; 42. upper junction plate; 43. damped ring; 44. lower embedded board; 45. lower connecting plate.
Among Fig. 4: D is the slide block horizontal movement, and θ is corner, and f is frictional force, and R is radius, and N is the slide block normal pressure, and W is vertical pressure, and F is horizontal shear;
The specific embodiment
Highrise building earthquake isolating equipment of the present utility model comprises protector 4, protector 4 tops are fixedly connected with building 1, be provided with friction-pendulum shock-insulation device 3 in the protector 4, protector 4 integrated pressures are on friction-pendulum shock-insulation device 3, and the bottom of friction-pendulum shock-insulation device 3 is fixedly connected with ground 5.
Friction-pendulum shock-insulation device 3 comprises upper bracket plate 31, lower support plate 32, the upper end of lower support plate 32 is provided with slip sphere 33, slip sphere 33 is provided with link slide block 34, be fixedly installed spheroid 35 on the link slide block 34, link slide block 34 and spheroid 35 swing with respect to slip sphere 33, upper bracket plate 31 is stuck on the spheroid 35 and with respect to spheroid and swings, and upper bracket plate 31 is fixedly connected with protector 4.
Friction-pendulum shock-insulation device 3 also comprises memorial alloy drag-line 36, and memorial alloy drag-line 36 1 ends and upper bracket plate 31 are affixed, and the other end is with to link slide block 34 affixed.
The periphery of slip sphere 33 arranges positive stop lug boss 38, and link slide block 34 is arranged between the boss 38.
Slip sphere 33 is identical with the curvature of spheroid 35.
Slip sphere 33 surfaces are provided with frictional layer 37.
Protector 4 comprises upper junction plate 42, lower connecting plate 45, and upper junction plate 42 is fixedly connected with building 1 by upper embedded board 41, and upper embedded board 41, upper junction plate 42, upper bracket plate 31 are fixedly connected with by bolt 2; Lower connecting plate 45 is fixedly connected with ground 5 by lower embedded board 44, and lower embedded board 44, lower connecting plate 45, lower support plate 32 are fixedly connected with by bolt 2.
The periphery of lower connecting plate 45 arranges damped ring 43, and damped ring 43 is arranged on upper junction plate 42 inside walls.
1. the theory analysis of friction-pendulum shock-insulation support
1.1 rigidity, viscous damping ratio and hysteretic behavior
Friction pendulum system can be similar to regards an arc orbit as, and radius is that R slide block quality is m, and θ is slide block with respect to the corner of the vertical axis of symmetry motion of slideway (with counterclockwise for just).
Model such as Fig. 4: D is the slide block horizontal movement, and θ is corner, and f is frictional force, and R is radius, and N is the slide block normal pressure, and W is vertical pressure, and F is horizontal shear
Among the figure, D=Rsin θ, D are the bearing horizontal movement; N=Wcos θ is the normal pressure of slide block to slide plane; W is the vertical load that bearing bears; F=μ s gn (θ) is frictional force, and μ is the slide block coefficient of kinetic friction.
Sgn (θ)=1(θ〉0) or-1 (θ<0)
By the slide block stress balance, the O point is got square, ∑ M 0=0, namely
FRcos?θ-WD-fR=0
Friction isolation bearing horizontal force F can be expressed as
F=WD/Rcos?θ+f/cos?θ
When θ was very little, following formula was reduced to
F=WD/R+μW?sgn(θ)
By following formula as can be known, friction pendulum support rigidity
K fps=W/R
Derived by theory analysis and following formula, can construct the hysteretic behavior of friction-pendulum shock-insulation support, can be obtained equivalent stiffness and the equivalent viscous damping ratio of bearing by hysteretic behavior:
K eff=F/D d=W/R+Μw/D d
ζ eff=E/2πK fpsD d 2=4μWD dR/2πWD d 2=2μR/πD d
D dDesign displacement for friction isolation pendulum bearing
1.2 from recovery characteristic
When friction pendulum is replied under self gravitation, have:
WD/Rcosθ≥f/cosθ=>WD≥fR=μN?sgn(θ)R=μRW?cosθsgn(θ)
When θ was very little, the following formula abbreviation was
WD≥μRW=>D≥μR
Only when D=μ R, bearing could be returned to the origin-location under self gravitation, and in fact friction pendulum can not automatically reply fully, and reset case is determined by the spherical radius of friction factor and slide plane.
In order to allow friction pendulum can be returned to original position, reduce simultaneously the replacing of shock isolating pedestal, set up the recovery device that is formed by parts such as memorial alloy, drag-line, slide blocks on the friction pendulum basis, the memorial alloy drag-line can be according to the fortification intensity of building, the significance level of building, and the actual conditions in place etc., carry out definite design.
For guaranteeing that the alloy drag-line always is in small tension state (being convenient to combination performance ceiling effect), the alloy drag-line is wanted prestretching 2%~3% when design, when work, guarantees to shorten rope and elongation rope all in range of stretch.
2. the numerical simulation of friction-pendulum shock-insulation support
2.1 the foundation of model
In order to investigate friction-pendulum shock-insulation support at the hysteretic characteristic under the cyclic reverse loading with in the automatically reply ability of design during displacement, and the correctness analyzed of proof theory, be necessary friction-pendulum shock-insulation support is carried out numerical simulation.
The friction-pendulum shock-insulation support model adopts spherical radius 1.5m, design displacement 150mm.The elastic modulus E of steel=2.1 * 10 5MPa, poisson's ratio υ=0.3; Elastic modulus E=the 280MPa of poly-tetrem alkene, poisson's ratio υ, 0.42, design strength is 30/mm 2
It was 3 steps that whole simulation process is divided into: 1. apply vertical load contact surface is come in contact; 2. apply the Horizontal Simple Harmonic displacement; 3. when level reaches the design displacement, keep vertical load, observe the ability that automatically replies of bearing.Vertical load is constant to be W=500kN, P=10MPa; Level letter bits displacement S=Asin(2 π ft), amplitude A get 50,100,150mm; F=0.5Hz; Vertical load is loaded as 500kN/s, and horizontal movement loads such as Fig. 5.
2.2 simulation result analysis
Draw the theory analysis hysteresis loop of friction-pendulum shock-insulation support and the hysteresis loop that numerical simulation obtains according to hysteretic behavior, such as Fig. 6, both coincide better, have verified theory analysis.This shows, hysteresis loop is stable, full in loading procedure, shows preferably hysteretic energy ability, hysteresis loop such as Fig. 6.
When by analysis as can be known, maximum stress appears at bearing and is in maximum displacement.Wherein, maximum stress is about 133.1MPa, and in elastic range, maximum displacement is about 156.3mm.
For the checking bearing from recovery characteristics, with model A(R=1.5m, μ=0.1); Model B (R=1.5m, μ=0.01) is carried out Numerical Simulation to friction-pendulum shock-insulation support, and the maximum residual displacement that calculates friction-pendulum shock-insulation support is respectively 150mm and 2mm.
Curve only represents the size of final residual displacement, does not represent the shift value size on this time point.Show for the return curve that installs the friction-pendulum shock-insulation support behind the memory metal drag-line additional, maximum residual displacement value is respectively 149mm and 2mm, and is close with theory analysis.
When μ=0.1, the design displacement is 150mm, has produced the approximately residual displacement of 150mm during experiment, and explanation can not be thought completely runback of friction pendulum, and it can weaken from recovery capacity when friction factor and spherical radius are larger, will consider when engineering is used.If friction factor is less, such as μ=0.01 o'clock, maximum remnants are 2mm only, and recovery capacity is stronger, has a reference index to weigh from recovery capacity: Z e=D More than/ D If=μ R/D, wherein D More thanBe maximum residual displacement, D IfFor the design residual displacement, satisfy Z e≤ 0.05, then bearing can automatically reply.
By theory analysis and the numerical simulation that friction-pendulum shock-insulation support is carried out.Draw to draw a conclusion:
Theory analysis and numerical simulation result coincide better, have verified rigidity that theory analysis is derived and the hysteretic behavior of structure, and on the full degree of curve, this shock isolating pedestal has good hysteretic energy.
In design, shock isolating pedestal T natural vibration period much larger than
Figure DEST_PATH_GDA00002718063600061
Irrelevant with the quality of superstructure, can change natural vibration period by changing spherical radius, be convenient to engineering design.
After having increased the memorial alloy drag-line, earthquake isolating equipment can be in stable state under normal circumstances; After meeting with earthquake, whole shock isolating pedestal can be finished according to the needs of engineering design and automatically reply, and does not need often to change or repair.Simultaneously, the alloy drag-line can play certain cushioning effect in earthquake, also can consume part energy.

Claims (8)

1.一种高层建筑隔震支座,其特征在于,包括防护装置(4),防护装置(4)顶端与建筑物(1)固定连接,防护装置(4)内设有摩擦摆隔震装置(3),防护装置(4)整体压在摩擦摆隔震装置(3)上,摩擦摆隔震装置(3)的底端与地基(5)固定连接。1. A high-rise building isolation support, characterized in that it includes a protective device (4), the top of the protective device (4) is fixedly connected to the building (1), and the protective device (4) is provided with a friction pendulum shock-isolation device (3), the protection device (4) is pressed on the friction pendulum shock isolation device (3) as a whole, and the bottom end of the friction pendulum shock isolation device (3) is fixedly connected with the foundation (5). 2.根据权利要求1所述的高层建筑隔震支座,其特征在于,摩擦摆隔震装置(3)包括上支座板(31)、下支座板(32),下支座板(32)的上端面设有滑动球面(33),滑动球面(33)上设有链接滑块(34),链接滑块(34)上固定设置球体(35),链接滑块(34)和球体(35)相对于滑动球面(33)摆动,上支座板(31)卡在球体(35)上并相对于球体摆动,上支座板(31)与防护装置(4)固定连接。2. The high-rise building isolation bearing according to claim 1, characterized in that the friction pendulum isolation device (3) includes an upper bearing plate (31), a lower bearing plate (32), and a lower bearing plate ( 32) is provided with a sliding spherical surface (33) on the upper end surface, and is provided with a link slider (34) on the sliding spherical surface (33), and a sphere (35) is fixedly arranged on the link slider (34), and the link slider (34) and the sphere (35) Swing relative to the sliding spherical surface (33), the upper support plate (31) is stuck on the sphere (35) and swings relative to the sphere, and the upper support plate (31) is fixedly connected with the protective device (4). 3.根据权利要求2所述的高层建筑隔震支座,其特征在于,摩擦摆隔震装置(3)还包括记忆合金拉索(36),记忆合金拉索(36)一端与上支座板(31)固接,另一端与链接滑块(34)固接。3. The high-rise building isolation support according to claim 2, characterized in that the friction pendulum isolation device (3) also includes a memory alloy cable (36), and one end of the memory alloy cable (36) is connected to the upper support The plate (31) is affixed, and the other end is affixed to the link slider (34). 4.根据权利要求2或3所述的高层建筑隔震支座,其特征在于,滑动球面(33)的周边设置限位凸台(38),链接滑块(34)设置在凸台(38)之间。4. The seismic isolation bearing for high-rise buildings according to claim 2 or 3, characterized in that, a limit boss (38) is arranged around the sliding spherical surface (33), and the link slider (34) is arranged on the boss (38) )between. 5.根据权利要求2或3所述的高层建筑隔震支座,其特征在于,滑动球面(33)与球体(35)的曲率相同。5. The high-rise building isolation bearing according to claim 2 or 3, characterized in that the curvature of the sliding spherical surface (33) is the same as that of the sphere (35). 6.根据权利要求5所述的高层建筑隔震支座,其特征在于,滑动球面(33)表面设有摩擦层(37)。6. The high-rise building seismic isolation bearing according to claim 5, characterized in that a friction layer (37) is provided on the surface of the sliding spherical surface (33). 7.根据权利要求2所述的高层建筑隔震支座,其特征在于,防护装置(4)包括上连接板(42)、下连接板(45),上连接板(42)通过上预埋板(41)与建筑物(1)固定连接,上预埋板(41)、上连接板(42)、上支座板(31)通过螺栓(2)固定连接;下连接板(45)通过下预埋板(44)与地基(5)固定连接,下预埋板(44)、下连接板(45)、下支座板(32)通过螺栓(2)固定连接。7. The high-rise building isolation bearing according to claim 2, characterized in that the protective device (4) includes an upper connecting plate (42) and a lower connecting plate (45), and the upper connecting plate (42) is pre-embedded through the upper The plate (41) is fixedly connected with the building (1), the upper embedded plate (41), the upper connecting plate (42), and the upper bearing plate (31) are fixedly connected by bolts (2); the lower connecting plate (45) is connected by The lower embedded plate (44) is fixedly connected with the foundation (5), and the lower embedded plate (44), the lower connecting plate (45), and the lower support plate (32) are fixedly connected by bolts (2). 8.根据权利要求7所述的高层建筑隔震支座,其特征在于,下连接板(45)的周边设置阻尼圈(43),阻尼圈(43)设置在上连接板(42)内侧壁上。8. The high-rise building isolation bearing according to claim 7, characterized in that, a damping ring (43) is arranged around the lower connecting plate (45), and the damping ring (43) is arranged on the inner wall of the upper connecting plate (42) superior.
CN 201220358463 2012-11-27 2012-11-27 Shock insulation support for high-rise building Expired - Fee Related CN202899302U (en)

Priority Applications (1)

Application Number Priority Date Filing Date Title
CN 201220358463 CN202899302U (en) 2012-11-27 2012-11-27 Shock insulation support for high-rise building

Applications Claiming Priority (1)

Application Number Priority Date Filing Date Title
CN 201220358463 CN202899302U (en) 2012-11-27 2012-11-27 Shock insulation support for high-rise building

Publications (1)

Publication Number Publication Date
CN202899302U true CN202899302U (en) 2013-04-24

Family

ID=48119989

Family Applications (1)

Application Number Title Priority Date Filing Date
CN 201220358463 Expired - Fee Related CN202899302U (en) 2012-11-27 2012-11-27 Shock insulation support for high-rise building

Country Status (1)

Country Link
CN (1) CN202899302U (en)

Cited By (5)

* Cited by examiner, † Cited by third party
Publication number Priority date Publication date Assignee Title
CN104929266A (en) * 2015-06-25 2015-09-23 哈尔滨工业大学 Spherical surface and cylindrical surface friction type support
CN109235659A (en) * 2018-10-23 2019-01-18 北京市建筑设计研究院有限公司 A kind of band can lift-off device friction-pendulum shock-insulation support and its construction method
CN109881784A (en) * 2019-01-22 2019-06-14 上海大学 A camber-slip three-dimensional isolation bearing
CN111502028A (en) * 2020-03-23 2020-08-07 中建五局第三建设有限公司 Wall-following multipoint sliding support structure, concrete annular platform and support method
CN113107250A (en) * 2021-03-26 2021-07-13 北京工业大学 Energy-consuming and vibration-damping high-rise building structure system with multiple multidirectional swinging cylinders

Cited By (8)

* Cited by examiner, † Cited by third party
Publication number Priority date Publication date Assignee Title
CN104929266A (en) * 2015-06-25 2015-09-23 哈尔滨工业大学 Spherical surface and cylindrical surface friction type support
CN104929266B (en) * 2015-06-25 2018-12-14 哈尔滨工业大学 A kind of spherical surface-cylinder friction-type support
CN109235659A (en) * 2018-10-23 2019-01-18 北京市建筑设计研究院有限公司 A kind of band can lift-off device friction-pendulum shock-insulation support and its construction method
CN109235659B (en) * 2018-10-23 2023-06-13 北京市建筑设计研究院有限公司 Friction pendulum vibration isolation support with lifting device and construction method thereof
CN109881784A (en) * 2019-01-22 2019-06-14 上海大学 A camber-slip three-dimensional isolation bearing
CN111502028A (en) * 2020-03-23 2020-08-07 中建五局第三建设有限公司 Wall-following multipoint sliding support structure, concrete annular platform and support method
CN111502028B (en) * 2020-03-23 2022-04-12 中建五局第三建设有限公司 Wall-following multipoint sliding support structure, concrete annular platform and support method
CN113107250A (en) * 2021-03-26 2021-07-13 北京工业大学 Energy-consuming and vibration-damping high-rise building structure system with multiple multidirectional swinging cylinders

Similar Documents

Publication Publication Date Title
CN203741993U (en) Friction pendulum type seismic isolation support provided with anti-drawing devices
Zhang et al. Seismic performance analysis of a large-scale single-layer lattice dome with a hybrid three-directional seismic isolation system
CN1190573C (en) Engineering structure multidimensional damping device
EA002391B1 (en) Earthquake protection consisting of vibration-isolated mounting of buildings and objects using vertical pendulums with long cycles
CN202899302U (en) Shock insulation support for high-rise building
CN103147394B (en) Pulling-resistant bidirectional sliding friction bearing
CN103850358A (en) Three-dimensional seism isolation system
CA2672314A1 (en) Seismic controller for friction bearing isolated structures
CN104481046B (en) A kind of oblique slip damping energy dissipation three-dimensional shock isolation support
CN106969077A (en) A kind of combined type three-dimensional intelligent shock-isolation bearing
CN205475808U (en) Shock insulation that slides pendulum
CN104763056A (en) Annular frictional rotating shockproof supporting base
CN102995785A (en) Rocker bearing water tank damper
CN103362147A (en) Building multi-directional self-resetting seismic isolation structure
CN204510512U (en) House combination damping device
CN203855889U (en) Friction swinging support with beam falling prevention function
CN103469919A (en) Bi-directional rolling pendulum earthquake insulation support
CN102251472A (en) Multi-dimensional shock absorption/isolation lead rubber bearing
CN103114650B (en) Roll shaft type metal shock-insulating supporting seat
CN105507447B (en) A kind of passive type variable damping tuned mass damper device
CN202298454U (en) Auto-resetting seism reduction and insulation pot type rubber support seat
CN202390755U (en) Conversion device for multifunctional quake-absorbing and isolating support
CN204940579U (en) Tandem tension shock isolating pedestal
CN203514560U (en) Two-way-rolling swing shock insulation supporting base
CN205530760U (en) Harmonious mass damper device of passive form variable damping

Legal Events

Date Code Title Description
C14 Grant of patent or utility model
GR01 Patent grant
C17 Cessation of patent right
CF01 Termination of patent right due to non-payment of annual fee

Granted publication date: 20130424

Termination date: 20131127