CN202843139U - A new type of teacup - Google Patents

A new type of teacup Download PDF

Info

Publication number
CN202843139U
CN202843139U CN 201220373678 CN201220373678U CN202843139U CN 202843139 U CN202843139 U CN 202843139U CN 201220373678 CN201220373678 CN 201220373678 CN 201220373678 U CN201220373678 U CN 201220373678U CN 202843139 U CN202843139 U CN 202843139U
Authority
CN
China
Prior art keywords
cup body
cup
lower cover
knurling
tea
Prior art date
Legal status (The legal status is an assumption and is not a legal conclusion. Google has not performed a legal analysis and makes no representation as to the accuracy of the status listed.)
Expired - Fee Related
Application number
CN 201220373678
Other languages
Chinese (zh)
Inventor
孙生强
赵昕伟
Current Assignee (The listed assignees may be inaccurate. Google has not performed a legal analysis and makes no representation or warranty as to the accuracy of the list.)
SUZHOU CUIZHI NEW TECHNOLOGY DEVELOPMENT CO LTD
Original Assignee
SUZHOU CUIZHI NEW TECHNOLOGY DEVELOPMENT CO LTD
Priority date (The priority date is an assumption and is not a legal conclusion. Google has not performed a legal analysis and makes no representation as to the accuracy of the date listed.)
Filing date
Publication date
Application filed by SUZHOU CUIZHI NEW TECHNOLOGY DEVELOPMENT CO LTD filed Critical SUZHOU CUIZHI NEW TECHNOLOGY DEVELOPMENT CO LTD
Priority to CN 201220373678 priority Critical patent/CN202843139U/en
Application granted granted Critical
Publication of CN202843139U publication Critical patent/CN202843139U/en
Anticipated expiration legal-status Critical
Expired - Fee Related legal-status Critical Current

Links

Images

Landscapes

  • Table Devices Or Equipment (AREA)

Abstract

本实用新型公开了一种新型茶杯,其特征是:该新型茶杯包括上盖、下盖、上杯身、下杯身、滤网、固定座、渗水孔、上盖滚花、下盖滚花、杯身中间滚花;其上盖和下盖的螺纹及尺寸规格相同,并可以实现互换;上盖、下盖以及杯身中部均设有防滑螺纹,使用更加方便。本新型茶杯结构简单,易于使用,外型美观,卫生方便,生产工艺极其简单,易于规模化生产。

Figure 201220373678

The utility model discloses a novel teacup, which is characterized in that the novel teacup comprises an upper cover, a lower cover, an upper cup body, a lower cup body, a filter screen, a fixing seat, a water seepage hole, knurling on the upper cover, and knurling on the lower cover 1. Knurling in the middle of the cup body; the upper cover and the lower cover have the same thread and size specifications, and can be interchanged; the upper cover, lower cover and the middle of the cup body are all equipped with anti-slip threads, which is more convenient to use. The novel tea cup is simple in structure, easy to use, beautiful in appearance, hygienic and convenient, extremely simple in production process and easy in large-scale production.

Figure 201220373678

Description

A kind of Novel tea cup
Technical field
The utility model relates to a kind of Novel tea cup.
Background technology
At present, known making tea is indispensable hobby in the daily life of many people, so appliance for infusing tea embraces a wide spectrum of ideas, some people who is particular about more has the custom of foster teapot, but to busy society today, not all people has ample time and makes tea, so simple appliance for infusing tea can cater to a lot of people's of society today demand on the contrary.
People are when having tea; floating tealeaves usually can be drunk in the mouth; people have designed the teacup with filter screen for this reason; mostly the cup that can isolate now tealeaves is at rim of a cup separation net to be set; although this Cup structure is simple; but be subject to easily the obstruction of separation net when pouring boiling water in the cup and form bubble, easily hot water is splashed on the person again when bubble breaks.
Better with the teacup of isolating strainer isolation tealeaves effect in addition, but need to filter screen be proposed, put into hand when before drinking tea, putting into tealeaves at every turn, when finishing off tea brush teacup, also need with hand filter screen to be proposed, puts at every turn, both unhygienic, operation is also inconvenient.Although some teacup tealeaves and water separately, it is too little that the place of tealeaves is put in the below, and the concentration that differs is very large, be unfavorable for drinking, and the concentration of tea lengthens and denseer in time, is difficult to adapt to people's taste.In the very wet situation of people's hand, open cup and drink water and have some difficulty.
Summary of the invention
In order to overcome the deficiency of above-mentioned existing teacup, the utility model provides a kind of Novel tea cup.
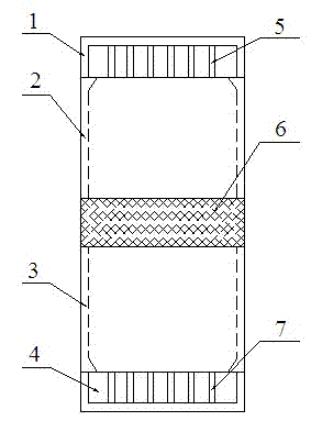
The technical scheme that its technical problem that solves the utility model adopts is: a kind of Novel tea cup, comprise loam cake, lower cover, upper cup body, lower glass body, filter screen, holder, water seepage hole, loam cake annular knurl, lower cover annular knurl, the middle annular knurl of cup body, it is characterized in that: screw thread and the dimensions of described loam cake and lower cover are identical, and can realize exchanging; Holder has water seepage hole on the holder in the middle of cup; Filter screen is below holder; Loam cake, lower cover and cup body middle part are equipped with anti-skidding annular knurl line.
The beneficial effects of the utility model are: simple in structure, be easy to use, and aesthetic in appearance, hygienic and convenient, production technology is extremely simple, is easy to large-scale production.It is simple to brew mode, and is regardless of the place, so the people who does not very require for the quality of making tea, this kind Novel tea cup really is quite practicality.
Description of drawings
Below in conjunction with drawings and Examples the utility model is further specified.
Fig. 1 is a kind of Novel tea cup main body outer knurled schematic diagram.
Fig. 2 is a kind of Novel tea cup main body outer knurled top view.
[0011]Fig. 3 is a kind of Novel tea cup body interior structural representation.
Fig. 4 is a kind of Novel tea cup body interior structure A-A direction schematic diagram.
1. loam cakes among Fig. 1-Fig. 4 are 2. gone up the cup body, 3. play the cup body, 4. play tea cup with a cover body 5. loam cake annular knurls, 6. middle annular knurl, 7. lower cover annular knurl 8. holders, 9. water seepage hole, 10. filter screen.
The specific embodiment
When this Novel tea cup uses, because screw thread and the dimensions of loam cake and lower cover are identical, so the two ends using method is also identical, put into tealeaves from upper cup body or a lower glass body in use, cover lid is poured hot water into from the opposing party, because holder and filter screen are in the middle of the cup body, hot water just can not spill like this, convenient again safety.
[0015]Because people like sometimes drinking strong tea and like sometimes drinking weak tea, holder handle cup status be two cup bodies up and down, and such cup body designs and forms cleverly two kinds of tea that concentration is different, and all can drink water in both sides up and down.Some good-looking tea can not be showed the attractive in appearance of tealeaves in narrow space, and this Novel tea cup up and down the space of cup body is enough large, fully represent attractive in appearance that tea opens, give Beautiful treat.In addition, loam cake, lower cover and cup body middle part are equipped with antiskid thread, are convenient for people to enjoy.

Claims (2)

1.一种新型茶杯,包括上盖、下盖、上杯身、下杯身、滤网、固定座、渗水孔、上盖滚花、下盖滚花、杯身中间滚花,其特征是:所述上盖和下盖的螺纹及尺寸规格相同,并可以实现互换;固定座在杯体中间,固定座上有渗水孔;滤网在固定座的下面。 1. A new type of tea cup, including an upper cover, a lower cover, an upper cup body, a lower cup body, a filter screen, a fixing seat, a water seepage hole, knurling on the upper cover, knurling on the lower cover, and knurling in the middle of the cup body. : The threads and dimensions of the upper cover and the lower cover are the same, and can be interchanged; the fixing seat is in the middle of the cup body, and there are water seepage holes on the fixing seat; the filter screen is under the fixing seat. 2.根据权利要求1所述的一种新型茶杯,其特征是:上盖、下盖以及杯身中部均设有防滑滚花纹。 2. A new type of teacup according to claim 1, characterized in that: the upper cover, the lower cover and the middle part of the cup body are all provided with anti-slip rolling patterns.
CN 201220373678 2012-07-31 2012-07-31 A new type of teacup Expired - Fee Related CN202843139U (en)

Priority Applications (1)

Application Number Priority Date Filing Date Title
CN 201220373678 CN202843139U (en) 2012-07-31 2012-07-31 A new type of teacup

Applications Claiming Priority (1)

Application Number Priority Date Filing Date Title
CN 201220373678 CN202843139U (en) 2012-07-31 2012-07-31 A new type of teacup

Publications (1)

Publication Number Publication Date
CN202843139U true CN202843139U (en) 2013-04-03

Family

ID=47974396

Family Applications (1)

Application Number Title Priority Date Filing Date
CN 201220373678 Expired - Fee Related CN202843139U (en) 2012-07-31 2012-07-31 A new type of teacup

Country Status (1)

Country Link
CN (1) CN202843139U (en)

Cited By (1)

* Cited by examiner, † Cited by third party
Publication number Priority date Publication date Assignee Title
CN104085582A (en) * 2014-07-28 2014-10-08 开平市确丽金属包装有限公司 Storage tank

Cited By (1)

* Cited by examiner, † Cited by third party
Publication number Priority date Publication date Assignee Title
CN104085582A (en) * 2014-07-28 2014-10-08 开平市确丽金属包装有限公司 Storage tank

Similar Documents

Publication Publication Date Title
CN202104664U (en) Anti-drop ceramic cup
CN205321964U (en) Two teahouses teapot
CN202843139U (en) A new type of teacup
CN203749205U (en) Tea filter
TWM481669U (en) Disposable easy tea brewing cup
CN201379354Y (en) Convenient tea brewing cup
CN203016533U (en) Tea cup with function of filtering tea leaves
CN204838919U (en) Cup of once only easily making tea of improvement structure
CN201551033U (en) Novel teapot
CN102772097A (en) Novel tea cup
CN204698262U (en) A kind of can the teacup of filtering tea
CN201958461U (en) Convenient tea cup
CN204764736U (en) Teacup
CN201968339U (en) Tea tasting cup
CN203088474U (en) Teapot provided with filter device
TWM501211U (en) Improved structure of tea brewing set
CN205758228U (en) A kind of cup
CN204600045U (en) Thermal insulation teacup
CN205612213U (en) Seven visitor's cup
CN202919749U (en) Novel tea cup
CN210540503U (en) Ceramic tea making cup with filter cover
CN201929633U (en) Novel easy-to-clean glass tea cup
CN202665268U (en) Tea leaf filter
CN203662446U (en) Novel filter tea cup
CN203369696U (en) Tea set

Legal Events

Date Code Title Description
C14 Grant of patent or utility model
GR01 Patent grant
C17 Cessation of patent right
CF01 Termination of patent right due to non-payment of annual fee

Granted publication date: 20130403

Termination date: 20130731