CN202835831U - Top water type solar water heater static air energy auxiliary heating system - Google Patents
Top water type solar water heater static air energy auxiliary heating system Download PDFInfo
- Publication number
- CN202835831U CN202835831U CN201220498893.3U CN201220498893U CN202835831U CN 202835831 U CN202835831 U CN 202835831U CN 201220498893 U CN201220498893 U CN 201220498893U CN 202835831 U CN202835831 U CN 202835831U
- Authority
- CN
- China
- Prior art keywords
- water
- water heater
- condenser
- air energy
- water tank
- Prior art date
- Legal status (The legal status is an assumption and is not a legal conclusion. Google has not performed a legal analysis and makes no representation as to the accuracy of the status listed.)
- Expired - Fee Related
Links
- XLYOFNOQVPJJNP-UHFFFAOYSA-N water Substances O XLYOFNOQVPJJNP-UHFFFAOYSA-N 0.000 title claims abstract description 161
- 238000010438 heat treatment Methods 0.000 title claims abstract description 25
- 230000003068 static effect Effects 0.000 title abstract description 5
- 238000001704 evaporation Methods 0.000 claims description 12
- 230000008020 evaporation Effects 0.000 claims description 6
- 230000009182 swimming Effects 0.000 claims 1
- 238000004321 preservation Methods 0.000 abstract description 5
- 230000005484 gravity Effects 0.000 abstract description 2
- 238000009413 insulation Methods 0.000 description 5
- 238000005485 electric heating Methods 0.000 description 4
- 238000000034 method Methods 0.000 description 4
- 238000010586 diagram Methods 0.000 description 2
- 239000003507 refrigerant Substances 0.000 description 2
- 239000010865 sewage Substances 0.000 description 2
- 230000005494 condensation Effects 0.000 description 1
- 238000009833 condensation Methods 0.000 description 1
- 230000007423 decrease Effects 0.000 description 1
- 230000005611 electricity Effects 0.000 description 1
- 238000005516 engineering process Methods 0.000 description 1
- 239000008236 heating water Substances 0.000 description 1
- 238000013517 stratification Methods 0.000 description 1
- 239000013589 supplement Substances 0.000 description 1
Images
Classifications
-
- Y—GENERAL TAGGING OF NEW TECHNOLOGICAL DEVELOPMENTS; GENERAL TAGGING OF CROSS-SECTIONAL TECHNOLOGIES SPANNING OVER SEVERAL SECTIONS OF THE IPC; TECHNICAL SUBJECTS COVERED BY FORMER USPC CROSS-REFERENCE ART COLLECTIONS [XRACs] AND DIGESTS
- Y02—TECHNOLOGIES OR APPLICATIONS FOR MITIGATION OR ADAPTATION AGAINST CLIMATE CHANGE
- Y02E—REDUCTION OF GREENHOUSE GAS [GHG] EMISSIONS, RELATED TO ENERGY GENERATION, TRANSMISSION OR DISTRIBUTION
- Y02E10/00—Energy generation through renewable energy sources
- Y02E10/40—Solar thermal energy, e.g. solar towers
Landscapes
- Heat-Pump Type And Storage Water Heaters (AREA)
Abstract
顶水式太阳能热水器辅助空气能静态加热系统,其空气能加热系统由空气能热水器构成,空气能热水器主要由安装在外壳内的压缩机、冷凝器、节流器和蒸发器构成,空气能热水器安装在太阳能热水器水箱的下方,热水循环管一端安装在冷凝器上部,另一端连接在太阳能热水器水箱的中上部,冷水循环管一端安装冷凝器的下部,另一端连接太阳能热水器水箱的下部。本实用新型依靠水箱中水的重力,保温水箱与冷凝器之间的水在温差的驱动下自然循环,从而省略了循环水泵的使用,减少压缩机的工作时间,延长整机工作寿命,实现了按设定的量来加热冷水,并且可以提供热水,使水箱补热工作的电能损耗大大减小。
The top-water solar water heater assists the air energy static heating system. The air energy heating system is composed of an air energy water heater. The air energy water heater is mainly composed of a compressor, a condenser, a throttle and an evaporator installed in the shell. Installed under the solar water heater water tank, one end of the hot water circulation pipe is installed on the upper part of the condenser, the other end is connected to the middle and upper part of the solar water heater water tank, one end of the cold water circulation pipe is installed on the lower part of the condenser, and the other end is connected to the lower part of the solar water heater water tank. The utility model relies on the gravity of the water in the water tank, and the water between the heat preservation water tank and the condenser is naturally circulated under the drive of the temperature difference, thereby omitting the use of the circulating water pump, reducing the working time of the compressor, and prolonging the working life of the whole machine. The cold water is heated according to the set amount, and hot water can be provided, so that the power loss of the water tank heating work is greatly reduced.
Description
技术领域 technical field
本实用新型属于太阳能热水器的辅助加热技术领域,涉及一种顶水式太阳能热水器静态空气能辅助加热系统。 The utility model belongs to the technical field of auxiliary heating of solar water heaters, and relates to a static air energy auxiliary heating system of a top-water solar water heater.
背景技术 Background technique
太阳能热水器一般由支架、集热器和保温水箱三部分组成,集热器有真空管集热器和平板集热器两类,太阳能热水器利用晴天太阳照射在集热器上的辐射能,由集热器收集后加热集热器中的冷水,加热后的水自然循环到水箱中保温储存。在阴雨天,太阳能热水器收集不到阳光的热量,其水箱中的水长期放置后成为冷水,需要进行辅助加热后才能使用。现有技术中,太阳能热水器的辅助加热系统采用电加热的方式,将电加热管安装在太阳能热水器的保温水箱侧面或底部,在阴雨天时为太阳能热水器补充加热,这种补热方式对电能的消耗较大,特别是对于采用大型太阳能热水系统集中供热的宾馆或单位,补热系统每年需要大量消耗电能,造成使用成本增高。 Solar water heaters are generally composed of three parts: brackets, heat collectors and heat preservation water tanks. There are two types of heat collectors: vacuum tube collectors and flat plate heat collectors. After being collected by the collector, the cold water in the heat collector is heated, and the heated water is naturally circulated to the water tank for heat preservation and storage. In cloudy and rainy days, solar water heaters cannot collect the heat of sunlight, and the water in the water tank becomes cold water after being placed for a long time, and it needs auxiliary heating before it can be used. In the prior art, the auxiliary heating system of the solar water heater adopts the method of electric heating, and the electric heating tube is installed on the side or bottom of the heat preservation water tank of the solar water heater to supplement the heating for the solar water heater in cloudy and rainy days. Larger, especially for hotels or units that use large-scale solar water heating systems for central heating, the supplementary heating system needs to consume a lot of electric energy every year, resulting in increased use costs.
空气能热水器是继太阳能热水器之后,又一种比较节能的热水设备,主要由压缩机、冷凝器、节流装置、蒸发器和储水箱构成,在冷凝器与储水箱之间的连接管上安装有循环水泵,空气能热水器与采用电加热的热水器相比,能大大节约用电,由于采用循环水泵驱动储水箱内的水在冷凝器与储水箱之间强制循环,循环水泵驱动的循环水进入水箱后,将水箱内热水与冷水的分层状态搅乱,水箱内的水需要整体加热到设定温度时,压缩机才会停止工作。储水箱内存水较多,空气能热水器的功率较小,空气能热水器及循环水泵需要很长时间工作才能加热整箱水,加热速度慢,设备容易损坏。另外,由于压缩机的加热工作环境都是处于热泵的最不利工况,耗电量最大,不能较好的体现空气能热水器的节能优势。 The air energy water heater is another energy-saving hot water equipment after the solar water heater. It is mainly composed of a compressor, a condenser, a throttling device, an evaporator and a water storage tank. Installed with a circulating water pump, the air energy water heater can greatly save electricity compared with the electric heating water heater. Because the circulating water pump is used to drive the water in the water storage tank to force circulation between the condenser and the water storage tank, the circulating water driven by the circulating water pump After entering the water tank, the stratified state of hot water and cold water in the water tank will be disturbed, and the compressor will stop working only when the water in the water tank needs to be heated to the set temperature as a whole. There is a lot of water in the water storage tank, and the power of the air source water heater is small. The air source water heater and the circulating water pump need to work for a long time to heat the whole tank of water, the heating speed is slow, and the equipment is easily damaged. In addition, since the heating working environment of the compressor is in the most unfavorable working condition of the heat pump, the power consumption is the largest, which cannot better reflect the energy-saving advantages of the air energy water heater.
发明内容 Contents of the invention
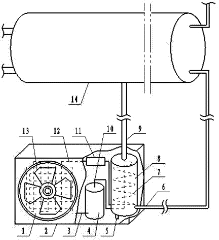
针对现有技术中,太阳能热水器水箱辅助补热系统采用电加热方式,存在电能消耗量大,使用成本高的问题,以及常用的空气能热水器采用循环水泵强制循环,每次工作需要将整箱水加热,存在循环水泵和压缩机工作时间过长,容易损坏的问题,本实用新型提供了一种顶水式太阳能热水器辅助空气能静态加热系统,其空气能加热系统由空气能热水器构成,空气能热水器主要由安装在外壳内的压缩机、冷凝器、节流装置和蒸发器构成,冷凝器内安装有冷凝盘管,冷凝盘管一端接压缩机的排气口,另一端接节流装置,蒸发器由风扇和蒸发盘管组成,蒸发盘管一端接节流装置另一端接压缩机的吸气口,风扇安装在蒸发盘管旁的外壳上,冷凝器底部装有排污管,空气能热水器安装在太阳能热水器水箱的下方,热水循环管一端安装在冷凝器上部,另一端连接在太阳能热水器水箱的中上部,冷水循环管一端安装冷凝器的下部,另一端连接太阳能热水器水箱的下部。 In view of the existing technology, the auxiliary heating system of the solar water heater water tank adopts the electric heating method, which has the problems of large power consumption and high use cost, and the commonly used air energy water heater adopts the forced circulation of the circulating water pump, and the whole tank of water needs to be pumped every time. Heating, there is the problem that the circulating water pump and compressor work for too long and are easy to be damaged. The utility model provides a top-water solar water heater auxiliary air energy static heating system. The air energy heating system is composed of an air energy water heater. The water heater is mainly composed of a compressor installed in the shell, a condenser, a throttling device and an evaporator. A condensing coil is installed in the condenser. One end of the condensing coil is connected to the exhaust port of the compressor, and the other end is connected to the throttling device. The evaporator is composed of a fan and an evaporating coil. One end of the evaporating coil is connected to the throttling device and the other end is connected to the suction port of the compressor. The fan is installed on the shell next to the evaporating coil. The bottom of the condenser is equipped with a sewage pipe. Installed below the solar water heater water tank, one end of the hot water circulation pipe is installed on the upper part of the condenser, the other end is connected to the middle and upper part of the solar water heater water tank, one end of the cold water circulation pipe is installed on the lower part of the condenser, and the other end is connected to the lower part of the solar water heater water tank.
采用本实用新型技术方案,空气能热水器安装在太阳能热水器保温水箱的下方,在阴雨天,当水箱中的温度低于设定温度时,空气能热水器开始工作,压缩机压缩冷媒介质,产生的高温冷媒经过冷凝盘管时将热量传递给冷凝器中的冷凝水,高温冷媒被冷却后经过节流装置,在蒸发盘管中吸热膨胀,从盘管外的空气中吸热,此时,风扇不断将蒸发盘管周围的冷空气吹走,将外界的新鲜空气吹入,提高蒸发盘管与空气的换热效率;在冷凝器中,冷凝管外的水在吸收了冷凝管中的热量后,温度升高,高温水自然上升,从冷凝器的热水循环管涌入太阳能保温水箱顶部,水箱中的低温水自然下沉,从冷凝器的冷水循环管流入冷凝器的下部,在保温水箱与冷凝器之间实现冷热水的自然循环,在冷热水的自然循环过程中,保温水箱顶部的水温不断升高,并且逐步增多,当水温达到使用温度时,空气能热水器停止工作。 Adopting the technical scheme of the utility model, the air energy water heater is installed under the heat preservation water tank of the solar water heater. On cloudy and rainy days, when the temperature in the water tank is lower than the set temperature, the air energy water heater starts to work, and the compressor compresses the cold medium, resulting in high temperature When the refrigerant passes through the condensing coil, it transfers heat to the condensed water in the condenser. After being cooled, the high-temperature refrigerant passes through the throttling device, absorbs heat and expands in the evaporating coil, and absorbs heat from the air outside the coil. At this time, the fan keeps Blow away the cold air around the evaporating coil and blow in fresh air from the outside to improve the heat exchange efficiency between the evaporating coil and the air; in the condenser, after the water outside the condensing tube absorbs the heat in the condensing tube, As the temperature rises, high-temperature water rises naturally, and flows from the hot water circulation pipe of the condenser into the top of the solar thermal insulation water tank. The natural circulation of cold and hot water is realized between the condensers. During the natural circulation of cold and hot water, the temperature of the water at the top of the thermal insulation tank continues to rise and gradually increases. When the water temperature reaches the operating temperature, the air source water heater stops working.
由于本实用新型将空气能热水器安装在太阳能热水器保温水箱的下方,依靠水箱中水的重力,保温水箱与冷凝器之间的水在温差的驱动下自然循环,从而取代了空气能热水器使用循环水泵强制冷热水循环的传统工作方式,循环水泵工作所需要的电能得到节约;设计温差的驱动下自然循环的热水首先进入保温水箱的上部,不对水箱内的水产生整体扰动,水箱内的水按温度分层的状态不变,水箱顶部聚集热水,可以从出水管中直接放出使用,因此本系统具有快速补充热水的功能;由于水箱在加热过程中,其中的水按温度保持分层排列,上层热水逐步增加,下层冷水逐步减少,可以在水箱中安装温度传感器,温度传感器在控制使用水温时,还可以通过温度传感器的安装位置来控制水箱内上层热水的水量,当水箱内的热水达到固定水量时,空气能热水器即可停止工作,这样就避免了空气能热水器需要将整箱水加热才能使用的情况,从而减少压缩机的工作时间,延长压缩机的使用寿命,使电能的损耗大大减小。 Because the utility model installs the air energy water heater under the thermal insulation water tank of the solar water heater, relying on the gravity of the water in the water tank, the water between the thermal insulation water tank and the condenser circulates naturally under the drive of the temperature difference, thereby replacing the air energy water heater with a circulating water pump The traditional working method of forced cold and hot water circulation saves the electric energy required for the circulating water pump; the hot water naturally circulated under the design temperature difference first enters the upper part of the thermal insulation water tank, and does not cause overall disturbance to the water in the water tank. The state of temperature stratification remains unchanged, and the hot water accumulated on the top of the water tank can be released directly from the outlet pipe for use, so this system has the function of quickly replenishing hot water; because the water in the water tank is kept in a layered arrangement according to the temperature during the heating process , the hot water in the upper layer gradually increases, and the cold water in the lower layer gradually decreases. A temperature sensor can be installed in the water tank. When the hot water reaches a fixed water volume, the air source water heater can stop working, which avoids the situation that the air source water heater needs to heat the whole tank of water before it can be used, thereby reducing the working time of the compressor, prolonging the service life of the compressor, and making the electric energy loss is greatly reduced.
附图说明 Description of drawings
图1为本实用新型实施例一的结构示意图。
Fig. 1 is a structural schematic diagram of
图2为本实用新型实施例二的结构示意图。
Fig. 2 is a schematic structural diagram of
具体实施方式 Detailed ways
实施例一:如图1所示,一种顶水式太阳能热水器辅助空气能静态加热系统,其空气能加热系统由空气能热水器构成,空气能热水器主要由安装在外壳2内的压缩机4、冷凝器8、节流装置11和蒸发器1构成,冷凝器8内安装有冷凝盘管7,冷凝盘管7一端接压缩机4的排气口10,另一端接节流装置11,蒸发器1由风扇13和蒸发盘管12组成,蒸发盘管12一端接节流装置11,另一端接压缩机4的吸气口3,风扇13安装在蒸发盘管12旁的外壳2上,冷凝器8底部装有排污管5,空气能热水器安装在太阳能热水器水箱14的下方,热水循环管9一端安装在冷凝器8上部,另一端连接在太阳能热水器水箱14的中上部,冷水循环管6一端安装冷凝器8的下部,另一端连接太阳能热水器水箱14的下部。太阳能热水器水箱13为家用太阳能热水器的圆柱形小型水箱。
Embodiment 1: As shown in Figure 1, a top-water solar water heater assists an air energy static heating system, and its air energy heating system is composed of an air energy water heater, and the air energy water heater is mainly composed of a compressor 4, A condenser 8, a
实施例二:如图2所示,实施例二的技术方案与实施例一基本一致,不同之外在于,实施例二中的太阳能热水器水箱为大型太阳能热水系统中使用的储水箱15,冷凝器8上的热水循环管9连接在储水箱15上部的太阳能热水系统上循环管16上。
Embodiment two: as shown in Figure 2, the technical scheme of embodiment two is basically consistent with embodiment one, and the difference is that the solar water heater water tank in embodiment two is the water storage tank 15 that uses in the large-scale solar water heating system, and condensation The hot
Claims (1)
Priority Applications (1)
| Application Number | Priority Date | Filing Date | Title |
|---|---|---|---|
| CN201220498893.3U CN202835831U (en) | 2012-09-28 | 2012-09-28 | Top water type solar water heater static air energy auxiliary heating system |
Applications Claiming Priority (1)
| Application Number | Priority Date | Filing Date | Title |
|---|---|---|---|
| CN201220498893.3U CN202835831U (en) | 2012-09-28 | 2012-09-28 | Top water type solar water heater static air energy auxiliary heating system |
Publications (1)
| Publication Number | Publication Date |
|---|---|
| CN202835831U true CN202835831U (en) | 2013-03-27 |
Family
ID=47947523
Family Applications (1)
| Application Number | Title | Priority Date | Filing Date |
|---|---|---|---|
| CN201220498893.3U Expired - Fee Related CN202835831U (en) | 2012-09-28 | 2012-09-28 | Top water type solar water heater static air energy auxiliary heating system |
Country Status (1)
| Country | Link |
|---|---|
| CN (1) | CN202835831U (en) |
Cited By (2)
| Publication number | Priority date | Publication date | Assignee | Title |
|---|---|---|---|---|
| WO2018184135A1 (en) * | 2017-04-04 | 2018-10-11 | 深圳市上羽科技有限公司 | Apparatus capable of performing heating in various climates |
| CN111637663A (en) * | 2020-05-18 | 2020-09-08 | 潘显富 | Air energy heating pump |
-
2012
- 2012-09-28 CN CN201220498893.3U patent/CN202835831U/en not_active Expired - Fee Related
Cited By (2)
| Publication number | Priority date | Publication date | Assignee | Title |
|---|---|---|---|---|
| WO2018184135A1 (en) * | 2017-04-04 | 2018-10-11 | 深圳市上羽科技有限公司 | Apparatus capable of performing heating in various climates |
| CN111637663A (en) * | 2020-05-18 | 2020-09-08 | 潘显富 | Air energy heating pump |
Similar Documents
| Publication | Publication Date | Title |
|---|---|---|
| CN103574916B (en) | Multimedium solar energy heating assisted heat pump system | |
| CN101498513B (en) | Integrated plate type solar heat pump water heating apparatus | |
| CN109114804A (en) | Photovoltaic-alternating current joint driving photovoltaic and photothermal integral double-source heat pump water heating system and its operation method | |
| CN201355133Y (en) | A hot water device combined with a solar water heating system and a heat pump | |
| CN101566410A (en) | Method and system for reducing frosting degree of air-source heat pump hot water unit in winter | |
| CN110160115A (en) | Double-source heat pump system | |
| CN111412702A (en) | Air-conditioning wind energy efficiency-enhancing defrosting device and efficiency-enhancing defrosting method | |
| CN204630050U (en) | Solar air source hot water unit | |
| CN105650944B (en) | The operation method of a kind of ground source answering system | |
| CN108006805A (en) | A kind of combination heating system of air energy heat pump and solar energy heat collector | |
| CN202835831U (en) | Top water type solar water heater static air energy auxiliary heating system | |
| CN203719000U (en) | Solar heating and cooling central air conditioning heating recovery system | |
| CN202008224U (en) | Directly-heated constant temperature type air energy water heater | |
| CN201715701U (en) | Solar heat pump water heater | |
| CN201382506Y (en) | Central air-conditioning system | |
| CN108826415A (en) | A kind of distribution luminous energy quadri-generation system | |
| CN204757451U (en) | Solar energy auxiliary type heat pump set | |
| CN109737637B (en) | Energy-saving system of lithium bromide absorption refrigerator | |
| CN107166804A (en) | Solar energy water resource and air resource air-conditioning water-heating dual-purpose unit | |
| CN2394139Y (en) | Solar and geothermal apparatus for supplying cold and hot water | |
| CN104075395B (en) | Water air-conditioning system with airflow cooler coupled with phase-change radiator | |
| CN106524590A (en) | Energy storage type air source heat pump cooling and heating unit | |
| CN102128494A (en) | Directly-heated constant-temperature air-powered water heater | |
| CN207350614U (en) | A kind of solar heat pump multi-generation system | |
| CN112539558A (en) | Fuel cell hot water system and water heater |
Legal Events
| Date | Code | Title | Description |
|---|---|---|---|
| C14 | Grant of patent or utility model | ||
| GR01 | Patent grant | ||
| CF01 | Termination of patent right due to non-payment of annual fee |
Granted publication date: 20130327 Termination date: 20200928 |
|
| CF01 | Termination of patent right due to non-payment of annual fee |
