CN202828635U - a trash can - Google Patents
a trash can Download PDFInfo
- Publication number
- CN202828635U CN202828635U CN201220552708.4U CN201220552708U CN202828635U CN 202828635 U CN202828635 U CN 202828635U CN 201220552708 U CN201220552708 U CN 201220552708U CN 202828635 U CN202828635 U CN 202828635U
- Authority
- CN
- China
- Prior art keywords
- barrel body
- garbage
- trash
- utility
- model
- Prior art date
- Legal status (The legal status is an assumption and is not a legal conclusion. Google has not performed a legal analysis and makes no representation as to the accuracy of the status listed.)
- Expired - Fee Related
Links
- 239000010813 municipal solid waste Substances 0.000 title abstract description 39
- 238000001914 filtration Methods 0.000 claims 1
- 239000010865 sewage Substances 0.000 claims 1
- 239000007788 liquid Substances 0.000 abstract description 12
- 239000007787 solid Substances 0.000 abstract description 8
- 238000004140 cleaning Methods 0.000 abstract description 3
- 230000009286 beneficial effect Effects 0.000 abstract description 2
- 239000002910 solid waste Substances 0.000 description 3
- 239000010808 liquid waste Substances 0.000 description 2
- 230000003670 easy-to-clean Effects 0.000 description 1
- 238000000034 method Methods 0.000 description 1
- 238000000926 separation method Methods 0.000 description 1
Images
Classifications
-
- Y—GENERAL TAGGING OF NEW TECHNOLOGICAL DEVELOPMENTS; GENERAL TAGGING OF CROSS-SECTIONAL TECHNOLOGIES SPANNING OVER SEVERAL SECTIONS OF THE IPC; TECHNICAL SUBJECTS COVERED BY FORMER USPC CROSS-REFERENCE ART COLLECTIONS [XRACs] AND DIGESTS
- Y02—TECHNOLOGIES OR APPLICATIONS FOR MITIGATION OR ADAPTATION AGAINST CLIMATE CHANGE
- Y02W—CLIMATE CHANGE MITIGATION TECHNOLOGIES RELATED TO WASTEWATER TREATMENT OR WASTE MANAGEMENT
- Y02W30/00—Technologies for solid waste management
- Y02W30/10—Waste collection, transportation, transfer or storage, e.g. segregated refuse collecting, electric or hybrid propulsion
Landscapes
- Processing Of Solid Wastes (AREA)
Abstract
本实用新型公开了一种垃圾桶,包括圆柱形的桶体,桶体的中部固定有一个圆环状的水平放置的挡块,挡块的上方放置有一个过滤网,桶体的底部设有一个排水管,排水管上设有一个排水开关,桶体的顶部设有一个提手。本实用新型取得的有益效果是:(1)结构简单;(2)能自动实现固体垃圾和液体垃圾的分类放置,因而在清理垃圾桶的时候,非常方便;(3)桶体的底部设有一个排水管,所述排水管上设有一个排水开关,因而便于排放液体垃圾;(4)桶体的顶部设有一个提手,便于提起和携带垃圾桶。
The utility model discloses a trash can, which comprises a cylindrical barrel body, a ring-shaped horizontally placed stopper is fixed in the middle of the barrel body, a filter screen is placed above the stopper, and the bottom of the barrel body is provided with A drain pipe is provided with a drain switch and a handle is provided on the top of the bucket body. The beneficial effects obtained by the utility model are: (1) the structure is simple; (2) the classification and placement of solid garbage and liquid garbage can be automatically realized, so it is very convenient when cleaning the trash can; (3) the bottom of the barrel body is equipped with A drainpipe, said drainpipe is provided with a drain switch, thus is convenient to discharge liquid rubbish; (4) the top of staving is provided with a handle, is convenient to lift and carry rubbish bin.
Description
技术领域 technical field
本实用新型涉及一种日常生活用品,特别是一种垃圾桶。The utility model relates to a daily necessities, in particular to a trash can.
背景技术 Background technique
目前,现有的垃圾桶只适合存放固体垃圾,不适合存放液体垃圾,若将固体垃圾和液体垃圾都倒入同一个垃圾桶中,由于其不能自动将固体垃圾和液体垃圾分开,因而清理的时候,非常困难。At present, the existing garbage cans are only suitable for storing solid garbage, not for storing liquid garbage. If both solid garbage and liquid garbage are poured into the same garbage can, since it cannot automatically separate solid garbage and liquid garbage, it will take a long time to clean up. time, very difficult.
发明内容 Contents of the invention
本实用新型要解决的问题是:提供一种结构简单、能将固体垃圾和液体垃圾分开放置因而便于清理的垃圾桶。The problem to be solved by the utility model is to provide a garbage can with simple structure, which can separate solid garbage and liquid garbage and thus is easy to clean.
为了解决上述技术问题,本实用新型的垃圾桶,包括圆柱形的桶体,所述桶体的中部固定有一个圆环状的水平放置的挡块,所述挡块的上方放置有一个过滤网,所述桶体的底部设有一个排水管,所述排水管上设有一个排水开关,所述桶体的顶部设有一个提手。In order to solve the above-mentioned technical problems, the trash can of the present utility model includes a cylindrical barrel body, a ring-shaped horizontal stopper is fixed in the middle of the barrel body, and a filter screen is placed above the stopper , the bottom of the barrel is provided with a drainpipe, the drainpipe is provided with a drain switch, and the top of the barrel is provided with a handle.
本实用新型取得的有益效果是:(1)结构简单;(2)桶体的中部固定有一个圆环状的水平放置的挡块,挡块的上方放置有一个过滤网,即使将液体垃圾和固体垃圾混合倒入桶体中,过滤网会将固体垃圾拦截在过滤网上方的桶体中,液体垃圾则会流过过滤网存放在过滤网下方的桶体中,从而自动实现固体垃圾和液体垃圾的分类放置,因而在清理垃圾桶的时候,非常方便;(3)桶体的底部设有一个排水管,所述排水管上设有一个排水开关,因而便于排放液体垃圾;(4)桶体的顶部设有一个提手,便于提起和携带垃圾桶。The beneficial effects obtained by the utility model are: (1) the structure is simple; (2) a ring-shaped horizontally placed stopper is fixed in the middle of the barrel, and a filter screen is placed above the stopper, even if the liquid garbage and The solid waste is mixed and poured into the barrel, the filter screen will intercept the solid waste in the barrel above the filter screen, and the liquid waste will flow through the filter screen and be stored in the barrel body below the filter screen, thus automatically realizing the separation of solid waste and liquid waste. Garbage is sorted and placed, so it is very convenient when cleaning the trash can; (3) the bottom of the barrel body is provided with a drainpipe, and the drainpipe is provided with a drain switch, thus facilitating the discharge of liquid garbage; (4) the barrel There is a handle on the top of the body for easy lifting and carrying of the trash can.
附图说明 Description of drawings
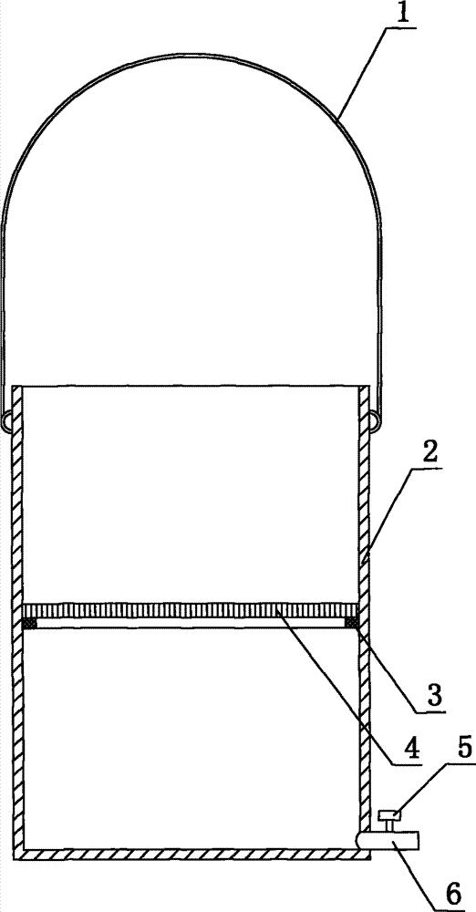
图1是本实用新型的结构示意图。Fig. 1 is the structural representation of the utility model.
图中:1、提手,2、桶体,3、挡块,4、过滤网,5、排水开关,6、排水管。Among the figure: 1. handle, 2. bucket body, 3. block, 4. filter screen, 5. drain switch, 6. drain pipe.
具体实施方式 Detailed ways
如图1所示,本实用新型的垃圾桶,包括圆柱形的桶体2,所述桶体2的中部固定有一个圆环状的水平放置的挡块3,所述挡块3的上方放置有一个过滤网4,所述桶体2的底部设有一个排水管6,所述排水管6上设有一个排水开关5,所述桶体2的顶部设有一个提手1。As shown in Figure 1, the trash can of the present utility model comprises a cylindrical barrel body 2, a ring-shaped horizontally placed stopper 3 is fixed in the middle of the barrel body 2, and the top of the stopper 3 is placed There is a
具体使用的时候,若倒入桶体2的垃圾为固体垃圾,则固体垃圾会被过滤网4拦截在过滤网4上方的桶体2中,若倒入桶体2的垃圾为液体垃圾,则液体垃圾会流过过滤网4存放在过滤网4下方的桶体2中,从而自动实现固体垃圾和液体垃圾的分类放置,因而在清理垃圾桶的时候,非常方便。During specific use, if the garbage poured into the barrel body 2 is solid garbage, the solid garbage will be intercepted by the
本实用新型的垃圾桶,桶体2的底部设有一个排水管6,所述排水管6上设有一个排水开关5,因而便于排放液体垃圾。In the trash can of the present utility model, the bottom of the barrel body 2 is provided with a
本实用新型的垃圾桶,桶体2的顶部设有一个提手1,便于提起和携带垃圾桶。In the trash can of the present utility model, a handle 1 is provided on the top of the barrel body 2, which is convenient for lifting and carrying the trash can.
本实用新型不局限于上述实施方式,任何人应得知在本实用新型的启示下作出的结构变化,凡是与本实用新型具有相同或相近的技术方案,均落入本实用新型的保护范围之内。The utility model is not limited to the above-mentioned embodiment, anyone should know that the structural changes made under the enlightenment of the utility model, all technical solutions that are the same as or similar to the utility model, all fall within the scope of protection of the utility model Inside.
Claims (1)
Priority Applications (1)
| Application Number | Priority Date | Filing Date | Title |
|---|---|---|---|
| CN201220552708.4U CN202828635U (en) | 2012-10-11 | 2012-10-11 | a trash can |
Applications Claiming Priority (1)
| Application Number | Priority Date | Filing Date | Title |
|---|---|---|---|
| CN201220552708.4U CN202828635U (en) | 2012-10-11 | 2012-10-11 | a trash can |
Publications (1)
| Publication Number | Publication Date |
|---|---|
| CN202828635U true CN202828635U (en) | 2013-03-27 |
Family
ID=47940396
Family Applications (1)
| Application Number | Title | Priority Date | Filing Date |
|---|---|---|---|
| CN201220552708.4U Expired - Fee Related CN202828635U (en) | 2012-10-11 | 2012-10-11 | a trash can |
Country Status (1)
| Country | Link |
|---|---|
| CN (1) | CN202828635U (en) |
Cited By (3)
| Publication number | Priority date | Publication date | Assignee | Title |
|---|---|---|---|---|
| CN103910156A (en) * | 2014-03-31 | 2014-07-09 | 叶新 | Trash bin |
| CN105966810A (en) * | 2016-06-15 | 2016-09-28 | 安徽省绿巨人环境技术有限公司 | Garbage cleaning device |
| CN107472740A (en) * | 2017-08-06 | 2017-12-15 | 合肥千奴信息科技有限公司 | A kind of energy saving and environment friendly community garbage disposal case |
-
2012
- 2012-10-11 CN CN201220552708.4U patent/CN202828635U/en not_active Expired - Fee Related
Cited By (3)
| Publication number | Priority date | Publication date | Assignee | Title |
|---|---|---|---|---|
| CN103910156A (en) * | 2014-03-31 | 2014-07-09 | 叶新 | Trash bin |
| CN105966810A (en) * | 2016-06-15 | 2016-09-28 | 安徽省绿巨人环境技术有限公司 | Garbage cleaning device |
| CN107472740A (en) * | 2017-08-06 | 2017-12-15 | 合肥千奴信息科技有限公司 | A kind of energy saving and environment friendly community garbage disposal case |
Similar Documents
| Publication | Publication Date | Title |
|---|---|---|
| CN205686954U (en) | A kind of Multifunctional solid-liquid separating of garbage case | |
| CN202828635U (en) | a trash can | |
| CN202379349U (en) | Solid-liquid separation garbage can | |
| CN201729446U (en) | Clean garbage can | |
| CN102961917A (en) | Pipeline filter pipe | |
| CN201942227U (en) | Convenient garbage can | |
| CN202098757U (en) | Layering garbage can | |
| CN201961763U (en) | Trash can convenient for discharging sewage | |
| CN202358558U (en) | Separated dustbin | |
| CN202864165U (en) | Multifunctional unpowered oil water separation trash can | |
| CN203699090U (en) | Dry and wet dual-purpose garbage can | |
| CN204660530U (en) | A kind of sewage disposer for collecting tealeaves | |
| CN202897261U (en) | Draining garbage bin | |
| CN201980646U (en) | Garbage can | |
| CN204368831U (en) | A kind of garbage truck box body back door with filtering and draining device | |
| CN211472732U (en) | A wet garbage disposal equipment | |
| CN202346242U (en) | a trash can | |
| CN202765644U (en) | Layered trash can | |
| CN202337498U (en) | a trash can | |
| CN203268764U (en) | Trash can | |
| CN105692005A (en) | Novel solid-liquid separation trash can | |
| CN203111890U (en) | Convenient dustbin | |
| CN203924248U (en) | Water collector | |
| CN202625078U (en) | Novel garbage can | |
| CN203921499U (en) | A kind of large capacity Anti-spill waste collecting device |
Legal Events
| Date | Code | Title | Description |
|---|---|---|---|
| C14 | Grant of patent or utility model | ||
| GR01 | Patent grant | ||
| C17 | Cessation of patent right | ||
| CF01 | Termination of patent right due to non-payment of annual fee |
Granted publication date: 20130327 Termination date: 20131011 |
