CN202791812U - Car light and leaded light strip structure thereof - Google Patents
Car light and leaded light strip structure thereof Download PDFInfo
- Publication number
- CN202791812U CN202791812U CN2012204035650U CN201220403565U CN202791812U CN 202791812 U CN202791812 U CN 202791812U CN 2012204035650 U CN2012204035650 U CN 2012204035650U CN 201220403565 U CN201220403565 U CN 201220403565U CN 202791812 U CN202791812 U CN 202791812U
- Authority
- CN
- China
- Prior art keywords
- light guide
- light
- strip structure
- groove
- guide strip
- Prior art date
- Legal status (The legal status is an assumption and is not a legal conclusion. Google has not performed a legal analysis and makes no representation as to the accuracy of the status listed.)
- Expired - Fee Related
Links
- 238000005192 partition Methods 0.000 claims abstract description 16
- 239000007787 solid Substances 0.000 claims abstract description 5
- 230000000694 effects Effects 0.000 abstract description 7
- 238000004519 manufacturing process Methods 0.000 abstract description 3
- 206010039203 Road traffic accident Diseases 0.000 description 3
- 239000012141 concentrate Substances 0.000 description 3
- 239000003973 paint Substances 0.000 description 2
- 230000004308 accommodation Effects 0.000 description 1
- 238000010586 diagram Methods 0.000 description 1
- 230000002708 enhancing effect Effects 0.000 description 1
- 238000009434 installation Methods 0.000 description 1
- 239000004922 lacquer Substances 0.000 description 1
- 238000000034 method Methods 0.000 description 1
- 238000012986 modification Methods 0.000 description 1
- 230000004048 modification Effects 0.000 description 1
- 230000003287 optical effect Effects 0.000 description 1
- 239000007921 spray Substances 0.000 description 1
Images
Classifications
-
- B—PERFORMING OPERATIONS; TRANSPORTING
- B60—VEHICLES IN GENERAL
- B60Q—ARRANGEMENT OF SIGNALLING OR LIGHTING DEVICES, THE MOUNTING OR SUPPORTING THEREOF OR CIRCUITS THEREFOR, FOR VEHICLES IN GENERAL
- B60Q1/00—Arrangement of optical signalling or lighting devices, the mounting or supporting thereof or circuits therefor
- B60Q1/02—Arrangement of optical signalling or lighting devices, the mounting or supporting thereof or circuits therefor the devices being primarily intended to illuminate the way ahead or to illuminate other areas of way or environments
- B60Q1/04—Arrangement of optical signalling or lighting devices, the mounting or supporting thereof or circuits therefor the devices being primarily intended to illuminate the way ahead or to illuminate other areas of way or environments the devices being headlights
- B60Q1/18—Arrangement of optical signalling or lighting devices, the mounting or supporting thereof or circuits therefor the devices being primarily intended to illuminate the way ahead or to illuminate other areas of way or environments the devices being headlights being additional front lights
-
- F—MECHANICAL ENGINEERING; LIGHTING; HEATING; WEAPONS; BLASTING
- F21—LIGHTING
- F21S—NON-PORTABLE LIGHTING DEVICES; SYSTEMS THEREOF; VEHICLE LIGHTING DEVICES SPECIALLY ADAPTED FOR VEHICLE EXTERIORS
- F21S43/00—Signalling devices specially adapted for vehicle exteriors, e.g. brake lamps, direction indicator lights or reversing lights
- F21S43/10—Signalling devices specially adapted for vehicle exteriors, e.g. brake lamps, direction indicator lights or reversing lights characterised by the light source
- F21S43/13—Signalling devices specially adapted for vehicle exteriors, e.g. brake lamps, direction indicator lights or reversing lights characterised by the light source characterised by the type of light source
- F21S43/14—Light emitting diodes [LED]
-
- F—MECHANICAL ENGINEERING; LIGHTING; HEATING; WEAPONS; BLASTING
- F21—LIGHTING
- F21S—NON-PORTABLE LIGHTING DEVICES; SYSTEMS THEREOF; VEHICLE LIGHTING DEVICES SPECIALLY ADAPTED FOR VEHICLE EXTERIORS
- F21S43/00—Signalling devices specially adapted for vehicle exteriors, e.g. brake lamps, direction indicator lights or reversing lights
- F21S43/20—Signalling devices specially adapted for vehicle exteriors, e.g. brake lamps, direction indicator lights or reversing lights characterised by refractors, transparent cover plates, light guides or filters
- F21S43/235—Light guides
- F21S43/236—Light guides characterised by the shape of the light guide
- F21S43/237—Light guides characterised by the shape of the light guide rod-shaped
-
- F—MECHANICAL ENGINEERING; LIGHTING; HEATING; WEAPONS; BLASTING
- F21—LIGHTING
- F21S—NON-PORTABLE LIGHTING DEVICES; SYSTEMS THEREOF; VEHICLE LIGHTING DEVICES SPECIALLY ADAPTED FOR VEHICLE EXTERIORS
- F21S43/00—Signalling devices specially adapted for vehicle exteriors, e.g. brake lamps, direction indicator lights or reversing lights
- F21S43/20—Signalling devices specially adapted for vehicle exteriors, e.g. brake lamps, direction indicator lights or reversing lights characterised by refractors, transparent cover plates, light guides or filters
- F21S43/235—Light guides
- F21S43/242—Light guides characterised by the emission area
- F21S43/245—Light guides characterised by the emission area emitting light from one or more of its major surfaces
-
- F—MECHANICAL ENGINEERING; LIGHTING; HEATING; WEAPONS; BLASTING
- F21—LIGHTING
- F21S—NON-PORTABLE LIGHTING DEVICES; SYSTEMS THEREOF; VEHICLE LIGHTING DEVICES SPECIALLY ADAPTED FOR VEHICLE EXTERIORS
- F21S43/00—Signalling devices specially adapted for vehicle exteriors, e.g. brake lamps, direction indicator lights or reversing lights
- F21S43/20—Signalling devices specially adapted for vehicle exteriors, e.g. brake lamps, direction indicator lights or reversing lights characterised by refractors, transparent cover plates, light guides or filters
- F21S43/235—Light guides
- F21S43/249—Light guides with two or more light sources being coupled into the light guide
-
- G—PHYSICS
- G02—OPTICS
- G02B—OPTICAL ELEMENTS, SYSTEMS OR APPARATUS
- G02B6/00—Light guides; Structural details of arrangements comprising light guides and other optical elements, e.g. couplings
- G02B6/0001—Light guides; Structural details of arrangements comprising light guides and other optical elements, e.g. couplings specially adapted for lighting devices or systems
- G02B6/0005—Light guides; Structural details of arrangements comprising light guides and other optical elements, e.g. couplings specially adapted for lighting devices or systems the light guides being of the fibre type
- G02B6/001—Light guides; Structural details of arrangements comprising light guides and other optical elements, e.g. couplings specially adapted for lighting devices or systems the light guides being of the fibre type the light being emitted along at least a portion of the lateral surface of the fibre
-
- B—PERFORMING OPERATIONS; TRANSPORTING
- B60—VEHICLES IN GENERAL
- B60Q—ARRANGEMENT OF SIGNALLING OR LIGHTING DEVICES, THE MOUNTING OR SUPPORTING THEREOF OR CIRCUITS THEREFOR, FOR VEHICLES IN GENERAL
- B60Q2400/00—Special features or arrangements of exterior signal lamps for vehicles
- B60Q2400/30—Daytime running lights [DRL], e.g. circuits or arrangements therefor
Landscapes
- Engineering & Computer Science (AREA)
- General Engineering & Computer Science (AREA)
- Physics & Mathematics (AREA)
- Optics & Photonics (AREA)
- Microelectronics & Electronic Packaging (AREA)
- General Physics & Mathematics (AREA)
- Mechanical Engineering (AREA)
- Non-Portable Lighting Devices Or Systems Thereof (AREA)
- Planar Illumination Modules (AREA)
Abstract
本实用新型为一种车灯及其导光条结构,解决导旋光性不佳且需使用较多的LED照射造成制造成本增加的缺点,其包含一车灯本体,设有至少一凹槽,该车灯本体上方设有一隔板,包含两透孔连通该凹槽两端;多个LED,对应设置于该透孔上方;至少一导光体,嵌设于该凹槽并穿设于前述隔板的透孔,该导光体截面呈现梯形的实心柱体且设有一底面,其相邻设有一第一侧面及一第二侧面,前述第一侧面及第二侧面并连接一前柱面,该底面与该第一侧面的夹角,及该底面与该第二侧面的夹角,均介于60°至89°之间,达到使用较少的LED即可使导光条均匀发光且导旋光性更佳的功效。
The utility model is a car lamp and its light guide strip structure, which solves the disadvantages of poor light guide and increased manufacturing cost due to the need to use more LEDs for irradiation. It includes a car lamp body and is provided with at least one groove. A partition is provided above the car light body, including two through holes connecting both ends of the groove; a plurality of LEDs are correspondingly arranged above the through holes; at least one light guide is embedded in the groove and penetrates the aforementioned Through the through hole of the partition, the light guide is a solid cylinder with a trapezoidal cross-section and is provided with a bottom surface. It is provided with a first side and a second side adjacent to each other. The first side and the second side are connected to a front cylinder. , the angle between the bottom surface and the first side, and the angle between the bottom surface and the second side are both between 60° and 89°, so that less LEDs can be used to make the light guide strip emit uniform light and Better light guiding effect.
Description
技术领域 technical field
本实用新型涉及照明领域,尤指一种车灯及其导光条结构。 The utility model relates to the lighting field, in particular to a vehicle lamp and a light guide strip structure thereof.
背景技术 Background technique
习知的车灯及其导光条结构如中国台湾专利公报第M415839号“车用U形导光结构及车灯装置”,其为一种车用U形导光结构及车灯装置,用以提供昼行灯设计并节省所需要的装置空间,达到昼行灯造型与昼行灯功能得以兼具的设计要求,其包含一U形雾化导光体、一形成于该U形雾化导光体内的U形容置空间、以及一对应且连通于该U形容置空间的U形入光口。具有该车用U形导光结构的车灯装置可以将发光二极体群设置于该车用U形导光结构内以达成昼行灯的功能,有别于传统环状昼行灯,可大幅减少昼行灯在车灯装置内所占的容置空间,使车灯装置的造型具有更高的实用新型自由度,兼具昼行灯功能与提升设计感的目的。 Known car lights and their light guide strip structures are such as China Taiwan Patent Publication No. M415839 "U-shaped light guide structure and car light device for vehicles", which is a U-shaped light guide structure and car light device for vehicles. In order to provide the design of daytime running lights and save the required installation space, and meet the design requirements of both the shape of the daytime running lights and the function of the daytime running lights, it includes a U-shaped atomized light guide and a U-shaped atomized light guide formed in the U-shaped atomized light guide. a storage space, and a U-shaped light entrance corresponding to and connected to the U-shaped storage space. The car light device with the U-shaped light guide structure for vehicles can set the light-emitting diode group in the U-shaped light guide structure for vehicles to achieve the function of daytime running lights. The storage space occupied by the car light device enables the shape of the car light device to have a higher degree of freedom in utility models, and has both the function of daytime running lights and the purpose of enhancing the sense of design.
上述前案虽可大幅减少昼行灯在车灯装置内所占的容置空间,使车灯装置的造型具有更高的实用新型自由度,但该U形雾化导光体的导旋光性不佳,需使用较多的LED照射才能使该U形雾化导光体均匀发光以达到昼行灯的功效,造成制造成本增加且该U形雾化导光体导旋光性不佳缺点。 Although the above-mentioned previous proposal can greatly reduce the accommodation space occupied by the daytime running lights in the car light device, so that the shape of the car light device has a higher degree of utility model freedom, but the U-shaped atomized light guide has poor light-guiding performance However, more LEDs are needed to illuminate the U-shaped atomized light guide to make the U-shaped atomized light guide uniformly emit light to achieve the effect of daytime running lights, which results in increased manufacturing costs and the disadvantages of poor optical rotation of the U-shaped atomized light guide.
实用新型内容 Utility model content
本实用新型的目的在于提供一种车灯及其导光条结构,达到使用较少的LED即可使导光条均匀发光且导旋光性更佳的功效。 The purpose of the utility model is to provide a car lamp and its light guide strip structure, which can make the light guide strip emit light uniformly and have better light guiding performance by using fewer LEDs.
为达上述目的,本实用新型的解决方案是: For reaching above-mentioned purpose, the solution of the present utility model is:
一种导光条结构,包含: A light guide strip structure, comprising:
一导光体,其为一实心柱体,该导光体的任一截面均包括有一底面,所述的底面各相邻设有一第一侧面及一第二侧面,所述第一侧面及所述第二侧面并连接一前柱面。 A light guide, which is a solid cylinder, any cross-section of the light guide includes a bottom surface, and each of the bottom surfaces is adjacently provided with a first side and a second side, the first side and the The second side is connected to a front cylinder.
所述的导光体截面呈梯形。 The cross-section of the light guide is trapezoidal.
所述的导光体为具有弯曲型态的U字形。 The light guide body is U-shaped with a curved shape.
所述的底面与第一侧面的夹角,及底面与第二侧面的夹角,均介于60°至89°之间。 The angle between the bottom surface and the first side surface, and the angle between the bottom surface and the second side surface are both between 60° and 89°.
所述的前柱面为一弧形曲面。 The front cylinder is an arc surface.
所述的底面设有一反射层。 The bottom surface is provided with a reflective layer.
所述的底面设有多个定位件,且所述定位件各设有一定位孔。 The bottom surface is provided with a plurality of positioning pieces, and each of the positioning pieces is provided with a positioning hole.
一种应用上述导光条结构的车灯,包含: A car lamp using the above-mentioned light guide strip structure, comprising:
一车灯本体,设有至少一凹槽,该车灯本体上方设有一隔板,该隔板包含两透孔,并以所述透孔连通所述凹槽的两端; A car light body is provided with at least one groove, and a partition plate is provided above the car light body, and the partition plate includes two through holes, and the two ends of the groove are connected through the through holes;
多个LED,对应设置于所述隔板的透孔的上方; A plurality of LEDs are correspondingly arranged above the through holes of the partition;
至少一所述的导光体,嵌设于所述凹槽,所述导光体的两端并穿设于所述隔板的透孔。 At least one of the light guides is embedded in the groove, and the two ends of the light guide pass through the through holes of the partition.
所述凹槽设有对应所述导光条的定位件的多个嵌孔。 The groove is provided with a plurality of embedded holes corresponding to the positioning parts of the light guide strip.
所述凹槽设有一反射层。 The groove is provided with a reflective layer.
本实用新型的功效在于: Effect of the present utility model is:
1、本实用新型为截面呈现梯形的实心柱体,可将光源集中,增加其亮度,且只需于该导光体的两端上方各装设一LED,即可将LED光源均匀传导至该导光体整体,以较少数量的LED达到相同的发光效果,达到节省制造成本且导旋光性更佳的功效。 1. The utility model is a solid cylinder with a trapezoidal cross-section, which can concentrate the light source and increase its brightness, and only need to install an LED on each of the two ends of the light guide to uniformly transmit the LED light source to the The whole light guide body achieves the same luminous effect with a smaller number of LEDs, and achieves the effect of saving manufacturing costs and better light-guiding performance.
2、本实用新型可使车辆于白天行驶时达到警示效果,更容易引起行经的行人或车辆的注意,可减少交通事故发生的机率。 2. The utility model can make the vehicle achieve a warning effect when driving in the daytime, which is more likely to attract the attention of passing pedestrians or vehicles, and can reduce the probability of traffic accidents.
附图说明 Description of drawings
图1为本实用新型的导光条的立体示意图; Fig. 1 is a three-dimensional schematic diagram of a light guide strip of the present invention;
图2为本实用新型的导光条的俯视图; Fig. 2 is a top view of the light guide strip of the present invention;
图3为本实用新型的导光条的后视图; Fig. 3 is the rear view of the light guide strip of the present invention;
图4为本实用新型的导光条嵌设于车灯的凹槽的剖面图; Fig. 4 is a cross-sectional view of the light guide strip of the present invention embedded in the groove of the car lamp;
图5为本实用新型的导光条为弧形曲面的俯视图。 Fig. 5 is a top view of the light guide strip of the present invention as an arc-shaped curved surface.
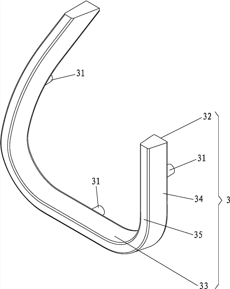
【主要组件符号说明】 [Description of main component symbols]
1 车灯本体 11 凹槽 1 Headlight Body 11 Groove
111 嵌孔 112 反射层
111 Embedded
12 隔板 121 透孔
12
2 LED 3 、3A 导光体
2
31、31A 定位件 311 定位孔
31,
32、32A 底面 33、33A 第一侧面
32,
34、34A 第二侧面 35 前柱面
34, 34A
35A 前柱面弧形曲面 A 螺钉。 35A Front Cylinder Curved Surface A Screw.
具体实施方式 Detailed ways
为了进一步解释本实用新型的技术方案,下面通过具体实施例来对本实用新型进行详细阐述。 In order to further explain the technical solution of the utility model, the utility model is described in detail through specific examples below.
本实用新型的车灯及其导光条结构的第一较佳实施例,请参阅图1至5图所示,包含一车灯本体1,设有一凹槽11,该凹槽11设有多个嵌孔111及一反射层112,在本实施例中,该反射层112为白漆,该车灯本体1上方设有一隔板12,该隔板12包含两透孔121,并以前述透孔121连通该凹槽11的两端;多个LED2,对应设置于该隔板12的透孔121的上方;一导光体3,嵌设于该凹槽11,请参阅图1及图2所示,在本实施例中,该导光体3为U字形且截面呈梯形的具有弯曲形态的实心柱体,前述导光体3设有对应于前述凹槽11的嵌孔111的多个定位件31,请参阅图3所示,前述定位件31设有一定位孔311,前述导光体3的两端并穿设于前述隔板12的透孔121,该导光体3的任一截面均包括一底面32,该底面32相邻设有一第一侧面33及一第二侧面34,前述第一侧面33及第二侧面34并连接一前柱面35,且该底面32与该第一侧面33的夹角,及该底面32与该第二侧面34的夹角,均介于60°至89°之间。
The first preferred embodiment of the vehicle lamp and its light guide strip structure of the present utility model, please refer to Figs. An
使用时,将前述导光体3的两端穿设于前述隔板12的透孔121,请参阅图4所示,并将前述导光体3的定位件31嵌入对应的该车灯本体1的凹槽11的嵌孔,并以一螺钉A锁入前述定位件31的定位孔311中,使前述导光体3固设于该凹槽11上,于车辆发动的同时点亮前述LED2,使前述LED2输出一光源,前述导光体3的两端接收前述LED2输出的光源,再将所接收的光源均匀传导至前述导光体1整体,使其呈现均匀的亮度,且该底面32与该第一侧面33的夹角,及该底面32与该第二侧面34的夹角,均介于60°至89°之间,可将光线集中增加其亮度,再于该凹槽11喷涂白漆当作一反射层112,亦可将白漆喷涂于该导光体3的底面32,使前述导光体3输出一较佳亮度,可更容易吸引行经的行人及车辆的注意力,达到减少交通事故发生机率的功效。
When in use, the two ends of the
请参阅图5所示,本实用新型的车灯及其导光条结构的第二较佳实施例与第一较佳实施例的差别在于前述导光体的前柱面35A为一弧形曲面,车辆发动的同时点亮前述LED2,使前述LED2输出一光源,前述导光体3A的两端接收前述LED2输出的光源,再将所接收的光源均匀传导至前述导光体3A整体,使其呈现均匀的亮度,且该底面32A与该第一侧面33A的夹角,及该底面32A与该第二侧面34A的夹角,均介于60°至89°之间,可将光线集中增加其亮度,再藉由该前柱面35A的弧形曲面扩大光线照射范围,更能吸引行经的行人及车辆的注意力,减少交通事故发生机率。
Please refer to Fig. 5, the difference between the second preferred embodiment of the vehicle lamp and its light guide strip structure of the present invention and the first preferred embodiment is that the front
上述实施例和图式并非限定本实用新型的产品形态和式样,任何所属技术领域的普通技术人员对其所做的适当变化或修饰,皆应视为不脱离本实用新型的专利范畴。 The above-mentioned embodiments and drawings do not limit the product form and style of the present utility model, and any appropriate changes or modifications made by those skilled in the art should be considered as not departing from the patent scope of the present utility model.
Claims (10)
Applications Claiming Priority (2)
| Application Number | Priority Date | Filing Date | Title |
|---|---|---|---|
| TW101206390U TWM436006U (en) | 2012-04-09 | 2012-04-09 | Car lamp and light guide bar structure |
| TW101206390 | 2012-04-09 |
Publications (1)
| Publication Number | Publication Date |
|---|---|
| CN202791812U true CN202791812U (en) | 2013-03-13 |
Family
ID=46832066
Family Applications (1)
| Application Number | Title | Priority Date | Filing Date |
|---|---|---|---|
| CN2012204035650U Expired - Fee Related CN202791812U (en) | 2012-04-09 | 2012-08-15 | Car light and leaded light strip structure thereof |
Country Status (3)
| Country | Link |
|---|---|
| CN (1) | CN202791812U (en) |
| DE (1) | DE202012102058U1 (en) |
| TW (1) | TWM436006U (en) |
Cited By (5)
| Publication number | Priority date | Publication date | Assignee | Title |
|---|---|---|---|---|
| CN105351858A (en) * | 2015-12-05 | 2016-02-24 | 芜湖安瑞光电有限公司 | Automotive headlamp with good safety |
| CN105351857A (en) * | 2015-12-05 | 2016-02-24 | 芜湖安瑞光电有限公司 | Automotive headlamp |
| CN105351859A (en) * | 2015-12-05 | 2016-02-24 | 芜湖安瑞光电有限公司 | Automotive headlamp with good safety and attractive modeling |
| CN105785497A (en) * | 2016-03-18 | 2016-07-20 | 东莞名将电机配件有限公司 | Automobile daytime running lamp light guide strip and preparation method thereof |
| CN108302451A (en) * | 2016-09-29 | 2018-07-20 | 长城汽车股份有限公司 | Lamps and lanterns and headlamp |
Families Citing this family (2)
| Publication number | Priority date | Publication date | Assignee | Title |
|---|---|---|---|---|
| JP6164832B2 (en) * | 2012-12-19 | 2017-07-19 | 株式会社小糸製作所 | Light guide and lighting device |
| FR3078561B1 (en) * | 2018-03-02 | 2025-11-14 | Psa Automobiles Sa | VEHICLE LIGHTING DEVICE, WITH FRONT-END LIGHT GUIDE WITH SPATIAL PHOTON DISTRIBUTION. |
Family Cites Families (1)
| Publication number | Priority date | Publication date | Assignee | Title |
|---|---|---|---|---|
| SE517866C2 (en) | 1998-07-06 | 2002-07-23 | Sca Hygiene Prod Ab | Diaper with weldable fasteners |
-
2012
- 2012-04-09 TW TW101206390U patent/TWM436006U/en not_active IP Right Cessation
- 2012-06-05 DE DE202012102058U patent/DE202012102058U1/en not_active Expired - Lifetime
- 2012-08-15 CN CN2012204035650U patent/CN202791812U/en not_active Expired - Fee Related
Cited By (5)
| Publication number | Priority date | Publication date | Assignee | Title |
|---|---|---|---|---|
| CN105351858A (en) * | 2015-12-05 | 2016-02-24 | 芜湖安瑞光电有限公司 | Automotive headlamp with good safety |
| CN105351857A (en) * | 2015-12-05 | 2016-02-24 | 芜湖安瑞光电有限公司 | Automotive headlamp |
| CN105351859A (en) * | 2015-12-05 | 2016-02-24 | 芜湖安瑞光电有限公司 | Automotive headlamp with good safety and attractive modeling |
| CN105785497A (en) * | 2016-03-18 | 2016-07-20 | 东莞名将电机配件有限公司 | Automobile daytime running lamp light guide strip and preparation method thereof |
| CN108302451A (en) * | 2016-09-29 | 2018-07-20 | 长城汽车股份有限公司 | Lamps and lanterns and headlamp |
Also Published As
| Publication number | Publication date |
|---|---|
| DE202012102058U1 (en) | 2012-08-02 |
| TWM436006U (en) | 2012-08-21 |
Similar Documents
| Publication | Publication Date | Title |
|---|---|---|
| CN202791812U (en) | Car light and leaded light strip structure thereof | |
| CN204042681U (en) | Two-way light-guiding type Auto side steering light | |
| CN101556012A (en) | Automobile tail light | |
| CN202581059U (en) | Automotive combined rear lamp | |
| CN204084122U (en) | Car lamp device | |
| US8007147B2 (en) | Vehicle door safety warning lamp | |
| CN202782978U (en) | Automobile license plate capable of giving out light | |
| CN202835112U (en) | Automobile back position light and taillight and automobile with the same | |
| CN206439737U (en) | A kind of special-shaped heavy wall light guide rear lamp of riding automobile-used LED | |
| CN204285221U (en) | A kind of fire dance concept tail lamp structure | |
| CN207350174U (en) | A kind of LED automobile side-marker lamp | |
| CN204114773U (en) | A kind of LED automobile lamp | |
| CN202303114U (en) | LED daytime running lights | |
| CN201944779U (en) | Light-emitting diode (LED) aperture of vehicle position lamp | |
| CN207262328U (en) | An easy-to-assemble automotive lighting module | |
| TWM467580U (en) | Vehicle light strip structure | |
| CN201748302U (en) | An LED car lighting lamp using the principle of diffuse reflection | |
| CN104566091A (en) | Side marker lamp | |
| CN203586011U (en) | Vehicle emergency lamp | |
| CN202303115U (en) | Automobile tail lamp | |
| CN203246397U (en) | Luminous mark of passenger car | |
| CN203586019U (en) | Automobile LED rear combined lamp | |
| CN203586021U (en) | Side marker lamp | |
| TWM408517U (en) | Planar light emitting device for vehicle | |
| CN202469800U (en) | An LED rubber signal lamp |
Legal Events
| Date | Code | Title | Description |
|---|---|---|---|
| C14 | Grant of patent or utility model | ||
| GR01 | Patent grant | ||
| CF01 | Termination of patent right due to non-payment of annual fee |
Granted publication date: 20130313 Termination date: 20180815 |
|
| CF01 | Termination of patent right due to non-payment of annual fee |
