CN202769660U - Disc-shaped energy-saving combustion head - Google Patents
Disc-shaped energy-saving combustion head Download PDFInfo
- Publication number
- CN202769660U CN202769660U CN201220488149.5U CN201220488149U CN202769660U CN 202769660 U CN202769660 U CN 202769660U CN 201220488149 U CN201220488149 U CN 201220488149U CN 202769660 U CN202769660 U CN 202769660U
- Authority
- CN
- China
- Prior art keywords
- combustion
- disc
- flame
- shaped
- disk
- Prior art date
- Legal status (The legal status is an assumption and is not a legal conclusion. Google has not performed a legal analysis and makes no representation as to the accuracy of the status listed.)
- Expired - Fee Related
Links
- 238000002485 combustion reaction Methods 0.000 title claims abstract description 76
- 239000007921 spray Substances 0.000 claims description 23
- 239000000567 combustion gas Substances 0.000 description 24
- 239000007789 gas Substances 0.000 description 14
- 238000010411 cooking Methods 0.000 description 2
- 239000002184 metal Substances 0.000 description 2
- 239000004575 stone Substances 0.000 description 2
- UGFAIRIUMAVXCW-UHFFFAOYSA-N Carbon monoxide Chemical compound [O+]#[C-] UGFAIRIUMAVXCW-UHFFFAOYSA-N 0.000 description 1
- 230000015572 biosynthetic process Effects 0.000 description 1
- 238000007084 catalytic combustion reaction Methods 0.000 description 1
- 239000012141 concentrate Substances 0.000 description 1
- 238000009792 diffusion process Methods 0.000 description 1
- 238000007599 discharging Methods 0.000 description 1
- 230000000694 effects Effects 0.000 description 1
- 238000004134 energy conservation Methods 0.000 description 1
- 238000005516 engineering process Methods 0.000 description 1
- 239000003546 flue gas Substances 0.000 description 1
- 239000003517 fume Substances 0.000 description 1
- 238000010438 heat treatment Methods 0.000 description 1
- 238000000034 method Methods 0.000 description 1
- 239000000203 mixture Substances 0.000 description 1
- 238000012986 modification Methods 0.000 description 1
- 230000004048 modification Effects 0.000 description 1
- XLYOFNOQVPJJNP-UHFFFAOYSA-N water Substances O XLYOFNOQVPJJNP-UHFFFAOYSA-N 0.000 description 1
Images
Classifications
-
- Y—GENERAL TAGGING OF NEW TECHNOLOGICAL DEVELOPMENTS; GENERAL TAGGING OF CROSS-SECTIONAL TECHNOLOGIES SPANNING OVER SEVERAL SECTIONS OF THE IPC; TECHNICAL SUBJECTS COVERED BY FORMER USPC CROSS-REFERENCE ART COLLECTIONS [XRACs] AND DIGESTS
- Y02—TECHNOLOGIES OR APPLICATIONS FOR MITIGATION OR ADAPTATION AGAINST CLIMATE CHANGE
- Y02B—CLIMATE CHANGE MITIGATION TECHNOLOGIES RELATED TO BUILDINGS, e.g. HOUSING, HOUSE APPLIANCES OR RELATED END-USER APPLICATIONS
- Y02B40/00—Technologies aiming at improving the efficiency of home appliances, e.g. induction cooking or efficient technologies for refrigerators, freezers or dish washers
Landscapes
- Gas Burners (AREA)
Abstract
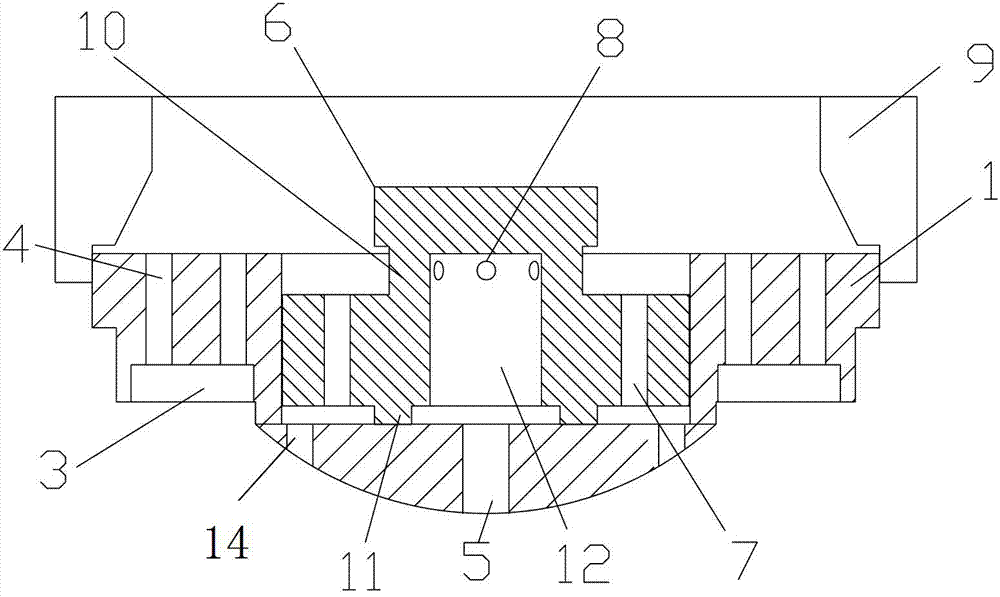
本实用新型公开了一种圆盘形节能燃烧头,包括燃烧盘和长明火盖;所述燃烧盘整体呈圆盘形,燃烧盘顶面中部具有一凹槽,该凹槽用于容纳长明火盖;燃烧盘的盘形底面沿圆周方向均匀设有多个径向开口的条形槽,圆盘的顶面沿圆周方向设有多圈通孔,所述条形槽和通孔相互对应且导通;所述长明火盖上具有相对独立的长明火水平喷孔和主火垂直喷孔,凹槽内设置有贯穿燃烧盘的长明火燃气管通孔和主火燃气通孔。本实用新型的燃烧头结构用于预混燃气的燃烧,可有效提升灶具的燃烧效率和热交换效率,达到节能并有效减少CO排放的目的。该燃烧头亦可替换使用较小功率的鼓风机,从而减小鼓风机和燃烧噪音及电能消耗。
The utility model discloses a disk-shaped energy-saving combustion head, which comprises a combustion disk and an eternal flame cover; Cover; the disc-shaped bottom surface of the combustion disc is evenly provided with a plurality of radial opening strip grooves along the circumferential direction, and the top surface of the disc is provided with multiple circles of through holes along the circumferential direction, and the strip grooves and through holes correspond to each other and conduction; the pilot flame cover has relatively independent pilot flame horizontal jet holes and main fire vertical jet holes, and the pilot flame gas pipe through hole and the main fire gas through hole that run through the combustion disc are arranged in the groove. The combustion head structure of the utility model is used for the combustion of premixed gas, which can effectively improve the combustion efficiency and heat exchange efficiency of the stove, and achieve the purpose of saving energy and effectively reducing CO emissions. The combustion head can also be used instead of a blower with a lower power, thereby reducing blower and combustion noise and power consumption.
Description
Claims (5)
Priority Applications (1)
| Application Number | Priority Date | Filing Date | Title |
|---|---|---|---|
| CN201220488149.5U CN202769660U (en) | 2012-09-20 | 2012-09-20 | Disc-shaped energy-saving combustion head |
Applications Claiming Priority (1)
| Application Number | Priority Date | Filing Date | Title |
|---|---|---|---|
| CN201220488149.5U CN202769660U (en) | 2012-09-20 | 2012-09-20 | Disc-shaped energy-saving combustion head |
Publications (1)
| Publication Number | Publication Date |
|---|---|
| CN202769660U true CN202769660U (en) | 2013-03-06 |
Family
ID=47776227
Family Applications (1)
| Application Number | Title | Priority Date | Filing Date |
|---|---|---|---|
| CN201220488149.5U Expired - Fee Related CN202769660U (en) | 2012-09-20 | 2012-09-20 | Disc-shaped energy-saving combustion head |
Country Status (1)
| Country | Link |
|---|---|
| CN (1) | CN202769660U (en) |
Cited By (3)
| Publication number | Priority date | Publication date | Assignee | Title |
|---|---|---|---|---|
| CN110242955A (en) * | 2019-04-25 | 2019-09-17 | 深圳市人人节能设备有限公司 | Multi-head independent combustion system and gas equipment |
| CN110966606A (en) * | 2019-12-11 | 2020-04-07 | 广东万和电气有限公司 | Plane fire cover and stove burner |
| CN111828964A (en) * | 2020-08-04 | 2020-10-27 | 襄阳宏伟航空器有限责任公司 | A hot air balloon burner integral fire-breathing assembly |
-
2012
- 2012-09-20 CN CN201220488149.5U patent/CN202769660U/en not_active Expired - Fee Related
Cited By (3)
| Publication number | Priority date | Publication date | Assignee | Title |
|---|---|---|---|---|
| CN110242955A (en) * | 2019-04-25 | 2019-09-17 | 深圳市人人节能设备有限公司 | Multi-head independent combustion system and gas equipment |
| CN110966606A (en) * | 2019-12-11 | 2020-04-07 | 广东万和电气有限公司 | Plane fire cover and stove burner |
| CN111828964A (en) * | 2020-08-04 | 2020-10-27 | 襄阳宏伟航空器有限责任公司 | A hot air balloon burner integral fire-breathing assembly |
Similar Documents
| Publication | Publication Date | Title |
|---|---|---|
| CN102829495B (en) | Energy-saving stove preheating premixed combustible gas by using after heat | |
| CN202613510U (en) | gas stove burner | |
| CN106678797B (en) | Burner and gas cooker | |
| CN104930555B (en) | Gas cooker adopting secondary air supplement channel | |
| CN103982921B (en) | Cyclone firing formula energy-saving kitchen range | |
| CN217302797U (en) | Micro-premixing combustion burner for pure hydrogen gas cooker | |
| CN103234226A (en) | Gas cooker | |
| CN202769660U (en) | Disc-shaped energy-saving combustion head | |
| CN202253633U (en) | Full-premixing columnar combustor | |
| CN204786593U (en) | A gas cooker using a new secondary air supplementary channel | |
| CN104696962A (en) | Outer fire cover, combustor and gas stove | |
| CN201281339Y (en) | Dual ring inner flame combustor | |
| CN102901100A (en) | Environment-friendly clean burner | |
| CN102537960B (en) | Commercial high-power efficient environment-friendly flameless infrared kitchen core | |
| CN201697125U (en) | Flame-jetting type furnace end | |
| CN208253582U (en) | A kind of heat build-up catalytic type multi-head burner | |
| CN203258703U (en) | Furnace basin and stove applying same | |
| CN201954549U (en) | Burner capable of conducting central flameless heating for gas stove | |
| CN202109534U (en) | A high-efficiency and low-pollution gas cooking stove for Chinese food | |
| CN104949161A (en) | Gas cooker provided with secondary air rectifying ring | |
| CN202769659U (en) | Flying-saucer-shaped energy-saving burner | |
| CN104279564A (en) | Energy-saving stove ejector | |
| CN203249283U (en) | Gas cooker | |
| CN202769728U (en) | Device for preheating premixed gas by utilizing waste heat | |
| CN203442815U (en) | Burner for household gas cooker |
Legal Events
| Date | Code | Title | Description |
|---|---|---|---|
| C14 | Grant of patent or utility model | ||
| GR01 | Patent grant | ||
| C41 | Transfer of patent application or patent right or utility model | ||
| TR01 | Transfer of patent right |
Effective date of registration: 20160811 Address after: 519031 Guangdong city of Zhuhai province Hengqin Baohua Road No. 6, room 105 -12473 Patentee after: ZHUHAI GELEEN ENERGY TECHNOLOGY CO.,LTD. Address before: Gongbei Wan Road Xiangzhou District Zhuhai city Guangdong province 519015 No. 323 Building 5 Room 202 Patentee before: Deng Yanhong |
|
| CF01 | Termination of patent right due to non-payment of annual fee | ||
| CF01 | Termination of patent right due to non-payment of annual fee |
Granted publication date: 20130306 Termination date: 20210920 |
