CN202725994U - Deslagging metering device - Google Patents

Deslagging metering device Download PDF

Info

Publication number
CN202725994U
CN202725994U CN201220416092.8U CN201220416092U CN202725994U CN 202725994 U CN202725994 U CN 202725994U CN 201220416092 U CN201220416092 U CN 201220416092U CN 202725994 U CN202725994 U CN 202725994U
Authority
CN
China
Prior art keywords
molten iron
iron
metering device
slagging
storing apparatus
Prior art date
Legal status (The legal status is an assumption and is not a legal conclusion. Google has not performed a legal analysis and makes no representation as to the accuracy of the status listed.)
Expired - Fee Related
Application number
CN201220416092.8U
Other languages
Chinese (zh)
Inventor
马琳
王博
陈颜
李广艳
陈雷
Current Assignee (The listed assignees may be inaccurate. Google has not performed a legal analysis and makes no representation or warranty as to the accuracy of the list.)
Laiwu Iron and Steel Group Co Ltd
Original Assignee
Laiwu Iron and Steel Group Co Ltd
Priority date (The priority date is an assumption and is not a legal conclusion. Google has not performed a legal analysis and makes no representation as to the accuracy of the date listed.)
Filing date
Publication date
Application filed by Laiwu Iron and Steel Group Co Ltd filed Critical Laiwu Iron and Steel Group Co Ltd
Priority to CN201220416092.8U priority Critical patent/CN202725994U/en
Application granted granted Critical
Publication of CN202725994U publication Critical patent/CN202725994U/en
Anticipated expiration legal-status Critical
Expired - Fee Related legal-status Critical Current

Links

Images

Classifications

    • YGENERAL TAGGING OF NEW TECHNOLOGICAL DEVELOPMENTS; GENERAL TAGGING OF CROSS-SECTIONAL TECHNOLOGIES SPANNING OVER SEVERAL SECTIONS OF THE IPC; TECHNICAL SUBJECTS COVERED BY FORMER USPC CROSS-REFERENCE ART COLLECTIONS [XRACs] AND DIGESTS
    • Y02TECHNOLOGIES OR APPLICATIONS FOR MITIGATION OR ADAPTATION AGAINST CLIMATE CHANGE
    • Y02PCLIMATE CHANGE MITIGATION TECHNOLOGIES IN THE PRODUCTION OR PROCESSING OF GOODS
    • Y02P10/00Technologies related to metal processing
    • Y02P10/20Recycling

Landscapes

  • Blast Furnaces (AREA)

Abstract

本实用新型公开的一种除渣计量装置,包括:铁水容纳装置;铁水容纳装置上开设有入铁口、出铁口与出渣口;置于铁水除渣装置内并与入铁口相互配合的浮塞;用于控制所述出铁口打开或关闭的挡板;计时装置。从上述技术方案可以看出,工作时,挡板打开,计时装置计时,铁水容纳装置内液面稳定,铁水由入铁口均匀进入铁水容纳装置,由出铁口以稳定的流量流出,出渣口排出液面浮起的杂质。应用本技术方案,由于采用了时间×流量的方式来准确计算出铁水重量,还可以最大限度的除去高炉渣,与现有技术相比,解决了现有技术中由于环境恶劣无法直观监测出铁水重量和出铁水渣铁不易分离的问题。

Figure 201220416092

The utility model discloses a slag removal metering device, comprising: a molten iron containing device; the molten iron containing device is provided with an iron inlet, an iron outlet and a slag outlet; it is placed in the molten iron slag removal device and cooperates with the iron inlet a floating plug; a baffle for controlling the opening or closing of said taphole; a timing device. It can be seen from the above technical scheme that when working, the baffle is opened, the timing device counts, the liquid level in the molten iron container is stable, the molten iron enters the molten iron container evenly from the iron inlet, flows out from the iron tap with a stable flow rate, and discharges the slag. The outlet discharges the impurities floating on the liquid surface. With the application of this technical solution, since the weight of molten iron is accurately calculated by the method of time × flow rate, the blast furnace slag can be removed to the greatest extent. The problem of weight and tapping slag iron is not easy to separate.

Figure 201220416092

Description

A kind of slagging-off metering device
Technical field
The utility model relates to technical field of ferrous metallurgy, particularly a kind of slagging-off metering device.
Background technology
Fast development along with Chinese national economy, improving constantly and the in a large number utilization of advanced technologies of smelting iron and steel level, the construction of blast furnace and production have had very fast development, but compared to other operations, blast furnace casting technique does not for many years have too large improvement, traditional mode of tapping a blast furnace is brought a large amount of blast furnace slags into hot-metal bottle in the process of tapping a blast furnace, become the obstacle of realizing (without slag) less-slag melting in molten iron preliminary treatment and the process for making.At present; industrial large and medium-sized blast furnace iron runner generally adopts the refractory material of cast-in-site to consist of working lining; owing to do not protect facility; molten iron is quite serious to the erosion of refractory material near the iron spot that falls; a large amount of refractory materials is involved in becomes impurity in the molten iron, subsequent handling and product quality raising are produced very adverse influence.In the process of tapping a blast furnace, existingly go out iron process and only have together simple slag iron separator, the skimming effect can not adapt to the quality control requirement of increasingly stringent, and the blast furnace slag by skimming tool is mixed in and flows directly into hot-metal bottle in the molten iron, also becomes the impurity of subsequent handling.Therefore, the slag iron separating effect of raising blast furnace casting water is the problem that those skilled in the art need to solve.
In addition, when Iron Works taps a blast furnace tinning, restriction because of factors such as the dust in the field working conditions, high temperature, noises, can't adopt conventional detection means intuitively to reflect the process of the molten iron of annotating, more can't observe intuitively the liquid level of molten iron in the tank, sometimes in this link, can not utilize fully the space of hot-metal bottle, also bring many unsafe factors to production simultaneously.
At present, domestic and international Real-Time Monitoring to hot-metal ladle and carriage has following several method substantially:
(1) pressure head (pressure sensor) of weighing is installed under the blast furnace discharge yard rail, by to filling weighing in real time of torpedo tank car in the filling, is come the liquid level of indirect control and supervision hot-metal bottle.Major defect is: 1. cost is high, constructional difficulties; In case 2. certain pressure head damages, maintenance is very difficult; 3. the life-span is short.Because the cast house environment is abominable, high temperature, dust are large, and will often sprinkle water, and pressure head very easily damages;
(2) weigh on the employing tank car.Because canful is compared with slack tank, there is the deformation stroke of 10-15mm at tank car spring place.Major defect is: weighing system is distributed on the tank car, and cost is large, Maintenance Difficulty, and precision is low;
(3) manual observation method.By manually constantly observing, fully by Artificial Control.This method is the simplest, also do not need what cost, but workman's labour intensity is hindered greatly and very eyesight and slightly had careless omission that the tank accident of overflowing very easily occurs.
Therefore, also be the problem that those skilled in the art need to solve to the in real time effective monitoring of blast furnace casting water weight.
In sum, how improving the slag iron separating effect that taps a blast furnace and how the weight of filling molten iron is carried out real-time effective monitoring, is the present technical issues that need to address of those skilled in the art.
The utility model content
For solving the problems of the technologies described above, the utility model provides a kind of molten iron deslagging metering device, to solve the problem that the not easily separated and molten iron discharging weight of slag iron in the prior art can't Real-Time Monitoring.
The utility model provides a kind of molten iron deslagging metering device, comprising:
The molten iron storing apparatus, its top offers into the iron mouth, and the bottom offers tapping hole, and sidewall offers slag notch; Place in the described molten iron storing apparatus and with the described floating plug that enters the corresponding setting of iron mouth, itself and enter the iron mouth and can realize being sealed and matched; Be used for controlling the baffle plate that described tapping hole opens or closes; Time set.
Preferably, annular gear dam is set in the described molten iron storing apparatus, described annular gear dam location height is not higher than the height of described slag notch, and it is inboard that described annular gear dam is positioned at described tapping hole, and described annular gear offers connected entrance on the dam.
Preferably, the actual internal area sum of all described connected entrances is not less than the actual internal area sum of all described tapping holes.
Preferably, describedly enter the iron mouth and be opened in described molten iron storing apparatus top center position.
Preferably, describedly enter iron mouth flaring from top to bottom, the sidewall of described floating plug is flaring from top to bottom, and with affiliated to enter the iron mouth suitable.
Preferably, described annular gear dam central shaft enters iron mouth central shaft and overlaps with described, and the difference of electrical path length is not more than the poor of described floating plug upper and lower surface diameter length in the described annular internal diameter that keeps off the dam and the described Tie Kou of the entering bottom surface.
Preferably, described tapping hole is evenly arranged around described molten iron storing apparatus bottom centre.
Preferably, described molten iron storing apparatus bottom is provided with the baffle plate draw-in groove, and described baffle plate is placed in the described baffle plate draw-in groove slidably.
Preferably, described slag notch position is higher than the high liquid level (HLL) of molten iron.
Preferably, described time set is identical with described tapping hole quantity, and described time set is corresponding one by one with described tapping hole, when described tapping hole is opened, the described time set corresponding with it begins timing, and during described tapping hole cut-off, the described time set corresponding with it stops timing.
Relative above-mentioned background technology, molten iron storing apparatus provided by the utility model at first receives by the molten iron that flows in the blast-melted ditch by entering the iron mouth, molten iron is full of rapidly whole molten iron storing apparatus, floating plug in the molten iron storing apparatus floats obstruction and enters the iron mouth, baffle plate is opened, time set begins timing, molten iron is flowed out by tapping hole, at this moment, the floating plug slow decreasing feeds suitable aperture of iron mouth, and the iron mouth is stable to flow into the molten iron storing apparatus to molten iron by entering, because floating plug is entering the automatic control of iron mouth, make the interior molten iron level of molten iron storing apparatus keep stable, this moment, tapping hole position molten iron pressure was constant, thereby had guaranteed the stable of molten iron discharging flow, in this process, impurity in the molten iron since density less than molten iron emersion molten iron surface, discharged by the slag-drip opening that is arranged in the molten iron storing apparatus.Use the technical program, the mode of product that can be by computing time and flow, accurately calculate the weight of molten iron, can also remove to greatest extent blast furnace slag, compared with prior art, solved in the prior art because environment badly can't Real Time Monitoring molten iron discharging weight and the not segregative problem of granulating slag iron of tapping a blast furnace.
Description of drawings
In order to be illustrated more clearly in the technical scheme among the utility model embodiment, the accompanying drawing of required use was done to introduce simply during the below will describe embodiment, apparently, the accompanying drawing that the following describes only is some embodiment that put down in writing in the utility model, for those of ordinary skills, under the prerequisite of not paying creative work, can also obtain according to these accompanying drawings other accompanying drawing.
The structural representation of the slagging-off metering device that Fig. 1 provides for the utility model embodiment:
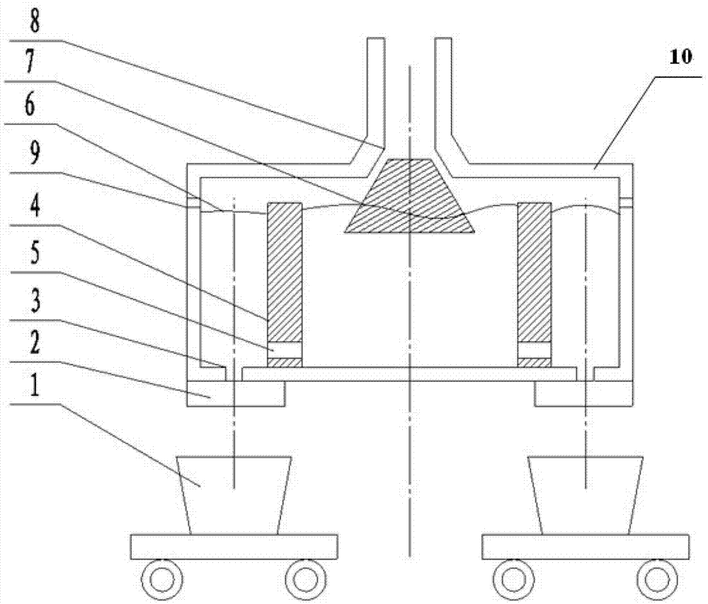
1 is hot-metal bottle, and 2 is baffle plate, and 3 is tapping hole, and 4 are the gear dam, and 5 is connected entrance, and 6 is that slag is untouchable, and 7 is floating plug, and 8 for entering the iron mouth, and 9 is slag notch, and 10 is the molten iron storing apparatus.
The specific embodiment
Core of the present utility model provides a kind ofly carries out the tap a blast furnace device of granulating slag iron separating effect of Real Time Monitoring and raising to molten iron discharging weight.
Below in conjunction with the accompanying drawing among the utility model embodiment, the technical scheme among the utility model embodiment is clearly and completely described, obviously, described embodiment only is the utility model part embodiment, rather than whole embodiment.Based on the embodiment in the utility model, those of ordinary skills belong to protection domain of the present utility model not making the every other embodiment that obtains under the creative work prerequisite.
Please refer to Fig. 1, Fig. 1 is slagging-off metering device schematic diagram provided by the utility model.
The slagging-off metering device that the utility model provides comprises molten iron storing apparatus 10, floating plug 7, baffle plate 2 and time set, wherein, molten iron storing apparatus 10 tops offer into iron mouth 8, sidewall offers slag notch 9, the bottom offers tapping hole 3, floating plug 7 places molten iron storing apparatus inside and can fluctuate with the height of molten iron level, floating plug 7 can with enter iron mouth 8 and realize being sealed and matched, thereby can control the flow that enters molten iron storing apparatus 10 interior molten iron, baffle plate 2 can be controlled the opening and closing of tapping hole 3, tapping hole 3 is not in closed condition when working, during operation, blast-meltedly at first enter molten iron storing apparatus 10 through entering iron mouth 8, place the floating plug 7 in the molten iron storing apparatus 10 upwards unsteady along with the rising of molten iron level, until stop up iron mouth 8, at this moment open baffle plate 2, time set begins timing, along with molten iron is discharged by tapping hole 3, molten iron storing apparatus 10 interior liquid levels slightly have decline, floating plug 7 sinks, enter iron mouth 8 and reopen an aperture, at this moment 10 liquid levels keep constant in the molten iron storing apparatus, because molten iron storing apparatus 10 interior liquid levels are stable, so tapping hole 3 place's molten iron pressure keep stable, so the maintenance of tapping hole 3 iron flow is stable, in the molten iron discharging process, because slag iron density is different, the impurity emersion molten iron surface in the molten iron in the molten iron storing apparatus 10 is discharged by slag notch 9.
Wherein, on the molten iron storing apparatus 10 interior annular gear dams 4 that arrange, the internal diameter on gear dam 4 is not more than the poor of floating plug 7 upper and lower surface diameter lengths with the difference that enters electrical path length in iron mouth 8 bottom surfaces, this structural design can guarantee that floating plug 7 can enter smoothly into iron mouth 8 in the process of moving, thereby realize entering being sealed and matched of iron mouth 8, the height on gear dam 4 is not higher than the height of described slag notch 9, and the impurity that can guarantee like this to keep off in the dam 4 also can be discharged by slag notch 9 smoothly.
Wherein, offer more than one connected entrance 5 on gear dam 4, connected entrance 5 can evenly be offered, also can inhomogeneously offer, but the actual internal area sum that guarantees all connected entrances 5 is not less than the actual internal area sum of all tapping holes, the iron flow that so just can guarantee tapping hole is only relevant with the molten iron level in the molten iron storing apparatus 10, and is not subjected to the impact of connected entrance 5 resistances.
Wherein, the molten iron storing apparatus 10 of present embodiment can be rounded cylindrical, also can be the polygon bar shape of rule, this is preferred version, can certainly adopt the irregularly shaped of other, the concrete shape of molten iron storing apparatus 10 need to be decided according to specific environment around the blast furnace, and the utility model embodiment is no longer set forth this.
Wherein, tapping hole 3 can be one or more, described tapping hole 3 can be offered at molten iron storing apparatus 10 bottom evens, also can inhomogeneously offer, but the iron flow of each tapping hole 3 was identical when the baffle plate 2 that guarantees all tapping holes 3 was opened, and flow was identical when this kind design just can make things convenient for each tapping hole 3 to inject molten iron to hot-metal bottle 1.
Wherein, the high liquid level (HLL) of molten iron device 10 interior molten iron is baffle plate 2 when closing, and molten iron enters molten iron storing apparatus 10 from entering iron mouth 8, floating plug 7 is risen until stop up iron mouth 8, the liquid level when making molten iron stop to flow.
Wherein, baffle plate 2 is by being fixed on the opening and closing of the draw-in groove control tapping hole 3 on the molten iron storing apparatus 10, and baffle plate 2 is placed in the described draw-in groove slidably.
Wherein, slag-drip opening 9 can be one or more, but will guarantee that the height of all slag-drip openings 9 is identical.So just, can guarantee to reach untouchable 6 o'clock each slag notches 9 of slag all can normal deslagging.
Wherein, time set can be a stopwatch, also can adopt the time set of other form, begins timing when the baffle plate 2 of described tapping hole 3 is opened, and stops timing when closing.
Above-mentioned time set can cooperate with described baffle plate 2 realizes self-clocking, also manually timing.
Can find out from technique scheme, among the utility model embodiment, blast-meltedly enter this device from trough and enter iron mouth 8, the molten iron level of molten iron storing apparatus 10 inside is risen rapidly, and because slag iron density is different, float on the molten iron surface on slag is rapid, it is untouchable 6 to form slag, and floating plug 7 constantly rises with molten iron level, until arrive iron mouth 8, enter and stop up into iron mouth 8, molten iron is suspended flow.At this moment, open baffle plate 2, time set begins timing, molten iron enters hot-metal bottle 1 by slip tapping hole 3, causes molten iron level to descend, and floating plug 7 is opened again, molten iron enters this device, make like this molten iron level stabilize to steady state value, thereby make tapping hole 3 molten iron pressure Baoding stable, making tapping hole 3 stability of flows is constant.During this time, slag can be discharged automatically by slag notch 9.
Use the technical program, the mode of product that can be by computing time and flow is opened the weight that accurately calculates molten iron, can also remove to greatest extent blast furnace slag, compared with prior art, solved in the prior art because environment badly can't Real Time Monitoring molten iron discharging weight and the not segregative problem of granulating slag iron of tapping a blast furnace.
To the above-mentioned explanation of the disclosed embodiments, make this area professional and technical personnel can realize or use the utility model.Multiple modification to these embodiment is apparent to those skilled in the art, and General Principle as defined herein can in the situation that does not break away from spirit or scope of the present utility model, realize in other embodiments.Therefore, the utility model will can not be restricted to these embodiment shown in this article, but will meet the wide region consistent with principle disclosed herein and features of novelty.

Claims (10)

1. a slagging-off metering device is characterized in that, comprising:
The molten iron storing apparatus, described molten iron storing apparatus top offers into the iron mouth, and the bottom offers more than one tapping hole, and sidewall offers more than one slag notch;
Be arranged in the described molten iron storing apparatus and with the described floating plug that enters the corresponding setting of iron mouth, described floating plug and describedly enter the iron mouth and can realize being sealed and matched;
Be used for controlling the baffle plate that described tapping hole opens and closes;
Time set.
2. slagging-off metering device as claimed in claim 1, it is characterized in that, annular gear dam is set in the described molten iron storing apparatus, described annular gear dam location height is not higher than the height of described slag notch, it is inboard that described annular gear dam is positioned at described tapping hole, and described annular gear offers connected entrance on the dam.
3. slagging-off metering device as claimed in claim 2 is characterized in that, the actual internal area sum of all described connected entrances is not less than the actual internal area sum of all described tapping holes.
4. slagging-off metering device as claimed in claim 1 is characterized in that, describedly enters the iron mouth and is opened in described molten iron storing apparatus top center position.
5. slagging-off metering device as claimed in claim 1 is characterized in that, describedly enters iron mouth flaring from top to bottom, and the sidewall of described floating plug is flaring from top to bottom, and with affiliated to enter the iron mouth suitable.
6. slagging-off metering device according to claim 2, it is characterized in that, described annular gear dam central shaft enters iron mouth central shaft and overlaps with described, and the difference of electrical path length is not more than the poor of described floating plug upper and lower surface diameter length in the described annular internal diameter that keeps off the dam and the described Tie Kou of the entering bottom surface.
7. slagging-off metering device as claimed in claim 1 is characterized in that, described tapping hole is evenly arranged around the bottom centre of described molten iron storing apparatus.
8. slagging-off metering device as claimed in claim 1 is characterized in that, described molten iron storing apparatus bottom is provided with the baffle plate draw-in groove, and described baffle plate is placed in the described baffle plate draw-in groove slidably.
9. slagging-off metering device as claimed in claim 1 is characterized in that, described slag notch position is higher than the high liquid level (HLL) of molten iron.
10. slagging-off metering device as claimed in claim 1, it is characterized in that, described time set is identical with described tapping hole quantity, and described time set is corresponding one by one with described tapping hole, when described tapping hole is opened, the described time set corresponding with it begins timing, and during described tapping hole cut-off, the described time set corresponding with it stops timing.
CN201220416092.8U 2012-08-21 2012-08-21 Deslagging metering device Expired - Fee Related CN202725994U (en)

Priority Applications (1)

Application Number Priority Date Filing Date Title
CN201220416092.8U CN202725994U (en) 2012-08-21 2012-08-21 Deslagging metering device

Applications Claiming Priority (1)

Application Number Priority Date Filing Date Title
CN201220416092.8U CN202725994U (en) 2012-08-21 2012-08-21 Deslagging metering device

Publications (1)

Publication Number Publication Date
CN202725994U true CN202725994U (en) 2013-02-13

Family

ID=47651744

Family Applications (1)

Application Number Title Priority Date Filing Date
CN201220416092.8U Expired - Fee Related CN202725994U (en) 2012-08-21 2012-08-21 Deslagging metering device

Country Status (1)

Country Link
CN (1) CN202725994U (en)

Cited By (4)

* Cited by examiner, † Cited by third party
Publication number Priority date Publication date Assignee Title
CN107010326A (en) * 2017-04-05 2017-08-04 赵文林 A kind of quantify pours out decoction and the medical packaging box with agitating function
CN108968697A (en) * 2017-05-30 2018-12-11 Bsh家用电器有限公司 Coffee machine, especially full-automatic coffee machine
CN111872336A (en) * 2020-07-24 2020-11-03 刘少华 Method and system for calculating weight of steel
CN111872337A (en) * 2020-07-24 2020-11-03 刘少华 Method and system for calculating length of steel

Cited By (4)

* Cited by examiner, † Cited by third party
Publication number Priority date Publication date Assignee Title
CN107010326A (en) * 2017-04-05 2017-08-04 赵文林 A kind of quantify pours out decoction and the medical packaging box with agitating function
CN108968697A (en) * 2017-05-30 2018-12-11 Bsh家用电器有限公司 Coffee machine, especially full-automatic coffee machine
CN111872336A (en) * 2020-07-24 2020-11-03 刘少华 Method and system for calculating weight of steel
CN111872337A (en) * 2020-07-24 2020-11-03 刘少华 Method and system for calculating length of steel

Similar Documents

Publication Publication Date Title
CN108176844B (en) A kind of device and method for clearing up tundish upper nozzle dross object
CN202725994U (en) Deslagging metering device
CN104525929A (en) Method for controlling steel ladle tapping slag by blowing argon gas to annular steel outlet in bottom of steel ladle
CN109332625A (en) A kind of casting method improving stopper rod flow control Al dexidized steel nozzle blocking
CN207026463U (en) A kind of automatic anti-slag of modified, aluminium alloy ingots pouring device of guaranteeing the quality
CN104249149B (en) A kind of channel-type sensing heating tundish and its casting method
CN101844223B (en) Structure for preventing continuous casting tundish from producing rotational flows
CN103962517B (en) A kind of apparatus for pouring of die casting electrode bar and pouring procedure thereof
CN207610552U (en) A movable tapping equipment matched with ferroalloy submerged arc furnace
CN209383839U (en) A kind of aluminum products melting recovery furnace
CN114472837A (en) Starting casting method for fixed-diameter casting of billet continuous casting multi-flow tundish
CN100371109C (en) A steel ladle with a heating tapping device and a tapping method thereof
CN203096090U (en) Slag-iron separating device
CN210996370U (en) Up-drawing continuous casting furnace
KR101526444B1 (en) Apparatus for treating of melting
CN219526681U (en) Iron-smelting plant blast furnace molten iron releasing system
CN205014832U (en) Electromagnetic stirring formula aluminum mixing vessel
CN205933876U (en) Tubular pushing off slag is prevented blockking up
CN213350812U (en) Tundish safety plug for lower nozzle of slab caster
CN209578148U (en) A kind of linear type ladle canal
CN203695934U (en) Molten iron jar slag stopper with molten iron flowing opening
CN209555281U (en) A dual-purpose slag tray for ironmaking and steelmaking
CN108500252A (en) A kind of tundish bottom with cover is breathed freely ring and its method that controls tundish slag
CN115740375A (en) Pouring method of steel casting
CN115255346A (en) Method for reducing casting residual steel of steel ladle

Legal Events

Date Code Title Description
C14 Grant of patent or utility model
GR01 Patent grant
CF01 Termination of patent right due to non-payment of annual fee

Granted publication date: 20130213

Termination date: 20150821

EXPY Termination of patent right or utility model