CN202672274U - Ball float type deodorant floor drain - Google Patents

Ball float type deodorant floor drain Download PDF

Info

Publication number
CN202672274U
CN202672274U CN201220344407.2U CN201220344407U CN202672274U CN 202672274 U CN202672274 U CN 202672274U CN 201220344407 U CN201220344407 U CN 201220344407U CN 202672274 U CN202672274 U CN 202672274U
Authority
CN
China
Prior art keywords
floating ball
floor drain
base
drain
upper cover
Prior art date
Legal status (The legal status is an assumption and is not a legal conclusion. Google has not performed a legal analysis and makes no representation as to the accuracy of the status listed.)
Expired - Fee Related
Application number
CN201220344407.2U
Other languages
Chinese (zh)
Inventor
陶化克
Current Assignee (The listed assignees may be inaccurate. Google has not performed a legal analysis and makes no representation or warranty as to the accuracy of the list.)
Individual
Original Assignee
Individual
Priority date (The priority date is an assumption and is not a legal conclusion. Google has not performed a legal analysis and makes no representation as to the accuracy of the date listed.)
Filing date
Publication date
Application filed by Individual filed Critical Individual
Priority to CN201220344407.2U priority Critical patent/CN202672274U/en
Application granted granted Critical
Publication of CN202672274U publication Critical patent/CN202672274U/en
Anticipated expiration legal-status Critical
Expired - Fee Related legal-status Critical Current

Links

Images

Classifications

    • YGENERAL TAGGING OF NEW TECHNOLOGICAL DEVELOPMENTS; GENERAL TAGGING OF CROSS-SECTIONAL TECHNOLOGIES SPANNING OVER SEVERAL SECTIONS OF THE IPC; TECHNICAL SUBJECTS COVERED BY FORMER USPC CROSS-REFERENCE ART COLLECTIONS [XRACs] AND DIGESTS
    • Y02TECHNOLOGIES OR APPLICATIONS FOR MITIGATION OR ADAPTATION AGAINST CLIMATE CHANGE
    • Y02ATECHNOLOGIES FOR ADAPTATION TO CLIMATE CHANGE
    • Y02A30/00Adapting or protecting infrastructure or their operation
    • Y02A30/60Planning or developing urban green infrastructure

Landscapes

  • Sewage (AREA)

Abstract

本实用新型涉及一种安装在下水管道上的地漏设施,特别涉及一种浮球式防臭地漏,其特征在于:是由底座、浮球、导向槽和上盖组成,在底座的底部设有排水口,浮球设置在排水口的上面,上盖设置在底座的上面,上盖的底部设有导向槽,浮球在导向槽内上下浮动。浮球的形状为底部是半球上部是圆柱体;或底部是圆锥上部是圆柱体;或圆球体。本实用新型浮球式防臭地漏,具有设计合理、结构简单、经济实用的特点,能有效地解决地漏入口密封,阻止下水管道臭气外溢,改善室内的空气质量。

Figure 201220344407

The utility model relates to a floor drain facility installed on a sewer pipe, in particular to a floating ball type anti-odor floor drain, which is characterized in that it is composed of a base, a floating ball, a guide groove and an upper cover, and a drainage system is arranged at the bottom of the base. The floating ball is arranged on the top of the water outlet, the upper cover is arranged on the top of the base, and the bottom of the upper cover is provided with a guide groove, and the floating ball floats up and down in the guide groove. The shape of the floating ball is that the bottom is a hemisphere and the upper part is a cylinder; or the bottom is a cone and the upper part is a cylinder; or a sphere. The utility model has the advantages of reasonable design, simple structure, economical and practical features, and can effectively solve the problem of sealing the entrance of the floor drain, prevent the foul smell from overflowing from the sewer pipe, and improve the indoor air quality.

Figure 201220344407

Description

Float ball type anti-foul drain
Technical field
The utility model relates to a kind of floor drain facility that is installed on the sewer pipe, particularly a kind of float ball type anti-foul drain.
Background technology
At present, the sewer pipe floor drain that domestic in the prior art tradition is used is to be made of floor drain base and loam cake, and the outfall of floor drain base is the U-lag mouth, and loam cake is inserted in the U-lag mouth, seals the gas of sewer pipeline system by water seal.The floor drain of this structure is in use owing to existing: the negative pressure that 1, produces because of water flow in the pipeline can break water seal leaks foul smell; 2, when for a long time not during water, the water evaporation in the floor drain U-lag mouth also can destroy water seal leaks foul smell, and the unfailing performance of therefore sealing the excessive gas of sewer pipe is relatively poor.
Summary of the invention
The utility model has overcome the defective of above-mentioned existence, and purpose is for improving the sealing effectiveness of floor drain, solve the excessive problem of gas in the sewer pipe, a kind of float ball type anti-foul drain being provided.
The utility model float ball type anti-foul drain content Description:
The utility model float ball type anti-foul drain, it is characterized in that: formed by base, ball float, gathering sill and loam cake, bottom at base is provided with outfall, ball float be arranged on outfall above, loam cake be arranged on base above, the bottom of loam cake is provided with gathering sill, and ball float fluctuates in gathering sill.
Ball float be shaped as the bottom be that hemisphere top is cylinder; Or the bottom is that epiconus is cylinder; Or spherosome.
The utility model float ball type anti-foul drain has reasonable in design, simple in structure, economical and practical characteristics, can effectively solve the floor drain inlet seal, stops the gas in the sewer pipe excessive, improves indoor air quality.
Description of drawings
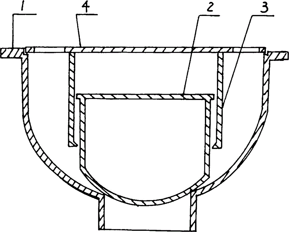
Fig. 1 is the float ball type anti-foul drain structural representation;
Fig. 2 is the float ball type anti-foul drain top view;
Among the figure: the 1st, base, the 2nd, ball float, the 3rd, gathering sill, the 4th, loam cake.
The specific embodiment
The utility model float ball type anti-foul drain is achieved in that to do below in conjunction with accompanying drawing and specifies.See Fig. 1, Fig. 2, float ball type anti-foul drain, by: base 1, ball float 2, gathering sill 3 and loam cake 4 form, bottom at base 1 is provided with outfall, ball float 2 be arranged on outfall above, loam cake 4 be arranged on base 1 above, the bottom of loam cake 4 is provided with gathering sill 3, ball float 2 fluctuates in gathering sill 3.
Ball float 2 be shaped as the bottom be that hemisphere top is cylinder; Or the bottom is that epiconus is cylinder; Or spherosome.
The utility model float ball type anti-foul drain, the bottom of base 1 is outfall, is the sealing combination between ball float 2 and the base 1 bottom discharge mouth, after sewage flows into floor drains by loam cake 4, discharges because the buoyancy of water effect separates sewage with ball float 2 picking-ups with outfall; The buoyancy of water effect disappeared after sewage was discharged, and ball float 2 falls automatically, and under the effect of gathering sill 3 guiding, ball float 2 drops on the outfall of base 1 and with its sealing is combined the excessive foul smell of sealing sewer pipe.
The utility model float ball type anti-foul drain has reasonable in design, simple in structure, economical and practical characteristics, can effectively solve the floor drain inlet seal, stops sewer pipe gas excessive, improves indoor air quality.

Claims (2)

1.一种浮球式防臭地漏,其特征在于:是由底座(1)、浮球(2)、导向槽(3)和上盖(4)组成,在底座(1)的底部设有排水口,浮球(2)设置在排水口的上面,上盖(4)设置在底座(1)的上面,上盖(4)的底部设有导向槽(3),浮球(2)在导向槽(3)内上下浮动。 1. A floating ball type anti-odor floor drain, characterized in that: it is composed of a base (1), a floating ball (2), a guide groove (3) and an upper cover (4), and a drain is provided at the bottom of the base (1). mouth, the floating ball (2) is set on the top of the drain, the upper cover (4) is set on the top of the base (1), the bottom of the upper cover (4) is provided with a guide groove (3), and the floating ball (2) guides Float up and down in the groove (3). 2.根据权利要求1所述的浮球式防臭地漏,其特征在于:所述的浮球(2)的形状为底部是半球上部是圆柱体;或底部是圆锥上部是圆柱体;或圆球体。 2. The floating ball type deodorant floor drain according to claim 1, characterized in that: the shape of the floating ball (2) is that the bottom is a hemisphere and the upper part is a cylinder; or the bottom is a cone and the upper part is a cylinder; or a sphere .
CN201220344407.2U 2012-07-17 2012-07-17 Ball float type deodorant floor drain Expired - Fee Related CN202672274U (en)

Priority Applications (1)

Application Number Priority Date Filing Date Title
CN201220344407.2U CN202672274U (en) 2012-07-17 2012-07-17 Ball float type deodorant floor drain

Applications Claiming Priority (1)

Application Number Priority Date Filing Date Title
CN201220344407.2U CN202672274U (en) 2012-07-17 2012-07-17 Ball float type deodorant floor drain

Publications (1)

Publication Number Publication Date
CN202672274U true CN202672274U (en) 2013-01-16

Family

ID=47493183

Family Applications (1)

Application Number Title Priority Date Filing Date
CN201220344407.2U Expired - Fee Related CN202672274U (en) 2012-07-17 2012-07-17 Ball float type deodorant floor drain

Country Status (1)

Country Link
CN (1) CN202672274U (en)

Cited By (1)

* Cited by examiner, † Cited by third party
Publication number Priority date Publication date Assignee Title
CN106368293A (en) * 2016-11-01 2017-02-01 刘时初 Odor-resistant floor drain with rotational flow floating ball

Cited By (1)

* Cited by examiner, † Cited by third party
Publication number Priority date Publication date Assignee Title
CN106368293A (en) * 2016-11-01 2017-02-01 刘时初 Odor-resistant floor drain with rotational flow floating ball

Similar Documents

Publication Publication Date Title
CN203129292U (en) Low-flow started siphon water tank with water levels adjustable
CN205839888U (en) The anti-H pipe that backflows of a kind of used in construction drainage
CN104652593B (en) A kind of ball float water-sealing stinking-proof floor drain
CN201915487U (en) Automatic-sealing deodorant floor drain
CN202672274U (en) Ball float type deodorant floor drain
CN202646875U (en) Float valve internally provided with floats
CN201964588U (en) Odor-resistant water sealing device
CN203231077U (en) Associated gas condensate automatic drain device
CN201554110U (en) a float floor drain
CN208023690U (en) A kind of PVC floor drain pipes
CN205369499U (en) Odor -prevention inspect -prevention floor drain core
CN204592841U (en) Float steam bleeder
CN202202388U (en) Water-tank-sealed vacuum auxiliary water closet
CN102268897A (en) Water sealed floor drain core
CN217762300U (en) Floating ball liquid drainage device
CN106223452A (en) Water seal type floor drain
CN203891178U (en) Floor drain
CN205435065U (en) Water installation is scraped to nitrobenzene
CN223176850U (en) Drain outlet anti-drying water seal device and urinal and wash basin thereof
CN102758473A (en) Side drain floor drain
CN202157389U (en) Multi-way full-sealing floor drain
CN202672329U (en) Self-opening floor drain
CN201785858U (en) Floating ball multi-sealing reverse-stopping floor drain
CN203963209U (en) The floating logical drain valve assembly of choke taste waterpower
CN203174708U (en) Water tank drainer

Legal Events

Date Code Title Description
C14 Grant of patent or utility model
GR01 Patent grant
CF01 Termination of patent right due to non-payment of annual fee

Granted publication date: 20130116

Termination date: 20140717

EXPY Termination of patent right or utility model