CN202671169U - Flip tool for barrel-type workpiece - Google Patents
Flip tool for barrel-type workpiece Download PDFInfo
- Publication number
- CN202671169U CN202671169U CN 201220208731 CN201220208731U CN202671169U CN 202671169 U CN202671169 U CN 202671169U CN 201220208731 CN201220208731 CN 201220208731 CN 201220208731 U CN201220208731 U CN 201220208731U CN 202671169 U CN202671169 U CN 202671169U
- Authority
- CN
- China
- Prior art keywords
- cylindrical workpiece
- fixed
- turning tool
- fixed pulleys
- cylindrical
- Prior art date
- Legal status (The legal status is an assumption and is not a legal conclusion. Google has not performed a legal analysis and makes no representation as to the accuracy of the status listed.)
- Expired - Fee Related
Links
Images
Landscapes
- Spray Control Apparatus (AREA)
Abstract
本实用新型公开了一种筒形工件的翻转工装,其包括用于悬吊筒形工件的支架,支架上在水平方向上相对间隔设置有两定滑轮,两定滑轮上分别设有钢丝绳,钢丝绳的两端分别固定有用于与筒形工件两端面上的工艺孔对应连接的螺栓型吊环。本实用新型的翻转工装的结构简单,使用时,其将筒形工件两端端面上相对间隔布设的两工艺孔分别用吊环与一根绕过定滑轮的钢丝绳的两端对应连接,利用定滑轮的转动通过钢丝绳带动筒形工件实现360°的旋转,避免了人工搬运翻转划伤磕碰筒形工件表面,而且喷涂工作无死角,从而提高了筒形工件的喷涂质量,同时,利用工装完成筒形工件的翻转有效避免了碰伤、砸伤事故的发生,解决了人工搬运安全隐患大的问题。
The utility model discloses a turning tool for a cylindrical workpiece, which comprises a bracket for suspending the cylindrical workpiece. Two fixed pulleys are arranged at relative intervals in the horizontal direction on the bracket, and steel wire ropes are respectively arranged on the two fixed pulleys. Bolt-type lifting rings for correspondingly connecting with the process holes on the two ends of the cylindrical workpiece are respectively fixed on the two ends of the cylinder. The structure of the turning tool of the utility model is simple. When in use, the two process holes arranged at opposite intervals on the end faces of the two ends of the cylindrical workpiece are respectively connected with the two ends of a steel wire rope bypassing the fixed pulley with the corresponding suspension rings. The rotation of the cylindrical workpiece is driven by the wire rope to achieve a 360° rotation, which avoids manual handling, flipping, scratching and bumping the surface of the cylindrical workpiece, and there is no dead angle in the spraying work, thereby improving the spraying quality of the cylindrical workpiece. At the same time, the cylindrical workpiece is completed by using tooling The overturning of the workpiece effectively avoids the occurrence of bruising and smashing accidents, and solves the problem of large safety hazards in manual handling.
Description
技术领域 technical field
本实用新型涉及一种用于翻转大型筒形工件的翻转工装。 The utility model relates to an overturning tool for overturning a large cylindrical workpiece.
背景技术 Background technique
现有高压电器开关中的大型筒形工件的表面喷漆作业需把筒体吊放在运输台上再送入涂漆车间涂漆,在喷涂过程中需要翻转筒体以便喷涂到筒体的各个部位。传统做法是采用人工搬运翻转,不仅增加工人的劳动强度,而且采用人工翻转极易发生划伤磕碰事件,且存在喷涂死角,无法保证筒形工件的喷涂质量,同时,人工翻转工件容易发生砸伤事故,存在较大的安全隐患。另外,筒形工件在喷涂作业完成后需要另外配备大型辅助吊具,将筒形工件吊运到烘干车间,筒形工件的二次吊装增加了操作工序,使得其生产效率较低。 The surface painting operation of the large cylindrical workpiece in the existing high-voltage electrical switch needs to hang the cylinder on the transport platform and then send it to the painting workshop for painting. During the spraying process, the cylinder needs to be turned so as to spray on various parts of the cylinder. The traditional method is to use manual handling and turning, which not only increases the labor intensity of workers, but also easily causes scratches and bumps, and there are dead spots for spraying, which cannot guarantee the spraying quality of cylindrical workpieces. At the same time, manual turning of workpieces is prone to damage Accidents pose a serious safety hazard. In addition, after the spraying operation is completed, the cylindrical workpiece needs to be equipped with a large auxiliary hoist to lift the cylindrical workpiece to the drying workshop. The secondary hoisting of the cylindrical workpiece increases the operation process and makes its production efficiency low.
实用新型内容 Utility model content
本实用新型的目的是:提供一种筒形工件的翻转工装,以解决人工翻转工件安全性较低、涂漆质量较差的问题。 The purpose of the utility model is to provide a turning tool for a cylindrical workpiece to solve the problems of low safety and poor painting quality of manually turning the workpiece.
本实用新型的技术方案是:一种筒形工件的翻转工装,包括用于悬吊筒形工件的支架,支架上在水平方向上相对间隔设置有两定滑轮,两定滑轮上分别设有钢丝绳,钢丝绳的两端分别固定有用于与筒形工件两端面上的工艺孔对应连接的螺栓型吊环。 The technical scheme of the utility model is: a turning tool for a cylindrical workpiece, including a bracket for suspending the cylindrical workpiece. Two fixed pulleys are arranged at relative intervals in the horizontal direction on the bracket, and steel wire ropes are respectively arranged on the two fixed pulleys. , the two ends of the steel wire rope are respectively fixed with bolt-type lifting rings for corresponding connection with the process holes on the two ends of the cylindrical workpiece.
所述的两定滑轮分别通过对应设置的旋转吊环吊挂在支架上。 The two fixed pulleys are respectively hung on the bracket through correspondingly provided rotating rings.
所述支架主要由相对间隔分置的立柱及跨接在两立柱顶端的横梁组成,所述的两定滑轮悬吊在横梁底部。 The support is mainly composed of uprights separated at intervals and a crossbeam spanning the tops of the two uprights, and the two fixed pulleys are suspended at the bottom of the crossbeam.
在所述横梁的底部相对间隔固设有两块位置调整板,两位置调整板均沿横梁纵向延伸,在两位置调整板上分别沿其延伸方向排列有调整孔,所述的两定滑轮根据筒形工件的长度分别通过旋转吊环悬挂在相应位置调整板的调整孔中。 Two position adjustment plates are fixed at the bottom of the crossbeam at relative intervals. The two position adjustment plates extend longitudinally along the crossbeam. Adjustment holes are arranged on the two position adjustment plates along their extension directions. The two fixed pulleys are according to The lengths of the cylindrical workpieces are respectively suspended in the adjustment holes of the corresponding position adjustment plates through the rotating suspension rings.
所述的支架由钢管焊接制成。 The bracket is made by welding steel pipes.
所述的横梁由工字钢制成。 The beam is made of I-beam.
在所述横梁上部的两端分别固定有用于与吊机连接的吊环板。 Both ends of the upper part of the beam are respectively fixed with ring plates for connecting with a crane.
本实用新型的翻转工装的结构简单,使用时,其将筒形工件两端端面上相对间隔布设的两工艺孔分别用吊环与一根绕过定滑轮的钢丝绳的两端对应连接,利用定滑轮的转动通过钢丝绳带动筒形工件实现360°的旋转,避免了人工搬运翻转划伤磕碰筒形工件表面,而且喷涂工作无死角,从而提高了筒形工件的喷涂质量,同时,利用工装完成筒形工件的翻转有效避免了碰伤、砸伤事故的发生,解决了人工搬运安全隐患大的问题。 The utility model has a simple structure. When in use, the two process holes arranged at opposite intervals on the two ends of the cylindrical workpiece are respectively connected with the two ends of a steel wire rope bypassing the fixed pulley with the corresponding suspension rings. The rotation of the cylindrical workpiece is driven by the wire rope to achieve a 360° rotation, which avoids manual handling, flipping, scratching and bumping the surface of the cylindrical workpiece, and there is no dead angle in the spraying work, thereby improving the spraying quality of the cylindrical workpiece. At the same time, the cylindrical workpiece is completed by using tooling The overturning of the workpiece effectively avoids the occurrence of bruising and smashing accidents, and solves the problem of large safety hazards in manual handling.
附图说明 Description of drawings
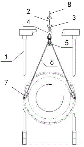
图1为本实用新型筒形工件翻转工装具体实施例的结构示意图; Fig. 1 is the structural schematic diagram of the specific embodiment of the utility model tubular workpiece turning tool;
图2为图1的K向视图; Fig. 2 is the K direction view of Fig. 1;
图3为图1中定滑轮与旋转吊环的连接结构示意图。 Fig. 3 is a schematic diagram of the connection structure between the fixed pulley and the rotating ring in Fig. 1 .
具体实施方式 Detailed ways
本实用新型的筒形工件翻转工装的具体实施例如图1、图2、图3所示,其包括由钢管焊接制成并相对间隔设置的两支架1及固定架设在两支架1顶部由工字钢制成的横梁2,横梁2下部相对间隔设置有两位置调整板3,该两位置调整板3均沿横梁2纵长方向延伸,在两位置调整板3上分别沿其延伸方向间隔布设有若干位置调整孔,在两位置调整板3相应的位置调整孔中分别通过挂钩悬挂有旋转吊环4,在两旋转吊环4下部分别连接有定滑轮5,两定滑轮5上均设有钢丝绳6,在两钢丝绳6的两端分别固定有用于与筒形工件两端端面上间隔开设的工艺孔对应连接的螺栓型吊环7。在横梁上部的两端还分别固定有用于连接吊机的吊环板8。
The specific embodiment of the cylindrical workpiece turning tool of the present utility model is shown in Fig. 1, Fig. 2 and Fig. 3, which includes two
本实用新型的翻转工装在使用时,根据筒形工件的长度,将两定滑轮分别悬挂在位置调整板3中相应的位置调整孔中,钢丝绳6穿过定滑轮5,其两端分别用螺栓型吊环连接在筒形工件端面上间隔布设的工艺孔中,使旋转吊环7与钢丝绳6形成一定的夹角。将该翻转工装置于涂漆车间,筒形工件表面经脱脂、冲洗后其通过两端用螺栓型吊环7连接的钢丝绳6悬吊在横梁2下方,进行涂漆作业,喷涂过程中,可以通过连接在筒形工件两端的钢丝绳6和定滑轮5配合实现筒形工件的360°旋转,保证喷涂均匀且涂漆无死角,提高了涂漆质量,而且两端的钢丝绳6不会发生交叉缠绕,喷涂作业时,筒形工件始终处于悬空状态,减轻了工人的劳动强度,避免了划伤磕碰及人工翻转危险情况的发生,确保工作中的安全。涂漆作业完成后,直接用天车吊起横梁2两端的吊环板8,将该翻转工装连通筒形工件一起运往烘干车间,避免了二次吊装,提高了工作效率。
When the turning tool of the utility model is in use, according to the length of the cylindrical workpiece, the two fixed pulleys are respectively suspended in the corresponding position adjustment holes in the
Claims (7)
Priority Applications (1)
| Application Number | Priority Date | Filing Date | Title |
|---|---|---|---|
| CN 201220208731 CN202671169U (en) | 2012-05-10 | 2012-05-10 | Flip tool for barrel-type workpiece |
Applications Claiming Priority (1)
| Application Number | Priority Date | Filing Date | Title |
|---|---|---|---|
| CN 201220208731 CN202671169U (en) | 2012-05-10 | 2012-05-10 | Flip tool for barrel-type workpiece |
Publications (1)
| Publication Number | Publication Date |
|---|---|
| CN202671169U true CN202671169U (en) | 2013-01-16 |
Family
ID=47492086
Family Applications (1)
| Application Number | Title | Priority Date | Filing Date |
|---|---|---|---|
| CN 201220208731 Expired - Fee Related CN202671169U (en) | 2012-05-10 | 2012-05-10 | Flip tool for barrel-type workpiece |
Country Status (1)
| Country | Link |
|---|---|
| CN (1) | CN202671169U (en) |
Cited By (6)
| Publication number | Priority date | Publication date | Assignee | Title |
|---|---|---|---|---|
| CN104891370A (en) * | 2015-05-05 | 2015-09-09 | 青岛港国际股份有限公司 | Tire replacement machine |
| CN106365027A (en) * | 2016-10-25 | 2017-02-01 | 苏州天沃科技股份有限公司 | Hoisting and overturning tool of high-pressure heater pipe system |
| CN106510102A (en) * | 2016-12-30 | 2017-03-22 | 东莞市鸿程机械有限公司 | Automatic rubber coating device of rope area |
| CN106743419A (en) * | 2016-12-01 | 2017-05-31 | 广州三五汽车部件有限公司 | Turning-up devices before workpiece |
| CN106986291A (en) * | 2017-05-12 | 2017-07-28 | 黄坤坤 | Large scale prefabricated wallboard overturns construction method for hanging in the air |
| CN109454583A (en) * | 2018-11-25 | 2019-03-12 | 格特拉克(江西)传动系统有限公司 | A kind of catching device of shaft assembly dismantling |
-
2012
- 2012-05-10 CN CN 201220208731 patent/CN202671169U/en not_active Expired - Fee Related
Cited By (9)
| Publication number | Priority date | Publication date | Assignee | Title |
|---|---|---|---|---|
| CN104891370A (en) * | 2015-05-05 | 2015-09-09 | 青岛港国际股份有限公司 | Tire replacement machine |
| CN107244635A (en) * | 2015-05-05 | 2017-10-13 | 青岛港国际股份有限公司 | A kind of tyre changing machines |
| CN107244635B (en) * | 2015-05-05 | 2019-05-21 | 青岛港国际股份有限公司 | A kind of tyre changing machines |
| CN106365027A (en) * | 2016-10-25 | 2017-02-01 | 苏州天沃科技股份有限公司 | Hoisting and overturning tool of high-pressure heater pipe system |
| CN106365027B (en) * | 2016-10-25 | 2018-03-23 | 张化机(苏州)重装有限公司 | The hoisting flip tool of high-pressure heater piping |
| CN106743419A (en) * | 2016-12-01 | 2017-05-31 | 广州三五汽车部件有限公司 | Turning-up devices before workpiece |
| CN106510102A (en) * | 2016-12-30 | 2017-03-22 | 东莞市鸿程机械有限公司 | Automatic rubber coating device of rope area |
| CN106986291A (en) * | 2017-05-12 | 2017-07-28 | 黄坤坤 | Large scale prefabricated wallboard overturns construction method for hanging in the air |
| CN109454583A (en) * | 2018-11-25 | 2019-03-12 | 格特拉克(江西)传动系统有限公司 | A kind of catching device of shaft assembly dismantling |
Similar Documents
| Publication | Publication Date | Title |
|---|---|---|
| CN202671169U (en) | Flip tool for barrel-type workpiece | |
| CN205838386U (en) | A kind of lifting mobile device for delivery unit plate | |
| CN104444762B (en) | Wind power foundation ring overturning device and method for overturning foundation ring by using same | |
| CN205932941U (en) | A device for handling of precast box girder template | |
| CN202785364U (en) | Movable dual-door-type mast hoisting device | |
| CN203006738U (en) | Section bar lifting tool | |
| CN202423956U (en) | Hoisting device for power transmission line maintenance | |
| CN204342271U (en) | The safe lifting appliance of prefabricated section | |
| CN203006706U (en) | Lifting device for cabin longitudinal beam welding assembly of vehicle body | |
| CN203402834U (en) | Shipyard gantry crane | |
| CN201598093U (en) | Hoisting fixture for large-sized sectional box-type beam | |
| CN204958222U (en) | Mechanical equipment hoists frame | |
| CN204040598U (en) | The two rocker pole of a kind of remote control hydraulic | |
| CN202848854U (en) | Fixture for lifting packing barrel | |
| CN107215767B (en) | The large-scale light-duty lifting of shell ring multiple degrees of freedom overturns equipment integrating | |
| CN204450480U (en) | A kind of trolley coach bogie frame turning device | |
| CN110523906B (en) | Simple turning-over method for large-sized cylinder forging | |
| CN205500619U (en) | Vapour is repaiied with portable jack -up shallow | |
| CN104528519A (en) | Clamping tool for assisting in hoisting cement electric poles | |
| CN211992810U (en) | Special wheel rough machining lifting appliance placing tool | |
| CN204342245U (en) | A kind of wind-power tower hoisting sling | |
| CN204198234U (en) | A kind of wind power foundation ring turning device | |
| CN205442447U (en) | Chemical production loading attachment | |
| CN206511798U (en) | The special hanger of large-scale component pallet | |
| CN207108239U (en) | A kind of Novel steel profile hoisting device |
Legal Events
| Date | Code | Title | Description |
|---|---|---|---|
| C14 | Grant of patent or utility model | ||
| GR01 | Patent grant | ||
| CF01 | Termination of patent right due to non-payment of annual fee |
Granted publication date: 20130116 Termination date: 20180510 |
|
| CF01 | Termination of patent right due to non-payment of annual fee |
