CN202656606U - 一种五色水松纸电脑凹版印刷机 - Google Patents
一种五色水松纸电脑凹版印刷机 Download PDFInfo
- Publication number
- CN202656606U CN202656606U CN 201220243980 CN201220243980U CN202656606U CN 202656606 U CN202656606 U CN 202656606U CN 201220243980 CN201220243980 CN 201220243980 CN 201220243980 U CN201220243980 U CN 201220243980U CN 202656606 U CN202656606 U CN 202656606U
- Authority
- CN
- China
- Prior art keywords
- machine body
- computer
- sides
- paper
- printing
- Prior art date
- Legal status (The legal status is an assumption and is not a legal conclusion. Google has not performed a legal analysis and makes no representation as to the accuracy of the status listed.)
- Expired - Fee Related
Links
- 239000007799 cork Substances 0.000 claims description 8
- 238000001035 drying Methods 0.000 abstract description 7
- 239000012855 volatile organic compound Substances 0.000 abstract 1
- 239000000976 ink Substances 0.000 description 7
- 239000003086 colorant Substances 0.000 description 3
- 230000000694 effects Effects 0.000 description 2
- 238000005516 engineering process Methods 0.000 description 2
- 235000019504 cigarettes Nutrition 0.000 description 1
- 230000005611 electricity Effects 0.000 description 1
- 239000000463 material Substances 0.000 description 1
- 239000000203 mixture Substances 0.000 description 1
- 239000005416 organic matter Substances 0.000 description 1
- 238000010977 unit operation Methods 0.000 description 1
Images
Landscapes
- Printing Methods (AREA)
Abstract
本实用新型公开了一种五色水松纸电脑凹版印刷机,包括安装于地面上的机体,机体两侧分别设有给纸辊、收纸辊,机体的两侧的印刷组内侧壁上、中间的印刷组两侧壁上分别安装有内空的壳体,壳体下端延伸到各印刷组的转辊下方,机体后侧的支架上安装有热风机,热风机的出风口与壳体相连通。本实用新型结构设计合理,通过在各印刷组的两侧设有壳体,并且壳体延伸至转辊的下方,油墨不会出现假干的现象、纸张表面烘干的均匀性好,有利于挥发性有机物得完全的挥发,提高了烘干的质量。
Description
技术领域:
本实用新型涉及卷烟辅材加工技术,尤其涉及一种五色水松纸电脑凹版印刷机。
背景技术:
凹版印刷机是使用凹版进行印刷的机器。印版的图文部分凹下,而空白部分与印版滚筒的外圆在同一平面上。印刷时,印版滚筒全版面着墨,以刮墨刀将版面上空白部分的油墨刮 清,留下图文部分的油墨,然后过纸,由压印滚筒在纸的背面压印,使凹下部分的油墨直接转移到纸面上,最后经收纸部分将印刷品堆集或复卷好。
凹版印刷机的分类:机型按使用纸张的不同分为单张纸和卷筒纸凹印机;按机组运行一次印刷的色数分为单色、四色、五色、六色等,又有单面印刷和双面印刷之分。
凹版印刷机的主要结构均由给纸、给墨、 印刷、烘干、收纸5个部分组成。烘干部分是利用电或蒸汽加热的热风,有的用红外线或远红外线灯使印刷品干燥。
对于五色凹版印刷机的烘干装置由于结构设计不合理,在各个印刷组的一侧设有烘干装置,直接导致油墨会出现假干的现象;纸张表面烘干时纸张均匀性较差,导致安全性能较差;油墨中一些挥发性有机物得不到完全的挥发等等。
实用新型内容:
为了解决现有技术问题,本实用新型的目的是提供一种五色水松纸电脑凹版印刷机,结构设计合理,改善了传统的烘干结构,烘干效果优越。
本实用新型的技术方案如下:
五色水松纸电脑凹版印刷机,包括安装于地面上的机体,机体两侧分别设有给纸辊、收纸辊,其特征在于:所述的机体的两侧的印刷组内侧壁上、中间的印刷组两侧壁上分别安装有内空的壳体,壳体下端延伸到各印刷组的转辊下方,机体后侧的支架上安装有热风机,热风机的出风口与壳体相连通。
所述的五色水松纸电脑凹版印刷机,其特征在于:所述的壳体靠近印刷组的侧壁截面为折线形,侧壁上开有出风孔,出风孔正对转辊。
本实用新型的优点是:
本实用新型结构设计合理,通过在各印刷组的两侧设有壳体,并且壳体延伸至转辊的下方,油墨不会出现假干的现象、纸张表面烘干的均匀性好,有利于挥发性有机物得完全的挥发,提高了烘干的质量。
附图说明:
图1为本实用新型的结构示意图。
图2为本实用新型壳体的结构示意图。
具体实施方式:
参见图1:
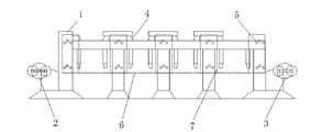
五色水松纸电脑凹版印刷机,包括安装于地面上的机体1,机体1两侧分别设有给纸辊2、收纸辊3,机体1的两侧的印刷组内侧壁上、中间的印刷组两侧壁上分别安装有内空的壳体4,壳体4下端延伸到各印刷组的转辊5下方,机体1后侧的支架6上安装有热风机7,热风机7的出风口与壳体4相连通。
壳体4靠近印刷组的侧壁截面为折线形,侧壁上开有出风孔8,出风孔8正对转辊5,壳体4的上端大,便于热风进入;下端小,下端靠近印刷组的侧壁的内面与竖直设计,提高了烘干效果。
Claims (2)
1.一种五色水松纸电脑凹版印刷机,包括安装于地面上的机体,机体两侧分别设有给纸辊、收纸辊,其特征在于:所述的机体的两侧的印刷组内侧壁上、中间的印刷组两侧壁上分别安装有内空的壳体,壳体下端延伸到各印刷组的转辊下方,机体后侧的支架上安装有热风机,热风机的出风口与壳体相连通。
2.根据权利要求1所述的五色水松纸电脑凹版印刷机,其特征在于:所述的壳体靠近印刷组的侧壁截面为折线形,侧壁上开有出风孔,出风孔正对转辊。
Priority Applications (1)
| Application Number | Priority Date | Filing Date | Title |
|---|---|---|---|
| CN 201220243980 CN202656606U (zh) | 2012-05-28 | 2012-05-28 | 一种五色水松纸电脑凹版印刷机 |
Applications Claiming Priority (1)
| Application Number | Priority Date | Filing Date | Title |
|---|---|---|---|
| CN 201220243980 CN202656606U (zh) | 2012-05-28 | 2012-05-28 | 一种五色水松纸电脑凹版印刷机 |
Publications (1)
| Publication Number | Publication Date |
|---|---|
| CN202656606U true CN202656606U (zh) | 2013-01-09 |
Family
ID=47451536
Family Applications (1)
| Application Number | Title | Priority Date | Filing Date |
|---|---|---|---|
| CN 201220243980 Expired - Fee Related CN202656606U (zh) | 2012-05-28 | 2012-05-28 | 一种五色水松纸电脑凹版印刷机 |
Country Status (1)
| Country | Link |
|---|---|
| CN (1) | CN202656606U (zh) |
Cited By (4)
| Publication number | Priority date | Publication date | Assignee | Title |
|---|---|---|---|---|
| CN105346203A (zh) * | 2015-11-05 | 2016-02-24 | 浙江特美新材料股份有限公司 | 一种应用于水松纸印刷的凸印机 |
| CN105346202A (zh) * | 2015-11-05 | 2016-02-24 | 浙江特美新材料股份有限公司 | 水松纸凸印机中的印刷机及其印刷方法 |
| CN109263258A (zh) * | 2018-08-24 | 2019-01-25 | 界首市长兴印务包装有限责任公司 | 一种彩印的印刷装置 |
| CN109397860A (zh) * | 2018-12-08 | 2019-03-01 | 杭州多丽彩印有限公司 | 环保型五色印刷机 |
-
2012
- 2012-05-28 CN CN 201220243980 patent/CN202656606U/zh not_active Expired - Fee Related
Cited By (6)
| Publication number | Priority date | Publication date | Assignee | Title |
|---|---|---|---|---|
| CN105346203A (zh) * | 2015-11-05 | 2016-02-24 | 浙江特美新材料股份有限公司 | 一种应用于水松纸印刷的凸印机 |
| CN105346202A (zh) * | 2015-11-05 | 2016-02-24 | 浙江特美新材料股份有限公司 | 水松纸凸印机中的印刷机及其印刷方法 |
| CN109263258A (zh) * | 2018-08-24 | 2019-01-25 | 界首市长兴印务包装有限责任公司 | 一种彩印的印刷装置 |
| CN109263258B (zh) * | 2018-08-24 | 2020-09-11 | 阜阳长兴印务包装股份有限公司 | 一种彩印的印刷装置 |
| CN109397860A (zh) * | 2018-12-08 | 2019-03-01 | 杭州多丽彩印有限公司 | 环保型五色印刷机 |
| CN109397860B (zh) * | 2018-12-08 | 2024-04-05 | 杭州多丽彩印有限公司 | 环保型五色印刷机 |
Similar Documents
| Publication | Publication Date | Title |
|---|---|---|
| CN202656606U (zh) | 一种五色水松纸电脑凹版印刷机 | |
| CN203019816U (zh) | 一种凹版印刷机的循环供墨装置 | |
| CN204322687U (zh) | 全自动电脑套色凹版印刷机 | |
| CN203901908U (zh) | 一种无水胶印设备 | |
| CN205573260U (zh) | 一种高效的印刷烘干压膜卷筒壁纸一体机 | |
| CN202656590U (zh) | 一种水松纸凹版印刷机 | |
| CN104908407B (zh) | 一种卫星式单面多用途印刷机 | |
| CN201366830Y (zh) | 印刷机的柔版和凹版两用组合式印组 | |
| CN202986332U (zh) | 印刷机刮墨装置 | |
| CN201198216Y (zh) | 带匀墨短墨路的印刷色组装置 | |
| CN207088710U (zh) | 新型卷筒纸凹印机双面干燥箱 | |
| CN107187177A (zh) | 一种错层式双面单色水润版胶印机 | |
| CN103465608A (zh) | 一种双进双出凹版印刷机 | |
| CN202556894U (zh) | 吹风管 | |
| CN204773974U (zh) | 一种卫星式单面多用途印刷机 | |
| CN206644420U (zh) | 一种单机组式双面双色胶印机 | |
| CN204249543U (zh) | 一种制作防伪标签的凹版印刷机装置 | |
| CN212796182U (zh) | 一种凹版印刷机的压印机构 | |
| CN202826701U (zh) | 印刷机节能型烘箱 | |
| CN206938149U (zh) | 一种错层式双面单色水润版胶印机 | |
| CN202986304U (zh) | 一种印刷机纵切机构 | |
| CN2704477Y (zh) | 一种轮转印刷机的滚筒组结构 | |
| CN207059453U (zh) | 一种七色全自动水印印刷设备 | |
| CN203472261U (zh) | 双进双出凹版印刷机 | |
| CN208497950U (zh) | 一种凹版印刷机的给墨装置 |
Legal Events
| Date | Code | Title | Description |
|---|---|---|---|
| C14 | Grant of patent or utility model | ||
| GR01 | Patent grant | ||
| C56 | Change in the name or address of the patentee | ||
| CP01 | Change in the name or title of a patent holder |
Address after: 246400 Taihu Economic Development Zone, Anqing, Anhui Patentee after: Anhui Jiyou New Material Co., Ltd. Address before: 246400 Taihu Economic Development Zone, Anqing, Anhui Patentee before: Taihu Jiyou Paper Industry Co., Ltd. |
|
| CF01 | Termination of patent right due to non-payment of annual fee | ||
| CF01 | Termination of patent right due to non-payment of annual fee |
Granted publication date: 20130109 Termination date: 20200528 |