CN202649059U - Glass splash prevention device of falling ball impact tester - Google Patents
Glass splash prevention device of falling ball impact tester Download PDFInfo
- Publication number
- CN202649059U CN202649059U CN 201220294286 CN201220294286U CN202649059U CN 202649059 U CN202649059 U CN 202649059U CN 201220294286 CN201220294286 CN 201220294286 CN 201220294286 U CN201220294286 U CN 201220294286U CN 202649059 U CN202649059 U CN 202649059U
- Authority
- CN
- China
- Prior art keywords
- ball impact
- falling ball
- glass
- protective cover
- impact test
- Prior art date
- Legal status (The legal status is an assumption and is not a legal conclusion. Google has not performed a legal analysis and makes no representation as to the accuracy of the status listed.)
- Expired - Fee Related
Links
- 239000011521 glass Substances 0.000 title claims abstract description 48
- 230000002265 prevention Effects 0.000 title abstract 4
- 238000009863 impact test Methods 0.000 claims abstract description 37
- 230000001681 protective effect Effects 0.000 claims abstract description 28
- 229910000831 Steel Inorganic materials 0.000 claims abstract description 15
- 239000010959 steel Substances 0.000 claims abstract description 15
- XEEYBQQBJWHFJM-UHFFFAOYSA-N Iron Chemical compound [Fe] XEEYBQQBJWHFJM-UHFFFAOYSA-N 0.000 claims description 51
- 239000002893 slag Substances 0.000 claims description 27
- 229910052742 iron Inorganic materials 0.000 claims description 25
- 230000005611 electricity Effects 0.000 claims description 21
- 206010041662 Splinter Diseases 0.000 claims description 18
- 238000000034 method Methods 0.000 claims description 5
- 239000004411 aluminium Substances 0.000 claims description 2
- XAGFODPZIPBFFR-UHFFFAOYSA-N aluminium Chemical compound [Al] XAGFODPZIPBFFR-UHFFFAOYSA-N 0.000 claims description 2
- 229910052782 aluminium Inorganic materials 0.000 claims description 2
- 229910001220 stainless steel Inorganic materials 0.000 claims description 2
- 239000010935 stainless steel Substances 0.000 claims description 2
- 238000012360 testing method Methods 0.000 abstract description 19
- 238000002474 experimental method Methods 0.000 abstract description 3
- 239000000463 material Substances 0.000 abstract description 2
- 239000012634 fragment Substances 0.000 abstract 4
- 230000015572 biosynthetic process Effects 0.000 description 1
- 230000007812 deficiency Effects 0.000 description 1
- 238000013461 design Methods 0.000 description 1
- 238000001514 detection method Methods 0.000 description 1
- 238000006073 displacement reaction Methods 0.000 description 1
- 230000000694 effects Effects 0.000 description 1
- 238000005516 engineering process Methods 0.000 description 1
- 230000003116 impacting effect Effects 0.000 description 1
- 238000007689 inspection Methods 0.000 description 1
- 230000000704 physical effect Effects 0.000 description 1
- 238000012545 processing Methods 0.000 description 1
- 230000035939 shock Effects 0.000 description 1
- 239000005341 toughened glass Substances 0.000 description 1
- 230000009466 transformation Effects 0.000 description 1
Images
Landscapes
- Investigating Strength Of Materials By Application Of Mechanical Stress (AREA)
Abstract
The utility model discloses a glass splash prevention device of a falling ball impact tester. The glass splash prevention device is characterized in that a protective cover is arranged on the upper end of a fragment collecting box of the falling ball impact tester, so that when glass under test is impacted and crushed by a steel ball, glass fragments are prevented from injuring test personnel; and when a falling ball impact test is carried out, splashing glass fragments can be rebound and return to the interior of the fragment collecting box once coming into contact with the protective cover, and are prevented from being splashed to a larger space. The glass splash prevention device disclosed by the utility model is simple and easy to machine, safe and reliable in structure, and low in material cost, ensures that an operator is guaranteed in safety reliably when doing an experiment, and can also be popularized and applied to other similar testers.
Description
Technical field
The utility model relates to the anti-glass splinter device of a kind of falling ball impact test machine, belongs to physical property checkout equipment technical field.
Background technology
When glass quality being exercised supervision detection, often need to use falling ball impact test machine make impulse test to glass, to obtain the shock resistance parameter of glass.The principle of work of falling ball impact test machine is that detected tempered glass is lain on the slag trapping box of testing machine, inhale iron and steel ball (this highly inhales the height on lower end to the surface of tested glass of the steel ball that iron holds for electricity) according to standard GB/T 15763.2-2005 being defined as 1 meter height setting electricity with the glass criterion distance, when energising, electricity is inhaled iron and is held steel ball, when closing the ferroelectric source of electricity suction, electricity suction this moment iron loses suction (suction of electricity suction iron is 80 kilograms).The steel ball that loses suction will break away from electricity to be inhaled iron and freely falls fast, impacts the center at glass.Under the effect of impacting, tested glass is washed out, the glass that wash out this moment will be fallen in the slag trapping box on the testing machine platform.(quality is about 1040 grams for impact test and used steel ball size 63.5 ㎜, steel ball is very large to the impulsive force that glass causes, the glass dregs that has in the process of the test can splash towards different angles, the glass dregs that splashes might hurt testing crew, therefore, at the trial, testing crew often operates (distance of design experiment machine host and mobile operation table is all more than 2 meters) away from testing machine.If but the space of testing laboratory is less, or because other reasons is limit, and testing crew can be kept out of the way nowhere, the glass that splashes will damage testing crew.Although falling ball impact test machine in the market is many, there is not a kind of falling ball impact test machine to be provided with the device that anti-glass splashes.Therefore, the safety coefficient of existing falling ball impact test machine is poor, and the life security that detects operating personnel is brought certain threat.Therefore, existing technical scheme or undesirable.
Summary of the invention
The technical problems to be solved in the utility model provides a kind of anti-glass splinter device that is attached on the falling ball impact test machine, can prevent that when carrying out falling-ball impact test the glass dregs that splashes from hurting testing crew, to overcome the deficiencies in the prior art.
For realizing the purpose of this utility model, a kind of falling ball impact test machine of the present utility model is prevented the glass splinter device, comprise falling ball impact test machine and controller, falling ball impact test machine is made of base and column, and column is provided with electricity and inhales the iron jacking gear, the termination of electricity suction iron jacking gear is provided with electricity and inhales iron and the steel ball that can be adsorbed on the electricity suction iron, base is provided with slag trapping box, wherein, is provided with the protective cover of prismatoid shape at slag trapping box, the protective cover upper end open, the lower end is fixed on the slag trapping box.
Further, above-mentioned falling ball impact test machine is prevented the glass splinter device, and wherein, described protective cover lower end is provided with the extension of downward parcel slag trapping box.
Further, above-mentioned falling ball impact test machine is prevented the glass splinter device, and wherein, described protective cover lower end is provided with to the right-angle side of slag trapping box infolding.
Further, above-mentioned falling ball impact test machine is prevented the glass splinter device, and wherein, described protective cover upper end is provided with to the bevel edge of slag trapping box inclination infolding, and the inclination angle of described bevel edge and protective cover is 30 °.
Further, above-mentioned falling ball impact test machine is prevented the glass splinter device, and wherein, described protective cover is the structure that adopts the thick aluminium skin of 0.5 ㎜ to process.
In addition, above-mentioned falling ball impact test machine is prevented the glass splinter device, and wherein, described protective cover can also be the structure that the stainless steel mesh of employing 0.9 ㎜ square hole processes.
Owing to having adopted falling ball impact test machine of the present utility model to prevent the glass splinter device, when carrying out falling-ball impact test, in a single day the glass dregs that splashes that impact causes is run into after the protective cover, and the immediately resilience of these bits turns back in the slag trapping box on the base, avoids splashing to larger space.Device of the present utility model is simple and easy to processing, structural safety is reliable, the cost of material is low, makes operating personnel obtain safe and reliable guarantee when doing experiment, and also can be applied on other similar test units.
Description of drawings
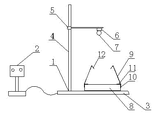
Accompanying drawing 1 is the utility model structural representation.
Description of reference numerals: the 1-falling ball impact test machine, the 2-controller, the 3-base, the 4-column, the 5-electricity is inhaled the iron jacking gear, and the 6-electricity is inhaled iron, 7-steel ball, 8-slag trapping box, 9-protective cover, 10-extension, 11-right-angle side, 12-bevel edge.
Embodiment
The utility model is described in further detail below in conjunction with drawings and Examples.
Structural representation of the present utility model as shown in Figure 1, the utility model is for the anti-glass splinter device on the falling ball impact test machine 1, wherein falling ball impact test machine 1 is made of base 3 and column 4 and is controlled by controller 2, be provided with electricity at column 4 and inhale iron jacking gear 5, the termination of electricity suction iron jacking gear 5 is provided with and is adsorbed on the electric steel ball 7 of inhaling on the iron 6 when electricity is inhaled iron 6 and energising, base 3 is provided with slag trapping box 8, innovation of the present utility model is to be provided with at slag trapping box 8 protective cover 9 of prismatoid shape, protective cover 9 upper end open, the lower end is fixed on the slag trapping box 8.The junction of protective cover 9 and slag trapping box 8 is provided with a downward elongated segment section 10 and envelopes to the right-angle side 11 of the slag trapping box 8 infoldings upper end with slag trapping box 8, prevents that protective cover 9 from producing too much displacement in slag trapping box 8 upper ends, guaranteed the stability of whole device.Upper port at protective cover 9 is provided with to the bevel edge 12 of slag trapping box 8 inclination infoldings, has increased protective cover 9 and has stopped the stress surface that glass splashes.
When carrying out falling-ball impact test, tested glass is placed in the slag trapping box 8 on the base 3 of falling ball impact test machine 1, the electricity that uses controller 2 to adjust on the column 4 of falling ball impact test machine 1 is inhaled iron jacking gear 5, electricity is inhaled iron 6 energisings, make electricity inhale iron 6 adsorb steel ball 7 and make steel ball 7 and tested glass between the discrepancy in elevation reach the test specification requirement.After the testing crew inspection apparatus is errorless, begin to test.Testing crew uses the electricity of 2 pairs of falling ball impact test machines 1 of controller to inhale iron 6 outages, at this moment steel ball 7 has lost the suction-operated of electric suction iron 6 and has done the movement of falling object, steel ball 7 falls into slag trapping box 8 from the opening of protective cover 9 upper ends and impacts tested on glass, with glass crushing, glass dregs can splash by one way or another, the glass dregs that splashes is subject to the bounce-back of protective cover 9 when impinging upon on each face of protective cover 9 and falls back in the slag trapping box 8, prevents that glass dregs from hurting the purpose of testing crew thereby reach.
Certainly, more than be concrete exemplary applications of the present utility model, the utility model also has other embodiment, and all employings are equal to the technical scheme of replacement or equivalent transformation formation, all drop within the desired protection domain of the utility model.
Claims (7)
1. a falling ball impact test machine is prevented the glass splinter device, comprise falling ball impact test machine (1) and controller (2), falling ball impact test machine (1) is made of base (3) and column (4), column (4) is provided with electricity and inhales iron jacking gear (5), the termination that electricity is inhaled iron jacking gear (5) is provided with electricity suction iron (6) and can be adsorbed on the electric steel ball (7) of inhaling on the iron (6), base (3) is provided with slag trapping box (8), it is characterized in that: the protective cover (9) that is provided with the prismatoid shape at slag trapping box (8), protective cover (9) upper end open, the lower end is fixed on the slag trapping box (8).
2. falling ball impact test machine according to claim 1 is prevented the glass splinter device, and it is characterized in that: described protective cover (9) lower end is provided with the extension (10) of downward parcel slag trapping box (8).
3. falling ball impact test machine according to claim 2 is prevented the glass splinter device, and it is characterized in that: described protective cover (9) lower end is provided with to the right-angle side (11) of slag trapping box (8) infolding.
4. the anti-glass splinter device of falling ball impact test machine according to claim 3 is characterized in that: be provided with to the bevel edge (12) of slag trapping box (8) inclination infolding on the described protective cover (9).
5. a kind of falling ball impact test machine according to claim 1 is prevented the glass splinter device, it is characterized in that: described protective cover (9) is the structure that adopts the thick aluminium skin of 0.5 ㎜ to process.
6. a kind of falling ball impact test machine according to claim 1 is prevented the glass splinter device, it is characterized in that: described protective cover (9) is the structure that the stainless steel mesh of employing 0.9 ㎜ square hole processes.
7. a kind of falling ball impact test machine according to claim 4 is prevented the glass splinter device, it is characterized in that: described bevel edge (12) is 30 ° with the inclination angle of protective cover (9).
Priority Applications (1)
| Application Number | Priority Date | Filing Date | Title |
|---|---|---|---|
| CN 201220294286 CN202649059U (en) | 2012-06-21 | 2012-06-21 | Glass splash prevention device of falling ball impact tester |
Applications Claiming Priority (1)
| Application Number | Priority Date | Filing Date | Title |
|---|---|---|---|
| CN 201220294286 CN202649059U (en) | 2012-06-21 | 2012-06-21 | Glass splash prevention device of falling ball impact tester |
Publications (1)
| Publication Number | Publication Date |
|---|---|
| CN202649059U true CN202649059U (en) | 2013-01-02 |
Family
ID=47418151
Family Applications (1)
| Application Number | Title | Priority Date | Filing Date |
|---|---|---|---|
| CN 201220294286 Expired - Fee Related CN202649059U (en) | 2012-06-21 | 2012-06-21 | Glass splash prevention device of falling ball impact tester |
Country Status (1)
| Country | Link |
|---|---|
| CN (1) | CN202649059U (en) |
Cited By (17)
| Publication number | Priority date | Publication date | Assignee | Title |
|---|---|---|---|---|
| CN103499939A (en) * | 2013-10-09 | 2014-01-08 | 聊城大学 | Football field football rebound rate detecting instrument control system |
| CN104034581A (en) * | 2013-03-04 | 2014-09-10 | 生阳新材料科技(宁波)有限公司 | Strength detection box for heated and selenized copper-indium-gallium-selenium glass plate |
| CN105115837A (en) * | 2015-09-26 | 2015-12-02 | 张筱秋 | Equipment for inspecting glass by unplugging and plugging lockpin worm gear copper-based rotary table butadiene rubber step clamping plate |
| CN105181489A (en) * | 2015-10-27 | 2015-12-23 | 晋江市池店镇筱秋电工机械专用设备设计工作室 | Handle aluminum-based platen threaded locking pin project rubber wheel clamping plate glass detecting equipment |
| CN105290783A (en) * | 2015-11-28 | 2016-02-03 | 孙冬兰 | Assembling method for glass testing through air cylinder hammer with worm gear rotary table and threaded lock pins |
| CN105300789A (en) * | 2015-10-27 | 2016-02-03 | 晋江市池店镇筱秋电工机械专用设备设计工作室 | Worm gear copper-based bedplate thread lockpin circular plywood glass detection device |
| CN105352822A (en) * | 2015-10-27 | 2016-02-24 | 晋江市池店镇筱秋电工机械专用设备设计工作室 | Plate wheel nickel-based platen thread lock pin step clamping plate glass verifying device |
| CN105403455A (en) * | 2015-12-11 | 2016-03-16 | 重庆市计量质量检测研究院 | Glass fragment state detection device |
| CN106468635A (en) * | 2015-08-21 | 2017-03-01 | 中国建材检验认证集团秦皇岛有限公司 | A kind of vehicle glass shock resistance experimental glass debris colleting device and method |
| CN107677559A (en) * | 2017-11-27 | 2018-02-09 | 平顶山市美伊金属制品有限公司 | A kind of detection means for being used to test pot cover strength of glass |
| CN108593467A (en) * | 2018-05-15 | 2018-09-28 | 安徽天卓信息技术有限公司 | A kind of glass impact tester with protective action |
| CN108827765A (en) * | 2018-08-20 | 2018-11-16 | 信义汽车部件(芜湖)有限公司 | Glass nailing formula shock machine |
| CN109187235A (en) * | 2018-08-21 | 2019-01-11 | 临泉县蓝天钢化玻璃有限公司 | A kind of impact resistance testing stand for tempered glass |
| CN109470583A (en) * | 2018-12-06 | 2019-03-15 | 苏州市相城区建设工程质量检测站有限公司 | A kind of glass impact testing apparatus of highly effective and safe |
| CN109507045A (en) * | 2018-12-17 | 2019-03-22 | 沧州天瑞星光热技术有限公司 | A kind of device and method for high-temperature solar thermal-collecting tube glass impact test |
| CN110646302A (en) * | 2019-02-27 | 2020-01-03 | 山东省产品质量检验研究院 | Anti penetration test device of external wall insulation system |
| CN111397828A (en) * | 2020-05-18 | 2020-07-10 | 杭叉集团股份有限公司 | Impact test bench |
-
2012
- 2012-06-21 CN CN 201220294286 patent/CN202649059U/en not_active Expired - Fee Related
Cited By (22)
| Publication number | Priority date | Publication date | Assignee | Title |
|---|---|---|---|---|
| CN104034581A (en) * | 2013-03-04 | 2014-09-10 | 生阳新材料科技(宁波)有限公司 | Strength detection box for heated and selenized copper-indium-gallium-selenium glass plate |
| CN103499939A (en) * | 2013-10-09 | 2014-01-08 | 聊城大学 | Football field football rebound rate detecting instrument control system |
| CN106468635B (en) * | 2015-08-21 | 2023-09-15 | 中国建材检验认证集团秦皇岛有限公司 | Device and method for collecting glass fragments in shock resistance experiment of automobile glass |
| CN106468635A (en) * | 2015-08-21 | 2017-03-01 | 中国建材检验认证集团秦皇岛有限公司 | A kind of vehicle glass shock resistance experimental glass debris colleting device and method |
| CN105115837A (en) * | 2015-09-26 | 2015-12-02 | 张筱秋 | Equipment for inspecting glass by unplugging and plugging lockpin worm gear copper-based rotary table butadiene rubber step clamping plate |
| CN105181489A (en) * | 2015-10-27 | 2015-12-23 | 晋江市池店镇筱秋电工机械专用设备设计工作室 | Handle aluminum-based platen threaded locking pin project rubber wheel clamping plate glass detecting equipment |
| CN105300789A (en) * | 2015-10-27 | 2016-02-03 | 晋江市池店镇筱秋电工机械专用设备设计工作室 | Worm gear copper-based bedplate thread lockpin circular plywood glass detection device |
| CN105352822A (en) * | 2015-10-27 | 2016-02-24 | 晋江市池店镇筱秋电工机械专用设备设计工作室 | Plate wheel nickel-based platen thread lock pin step clamping plate glass verifying device |
| CN105290783A (en) * | 2015-11-28 | 2016-02-03 | 孙冬兰 | Assembling method for glass testing through air cylinder hammer with worm gear rotary table and threaded lock pins |
| CN105403455A (en) * | 2015-12-11 | 2016-03-16 | 重庆市计量质量检测研究院 | Glass fragment state detection device |
| CN105403455B (en) * | 2015-12-11 | 2017-11-21 | 重庆市计量质量检测研究院 | Glass fragment condition checkout gear |
| CN107677559A (en) * | 2017-11-27 | 2018-02-09 | 平顶山市美伊金属制品有限公司 | A kind of detection means for being used to test pot cover strength of glass |
| CN108593467B (en) * | 2018-05-15 | 2020-07-03 | 安徽天卓信息技术有限公司 | A protective glass impact tester |
| CN108593467A (en) * | 2018-05-15 | 2018-09-28 | 安徽天卓信息技术有限公司 | A kind of glass impact tester with protective action |
| CN108827765A (en) * | 2018-08-20 | 2018-11-16 | 信义汽车部件(芜湖)有限公司 | Glass nailing formula shock machine |
| CN109187235A (en) * | 2018-08-21 | 2019-01-11 | 临泉县蓝天钢化玻璃有限公司 | A kind of impact resistance testing stand for tempered glass |
| CN109187235B (en) * | 2018-08-21 | 2020-11-13 | 临泉县蓝天钢化玻璃有限公司 | Impact-resistant test bed for toughened glass |
| CN109470583A (en) * | 2018-12-06 | 2019-03-15 | 苏州市相城区建设工程质量检测站有限公司 | A kind of glass impact testing apparatus of highly effective and safe |
| CN109470583B (en) * | 2018-12-06 | 2023-11-10 | 苏州市相城检测股份有限公司 | High-efficient safe glass impact test equipment |
| CN109507045A (en) * | 2018-12-17 | 2019-03-22 | 沧州天瑞星光热技术有限公司 | A kind of device and method for high-temperature solar thermal-collecting tube glass impact test |
| CN110646302A (en) * | 2019-02-27 | 2020-01-03 | 山东省产品质量检验研究院 | Anti penetration test device of external wall insulation system |
| CN111397828A (en) * | 2020-05-18 | 2020-07-10 | 杭叉集团股份有限公司 | Impact test bench |
Similar Documents
| Publication | Publication Date | Title |
|---|---|---|
| CN202649059U (en) | Glass splash prevention device of falling ball impact tester | |
| CN203561488U (en) | Gravity impact tester | |
| CN202351004U (en) | Falling testing machine for cell phone | |
| CN213209787U (en) | Strength detection device for production of toughened glass | |
| CN202210022U (en) | Device for testing lithium ion battery safety performance | |
| CN202381965U (en) | Automatic positioning and weight loss anti-falling device | |
| CN205483478U (en) | Cell weight impact testing machine | |
| CN206891884U (en) | Concrete New Hardness Testing Device in a kind of building structure | |
| CN207528419U (en) | A kind of helmet absorbs collision energy performance aircraft | |
| CN215004775U (en) | Battery pack impact resistance detection device for bypass type uninterruptible power supply | |
| CN206095838U (en) | High -efficient safe automation impact device that falls | |
| CN213209426U (en) | Battery is hit testing arrangement again for battery testing | |
| CN208223770U (en) | A kind of damaging impact testing stand | |
| CN219065161U (en) | Building toughened glass intensity detection device | |
| CN204128872U (en) | A kind of sample separating apparatus of metallographic specimen | |
| CN202158948U (en) | Self-locking reliability test machine for speed difference safety catcher | |
| CN221725814U (en) | Tempered glass particle size detection device | |
| CN206292115U (en) | A kind of Charpy impact machine tester | |
| CN209432630U (en) | A kind of end cap shock machine | |
| CN211652007U (en) | Rotation type drop test machine | |
| CN221377520U (en) | Toughened glass impact-resistant detection device | |
| CN104316371B (en) | The sample separating apparatus of a kind of metallographic specimen and using method thereof | |
| CN209264467U (en) | A kind of falling ball impact test device | |
| CN203432847U (en) | Safety protection device for universal tester | |
| CN214618746U (en) | English teaching equipment for standard pronunciation of English words |
Legal Events
| Date | Code | Title | Description |
|---|---|---|---|
| C14 | Grant of patent or utility model | ||
| GR01 | Patent grant | ||
| C17 | Cessation of patent right | ||
| CF01 | Termination of patent right due to non-payment of annual fee |
Granted publication date: 20130102 Termination date: 20130621 |