CN202540079U - Device for grinding glass curved surface - Google Patents

Device for grinding glass curved surface Download PDF

Info

Publication number
CN202540079U
CN202540079U CN2012200874967U CN201220087496U CN202540079U CN 202540079 U CN202540079 U CN 202540079U CN 2012200874967 U CN2012200874967 U CN 2012200874967U CN 201220087496 U CN201220087496 U CN 201220087496U CN 202540079 U CN202540079 U CN 202540079U
Authority
CN
China
Prior art keywords
glass
guide rail
curved surface
frame
grinding
Prior art date
Legal status (The legal status is an assumption and is not a legal conclusion. Google has not performed a legal analysis and makes no representation as to the accuracy of the status listed.)
Expired - Lifetime
Application number
CN2012200874967U
Other languages
Chinese (zh)
Inventor
王妍
刘�英
许来林
刘保香
杨长春
Current Assignee (The listed assignees may be inaccurate. Google has not performed a legal analysis and makes no representation or warranty as to the accuracy of the list.)
Jiaozuo Feihong Safety Glass Co Ltd
Original Assignee
Jiaozuo Feihong Safety Glass Co Ltd
Priority date (The priority date is an assumption and is not a legal conclusion. Google has not performed a legal analysis and makes no representation as to the accuracy of the date listed.)
Filing date
Publication date
Application filed by Jiaozuo Feihong Safety Glass Co Ltd filed Critical Jiaozuo Feihong Safety Glass Co Ltd
Priority to CN2012200874967U priority Critical patent/CN202540079U/en
Application granted granted Critical
Publication of CN202540079U publication Critical patent/CN202540079U/en
Anticipated expiration legal-status Critical
Expired - Lifetime legal-status Critical Current

Links

Images

Classifications

    • YGENERAL TAGGING OF NEW TECHNOLOGICAL DEVELOPMENTS; GENERAL TAGGING OF CROSS-SECTIONAL TECHNOLOGIES SPANNING OVER SEVERAL SECTIONS OF THE IPC; TECHNICAL SUBJECTS COVERED BY FORMER USPC CROSS-REFERENCE ART COLLECTIONS [XRACs] AND DIGESTS
    • Y02TECHNOLOGIES OR APPLICATIONS FOR MITIGATION OR ADAPTATION AGAINST CLIMATE CHANGE
    • Y02PCLIMATE CHANGE MITIGATION TECHNOLOGIES IN THE PRODUCTION OR PROCESSING OF GOODS
    • Y02P40/00Technologies relating to the processing of minerals
    • Y02P40/50Glass production, e.g. reusing waste heat during processing or shaping
    • Y02P40/57Improving the yield, e-g- reduction of reject rates

Landscapes

  • Grinding And Polishing Of Tertiary Curved Surfaces And Surfaces With Complex Shapes (AREA)

Abstract

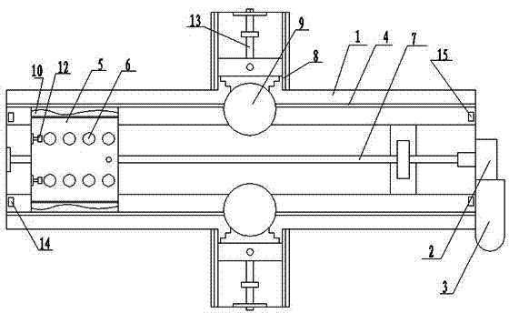
本实用新型公开了一种玻璃曲面磨边装置,包括机架、机架上设置的减速装置和与减速装置连接的传动电机,所述的机架上沿横向设置水平横导轨,所述的水平横导轨内设置在导轨内运行的玻璃搁架,所述的玻璃搁架上设置多个玻璃吸盘,玻璃搁架两边设置曲面样板;玻璃搁架下设置运动副,运动副的主轴与减速装置相联接;所述的机架中部沿纵向设置水平纵导轨,所述的纵导轨上设置砂轮磨削装置。砂轮磨削装置的磨轮下端设置靠模轴,磨削时,靠模轴紧贴曲面样板,从而磨削出各种形状玻璃的曲面。本装置可磨出多种形状的曲面,玻璃曲面圆弧平滑过渡,能确保产品的平整度、光滑度和精度,生产效率高、产品质量稳定,可用于大批量生产加工。

Figure 201220087496

The utility model discloses a glass curved surface edging device, which comprises a frame, a deceleration device arranged on the frame and a transmission motor connected with the deceleration device; A glass shelf running in the guide rail is set in the horizontal guide rail. A plurality of glass suction cups are set on the glass shelf, and curved surface templates are set on both sides of the glass shelf; a kinematic pair is set under the glass shelf, and the main shaft of the kinematic pair is connected to the deceleration device. Connection; the middle part of the frame is provided with a horizontal longitudinal guide rail along the longitudinal direction, and a grinding wheel grinding device is arranged on the described longitudinal guide rail. The lower end of the grinding wheel of the grinding wheel grinding device is provided with a cam shaft. When grinding, the cam shaft is close to the curved surface model, thereby grinding the curved surfaces of various shapes of glass. The device can grind various shapes of curved surfaces, and the arc of the glass curved surface transitions smoothly, which can ensure the flatness, smoothness and precision of the product. It has high production efficiency and stable product quality, and can be used for mass production and processing.

Figure 201220087496

Description

A kind of glass curve edging device
Technical field
The utility model relates to a kind of glass curve edging device, belongs to glass deep process technology field.
Background technology
Original glass product curved surface edging utilizes manual polishing machine to carry out, and the finished product rate is low, efficient is low, quality stability is poor, the process operation difficulty is big, can not guarantee flatness, smoothness and the precision of product.
The utility model content
To above-mentioned defective; The utility model provides a kind of glass curve edging device; Use this device can glass be ground the curved surface of multiple shapes such as different in nature curve, the glass curve circular arc seamlessly transits, and can guarantee flatness, smoothness and the precision of product; Production efficiency is high, constant product quality, can be used for producing in enormous quantities processing.
To achieve these goals; The technical scheme of the utility model is: a kind of glass curve edging device; Comprise deceleration device that is provided with on frame, the frame and the driving motor that is connected with deceleration device, the horizontal cross rail of described frame upper edge horizontally set is arranged on the glass shelf that moves in the guide rail in the described horizontal cross rail; On the described glass shelf a plurality of glass holders are set, glass shelf both sides are provided with the curved surface model; Under the glass shelf kinematic pair is set, the main shaft and the deceleration device of kinematic pair link; Described central rack longitudinally is provided with the vertical guide rail of level, on the described vertical guide rail wheel grinding device is set.The emery wheel lower end of wheel grinding device is provided with profiled shaft, and during grinding, profiled shaft is close to the curved surface model, thereby grinding goes out the curved surface of different shape glass.
Further, described glass shelf rear end is provided with the rear side locating piece.
Further, connect regulating shaft behind the described wheel grinding device, can adjust the position of wheel grinding device.
Further, described frame front end is provided with the front limit piece, and the rear end is provided with the back limited block, can carry out spacing to the stroke of glass shelf.
The beneficial effect of the utility model is: this device is provided with the glass shelf at frame horizontally set guide rail on the guide rail, sucker is set on the shelf glass to be processed is fixed; The curved surface model is set on the shelf limit; The face stands longitudinal is provided with grinding attachment, under the grinding attachment profiled shaft is set, during grinding; Profiled shaft is close to the curved surface model, thereby grinding goes out the curved surface of different shape glass.Can grind the curved surface of multiple shape, the glass curve circular arc seamlessly transits, and can guarantee flatness, smoothness and the precision of product, and production efficiency is high, constant product quality, can be used for producing in enormous quantities processing.
Description of drawings
Fig. 1 is the structural representation of the utility model.
Fig. 2 is the structural representation of the grinding attachment among Fig. 1.
The specific embodiment
Below in conjunction with concrete embodiment the utility model is done explanation further.
As depicted in figs. 1 and 2; The glass curve edging device of the utility model; Comprise the deceleration device 2 and the driving motor 3 that is connected with deceleration device 2 that are provided with on frame 1, the frame 1, the horizontal cross rail 4 of described frame 1 upper edge horizontally set is arranged on the glass shelf 5 that moves in the guide rail in the described horizontal cross rail 4; A plurality of glass holders 6 are set on the described glass shelf 5, and glass shelf 5 both sides are provided with curved surface model 10; The glass shelf is provided with kinematic pair 5 times, and the main shaft 7 and the deceleration device 2 of kinematic pair link; Described frame 1 middle part longitudinally is provided with the vertical guide rail 8 of level, on the described vertical guide rail 8 wheel grinding device 9 is set.The emery wheel lower end of wheel grinding device 9 is provided with profiled shaft 11, and during grinding, profiled shaft 11 is close to curved surface model 10, thereby grinding goes out the curved surface of different shape glass.
Described glass shelf 5 rear ends are provided with rear side locating piece 12.
Described wheel grinding device 9 backs connect regulating shaft 13, can adjust the position of wheel grinding device.
Described frame 1 front end is provided with front limit piece 14, and the rear end is provided with back limited block 15, can carry out spacing to the stroke of glass shelf 5.
The technical scheme of the utility model is not limited to the restriction of above-mentioned specific embodiment, and every technology distortion of making according to the technical scheme of the utility model all falls within the protection domain of the utility model.

Claims (4)

1. glass curve edging device; Comprise deceleration device that is provided with on frame, the frame and the driving motor that is connected with deceleration device; It is characterized in that: the horizontal cross rail of described frame upper edge horizontally set; Be arranged on the glass shelf of operation in the guide rail in the described horizontal cross rail, on the described glass shelf a plurality of glass holders be set, glass shelf both sides are provided with the curved surface model; Under the glass shelf kinematic pair is set, the main shaft and the deceleration device of kinematic pair link; Described central rack longitudinally is provided with the vertical guide rail of level, on the described vertical guide rail wheel grinding device is set, and the emery wheel lower end of wheel grinding device is provided with profiled shaft.
2. glass curve edging device according to claim 1 is characterized in that: described glass shelf rear end is provided with the rear side locating piece.
3. glass curve edging device according to claim 1 is characterized in that: connect regulating shaft behind the described wheel grinding device.
4. glass curve edging device according to claim 1 is characterized in that: described frame front end is provided with the front limit piece, and the rear end is provided with the back limited block.
CN2012200874967U 2012-03-10 2012-03-10 Device for grinding glass curved surface Expired - Lifetime CN202540079U (en)

Priority Applications (1)

Application Number Priority Date Filing Date Title
CN2012200874967U CN202540079U (en) 2012-03-10 2012-03-10 Device for grinding glass curved surface

Applications Claiming Priority (1)

Application Number Priority Date Filing Date Title
CN2012200874967U CN202540079U (en) 2012-03-10 2012-03-10 Device for grinding glass curved surface

Publications (1)

Publication Number Publication Date
CN202540079U true CN202540079U (en) 2012-11-21

Family

ID=47160765

Family Applications (1)

Application Number Title Priority Date Filing Date
CN2012200874967U Expired - Lifetime CN202540079U (en) 2012-03-10 2012-03-10 Device for grinding glass curved surface

Country Status (1)

Country Link
CN (1) CN202540079U (en)

Cited By (5)

* Cited by examiner, † Cited by third party
Publication number Priority date Publication date Assignee Title
CN103144003A (en) * 2013-04-10 2013-06-12 河南理工大学 Copying double-sided glass edging machine
CN104551935A (en) * 2014-12-26 2015-04-29 张现柱 Automatic polisher for arc panel
CN108296561A (en) * 2018-03-13 2018-07-20 丹阳市宝利锯业机械有限公司 A kind of side angle grinder grinding and feeding mechanism
CN110774089A (en) * 2019-11-11 2020-02-11 苏师大半导体材料与设备研究院(邳州)有限公司 An intelligent polishing device for round glass corners
CN112548752A (en) * 2020-12-17 2021-03-26 东莞市冠维科技有限公司 Automatic numerical control double-grinding-wheel profiling machine

Cited By (7)

* Cited by examiner, † Cited by third party
Publication number Priority date Publication date Assignee Title
CN103144003A (en) * 2013-04-10 2013-06-12 河南理工大学 Copying double-sided glass edging machine
CN104551935A (en) * 2014-12-26 2015-04-29 张现柱 Automatic polisher for arc panel
CN108296561A (en) * 2018-03-13 2018-07-20 丹阳市宝利锯业机械有限公司 A kind of side angle grinder grinding and feeding mechanism
CN108296561B (en) * 2018-03-13 2023-08-25 丹阳市宝利锯业机械有限公司 Grinding feed mechanism for side angle grinder
CN110774089A (en) * 2019-11-11 2020-02-11 苏师大半导体材料与设备研究院(邳州)有限公司 An intelligent polishing device for round glass corners
CN110774089B (en) * 2019-11-11 2021-09-10 苏师大半导体材料与设备研究院(邳州)有限公司 Intelligent polishing device for round glass corners
CN112548752A (en) * 2020-12-17 2021-03-26 东莞市冠维科技有限公司 Automatic numerical control double-grinding-wheel profiling machine

Similar Documents

Publication Publication Date Title
CN202540079U (en) Device for grinding glass curved surface
CN203752264U (en) Automatic double-end milling machine for bamboos
CN204771990U (en) Trilateral slider flat grinder
CN204771921U (en) Panel edging machine
CN204053699U (en) A kind of double fully-automatic chamfering machine
CN204135839U (en) A kind of novel glass four limit grinding machine
CN201979366U (en) Horizontal type double-bevel-edge glass edge grinding machine
CN203696652U (en) Glass edge grinding machine
CN201848743U (en) Multi-angle glass edge grinder
CN104551919A (en) Glass rounding device
CN204414309U (en) Base substrate grinding and polishing sector
CN203696651U (en) Regulating mechanism of glass edge grinding machine
CN202137661U (en) Glass edge rounding machine
CN204366687U (en) A kind of glass rounding polishing machine
CN203863458U (en) Glass edge grinding machine
CN202240744U (en) Polishing machine
CN208084018U (en) A kind of glass grinding device of glass curtain wall production line
CN201872033U (en) Shaped edge sander
CN204354230U (en) Wood strip milling wood skin milling back flutes polishing all-in-one
CN204339500U (en) A kind of wheel sanding apparatus
CN203171396U (en) Plank veins forming and polishing machine
CN202200131U (en) Multifunctional bilateral grinding machine
CN105598780A (en) Glass edge grinding machine with edge imitating function
CN204053703U (en) A kind of glass edge-grinding machine
CN204036197U (en) A kind of glass chamfering machine

Legal Events

Date Code Title Description
C14 Grant of patent or utility model
GR01 Patent grant
CX01 Expiry of patent term

Granted publication date: 20121121

CX01 Expiry of patent term