CN202496053U - Electric violin speaker - Google Patents
Electric violin speaker Download PDFInfo
- Publication number
- CN202496053U CN202496053U CN2011203292376U CN201120329237U CN202496053U CN 202496053 U CN202496053 U CN 202496053U CN 2011203292376 U CN2011203292376 U CN 2011203292376U CN 201120329237 U CN201120329237 U CN 201120329237U CN 202496053 U CN202496053 U CN 202496053U
- Authority
- CN
- China
- Prior art keywords
- violin
- sound
- panel
- standard
- speaker
- Prior art date
- Legal status (The legal status is an assumption and is not a legal conclusion. Google has not performed a legal analysis and makes no representation as to the accuracy of the status listed.)
- Expired - Fee Related
Links
- 230000033001 locomotion Effects 0.000 claims description 18
- 239000004020 conductor Substances 0.000 claims 1
- 239000000463 material Substances 0.000 abstract description 6
- 230000005236 sound signal Effects 0.000 abstract 1
- 230000003321 amplification Effects 0.000 description 4
- 238000003199 nucleic acid amplification method Methods 0.000 description 4
- 230000005540 biological transmission Effects 0.000 description 3
- 239000012528 membrane Substances 0.000 description 3
- 230000000694 effects Effects 0.000 description 1
- 238000005516 engineering process Methods 0.000 description 1
- 239000003302 ferromagnetic material Substances 0.000 description 1
- 239000003292 glue Substances 0.000 description 1
- 238000000465 moulding Methods 0.000 description 1
Images
Landscapes
- Stringed Musical Instruments (AREA)
Abstract
An electric violin speaker is composed of a standard violin box, and an electric drive head with an input terminal, wherein the electric drive head is adhered on a face plate of the standard violin box or a back surface of the face plate. The electric drive head uses a centering support sheet to fix a sound coil support barrel on a magnet, a sound coil winds around the sound coil support barrel, and a layer of a connection device is arranged on the surface of the sound coil support barrel. A violin resonator used for amplifying weak sound from chords, which has been used for hundreds of years, is combined with the electric drive head, thus effectively amplifying and transmitting the sound of the voice by the standard violin box and saving various materials used for the violin box and more obviously amplifying various desired sound signals at low distortion, thereby the electric violin speaker is effectively used as the speaker of an electronic speaker, an electronic piano and a singer and also as amplifying equipment used in theaters or families.
Description
Technical field
A kind of electronic violin loud speaker relates to the improvement of loadspeaker structure.
Background technology
In current electronic audio technical field; People seeking always can the low distortion voice emplifying transmission equipment; For this reason people look for everywhere from the material aspect of audio amplifier, from the circuit connection structure aspect of sound amplifier, from the shape of loudspeaker sound film and material aspect and from the ferromagnetic material of voice coil loudspeaker voice coil improved maybe; But produce effects not quite up to now.
Summary of the invention
The purpose of the utility model is to provide a kind of loud speaker, can break through the limitation of the transmission equipment that is used for voice emplifying at present, because its moulding itself just can be given the joyful impression of people, and institute's output sound is compared with original sound, its distortion rate is very low simultaneously.
The said electronic violin loud speaker of the utility model is made up of the motorized motions of standard violin qin case 1, tape input end 23, and wherein said motorized motions 3 is bonded on the panel 4 of standard violin qin case 1 or the back side 5 of panel 4.
Adopted the electronic violin loud speaker of the said structure of the utility model; At this moment said standard violin qin case 1 is that the vibrating membrane (being commonly called as paper disc) of the loud speaker known as common people uses; Needn't consider the material or the shape of sound film in addition on motorized motions 3 surface, not need to consider in addition the material and the shape of loudspeaker box; Can fully use the centuries people that the sound string is sent the resonant tank that the amplification of faint sound is done, add and motorized motions 3 combines of people's invention in the last hundred years, just can accomplish that the amplification of low distortion ground transmits the signal of various sound.
Description of drawings
Fig. 1 is the sketch map of the said electronic violin loadspeaker structure of the utility model;
Fig. 2 is that the structure of the said motorized motions that is used for electronic violin loud speaker of the utility model 3 is cut view.
Embodiment
Further specify below in conjunction with accompanying drawing.
As shown in Figure 1; The said electronic violin loud speaker of the utility model; Form by the motorized motions of standard violin qin case 1, tape input end 23; Said motorized motions 3 is bonded on the panel 4 of standard violin qin case 1 or the back side 5 of panel 4, and at this moment said standard violin qin case 1 is that the vibrating membrane (being commonly called as paper disc) of the loud speaker known as common people uses.In actual use, in we preferably are bonded in said motorized motions 3 on standard violin qin case 1 panel 4 the fingerboard 6 and the panel 4 between the chord-drawing plate 7; Consider from the requirement of outward appearance, preferably be bonded in fingerboard 6 and the back side 5 of the panel 4 between the chord-drawing plate 7 on standard violin qin case 1 panel 4 to said motorized motions 3.Like this, no matter the joyful impression of people can be given in the audio-video equipment both sides that the user is placed on electronic violin loud speaker the both sides of music hall stage or is placed on household's parlor or specially puts, enjoy romantic music atmosphere.
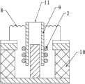
As shown in Figure 2; The said electronic violin loud speaker of the utility model; Owing to adopted standard violin qin case 1 vibrating membrane (being commonly called as paper disc) as the loud speaker that common people knew; The motorized motions of being selected for use 3 is to be fixed on voice coil loudspeaker voice coil 9 on the magnet 10 with centring disk 8, need on voice coil loudspeaker voice coil 9, not select sound film or paper disc in addition for use, just is equipped with one deck jockey 11 on the surface of voice coil loudspeaker voice coil 9; It can be Double-face gummed paper; Also can be to be coated with one deck high strength glue, in order on the panel 4 that motorized motions 3 is bonded in standard violin qin the case 1 or back side 5 of panel 4, the panel 4 of the audio frequency that is sent by motorized motions 3 through standard violin qin case 1 amplifies and propagates in the air.
Adopted the electronic violin loud speaker of the said structure of the utility model; Owing to be the sound string to be sent the resonant tank that the amplification of faint sound is done to the centuries people; The motorized motions 3 that adds the invention of people is in the last hundred years done a new combination; Both highlighted of the effective amplification transmission of standard violin qin case to sound; Omitted people again and done the various materials that audio amplifier uses, more be apparent that and accomplish that low distortion ground amplifies the various voice signals that transmit of hoping, can be used in effectively in electrical loudspeaker, pianotron, singer's the public address equipment of amplifier and arenas or family's use.
Claims (3)
1. electronic violin loud speaker; It is characterized in that being made up of the motorized motions head (3) of standard violin qin case (1), tape input end (2), said motorized motions head (3) is bonded in the panel (4) of standard violin qin case (1) and goes up the perhaps back side (5) of panel (4).
2. according to the said electronic violin loud speaker of claim 1, it is characterized in that said motorized motions head (3) is bonded in fingerboard (6) and the panel (4) between the chord-drawing plate (7) on standard violin qin case (1) panel (4) or is bonded in fingerboard (6) and the back side of the panel (4) between the chord-drawing plate (7) on standard violin qin case (1) panel (4).
3. according to claim 1 or 2 said electronic violin loud speakers; It is characterized in that said motorized motions head (3) is to be fixed on voice coil loudspeaker voice coil (9) on the magnetic conductor (10) with elastic wave sheet (8); Be equipped with one deck jockey (11) on the surface of voice coil loudspeaker voice coil (9), on the back side (5) in order to the last perhaps panel (4) of the panel (4) that motorized motions head (3) is bonded in standard violin qin case (1).
Priority Applications (1)
| Application Number | Priority Date | Filing Date | Title |
|---|---|---|---|
| CN2011203292376U CN202496053U (en) | 2011-09-05 | 2011-09-05 | Electric violin speaker |
Applications Claiming Priority (1)
| Application Number | Priority Date | Filing Date | Title |
|---|---|---|---|
| CN2011203292376U CN202496053U (en) | 2011-09-05 | 2011-09-05 | Electric violin speaker |
Publications (1)
| Publication Number | Publication Date |
|---|---|
| CN202496053U true CN202496053U (en) | 2012-10-17 |
Family
ID=47002263
Family Applications (1)
| Application Number | Title | Priority Date | Filing Date |
|---|---|---|---|
| CN2011203292376U Expired - Fee Related CN202496053U (en) | 2011-09-05 | 2011-09-05 | Electric violin speaker |
Country Status (1)
| Country | Link |
|---|---|
| CN (1) | CN202496053U (en) |
-
2011
- 2011-09-05 CN CN2011203292376U patent/CN202496053U/en not_active Expired - Fee Related
Similar Documents
| Publication | Publication Date | Title |
|---|---|---|
| CN211860520U (en) | Novel resonance sounding flat-panel sound box | |
| CN204180233U (en) | A high-fidelity audio solid-state pickup | |
| CN202496053U (en) | Electric violin speaker | |
| CN201594910U (en) | Coaxial loudspeaker magnetic circuit and coaxial loudspeaker comprising the magnetic circuit | |
| CN201467426U (en) | Composite vibrating membrane for miniature receiver or loudspeaker | |
| CN202231846U (en) | Piezoelectric ceramic violin loudspeaker | |
| CN201758442U (en) | Sounding structure | |
| CN202310082U (en) | Broadband loudspeaker | |
| CN201839418U (en) | KTV (karaoke television) compartment speaker system | |
| CN201491247U (en) | audio vibration device | |
| CN102244831A (en) | Super sound conductor | |
| CN201766710U (en) | Mobile phone stereo loudspeaker | |
| CN108769863B (en) | Novel resonance sounding flat-panel sound box | |
| CN205105395U (en) | Moving -coil loudspeaker | |
| CN201629139U (en) | Musical instrument sound pickup | |
| CN205016235U (en) | Sub - two -stringed bowed instrument of vibrating diaphragm electromagnetic sound pickup and electricelectric, electron horse -headed instrument | |
| CN203760070U (en) | Electroacoustic Ruan | |
| CN101951543A (en) | Phone sound speaker | |
| CN204104094U (en) | A kind of Novel microphone | |
| CN205883527U (en) | Energy -conserving high -fidelity multifunctional sound equipment | |
| CN201742535U (en) | Dual purpose sound box | |
| CN205105351U (en) | A audio equipment for sing | |
| CN202282860U (en) | Double voice coil loudspeaker and its voice coil | |
| CN201726523U (en) | Magnetic high sound pressure level loudspeaker | |
| CN204836573U (en) | High -fidelity speaker |
Legal Events
| Date | Code | Title | Description |
|---|---|---|---|
| C14 | Grant of patent or utility model | ||
| GR01 | Patent grant | ||
| CF01 | Termination of patent right due to non-payment of annual fee |
Granted publication date: 20121017 Termination date: 20200905 |
|
| CF01 | Termination of patent right due to non-payment of annual fee |