CN202492402U - Household ferro-manganese removal device for well water - Google Patents

Household ferro-manganese removal device for well water Download PDF

Info

Publication number
CN202492402U
CN202492402U CN2012200984609U CN201220098460U CN202492402U CN 202492402 U CN202492402 U CN 202492402U CN 2012200984609 U CN2012200984609 U CN 2012200984609U CN 201220098460 U CN201220098460 U CN 201220098460U CN 202492402 U CN202492402 U CN 202492402U
Authority
CN
China
Prior art keywords
water
air
outlet
pump
ejector
Prior art date
Legal status (The legal status is an assumption and is not a legal conclusion. Google has not performed a legal analysis and makes no representation as to the accuracy of the status listed.)
Expired - Fee Related
Application number
CN2012200984609U
Other languages
Chinese (zh)
Inventor
罗文斌
Current Assignee (The listed assignees may be inaccurate. Google has not performed a legal analysis and makes no representation or warranty as to the accuracy of the list.)
Individual
Original Assignee
Individual
Priority date (The priority date is an assumption and is not a legal conclusion. Google has not performed a legal analysis and makes no representation as to the accuracy of the date listed.)
Filing date
Publication date
Application filed by Individual filed Critical Individual
Priority to CN2012200984609U priority Critical patent/CN202492402U/en
Application granted granted Critical
Publication of CN202492402U publication Critical patent/CN202492402U/en
Anticipated expiration legal-status Critical
Expired - Fee Related legal-status Critical Current

Links

Images

Classifications

    • YGENERAL TAGGING OF NEW TECHNOLOGICAL DEVELOPMENTS; GENERAL TAGGING OF CROSS-SECTIONAL TECHNOLOGIES SPANNING OVER SEVERAL SECTIONS OF THE IPC; TECHNICAL SUBJECTS COVERED BY FORMER USPC CROSS-REFERENCE ART COLLECTIONS [XRACs] AND DIGESTS
    • Y02TECHNOLOGIES OR APPLICATIONS FOR MITIGATION OR ADAPTATION AGAINST CLIMATE CHANGE
    • Y02WCLIMATE CHANGE MITIGATION TECHNOLOGIES RELATED TO WASTEWATER TREATMENT OR WASTE MANAGEMENT
    • Y02W10/00Technologies for wastewater treatment
    • Y02W10/10Biological treatment of water, waste water, or sewage

Landscapes

  • Treatment Of Water By Oxidation Or Reduction (AREA)

Abstract

一种家用井水除锰铁装置,包括水泵、曝气装置、储水塔及管道式过滤器;其中,所述曝气装置包括臭氧发生器、射流器、气泵和电源,气泵包括进气口和出气口,气泵的出气口通过进气管路与臭氧发生器的进气口连接,臭氧发生器的出气口通过出气管路与射流器的进气口连接,水泵通过水管与射流器的进水口连接;射流器的出水口通过水管与储水塔的进水口连接;储水塔的出水口通过水管与管道式过滤器的进水口连接,管道式过滤器从进水口到出水口依次设有锰砂滤芯、石英砂滤芯和陶瓷滤芯。所述装置能够快速曝气,占地面积小,适合于家庭使用。

Figure 201220098460

A domestic well water ferromanganese removal device includes a water pump, an aeration device, a water storage tower and a pipeline filter; wherein the aeration device includes an ozone generator, a jet, an air pump and a power supply, and the air pump includes an air inlet and Air outlet, the air outlet of the air pump is connected to the air inlet of the ozone generator through the air inlet pipeline, the air outlet of the ozone generator is connected to the air inlet of the ejector through the air outlet pipe, and the water pump is connected to the water inlet of the ejector through a water pipe The water outlet of the jet is connected to the water inlet of the water storage tower through a water pipe; the water outlet of the water storage tower is connected to the water inlet of the pipeline filter through a water pipe, and the pipeline filter is sequentially provided with manganese sand filter elements, Quartz sand filter and ceramic filter. The device can aerate quickly, occupies a small area, and is suitable for family use.

Figure 201220098460

Description

A kind of family expenses well water removes the ferromanganese device
Technical field
The utility model relates to a kind of well water refining plant, and particularly a kind of family expenses well water removes the ferromanganese device.
Background technology
Existing well water purifying treatment mode has air aeration, manganese sand, and silica sand, filtration method, its principle of dealing with the work:
1. well pump pumps into aerating apparatus with underground water.
2. aerating apparatus utilizes the well pump overbottom pressure that airborne oxygen is mixed with the well water that contains ferromanganese ion.
Through the well water of aeration through the filtering layer in the strainer, (the 1. physical adsorption of filtrate and crown_interception, the 2. irony sull autocatalyzed oxidation of filter material surface reaction, the 3. biological oxidation of iron bacteria and manganese bacterium in the filtering layer.) through the acting in conjunction of above three kinds of forms, iron in the well water and mn ion are solidificated in the filtering layer, accomplish filtration procedure.
The shortcoming of this mode is that the aeration required time is long, and aerating apparatus and filtration unit floor space are big, and heaviness etc. are not suitable for family and use
Summary of the invention
The utility model provides a kind of family expenses well water to remove the ferromanganese device, aeration fast, and said plant area area is little, is suitable for family's use.
The utility model realizes that the technical scheme that above-mentioned purpose adopts is:
A kind of family expenses well water removes the ferromanganese device, comprises water pump, aerating apparatus, water storage tower and pipelined filter; Wherein, Said aerating apparatus comprises ozonizer, ejector, air pump and power supply; Air pump comprises inlet mouth and air outlet; The air outlet of air pump is connected with the inlet mouth of ozonizer through admission passage, and the air outlet of ozonizer is connected with the inlet mouth of ejector through outlet pipe, and water pump is connected with the water-in of ejector through water pipe; The water outlet of ejector is connected with the water-in of water storage tower through water pipe; The water outlet of water storage tower is connected with the water-in of pipelined filter through water pipe, and pipelined filter is provided with manganese sand filtration core, silica sand filter core and ceramic element successively from the water-in to the water outlet, and pipelined filter also comprises a tensimeter.
Preferably, in the said apparatus, water pump, ozonizer, ejector, manganese sand filtration core, silica sand filter core and ceramic element all can be changed separately.
Preferably, the aperture of ceramic element is 5 microns.
Can realize following technique effect through said apparatus:
1. aeration is quick, and is easy for installation.
2. can require to use flexibly according to different waters, segmentation divides matter to handle well water.
3. can play sterilization with ozone to well water as aeration source, the disinfectant effect, and the ozone highly volatile is compared more noresidue of chlorine.
4. consumptive material is changed conveniently, is prone to clean, and expense is low.
Description of drawings
Fig. 1 is that the utility model family expenses well water removes ferromanganese device synoptic diagram;
Fig. 2 is the utility model aerating apparatus synoptic diagram.
Embodiment
The embodiment of the utility model is described below in conjunction with accompanying drawing.
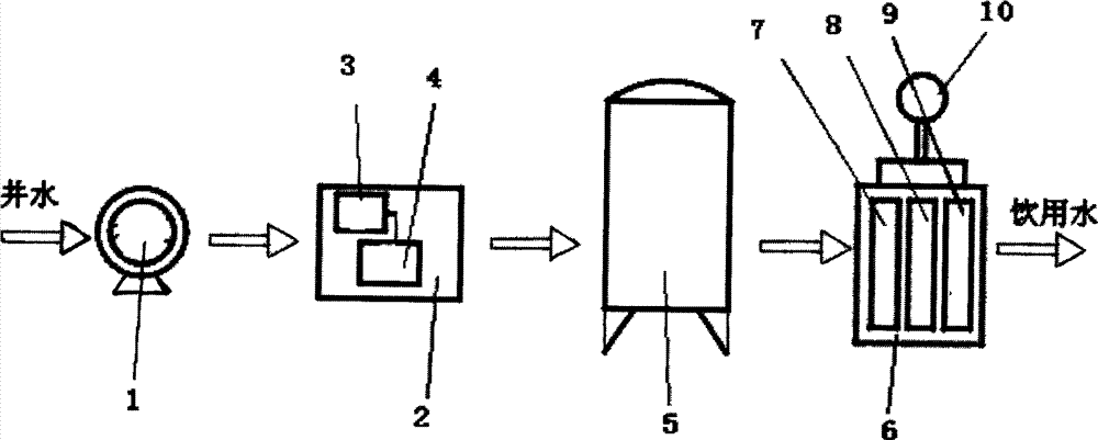
Shown in Figure 1 is that the utility model family expenses well water removes the ferromanganese device, comprises water pump 1, aerating apparatus 2, water storage tower 5 and pipelined filter 6.
As shown in Figure 2; Said aerating apparatus 2 comprises ozonizer 3, ejector 4, air pump 11 and power supply 12; Air pump 11 comprises inlet mouth and air outlet; The air outlet of air pump 11 is connected with the inlet mouth of ozonizer 3 through admission passage, and the air outlet of ozonizer 3 is connected with the inlet mouth of ejector 4 through outlet pipe.
Water pump 1 is connected with the water-in of ejector 4 through water pipe; The water outlet of ejector 4 is connected with the water-in of water storage tower 5 through water pipe; The water outlet of water storage tower 5 is connected with the water-in of pipelined filter 6 through water pipe.
Wherein, said pipelined filter 6 is provided with manganese sand filtration core 7, silica sand filter core 8 and ceramic element 9 successively from the water-in to the water outlet, and pipelined filter 6 also comprises a tensimeter 10.Can require to select the model of ceramic element 9 according to actual used water, preferred aperture is 5 microns a ceramic element.
In the said apparatus, water pump 1, ozonizer 3, ejector 4, manganese sand filtration core 7, silica sand filter core 8 and ceramic element 9 all can be changed separately, and consumptive material is changed convenient, are prone to clean, and expense is low.
The utility model air produces ozone gas through air pump through ozonizer and gets into ejector and contain ferrimanganic well water and mix the generation oxidizing reaction and make Fe2+; Become Fe3+ and generate Fe (OH) 3 post precipitations, utilize strainer to remove, ozone can also be to playing germ-resistant effect simultaneously.

Claims (3)

1. a family expenses well water removes the ferromanganese device, it is characterized in that: comprise water pump, aerating apparatus, water storage tower and pipelined filter; Wherein, Said aerating apparatus comprises ozonizer, ejector, air pump and power supply; Air pump comprises inlet mouth and air outlet; The air outlet of air pump is connected with the inlet mouth of ozonizer through admission passage, and the air outlet of ozonizer is connected with the inlet mouth of ejector through outlet pipe, and water pump is connected with the water-in of ejector through water pipe; The water outlet of ejector is connected with the water-in of water storage tower through water pipe; The water outlet of water storage tower is connected with the water-in of pipelined filter through water pipe, and pipelined filter is provided with manganese sand filtration core, silica sand filter core and ceramic element successively from the water-in to the water outlet, and pipelined filter also comprises a tensimeter.
2. device according to claim 1 is characterized in that: water pump, ozonizer, ejector, manganese sand filtration core, silica sand filter core and ceramic element all can be changed separately.
3. device according to claim 1 and 2 is characterized in that: the aperture of said ceramic element is 5 microns.
CN2012200984609U 2012-03-14 2012-03-14 Household ferro-manganese removal device for well water Expired - Fee Related CN202492402U (en)

Priority Applications (1)

Application Number Priority Date Filing Date Title
CN2012200984609U CN202492402U (en) 2012-03-14 2012-03-14 Household ferro-manganese removal device for well water

Applications Claiming Priority (1)

Application Number Priority Date Filing Date Title
CN2012200984609U CN202492402U (en) 2012-03-14 2012-03-14 Household ferro-manganese removal device for well water

Publications (1)

Publication Number Publication Date
CN202492402U true CN202492402U (en) 2012-10-17

Family

ID=46998638

Family Applications (1)

Application Number Title Priority Date Filing Date
CN2012200984609U Expired - Fee Related CN202492402U (en) 2012-03-14 2012-03-14 Household ferro-manganese removal device for well water

Country Status (1)

Country Link
CN (1) CN202492402U (en)

Cited By (3)

* Cited by examiner, † Cited by third party
Publication number Priority date Publication date Assignee Title
CN103570163A (en) * 2013-11-21 2014-02-12 潍坊滨海开发区华海水产养殖有限公司 Removing method of exceeding iron-manganese heavy metal in underground seawater
CN103850288A (en) * 2014-04-02 2014-06-11 哈尔滨市旭东给水技术有限责任公司 Sanitary water transmission and distribution apparatus capable of removing iron and manganese
CN107792975A (en) * 2016-09-05 2018-03-13 康师傅饮品控股有限公司 Remove the method and device of ferrimanganic in drinking water

Cited By (4)

* Cited by examiner, † Cited by third party
Publication number Priority date Publication date Assignee Title
CN103570163A (en) * 2013-11-21 2014-02-12 潍坊滨海开发区华海水产养殖有限公司 Removing method of exceeding iron-manganese heavy metal in underground seawater
CN103850288A (en) * 2014-04-02 2014-06-11 哈尔滨市旭东给水技术有限责任公司 Sanitary water transmission and distribution apparatus capable of removing iron and manganese
CN103850288B (en) * 2014-04-02 2016-01-13 哈尔滨市旭东给水技术有限责任公司 Deferrization and demanganization formula health transmission & distribution wetting system
CN107792975A (en) * 2016-09-05 2018-03-13 康师傅饮品控股有限公司 Remove the method and device of ferrimanganic in drinking water

Similar Documents

Publication Publication Date Title
CN101333026B (en) A method and device for removing excessive iron and manganese in underground seawater
CN202492402U (en) Household ferro-manganese removal device for well water
CN105152497B (en) Using the circulation direct drinking advanced purification system of ozone biological activated carbon
CN201756467U (en) Jet flow swirling aerator
CN211770680U (en) Water purification system with pressure ozone combined with ultrafiltration and activated carbon filtration
CN202415296U (en) Vehicle-mounted full-automatic field water purifying all-in-one machine
CN205420088U (en) A graded urban sewage treatment device
CN105967441B (en) A kind of sewage disposal system and method
CN203048748U (en) Depth treatment device for drinking water from slightly polluted water source
CN201433122Y (en) Hybrid water quality and air purification device
CN201458861U (en) Ceramic activation water purifier
CN208120909U (en) A kind of trade effluent and waste gas treatment equipment
CN205151978U (en) Ozone water purification unit
CN208200619U (en) A kind of efficient ultrasonic water treatment facilities
CN202156970U (en) Tap water filter with functions of mixing ozone and purifying air
CN204918293U (en) Chip water dispenser that generates active high oxygen and negative hydrogen ions
CN203938517U (en) One way of life apparatus for treating sewage
CN204039117U (en) Polluted water ozone hydrogen peroxide throwing device
CN201509506U (en) A water purification device for aquaculture
CN202369471U (en) Device for purifying landscape water
CN107640872A (en) Water purification system
CN207498239U (en) A kind of urban domestic wastewater processing unit
TWM354452U (en) Water making structure of water fountain
CN205347135U (en) Sewage treatment system
CN103663612B (en) One way of life water treatment device

Legal Events

Date Code Title Description
C14 Grant of patent or utility model
GR01 Patent grant
C17 Cessation of patent right
CF01 Termination of patent right due to non-payment of annual fee

Granted publication date: 20121017

Termination date: 20130314