CN202477458U - Simple powder seasoning distributing device - Google Patents
Simple powder seasoning distributing device Download PDFInfo
- Publication number
- CN202477458U CN202477458U CN2012200820420U CN201220082042U CN202477458U CN 202477458 U CN202477458 U CN 202477458U CN 2012200820420 U CN2012200820420 U CN 2012200820420U CN 201220082042 U CN201220082042 U CN 201220082042U CN 202477458 U CN202477458 U CN 202477458U
- Authority
- CN
- China
- Prior art keywords
- button
- shell
- amount
- housed
- plate
- Prior art date
- Legal status (The legal status is an assumption and is not a legal conclusion. Google has not performed a legal analysis and makes no representation as to the accuracy of the status listed.)
- Expired - Fee Related
Links
Images
Landscapes
- Table Devices Or Equipment (AREA)
Abstract
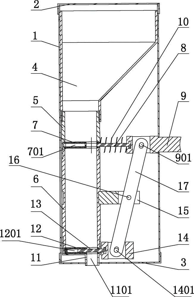
一种简易粉末调料配料器,包括外壳,外壳口部装有顶盖,外壳底部装有底盖,所述外壳内靠近口部装有储料罐,储料罐下端固定在上套筒上,上套筒装在量料杯上端部,量料杯一侧壁紧贴储料罐内壁,量料杯内和上套筒固定处装有上夹板,上夹板上装有上挡板,上挡板可以在上夹板上往复滑动,使漏料孔关闭或开启,上档板穿过量料杯侧壁固定在按钮上,按钮装在外壳壳壁上,上档板上装有弹簧,弹簧一端抵住量料杯外壁,另一端抵住按钮底部,按钮上装有按钮销轴;本实用新型提供的简易粉末调料配料器,能够根据人们的意愿,定量地给出调味剂的量,来实现人们对食物配料的合理配比,从而严格控制每天各种调味剂的摄入量,使身体保持健康的状态。
A simple powder seasoning batcher, comprising a shell, the mouth of the shell is equipped with a top cover, the bottom of the shell is equipped with a bottom cover, the inside of the shell is equipped with a storage tank near the mouth, the lower end of the storage tank is fixed on the upper sleeve, The upper sleeve is installed on the upper end of the measuring cup, the side wall of the measuring cup is close to the inner wall of the storage tank, the upper splint is installed in the measuring cup and the fixing place of the upper sleeve, and the upper baffle is installed on the upper splint. It can slide back and forth on the upper splint to close or open the leakage hole. The upper baffle passes through the side wall of the measuring cup and is fixed on the button. The button is installed on the shell wall. The outer wall of the material cup, the other end is against the bottom of the button, and the button pin is installed on the button; the simple powder seasoning batcher provided by the utility model can quantitatively give the amount of flavoring agent according to people's wishes, so as to realize people's adjustment of food ingredients. The reasonable ratio of ingredients, so as to strictly control the intake of various flavoring agents every day, so as to keep the body in a healthy state.
Description
技术领域 technical field
本实用新型涉及日常生活用品领域,具体讲就是一种用于调味品配比的手持式可定量量取粉末调料的小型厨房配料器。The utility model relates to the field of daily necessities, in particular to a hand-held small kitchen batching device capable of quantitatively measuring powder seasonings for seasoning proportioning.
背景技术 Background technique
随着社会经济的发展,生活节奏越来越快,人们生活水平不断提高,对生活质量的要求不但没有因此降低,反而越来越高。吃、穿、住、行做为人们的基本生活要求,越来越受到人们的重视,日常饮食关乎人们切身的健康,尤其被人们关注。人们在提高自己的饮食种类和水平的同时,也要求食物有合理、健康、营养的配比。但是,目前来看,由于人们的饮食大都依靠人工烹制而成,而人工烹制主要依靠人们的经验,很难做到完全合理,特别是在厨房中做菜时,各种粉末状调料的配放,如食盐,味精,淀粉等。厨房中在配放这些固体粉末调料的方法是用汤匙,或直接投放,这样只能靠熟练度控制调料用量的多少,而不能准确把握调料的用量,会使烹制出的食物过咸或过甜,不利于人们的健康。With the development of social economy, the pace of life is getting faster and faster, people's living standards are constantly improving, and the requirements for quality of life are not only not lowered, but are getting higher and higher. Food, clothing, housing, and transportation, as people's basic living requirements, are more and more paid attention to by people. Daily diet is related to people's personal health, and it is especially concerned by people. When people are improving their diet types and levels, they also require food to have a reasonable, healthy and nutritious ratio. But, at present, since people's diet mostly relies on artificial cooking, and artificial cooking mainly relies on people's experience, it is difficult to be completely reasonable, especially when cooking in the kitchen, the amount of various powdered seasonings With release, such as salt, monosodium glutamate, starch and so on. The method of distributing these solid powder seasonings in the kitchen is to use a spoon or put them directly. In this way, the amount of seasoning can only be controlled by proficiency, and the amount of seasoning can not be accurately grasped, which will make the cooked food too salty or too salty. Sweet, not conducive to people's health.
实用新型内容 Utility model content
本实用新型的目的是提供一种简易粉末调料配料器,能够根据人们的意愿,定量地给出调味剂的量,来实现人们对食物配料的合理配比,从而严格控制每天各种调味剂的摄入量,使身体保持健康的状态。The purpose of this utility model is to provide a simple powder seasoning batching device, which can quantitatively give the amount of flavoring agents according to people's wishes, so as to realize people's reasonable proportioning of food ingredients, so as to strictly control the daily consumption of various flavoring agents. intake to keep the body in a healthy state.
技术方案Technical solutions
为了实现上述技术目的,本实用新型设计一种简易粉末调料配料器,包括外壳,外壳口部装有顶盖,外壳底部装有底盖,其特征在于:所述外壳内靠近口部装有储料罐,储料罐下端固定在上套筒上,上套筒通过过盈配合装在量料杯上端部,量料杯一侧壁紧贴储料罐内壁,量料杯内和上套筒固定处装有上夹板,上夹板上开有漏料孔,上夹板上装有上挡板,上挡板可以在上夹板上往复滑动,使漏料孔关闭或开启,上档板穿过量料杯侧壁固定在按钮上,按钮装在外壳壳壁上,上档板上装有弹簧,弹簧一端抵住量料杯外壁,另一端抵住按钮底部,按钮上装有按钮销轴;所述量料杯底部通过过盈配合装在下套筒上,量料杯底部和下套筒连接处装有下夹板,下夹板上开有出料孔,下夹板上装有下挡板,下挡板可以在下夹板上往复滑动,使出料孔关闭或开启,下档板穿过量料杯侧壁固定在接杆上,接杆上装有接杆销轴;上挡板和下挡板之间的量料杯外壁上固定装有支架,支架上通过支架销轴装有连杆,连杆能绕支架销轴转动,连杆的一端装在接杆销轴上,另一端装按钮销轴上。In order to achieve the above technical purpose, the utility model designs a simple powder seasoning batcher, which includes a shell, a top cover is installed at the mouth of the shell, and a bottom cover is installed at the bottom of the shell. Material tank, the lower end of the storage tank is fixed on the upper sleeve, and the upper sleeve is installed on the upper end of the measuring cup through interference fit. The side wall of the measuring cup is close to the inner wall of the storage tank. The upper splint is installed at the fixed place, and there is a leakage hole on the upper splint. The upper baffle is installed on the upper splint. The upper baffle can slide back and forth on the upper splint to close or open the leakage hole. The upper baffle passes through the measuring cup. The side wall is fixed on the button, the button is installed on the shell wall, the upper baffle is equipped with a spring, one end of the spring is against the outer wall of the measuring cup, the other end is against the bottom of the button, and the button is equipped with a button pin; the measuring cup The bottom is installed on the lower sleeve through interference fit. A lower splint is installed at the connection between the bottom of the measuring cup and the lower sleeve. There is a discharge hole on the lower splint. The lower baffle is installed on the lower splint. The lower baffle can be on the lower splint. Slide back and forth to close or open the discharge hole, the lower baffle passes through the side wall of the measuring cup and is fixed on the post, and the post is equipped with a post pin; the outer wall of the measuring cup between the upper baffle and the lower baffle Support is fixedly equipped with, and connecting rod is equipped with by support pin shaft on the support, and connecting rod can rotate around support pin shaft, and one end of connecting rod is contained on the extension rod pin shaft, and the other end dresses on the button pin shaft.
所述下套筒底部开有出料口。A discharge port is opened at the bottom of the lower sleeve.
所述上夹板和下夹板侧壁上均有梯形状凸起,上套筒和下套筒内壁上的与梯形凸起对应的位置开有梯形凹槽。There are trapezoidal protrusions on the side walls of the upper splint and the lower splint, and trapezoidal grooves are formed on the inner walls of the upper sleeve and the lower sleeve corresponding to the trapezoidal protrusions.
所述量料杯上刻有计量刻度,采用透明材料制作,量料杯刻度在外壳对应处开有视窗。The measuring cup is engraved with a measuring scale, which is made of transparent material, and the measuring cup scale has a window at the corresponding position of the shell.
所述上夹板为圆板,漏料孔为圆形通孔,内部开有长方形通槽,上档板装在通槽内,上挡板与漏料孔对应处开有圆孔;The upper splint is a circular plate, the leakage hole is a circular through hole, and a rectangular through groove is opened inside, the upper baffle is installed in the through groove, and a round hole is opened at the corresponding position of the upper baffle and the leakage hole;
所述下夹板为圆板,出料孔为圆形通孔,内部开有长方形通槽,下档板装在通槽内,下挡板与出料孔对应处开有圆孔。The lower splint is a circular plate, the discharge hole is a circular through hole, and a rectangular through groove is opened inside, the lower baffle is installed in the through groove, and a round hole is opened at the corresponding position of the lower baffle and the discharge hole.
所述上档板通过“T”字头固定在按钮T形槽中,下挡板通过“T”字头固定在接杆T形槽中。The upper baffle is fixed in the T-shaped slot of the button through the "T" prefix, and the lower baffle is fixed in the T-shaped slot of the post through the "T" prefix.
有益效果Beneficial effect
采用本实用新型提供的手持可调厨房粉末配料器可以方便的存放以及较为准确的量取厨房中各种常用的粉末状调料,便于家庭中做饭做菜时对食物配味品的合理配比,从而严格控制每天各种调味剂的摄入量,使身体保持健康的状态。The hand-held adjustable kitchen powder batcher provided by the utility model can conveniently store and accurately measure various commonly used powdered seasonings in the kitchen, which is convenient for the reasonable proportioning of food condiments when cooking at home , so as to strictly control the intake of various flavoring agents every day, so as to keep the body in a healthy state.
附图说明 Description of drawings
附图1是本实用新型结构示意图。Accompanying drawing 1 is the structural representation of the utility model.
附图2是本实用新型开始加注粉末调料结构示意图。Accompanying drawing 2 is the structure schematic diagram that the utility model begins to add powder condiment.
附图3是附图2中A处放大图。Accompanying drawing 3 is the enlarged view of place A in accompanying drawing 2.
附图4是附图2中B处放大图。Accompanying drawing 4 is the enlarged view of place B in accompanying drawing 2.
附图5是本实用新型加注满粉末调料结构示意图。Accompanying drawing 5 is that the utility model is filled with full powder condiment structure schematic diagram.
附图6是附图5中C处放大图。Accompanying drawing 6 is the enlarged view of C in accompanying drawing 5.
附图7是附图5中D处放大图。Accompanying drawing 7 is the enlarged view of place D in accompanying drawing 5.
附图8是本实用新型往外添加粉末调料结构示意图。Accompanying drawing 8 is the structural representation of adding powder seasoning outside the utility model.
附图9是附图5中E处放大图。Accompanying drawing 9 is the enlarged view of place E in accompanying drawing 5.
附图10是附图5中F处放大图。Accompanying drawing 10 is the enlarged view of F in accompanying drawing 5.
附图11是垫板结构示意图。Accompanying drawing 11 is the schematic diagram of backing plate structure.
附图12是挡板固定在按钮上结构示意图。Accompanying drawing 12 is the structure diagram that baffle is fixed on the button.
具体实施方式 Detailed ways
下面结合附图和实施例,对本实用新型作进一步阐述。Below in conjunction with accompanying drawing and embodiment, the utility model is further elaborated.
如附图1、11和12所示,一种简易粉末调料配料器,包括外壳1,外壳1口部装有顶盖2,外壳1底部装有底盖3,其中,所述外壳1内靠近口部装有储料罐4,储料罐4下端固定在上套筒5上,上套筒5通过过盈配合装在量料杯6上端部,量料杯6一侧壁紧贴储料罐4内壁,量料杯6内和上套筒5固定处装有上夹板7,上夹板7上开有漏料孔701,上夹板7上装有上挡板8,上挡板8可以在上夹板7上往复滑动,使漏料孔701关闭或开启,上档板8穿过量料杯6侧壁固定在按钮9上,按钮9装在外壳1壳壁上,上档板8上装有弹簧10,弹簧10一端抵住量料杯6外壁,另一端抵住按钮9底部,按钮9上装有按钮销轴901;As shown in Figures 1, 11 and 12, a simple powder seasoning batcher includes a casing 1, a top cover 2 is installed at the mouth of the casing 1, and a bottom cover 3 is installed at the bottom of the casing 1, wherein the inside of the casing 1 is close to The mouth is equipped with a storage tank 4, the lower end of the storage tank 4 is fixed on the upper sleeve 5, the upper sleeve 5 is installed on the upper end of the measuring cup 6 through interference fit, and the side wall of the measuring cup 6 is close to the storage material The inner wall of the tank 4, the upper splint 7 is installed in the measuring cup 6 and the fixed place of the upper sleeve 5, and the upper splint 7 is provided with a material leakage hole 701, and the upper splint 7 is equipped with an upper baffle plate 8, and the upper baffle plate 8 can be placed on the upper splint 7. Slide back and forth on the splint 7 to close or open the leakage hole 701, the upper baffle 8 passes through the side wall of the measuring cup 6 and is fixed on the button 9, the button 9 is mounted on the shell wall of the shell 1, and the upper baffle 8 is equipped with a spring 10 , one end of the spring 10 is against the outer wall of the measuring cup 6, and the other end is against the bottom of the button 9, and the button 9 is equipped with a button pin 901;
所述量料杯6底部通过过盈配合装在下套筒11上,量料杯6底部和下套筒11连接处装有下夹板12,下夹板12上开有出料孔1201,下夹板12上装有下挡板13,下挡板13可以在下夹板12上往复滑动,使出料孔1201关闭或开启,下档板13穿过量料杯6侧壁固定在接杆14上,接杆14上装有接杆销轴1401;The bottom of the measuring cup 6 is installed on the lower sleeve 11 through an interference fit, and the bottom of the measuring cup 6 and the lower sleeve 11 are connected by a lower splint 12, and the lower splint 12 has a discharge hole 1201, and the lower splint 12 A lower baffle 13 is installed on the top, and the lower baffle 13 can slide back and forth on the lower splint 12 to close or open the discharge hole 1201. The lower baffle 13 passes through the side wall of the measuring cup 6 and is fixed on the connecting rod 14, and the connecting rod 14 is installed There is an adapter pin shaft 1401;
上挡板8和下挡板13之间的量料杯6外壁上固定装有支架15,支架15上通过支架销轴16装有连杆17,连杆17能绕支架销轴16转动,连杆17的一端装在接杆销轴1401上,另一端装按钮销轴901上。The measuring cup 6 outer walls between the upper baffle plate 8 and the lower baffle plate 13 are fixedly equipped with a support 15, and the support pin 16 is equipped with a connecting rod 17 on the support 15, and the connecting rod 17 can rotate around the support pin 16. One end of the rod 17 is mounted on the connecting rod pin 1401, and the other end is mounted on the button pin 901.
所述下套筒11底部开有出料口1101。A discharge port 1101 is opened at the bottom of the lower sleeve 11 .
所述上夹板7和下夹板12侧壁上均有梯形状凸起,上套筒5和下套筒11内壁上的与梯形凸起对应的位置开有梯形凹槽。There are trapezoidal protrusions on the side walls of the upper clamping plate 7 and the lower clamping plate 12 , and trapezoidal grooves are formed on the inner walls of the upper sleeve 5 and the lower sleeve 11 corresponding to the trapezoidal protrusions.
所述量料杯6上刻有计量刻度,采用透明材料制作,量料杯6刻度在外壳1对应处开有视窗。The measuring cup 6 is engraved with a metering scale, which is made of a transparent material, and the measuring cup 6 scale has a window at the corresponding position of the shell 1 .
所述上夹板7为圆板,漏料孔701为圆形通孔,内部开有长方形通槽,上档板8装在通槽内,上挡板8与漏料孔701对应处开有圆孔;The upper splint 7 is a circular plate, the leakage hole 701 is a circular through hole, and there is a rectangular through groove inside. hole;
所述下夹板12为圆板,出料孔1201为圆形通孔,内部开有长方形通槽,下档板13装在通槽内,下挡板13与出料孔1201对应处开有圆孔。The lower splint 12 is a circular plate, the discharge hole 1201 is a circular through hole, and there is a rectangular through groove inside. hole.
所述上档板8通过“T”字头固定在按钮9T形槽中,下挡板13通过“T”字头固定在接杆14T形槽中。The upper baffle plate 8 is fixed in the T-shaped groove of the button 9 through the “T” prefix, and the lower baffle plate 13 is fixed in the T-shaped groove of the connecting rod 14 through the “T” prefix.
如附图2、3和4所示,打开顶盖2将袋装食盐放入储料罐4中,食盐通过上夹板7和上挡板8的圆孔进入量料杯6中,直至其装满。此时下夹板12上的孔被下档板13封闭。As shown in accompanying drawings 2, 3 and 4, open the top cover 2 and put the bagged salt into the storage tank 4, and the salt enters the measuring cup 6 through the round hole of the upper splint 7 and the upper baffle plate 8 until it is filled. Full. The hole on the lower clamping plate 12 is closed by the lower blocking plate 13 this moment.
如附图5、6和7所示,按动按钮9,带动连杆17运动使上夹板7的圆孔逐渐被上挡板8挡住而关闭,此时两个孔都是关闭的。As shown in accompanying drawing 5,6 and 7, press button 9, drive connecting rod 17 to move and make the round hole of upper splint 7 be blocked by upper baffle plate 8 gradually and close, and now two holes all are closed.
如附图8、9和10所示,随着连杆17的继续运动,上夹板7上的孔继续一直封闭,下夹板12上的孔逐渐打开,食盐从下夹板12的孔流出,并且流量逐渐变大。此时操作者可观察量料杯6上的刻度在所需的重量刻度上松开按钮即可,按钮9松开之后,下夹板12的圆形通孔被下档板13挡住,食盐不再流出,上夹板7和上挡板8的圆形通孔重新对齐,而储料罐4中的食盐通过圆孔进入量料杯6直至其再次装满食盐。As shown in accompanying drawings 8, 9 and 10, as the connecting rod 17 continues to move, the hole on the upper clamping plate 7 continues to be closed all the time, the hole on the lower clamping plate 12 gradually opens, and the salt flows out from the hole of the lower clamping plate 12, and the flow rate Gradually get bigger. Now the operator can observe the scale on the measuring cup 6 and loosen the button on the required weight scale. After the button 9 was released, the circular through hole of the lower clamping plate 12 was blocked by the lower baffle plate 13, and the salt was no longer Outflow, the circular through hole of upper splint 7 and upper baffle plate 8 are aligned again, and the salt in the storage tank 4 enters the measuring cup 6 through the circular hole until it is filled with salt again.
采用本实用新型提供的手持可调厨房粉末配料器可以方便的存放以及较为准确的量取厨房中各种常用的粉末状调料,便于家庭中做饭做菜时对食物配味品的合理配比,从而严格控制每天各种调味剂的摄入量,使身体保持健康的状态。The hand-held adjustable kitchen powder batcher provided by the utility model can conveniently store and accurately measure various commonly used powdered seasonings in the kitchen, which is convenient for the reasonable proportioning of food condiments when cooking at home , so as to strictly control the intake of various flavoring agents every day, so as to keep the body in a healthy state.
Claims (5)
Priority Applications (1)
| Application Number | Priority Date | Filing Date | Title |
|---|---|---|---|
| CN2012200820420U CN202477458U (en) | 2012-03-06 | 2012-03-06 | Simple powder seasoning distributing device |
Applications Claiming Priority (1)
| Application Number | Priority Date | Filing Date | Title |
|---|---|---|---|
| CN2012200820420U CN202477458U (en) | 2012-03-06 | 2012-03-06 | Simple powder seasoning distributing device |
Publications (1)
| Publication Number | Publication Date |
|---|---|
| CN202477458U true CN202477458U (en) | 2012-10-10 |
Family
ID=46951925
Family Applications (1)
| Application Number | Title | Priority Date | Filing Date |
|---|---|---|---|
| CN2012200820420U Expired - Fee Related CN202477458U (en) | 2012-03-06 | 2012-03-06 | Simple powder seasoning distributing device |
Country Status (1)
| Country | Link |
|---|---|
| CN (1) | CN202477458U (en) |
Cited By (3)
| Publication number | Priority date | Publication date | Assignee | Title |
|---|---|---|---|---|
| CN106516450A (en) * | 2016-12-31 | 2017-03-22 | 桂林电子科技大学 | Fast quantitative separation device for liquid or solid powder |
| CN108125270A (en) * | 2017-12-20 | 2018-06-08 | 辰星(天津)自动化设备有限公司 | A kind of condiment material-strewing device |
| CN109126538A (en) * | 2018-09-12 | 2019-01-04 | 康凯丽 | A kind of daily life agitating device |
-
2012
- 2012-03-06 CN CN2012200820420U patent/CN202477458U/en not_active Expired - Fee Related
Cited By (3)
| Publication number | Priority date | Publication date | Assignee | Title |
|---|---|---|---|---|
| CN106516450A (en) * | 2016-12-31 | 2017-03-22 | 桂林电子科技大学 | Fast quantitative separation device for liquid or solid powder |
| CN108125270A (en) * | 2017-12-20 | 2018-06-08 | 辰星(天津)自动化设备有限公司 | A kind of condiment material-strewing device |
| CN109126538A (en) * | 2018-09-12 | 2019-01-04 | 康凯丽 | A kind of daily life agitating device |
Similar Documents
| Publication | Publication Date | Title |
|---|---|---|
| CN202036106U (en) | Seasoning tank provided with quantitative metering mechanism | |
| CN202477458U (en) | Simple powder seasoning distributing device | |
| CN201026155Y (en) | Quantitative liquid condition cruet | |
| CN203723997U (en) | Powder batcher | |
| CN204133052U (en) | A kind of multi-functional spoon | |
| CN101774447B (en) | Quantificational liquid discharging pot | |
| CN102429598B (en) | Handheld Measurable Kitchen Powder Doser | |
| CN202515524U (en) | Handheld batcher capable of measuring powder in kitchen | |
| CN201798632U (en) | Nod type quantitative seasoning box | |
| CN203369828U (en) | Quantitative solid seasoning container | |
| CN201691786U (en) | Adjustable quantitative seasoning box | |
| CN211408768U (en) | A quantitatively taken out seasoning bottle | |
| JP2017506086A (en) | Container with weighing function that can be easily opened and closed | |
| CN107224168A (en) | Dual water cup with rotatable spout | |
| CN201131563Y (en) | Tea making spoon | |
| CN204683411U (en) | A kind of spoon of monitoring consumption | |
| CN209252475U (en) | A kind of coffee pot convenient for adding flavoring agent | |
| CN201068284Y (en) | Container with funnel | |
| CN201313701Y (en) | Novel metering container | |
| CN205094094U (en) | Powder or newton's type fluid are with spoon | |
| CN203693173U (en) | Automatic metering condiment dispenser | |
| CN216637405U (en) | Rice storage barrel | |
| CN205913280U (en) | Electron castor | |
| CN214804195U (en) | Can be from flip's pot lid | |
| CN202636426U (en) | Tea cream brewing-up device |
Legal Events
| Date | Code | Title | Description |
|---|---|---|---|
| C14 | Grant of patent or utility model | ||
| GR01 | Patent grant | ||
| C17 | Cessation of patent right | ||
| CF01 | Termination of patent right due to non-payment of annual fee |
Granted publication date: 20121010 Termination date: 20130306 |
