CN202164536U - 桥梁防倾覆隔震橡胶支座 - Google Patents
桥梁防倾覆隔震橡胶支座 Download PDFInfo
- Publication number
- CN202164536U CN202164536U CN2011202840829U CN201120284082U CN202164536U CN 202164536 U CN202164536 U CN 202164536U CN 2011202840829 U CN2011202840829 U CN 2011202840829U CN 201120284082 U CN201120284082 U CN 201120284082U CN 202164536 U CN202164536 U CN 202164536U
- Authority
- CN
- China
- Prior art keywords
- shock insulation
- insulation rubber
- control cabinet
- connecting plate
- bridge
- Prior art date
- Legal status (The legal status is an assumption and is not a legal conclusion. Google has not performed a legal analysis and makes no representation as to the accuracy of the status listed.)
- Expired - Lifetime
Links
- 238000009413 insulation Methods 0.000 title claims abstract description 60
- 229920001971 elastomer Polymers 0.000 title claims abstract description 54
- 230000035939 shock Effects 0.000 title claims abstract description 45
- 230000000703 anti-shock Effects 0.000 claims description 19
- 230000000295 complement effect Effects 0.000 claims description 5
- 244000144985 peep Species 0.000 claims description 5
- 230000006378 damage Effects 0.000 abstract description 6
- 238000002955 isolation Methods 0.000 description 10
- 238000005516 engineering process Methods 0.000 description 5
- 230000008859 change Effects 0.000 description 4
- NJPPVKZQTLUDBO-UHFFFAOYSA-N novaluron Chemical compound C1=C(Cl)C(OC(F)(F)C(OC(F)(F)F)F)=CC=C1NC(=O)NC(=O)C1=C(F)C=CC=C1F NJPPVKZQTLUDBO-UHFFFAOYSA-N 0.000 description 4
- 230000005540 biological transmission Effects 0.000 description 3
- 238000010276 construction Methods 0.000 description 3
- 230000000116 mitigating effect Effects 0.000 description 3
- 229920001084 poly(chloroprene) Polymers 0.000 description 3
- 230000009471 action Effects 0.000 description 2
- 230000007797 corrosion Effects 0.000 description 2
- 238000005260 corrosion Methods 0.000 description 2
- 238000013016 damping Methods 0.000 description 2
- 230000000694 effects Effects 0.000 description 2
- 238000010438 heat treatment Methods 0.000 description 2
- 230000003993 interaction Effects 0.000 description 2
- 238000000034 method Methods 0.000 description 2
- 230000008569 process Effects 0.000 description 2
- 230000001681 protective effect Effects 0.000 description 2
- 230000009467 reduction Effects 0.000 description 2
- 230000004044 response Effects 0.000 description 2
- 238000010008 shearing Methods 0.000 description 2
- 239000012141 concentrate Substances 0.000 description 1
- 230000006735 deficit Effects 0.000 description 1
- 238000006073 displacement reaction Methods 0.000 description 1
- 229920003023 plastic Polymers 0.000 description 1
- 239000004033 plastic Substances 0.000 description 1
Images
Landscapes
- Vibration Prevention Devices (AREA)
Abstract
本实用新型属于隔震支座技术领域,公开了一种桥梁防倾覆隔震橡胶支座。其主要技术特征为:包括下连接板、控制箱和上连接板,控制箱内设置有与下连接板、上连接板相固定的隔震橡胶支座芯体,下连接板对称设置有一对第一导轨,上连接板对称设置有一对与第一导轨相垂直的第二导轨,控制箱设置有卡入第一导轨并可沿第一导轨滑动的第一凸沿和卡入第二导轨并可沿第二导轨滑动的第二凸沿,所述控制箱的外侧设置有约束装置,约束装置为约束销或粘滞阻尼器。该桥梁防倾覆隔震橡胶支座在正常使用条件下,满足固定、纵向、横向活动支座的使用功能,还能满足隔震功能要求,防止在罕遇地震发生时发生桥梁落梁损害。
Description
技术领域
本实用新型属于隔震支座技术领域,尤其涉及一种桥梁防倾覆隔震橡胶支座。
背景技术
用于桥梁结构的桥梁隔震橡胶支座,在地震发生时可以有效隔离地震能量向上部结构的传递,从而减轻地震灾害对桥梁的损害,保护桥梁的安全。
中华人民共和国行业推荐性标准JTG/TB02-01-2008《公路桥梁抗震设计细则》条文说明,第10.1条一般规定第1款,“……在桥梁抗震设计中,引入隔震技术的目的就是利用隔震装置在满足正常使用功能要求的前提下,达到延长结构周期、消耗地震能量、降低结构响应的目的。因此,对于桥梁的隔震设计,最重要的因素就是设计合理、可靠的隔震装置并使其在结构抗震中充分发挥作用,即桥梁结构的大部分耗能、塑性变形应集中于这些装置,……”;10.1.3 “存在以下情况之一,不宜采用减、隔震设计:…… 4.支座中可能出现负反力。”
中国工程建设标准化协会标准CECS126:2001《叠层橡胶支座隔震技术规程》第5.1.7条规定,“采用隔震支座的Ⅰ、Ⅱ、Ⅲ级公路、铁路桥,当出现下列情况之一时,必须限制隔震支座在设防烈度下的水平剪应变不大于120%;……”。
《公路桥梁抗震设计细则》上述条款明确指出:1.桥梁隔震装置满足正常的使用功能是前提条件。2.达到延长结构周期、消耗地震能量、降低结构响应的是目的。3.《叠层橡胶支座隔震技术规程》明确指出,在某些特定条件下必须限制隔震支座在设防烈度下的水平剪应变。
桥梁隔震橡胶支座的隔震功能卓有成效,但其综合功能有待完善。主要是:隔震橡胶支座的使用功能包括两种工况:正常使用功能与隔震功能,因正常使用功能与隔震功能的工况特点截然不同,难以两全。又因地震荷载是一种偶然荷载,出现的机率很小,故《公路桥梁抗震设计细则》的相关条款明确指出:桥梁隔震装置满足正常的使用功能是前提条件。桥梁隔震橡胶支座在满足正常使用功能方面尚有不足。
实用新型内容
本实用新型要解决的技术问题就是提供一种在满足正常使用功能前提下,又能满足隔震功能的不同使用要求,防止在罕遇地震发生时发生桥梁落梁损害的桥梁防倾覆隔震橡胶支座。
为解决上述技术问题,本实用新型采用的技术方案为:包括下连接板、控制箱和上连接板,控制箱内设置有与下连接板、上连接板相固定的隔震橡胶支座芯体,下连接板对称设置有一对第一导轨,上连接板对称设置有一对与第一导轨相垂直的第二导轨,控制箱设置有卡入第一导轨并可沿第一导轨滑动的第一凸沿和卡入第二导轨并可沿第二导轨滑动的第二凸沿,所述控制箱的外侧设置有约束装置。
其附加技术特征为:所述的约束装置为设置在下连接板和控制箱上或设置在上连接板和控制箱上的成对的约束销或粘滞阻尼器;所述的约束装置为设置在下连接板或/和上连接板上的约束销或粘滞阻尼器;所述上连接板的底面和控制箱的顶面分别设置有多条相匹配的上滑条和下滑条,上滑条和下滑条间设置有预留间隙;所述的控制箱设置有椭圆形或长方形的下限位孔和上限位孔,下限位孔的长轴方向与第一导轨方向一致,上限位孔的长轴方向与第二导轨方向一致;所述的隔震橡胶支座芯体通过螺栓与下连接板和上连接板相固定;所述的控制箱设置有观察孔。
本实用新型所提供的桥梁防倾覆隔震橡胶支座,控制箱的外侧设置有约束装置,约束装置可为设置在下连接板和控制箱上或设置在上连接板和控制箱上的成对的约束销或粘滞阻尼器,约束装置也可为设置在下连接板或/和上连接板上的约束销或粘滞阻尼器。这样,在抗拉隔震橡胶支座的基础上,在导轨副上根据需要分别设置数组约束销或粘滞阻尼器等约束装置,约束控制箱的一个或两个运动方向。使桥梁防倾覆隔震橡胶支座在正常使用条件下,分别满足固定支座、纵向活动支座、横向活动支座的使用功能,满足防倾覆隔震橡胶支座的正常使用功能。地震发生时,当地震作用力超过支座正常使用条件下的约束力时,支座的约束解除,支座即可在顺桥向、横桥向及任意方向发挥隔震功能,减少地震能量向上部结构的传递,减轻地震灾害对桥梁的损害,保护桥梁的安全。采用约束销,地震发生后,需更换约束销。采用粘滞阻尼器,地震发生后,一般不用更换粘滞阻尼器。
而上连接板的底面和控制箱的顶面分别设置有多条相匹配的上滑条和下滑条,上滑条和下滑条间设置有预留间隙。在正常情况下,以及地震时桥梁未产生倾覆力时,上连接板与控制箱的上滑条和下滑条的两滑动表面由于预留间隙的存在而不接触,控制箱不发挥作用,隔震橡胶支座芯体独立承担竖向作用力,满足常规的和设防烈度时的使用功能。当罕遇地震发生时,支座上产生拉应力时,下连接板、控制箱和上连接板上的第一凸沿与第一导轨、第二凸沿与第二导轨之间产生相互作用力,隔震橡胶支座芯体承担的拉应力很小。在罕遇地震发生时,有的支座上产生拉应力后,有的支座上的压应力必然大幅度增加。当压应力超过设计值时,隔震橡胶支座芯体的压缩变形增大,上连接板与控制箱的上滑条与下滑条的滑动副接触。此时,下连接板、控制箱和上连接板与隔震橡胶支座芯体共同承受竖向压力,支座的竖向承载力可大幅度提高,可以有效防止桥梁发生倾覆危害,上滑条和下滑条又使得上连接板与控制箱不直接接触,对支座起到保护作用。并且桥梁防倾覆隔震橡胶支座的导轨副和滑动副在承受拉力或压力时,运动过程中所产生的摩擦力又为支座提供了阻尼,发挥了耗能功能。在罕遇地震作用下,隔震橡胶支座芯体一旦损坏,下连接板、控制箱和上连接板仍然可以承受竖向载荷,确保桥梁的安全。
而控制箱设置有椭圆形或长方形的下限位孔和上限位孔,下限位孔的长轴方向与第一导轨方向一致,上限位孔的长轴方向与第二导轨方向一致,则使得下限位孔和上限位孔对下连接板和上连接板起限位作用。根据要求,隔震橡胶支座芯体可通过螺栓或其它方式与下连接板和上连接板相固定。而控制箱设置有观察孔,则方便在控制箱外面观察隔震橡胶支座芯体。在导轨副和滑动副的滑动表面,可采取镶嵌、镀涂或热处理等措施,以调整滑动表面的摩擦系数,防止滑动表面运动时发生粘合现象及锈蚀。
本实用新型所提供的桥梁防倾覆隔震橡胶支座,支座竖向承载力的最大值不小于设计值的2倍,支座水平承载力不小于竖向承载力设计值的30%,支座设有抗拉装置,可承受不小于相当于25%竖向承载力设计值的拉力,支座设有限位装置,可根据需要设定位移量,以满足不同的使用要求,上述功能的组合,可以避免罕遇地震发生时,桥梁发生落梁损坏。
附图说明
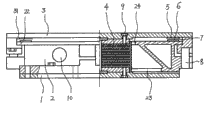
图1为本实用新型桥梁防倾覆隔震橡胶支座的俯视图;
图2为图1的A-A切面图;
图3为图1的B-B切面图。
具体实施方式
下面结合附图对本实用新型桥梁防倾覆隔震橡胶支座的结构和使用原理做进一步详细说明。
如图1、图2和图3所示,本实用新型桥梁防倾覆隔震橡胶支座包括下连接板1、控制箱2和上连接板3,控制箱2内设置有与下连接板1、上连接板3相固定的隔震橡胶支座芯体4,下连接板1对称设置有一对第一导轨11,上连接板3对称设置有一对与第一导轨11相垂直的第二导轨31,控制箱2设置有卡入第一导轨11并可沿第一导轨11滑动的第一凸沿21和卡入第二导轨31并可沿第二导轨31滑动的第二凸沿22,上连接板3的底面和控制箱2的顶面分别设置有多条相匹配的上滑条5和下滑条6,上滑条5和下滑条6间设置有预留间隙7,控制箱2设置有下限位孔23和上限位孔24,下限位孔23和上限位孔24为椭圆形或长方形,下限位孔23的长轴方向与第一导轨11方向一致,上限位孔24的长轴方向与第二导轨31方向一致,控制箱2的外侧设置有约束销8或粘滞阻尼器等约束装置,约束销8或粘滞阻尼器等约束装置设置在下连接板3或/和上连接板1上,或成对设置在下连接板3和控制箱2上或设置在上连接板1和控制箱2上。隔震橡胶支座芯体4通过螺栓9与下连接板1和上连接板3相固定,控制箱2设置有观察孔10。
本实用新型所提供的桥梁防倾覆隔震橡胶支座,控制箱2的外侧设置有约束销8或粘滞阻尼器等约束装置。这样,在抗拉隔震橡胶支座的基础上,在导轨副上根据需要分别设置数组约束销8或粘滞阻尼器等约束装置,约束控制箱2的一个或两个运动方向。使桥梁防倾覆隔震橡胶支座在正常使用条件下,分别满足固定支座、纵向活动支座、横向活动支座的使用功能,满足防倾覆隔震橡胶支座的正常使用功能。地震发生时,当地震作用力超过支座正常使用条件下的约束力时,支座的约束解除,支座即可在顺桥向、横桥向及任意方向发挥隔震功能,减少地震能量向上部结构的传递,减轻地震灾害对桥梁的损害,保护桥梁的安全。采用约束销8,地震发生后,需更换约束销8。采用粘滞阻尼器,地震发生后,不用更换粘滞阻尼器。
而上连接板3的底面和控制箱2的顶面分别设置有多条相匹配的上滑条5和下滑条6,上滑条5和下滑条6间设置有预留间隙7。在正常情况下,以及地震时桥梁未产生倾覆力时,上连接板3与控制箱2的上滑条5和下滑条6的两滑动表面由于预留间隙7的存在而不接触,控制箱2不发挥作用,隔震橡胶支座芯体4独立承担竖向作用力,满足常规的和设防烈度时的使用功能。当罕遇地震发生时,支座上产生拉应力时,下连接板1、控制箱2和上连接板3上的第一凸沿21与第一导轨11、第二凸沿22与第二导轨31之间产生相互作用力,隔震橡胶支座芯体4承担的拉应力很小。在罕遇地震发生时,有的支座上产生拉应力后,有的支座上的压应力必然大幅度增加。当压应力超过设计值时,隔震橡胶支座芯体4的压缩变形增大,上连接板3与控制箱2的上滑条5与下滑条6的滑动副接触。此时,下连接板1、控制箱2和上连接板3与隔震橡胶支座芯体4共同承受竖向压力,支座的竖向承载力可大幅度提高,可以有效防止桥梁发生倾覆危害,上滑条5和下滑条6又使得上连接板3与控制箱2不直接接触,对支座起到保护作用。并且桥梁防倾覆隔震橡胶支座的导轨副和滑动副在承受拉力或压力时,运动过程中所产生的摩擦力又为支座提供了阻尼,发挥了耗能功能。在罕遇地震作用下,隔震橡胶支座芯体4一旦损坏,下连接板1、控制箱2和上连接板3仍然可以承受竖向载荷,确保桥梁的安全。
而控制箱2设置有椭圆形或长方形的下限位孔23和上限位孔24,下限位孔23和上限位孔24为椭圆形或长方形,下限位孔23的长轴方向与第一导轨11方向一致,上限位孔24的长轴方向与第二导轨31方向一致,则使得下限位孔23和上限位孔24对下连接板1和上连接板3起限位作用。根据要求,隔震橡胶支座芯体4可通过螺栓9与下连接板1和上连接板3相固定,当然,隔震橡胶支座芯体4也可以通过其他方式与下连接板1和上连接板3固定。而控制箱2设置有观察孔10,则方便在控制箱2外面观察隔震橡胶支座芯体4。在导轨副和滑动副的滑动表面,可采取镶嵌、镀涂或热处理等措施,以调整滑动表面的摩擦系数,防止滑动表面运动时发生粘合现象及锈蚀。
Claims (7)
1.桥梁防倾覆隔震橡胶支座,包括下连接板、控制箱和上连接板,控制箱内设置有与下连接板、上连接板相固定的隔震橡胶支座芯体,下连接板对称设置有一对第一导轨,上连接板对称设置有一对与第一导轨相垂直的第二导轨,控制箱设置有卡入第一导轨并可沿第一导轨滑动的第一凸沿和卡入第二导轨并可沿第二导轨滑动的第二凸沿,其特征在于:所述控制箱的外侧设置有约束装置。
2.根据权利要求1所述的桥梁防倾覆隔震橡胶支座,其特征在于:所述的约束装置为设置在下连接板和控制箱上或设置在上连接板和控制箱上的成对的约束销或粘滞阻尼器。
3.根据权利要求1所述的桥梁防倾覆隔震橡胶支座,其特征在于:所述的约束装置为设置在下连接板或/和上连接板上的约束销或粘滞阻尼器。
4.根据权利要求1所述的桥梁防倾覆隔震橡胶支座,其特征在于:所述上连接板的底面和控制箱的顶面分别设置有多条相匹配的上滑条和下滑条,上滑条和下滑条间设置有预留间隙。
5.根据权利要求1所述的桥梁防倾覆隔震橡胶支座,其特征在于:所述的控制箱设置有椭圆形或长方形的下限位孔和上限位孔,下限位孔的长轴方向与第一导轨方向一致,上限位孔的长轴方向与第二导轨方向一致。
6.根据权利要求1所述的桥梁防倾覆隔震橡胶支座,其特征在于:所述的隔震橡胶支座芯体通过螺栓与下连接板和上连接板相固定。
7.根据权利要求1所述的桥梁防倾覆隔震橡胶支座,其特征在于:所述的控制箱设置有观察孔。
Priority Applications (1)
| Application Number | Priority Date | Filing Date | Title |
|---|---|---|---|
| CN2011202840829U CN202164536U (zh) | 2011-08-07 | 2011-08-07 | 桥梁防倾覆隔震橡胶支座 |
Applications Claiming Priority (1)
| Application Number | Priority Date | Filing Date | Title |
|---|---|---|---|
| CN2011202840829U CN202164536U (zh) | 2011-08-07 | 2011-08-07 | 桥梁防倾覆隔震橡胶支座 |
Publications (1)
| Publication Number | Publication Date |
|---|---|
| CN202164536U true CN202164536U (zh) | 2012-03-14 |
Family
ID=45800375
Family Applications (1)
| Application Number | Title | Priority Date | Filing Date |
|---|---|---|---|
| CN2011202840829U Expired - Lifetime CN202164536U (zh) | 2011-08-07 | 2011-08-07 | 桥梁防倾覆隔震橡胶支座 |
Country Status (1)
| Country | Link |
|---|---|
| CN (1) | CN202164536U (zh) |
Cited By (3)
| Publication number | Priority date | Publication date | Assignee | Title |
|---|---|---|---|---|
| CN102912723A (zh) * | 2012-10-30 | 2013-02-06 | 北京工业大学 | 具有限位功能的环形粘弹性阻尼装置 |
| CN106545212A (zh) * | 2016-12-07 | 2017-03-29 | 北京工业大学 | 一种直导轨型抗拉与限位隔震装置 |
| CN106545211A (zh) * | 2016-12-07 | 2017-03-29 | 北京工业大学 | 一种复合式直导轨型抗拉与限位隔震装置 |
-
2011
- 2011-08-07 CN CN2011202840829U patent/CN202164536U/zh not_active Expired - Lifetime
Cited By (4)
| Publication number | Priority date | Publication date | Assignee | Title |
|---|---|---|---|---|
| CN102912723A (zh) * | 2012-10-30 | 2013-02-06 | 北京工业大学 | 具有限位功能的环形粘弹性阻尼装置 |
| CN102912723B (zh) * | 2012-10-30 | 2014-10-29 | 北京工业大学 | 具有限位功能的环形粘弹性阻尼装置 |
| CN106545212A (zh) * | 2016-12-07 | 2017-03-29 | 北京工业大学 | 一种直导轨型抗拉与限位隔震装置 |
| CN106545211A (zh) * | 2016-12-07 | 2017-03-29 | 北京工业大学 | 一种复合式直导轨型抗拉与限位隔震装置 |
Similar Documents
| Publication | Publication Date | Title |
|---|---|---|
| US10174467B1 (en) | Self-resetting friction-damping shock absorption bearing and shock absorption bridge | |
| CN204401794U (zh) | 防倾覆隔震橡胶支座 | |
| CN204825623U (zh) | 一种两级限位侧弹性隔震支座 | |
| CN201459597U (zh) | 一种可实现类型转换的抗震阻尼球型钢支座 | |
| CN102677774B (zh) | 双导向型抗拉防倾覆隔震橡胶支座 | |
| CN202164536U (zh) | 桥梁防倾覆隔震橡胶支座 | |
| CN202073031U (zh) | 多维减隔震铅芯橡胶支座 | |
| CN203320402U (zh) | 拉索型摩擦摆减隔震支座 | |
| CN203247501U (zh) | 一种消能型减隔震盆式支座 | |
| CN202164707U (zh) | 防倾覆隔震橡胶支座 | |
| CN202626828U (zh) | 一种减隔震支座装置 | |
| CN104746424A (zh) | 一种钢阻尼球型支座 | |
| CN203393605U (zh) | 一种变曲率自适应摩擦摆式减隔震支座 | |
| CN104404865A (zh) | 一种u形阻尼器支座减震结构 | |
| CN204266112U (zh) | 一种u形阻尼器支座减震结构 | |
| CN204509982U (zh) | 一种钢阻尼球型支座 | |
| CN202688867U (zh) | 一种ε型钢阻尼消能球型钢桥梁支座 | |
| CN103233422B (zh) | 用于三跨桥梁横向抗震的组合支撑结构 | |
| CN202787060U (zh) | 易更换拉索的减震支座 | |
| CN205205703U (zh) | 新型耗能件 | |
| CN102691260A (zh) | 一种减隔震支座装置 | |
| CN203200650U (zh) | V形导轨结构单向型支座 | |
| CN205000238U (zh) | 一种盆式滑动摩擦-滚轴滚动摩擦组合隔震支座 | |
| CN203559337U (zh) | 新型抗拉隔震装置 | |
| CN203890859U (zh) | 双j型钢阻尼装置 |
Legal Events
| Date | Code | Title | Description |
|---|---|---|---|
| C14 | Grant of patent or utility model | ||
| GR01 | Patent grant | ||
| CX01 | Expiry of patent term |
Granted publication date: 20120314 |
|
| CX01 | Expiry of patent term |