CN202125163U - Combined-type energy-saving window - Google Patents
Combined-type energy-saving window Download PDFInfo
- Publication number
- CN202125163U CN202125163U CN2010206292778U CN201020629277U CN202125163U CN 202125163 U CN202125163 U CN 202125163U CN 2010206292778 U CN2010206292778 U CN 2010206292778U CN 201020629277 U CN201020629277 U CN 201020629277U CN 202125163 U CN202125163 U CN 202125163U
- Authority
- CN
- China
- Prior art keywords
- profile
- wing
- window
- plastic
- plastic irregular
- Prior art date
- Legal status (The legal status is an assumption and is not a legal conclusion. Google has not performed a legal analysis and makes no representation as to the accuracy of the status listed.)
- Expired - Fee Related
Links
- 239000004033 plastic Substances 0.000 claims abstract description 80
- 229920003023 plastic Polymers 0.000 claims abstract description 80
- 238000005034 decoration Methods 0.000 claims abstract description 53
- 229910000838 Al alloy Inorganic materials 0.000 claims abstract description 40
- 238000009413 insulation Methods 0.000 claims abstract description 17
- 230000001788 irregular Effects 0.000 claims description 62
- 230000015572 biosynthetic process Effects 0.000 claims description 11
- 230000007704 transition Effects 0.000 claims description 9
- 238000009434 installation Methods 0.000 claims description 3
- 241000482237 Senegalia mellifera Species 0.000 claims description 2
- 238000007789 sealing Methods 0.000 abstract description 13
- 229910052782 aluminium Inorganic materials 0.000 abstract description 10
- XAGFODPZIPBFFR-UHFFFAOYSA-N aluminium Chemical compound [Al] XAGFODPZIPBFFR-UHFFFAOYSA-N 0.000 abstract description 7
- 239000002023 wood Substances 0.000 abstract description 6
- 230000007613 environmental effect Effects 0.000 abstract description 5
- 230000008901 benefit Effects 0.000 abstract description 3
- 238000010030 laminating Methods 0.000 abstract 1
- 239000011521 glass Substances 0.000 description 17
- 238000005516 engineering process Methods 0.000 description 6
- 239000000463 material Substances 0.000 description 6
- 230000003014 reinforcing effect Effects 0.000 description 6
- 239000004411 aluminium Substances 0.000 description 5
- 239000011230 binding agent Substances 0.000 description 4
- 230000000694 effects Effects 0.000 description 4
- 229910000831 Steel Inorganic materials 0.000 description 3
- 238000003780 insertion Methods 0.000 description 3
- 230000037431 insertion Effects 0.000 description 3
- 229920001296 polysiloxane Polymers 0.000 description 3
- 239000010959 steel Substances 0.000 description 3
- 241000238631 Hexapoda Species 0.000 description 2
- 239000002131 composite material Substances 0.000 description 2
- 238000005520 cutting process Methods 0.000 description 2
- 238000000034 method Methods 0.000 description 2
- 239000000565 sealant Substances 0.000 description 2
- 239000007921 spray Substances 0.000 description 2
- XLYOFNOQVPJJNP-UHFFFAOYSA-N water Substances O XLYOFNOQVPJJNP-UHFFFAOYSA-N 0.000 description 2
- 238000003466 welding Methods 0.000 description 2
- 240000005020 Acaciella glauca Species 0.000 description 1
- 240000007049 Juglans regia Species 0.000 description 1
- 235000009496 Juglans regia Nutrition 0.000 description 1
- 239000004677 Nylon Substances 0.000 description 1
- 241000219492 Quercus Species 0.000 description 1
- 235000016976 Quercus macrolepis Nutrition 0.000 description 1
- 239000002253 acid Substances 0.000 description 1
- 239000002390 adhesive tape Substances 0.000 description 1
- 239000000956 alloy Substances 0.000 description 1
- 230000008859 change Effects 0.000 description 1
- 239000003086 colorant Substances 0.000 description 1
- 150000001875 compounds Chemical class 0.000 description 1
- 238000010276 construction Methods 0.000 description 1
- 238000005260 corrosion Methods 0.000 description 1
- 230000007797 corrosion Effects 0.000 description 1
- 230000003628 erosive effect Effects 0.000 description 1
- 238000004519 manufacturing process Methods 0.000 description 1
- 230000004048 modification Effects 0.000 description 1
- 238000012986 modification Methods 0.000 description 1
- -1 mould Substances 0.000 description 1
- 238000000465 moulding Methods 0.000 description 1
- 229920001778 nylon Polymers 0.000 description 1
- 235000003499 redwood Nutrition 0.000 description 1
- 239000002990 reinforced plastic Substances 0.000 description 1
- 235000020234 walnut Nutrition 0.000 description 1
Images
Landscapes
- Wing Frames And Configurations (AREA)
- Door And Window Frames Mounted To Openings (AREA)
Abstract
The utility model relates to a combined-type energy-saving window, wherein plastic profile a adopts the multi-chamber design, and a mounting wing is arranged at the laminating part of the plastic profile a and a window hole; two heat protection bosses are arranged on the contact surface of aluminum alloy profile b and plastic profile b; the plastic profile a is provided with a connecting wing a near the outside of a chamber, and the connecting wing a is used for connecting aluminum alloy profile a and transits from the inclined plane to a buckle groove; the plastic profile b is provided with a connecting wing b near the inside of the chamber, and the connecting wing b is used for connecting raw wood decoration profile b; and one edge of the connecting wing b is a straight wing with hooked spines, and the other edge of the connecting wing b is in a hook-shaped structure. The combined type energy-saving window has the advantages that: 1. the advantages of aluminum, plastic and wood are combined, the disadvantages of the aluminum, the plastic and the wood are avoided, therefore, the window has the excellent properties of thermal insulation, sealing, heat protection, energy saving, environmental protection, decoration and the like; 2. the strength is high, and the wind resistance is good; and 3. the service life is long.
Description
Technical field
The utility model relates to a kind of energy saving window, and particularly a kind of combined type energy-saving window belongs to building doors and windows and makes the field.
Background technology
At present, on the market popular building doors and windows, mainly adopt materials such as wood, aluminium alloys, plastic-steel, bridge cut-off aluminium, wooden aluminium is compound or plastic-aluminum combined.The coefficient of thermal conductivity of timber is 0.15kal/ (m
2), thereby have fabulous insulation, heat insulation and ornamental, but not only sealing performance is relatively poor for wooden door and window, and timber is water funk and sunlight is exposed to the sun, the rotten or distortion of timber moisture-sensitive in a humid environment; The coefficient of thermal conductivity of aluminium alloys is 187kal/ (m
2) about, its heat conductivility is fabulous, thereby the heat-proof quality of made door and window is relatively poor, and sealing is also poor; Plastic irregular profile can weld, so plastic-steel door and window has good insulation, sealing, heat insulation performance, but the decorate properties of plastics is poor; Bridge cut-off aluminium adopts nylon material with two original aluminium alloys profile shapes bridge joints together, thereby the inside and outside thermal source of doorframe and window frame is disconnected, and reaches the effect of minimizing energy loss, but the sealing performance of its door and window is compared with common aluminum alloy and do not had basic change; The performance of wood aluminium composite door and window frame improves a lot, but poor sealing performance, rainwater can infiltrate and contact with timber in the door and window, and the time has been grown timber will moldy metamorphism or distortion; Though plastic-aluminum combined door and window can be because of rainwater moldy metamorphism or distortion, plastic-aluminum combined door and window interior decoration poor-performing.
The utility model content
Purpose of design: avoid the weak point in the background technology, design and a kind ofly have performances such as excellent insulating, sealing, heat insulation, energy-saving and environmental protection and decoration, and long service life, the high combined type energy-saving window of intensity.
Purpose of design: avoid the weak point in the background technology, design and a kind ofly have performances such as excellent insulating, sealing, heat insulation, energy-saving and environmental protection and decoration, and long service life, the high combined type energy-saving window of intensity.
Design scheme: to achieve these goals; The utility model has been done following design: 1, the design all be made up of aluminium alloys profile shapes, plastic irregular profile and log decoration bar section of window sash frame, reveal frame, window top frame and window underframe is one of technical characterictic of the utility model.The purpose of doing like this is: the one because high, corrosion-resistant, the uvioresistant of aluminium alloys profile shapes intensity, can free color spray, weatherability by force, influenced by natural cause little; The 2nd, because plastic irregular profile insulation, sealing, energy-saving and environmental protection, heat-proof quality are fabulous; The 3rd because log decoration bar section insulation, heat insulation, decorate properties is fabulous.2, plastic irregular profile b inside is provided with the design of reinforcing rib, be the utility model technical characterictic two.The purpose of doing like this is: the one, because reinforcing rib self intensity is high, and intensity that can reinforced plastics profile shapes b; The 2nd, because hinge and log decoration bar section b need be installed on the plastic irregular profile b with screw, screw is screwed into reinforcing rib always, and it is more firm that hinge and log decoration bar section b are installed.3, the glass retaining wall adopts the design of single chamber both arms, be the utility model technical characterictic three.The purpose of doing like this is: the one, because the glass retaining wall is both arms, increased intensity, and it is more firm that glass is installed; The 2nd, because there is cavity glass retaining wall inside, reduced the conduction of heat, improved heat-insulating property and energy-saving effect.4, the contact surface of aluminium alloys profile shapes b and plastic irregular profile b is provided with the design of two heat insulation boss, be the utility model technical characterictic four.The purpose of doing like this is: because heat insulation boss reduces the contact area of aluminium alloys profile shapes b and plastic irregular profile b widely; Therefore the heat that is transmitted to aluminium alloys profile shapes b from plastic irregular profile b reduces widely, thereby has improved insulating power and energy-saving efficiency.5, be provided with between the glass retaining wall of glass and plastic irregular profile b and between glass and the aluminium alloys profile shapes b bubble continuous silicone seal adhesive tape design, be the utility model technical characterictic five.Therefore the purpose of doing like this is: because the continuous silicone of bubble has good sealing and anti-deformation, can prevent effectively that rainwater from infiltrating and touch plank.6, the relevant position of the fastener of the last hook formation of aluminium alloys profile shapes b is cambered surface or inclined-plane; The groove outside at the corresponding aluminium alloys profile shapes of plastic irregular profile b b hook formation place is to cambered surface by chamfered transition; Or carry out the transition to the design on inclined-plane by cambered surface, be the utility model technical characterictic six.The purpose of doing like this is: when the hook formation on the aluminium alloys profile shapes b buckled into the groove on the plastic irregular profile b, transition was level and smooth more and mild, and aluminium alloys profile shapes b can successfully be snapped on the plastic irregular profile b.7, be respectively equipped with the connection wing on the plastic irregular profile, the log decoration bar section is provided with the design of with it corresponding fitting recess, be the utility model technical characterictic seven.The purpose of doing like this is: the one, can play the effect of location to the log decoration bar section owing to connect wing insertion fitting recess; The 2nd, because connecting wing, the bottom has hook, can play the effect that part is installed to the log decoration bar section.8, form the design of a less cavity between log decoration bar section c and the plastic irregular profile a, be the utility model technical characterictic eight.The purpose of doing like this is: owing to locking apparatus and some hardwares need be installed on the side frame, but the space that needs is little, and the cavity between log decoration bar section c and the plastic irregular profile a provides this installing space.9, plastic irregular profile a adopts the design of multi-cavity chamber, be the utility model technical characterictic nine.The purpose of doing like this is: owing to be full of air in the chamber, the heat conduction between each chamber is few, thereby has improved insulating power and energy-saving efficiency greatly.10, plastic irregular profile a and window opening joint place are provided with the design that wing is installed, be the utility model technical characterictic ten.The purpose of doing like this is: the one, because wing insertion body of wall is installed framework is installed on the wall, and make framework install very firmly; The 2nd, because after wing insertion body of wall was installed, making did not have the slit between framework and the body of wall, has improved sealing.11, connect wing a be by chamfered transition in catching groove, aluminium alloys profile shapes a is hook formation, the relevant position of fastener is the design of inclined-plane or cambered surface, be the utility model technical characterictic 11.The purpose of doing like this is: when the fastener on the aluminium alloys profile shapes was gone into the groove on the plastic irregular profile, transition was level and smooth more and mild, and the aluminium alloys profile shapes can successfully be snapped on the plastic irregular profile.12, aluminium alloys profile shapes a outer end is provided with outer splicing groove, the design of splicing groove in plastic irregular profile a is provided with, be the utility model technical characterictic 12.The purpose of doing like this is: when making composite window, in inside and outside splicing groove, install the splicing bar, each window is combined.13, be connected plug-in unit with plastics between log decoration bar section c and log decoration bar section f and the plastic irregular profile a and connect, with the design that the plastic support plug-in unit supports, be the utility model technical characterictic 13.The purpose of doing like this is: the one, because connecting plug-in unit, plastics can log decoration bar section c and log decoration bar section f and plastic irregular profile a be linked together, and easy to connect; The 2nd, because the plastic support plug-in unit can support log decoration bar section c and log decoration bar section f, prevent that log decoration bar section c and log decoration bar section f from deforming because of load-bearing.14, plastic irregular profile is provided with the design of weather strip, be the utility model technical characterictic 14.The purpose of doing like this is: can sash and window frame closing face be sealed fully, improve heat-insulating property and sealing.15, form the design of bigger cavity between log decoration bar section f in the window underframe and the plastic irregular profile a, be the utility model technical characterictic 15.The purpose of doing like this is: owing to window opener and some hardwares need be installed on the underframe, and need bigger installing space, the cavity between log decoration bar section f and the plastic irregular profile a provides this installing space.16, the end face of the non-applying body of wall of aluminium alloys profile shapes a is to the design of tilting outside window, be the utility model technical characterictic 16.The purpose of doing like this is: on underframe, rainwater can flow along the inclined-plane, makes the storm-water drainage of drenching on the window smooth, and rainwater can not piled up on underframe, thereby can not cause acid erosion to the aluminium alloys profile shapes.
Technical scheme: combined type energy-saving window, the plastic irregular profile a in the said energy saving window adopt the design of multi-cavity chamber, and itself and window opening joint place are provided with the installation wing; The contact surface of aluminium alloys profile shapes b and plastic irregular profile b is provided with two heat insulation boss.
The utility model is compared with background technology; In conjunction with aluminium, mould, wood three kinds of materials advantage separately; Avoided shortcoming separately, make performances such as the utlity model has fabulous insulation, sealing, heat insulation, energy-saving and environmental protection and decoration, and intensity has been high, wind resistance is strong, long service life.
Description of drawings
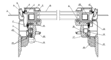
Fig. 1 is the whole window shape topology view of combined type energy-saving window.
Fig. 2 is the cross-sectional structural view of B-B among Fig. 1.
Fig. 3 is the cross-sectional structural view of A-A among Fig. 1.
Fig. 4 is a combined type energy-saving window fan frame structure view.
Fig. 5 is a combined type energy-saving window base frame construction view.
Fig. 6 is a combined type energy-saving window top mount structure view.
Fig. 7 is a combined type energy-saving window side frame topology view.
The specific embodiment
Embodiment 1: with reference to accompanying drawing 1-7.Combined type energy-saving window, it comprises window sash frame, reveal frame, window top frame and window underframe.Said window sash frame, reveal frame, window top frame and window underframe all are made up of aluminium alloys profile shapes 4,8, plastic irregular profile 1,7 and log decoration bar section 15,16,17,19,24,26; Wherein, aluminium alloys profile shapes 4,8 can spray different colors according to customer requirements or building style outdoor; Log decoration bar section 15,16,17,19,24,26 is indoor; The profile of log decoration bar section 15,16,17,19,24,26 can be designed to the moulding of various personalizations; Also can select dissimilar timber, like redwood, walnut, oak or the like according to user's requirement; Plastic irregular profile 1,7 is at aluminium alloys profile shapes 4,8 and log decoration bar section 15,16,17,19,24, between 26; Plastic irregular profile b7 is three chamber design, and intermediate cavity inside is provided with reinforcing rib 28, and the material of reinforcing rib 28 is steel material or aluminum alloy materials, and shape can be a U-shaped, also can be square; Glass retaining wall 11 on the plastic irregular profile b7 adopts the both arms design of single chamber, promptly is provided with cavity in glass retaining wall 11 inside; The contact surface of aluminium alloys profile shapes b8 and plastic irregular profile b7 is provided with two heat insulation boss 29; Aluminium alloys profile shapes b8 in the window sash frame is hook formation with the position that plastic irregular profile b7 is connected; The relevant position that aluminium alloys profile shapes b8 goes up the fastener of hook formation is cambered surface or inclined-plane; The position that plastic irregular profile b7 is corresponding with above-mentioned hook formation is provided with groove, and hook formation can buckle into groove, makes aluminium alloys profile shapes b8 can directly snap onto on the plastic irregular profile b7; This groove outside be by chamfered transition to cambered surface, or carry out the transition to the inclined-plane by cambered surface; Being connected plug-in unit 18 with plastics between log decoration bar section c17 and the plastic irregular profile a1 connects; Support with plastic support plug-in unit 14; Form a less cavity between log decoration bar section c17 and the plastic irregular profile a1, be used to install locking apparatus 21 and all kinds of hardwares; Plastic irregular profile a1 adopts the design of multi-cavity chamber, and itself and window opening joint place are provided with installs wing 3; Plastic irregular profile a1 is provided with near the outside and connects wing a12, is used to connect aluminium alloys profile shapes a4, connect wing a12 by chamfered transition in catching groove; Plastic irregular profile a1 is provided with near the indoor and connects wing b22, is used to connect log decoration bar section b16, one side connection wing b22's is the straight wing that has the hook thorn, another side is hook formation; Splicing groove 23 in plastic irregular profile a1 is provided with; Be respectively equipped with weather strip 2,6 on the plastic irregular profile 1,7; Be respectively equipped with connection wing 22,25 on the plastic irregular profile 1,7, log decoration bar section 16,19 is provided with corresponding with it fitting recess; Be pressed with glass 10 between aluminium alloys profile shapes b8 and the log decoration bar section d19, glass 10 can be double layer glass, also can be three layers of hollow glass, can freely design; Be provided with sealant tape 9 between the glass retaining wall 11 of glass 10 and plastic irregular profile b7 and between glass 10 and the aluminium alloys profile shapes b8, the material of sealant tape 9 is the continuous silicone of bubble; Aluminium alloys profile shapes a4 is hook formation, and the relevant position of fastener is inclined-plane or cambered surface, and the end face of the non-applying body of wall of aluminium alloys profile shapes a4 is to inclination outside window, and the outer end is provided with outer splicing groove 5; On the log decoration bar section c17 screen window 20 can be installed; Each log decoration bar section 15,16,17,19,24, between 26 and plastic irregular profile 1,7 and log decoration bar section 15,16,17,19,24, adopt nailing to reinforce the connection between 26; Form bigger cavity between log decoration bar section f26 in the window underframe and the plastic irregular profile a1, be used to install window opener 27 and all kinds of hardwares, other parts are identical with the reveal frame; Be not used in the cavity that hardware is installed between log decoration bar section e24 in the frame of window top and the plastic irregular profile a1, other parts are identical with the reveal frame; The manufacturing process of above-mentioned each parts and mounting method all adopt existing feasible technology.Earlier reinforcing rib 28 is pierced in the plastic irregular profile b7 of well cutting, plastic irregular profile b7 welding is accomplished, cleared up weld seam; Handle log decoration bar section d19 well through operations such as mildew-resistant, insect protected, oven dry; Then between log decoration bar section d19 and plastic irregular profile b7, smear a certain amount of binding agent, again log decoration bar section d19 is withheld on plastic irregular profile b7, utilize screw and nailing that log decoration bar section d19 is fixedly mounted on the plastic irregular profile b7 then; Install glass 10; Insert weather strip b6 and at last aluminium alloys profile shapes b8 is snapped onto on the plastic irregular profile b7, install all kinds of hardwares, sash has just completed like this.The plastic irregular profile a1 welding of well cutting is accomplished; Cleared up weld seam; Handle log decoration bar section 15,16,17 well through operations such as mildew-resistant, insect protected, oven dry, plastic support plug-in unit 14 is connected plug-in unit 18 inserts on the plastic irregular profile a1 with plastics, between log decoration bar section c17 and plastics connection plug-in unit 18, smear a certain amount of binding agent; Connect plug-in unit 18 with in the log decoration bar section c17 connection with plastics, and use the nailing stickfast; Between log decoration bar section b16 and plastic irregular profile a1, smear a certain amount of binding agent then; Log decoration bar section b16 is connected on the plastic irregular profile a1 through connecting wing b22; And use the nailing stickfast; Between log decoration bar section a15 and log decoration bar section b16, smear a certain amount of binding agent, log decoration bar section a15 is combined on the log decoration bar section b16, and use the nailing stickfast; At last aluminium alloys profile shapes a4 is snapped onto on the plastic irregular profile a1, insert weather strip a2, install window opener 21 and all kinds of hardwares, the window underframe has just completed like this.Make reveal frame and window top frame respectively according to identical technology and method; Insert in the body of wall on window opening limit wing 3 is installed, install window underframe, reveal frame and window top frame, at last sash is connected on the reveal frame through hinge 13, the side of windowing can be the left side, also can be the right; The utility model obtains using more widely on the house abroad owing to be provided with installation wing 3.
It will be appreciated that: though the foregoing description has been done more detailed description to the mentality of designing of the utility model; But the mentality of designing of the utility model is not limited only to foregoing description; Any combination, increase or modification that does not exceed the utility model mentality of designing all falls in the scope of the utility model.
Claims (1)
1. combined type energy-saving window is characterized in that: the plastic irregular profile a (1) in the said energy saving window adopts the design of multi-cavity chamber, and its and window opening joint place are provided with installation wing (3); Aluminium alloys profile shapes b (8) is provided with two heat insulation boss (29) with the contact surface of plastic irregular profile b (7); Plastic irregular profile a (1) is provided with near the outside and connects wing a (12), is used to connect aluminium alloys profile shapes a (4), connect wing a (12) by chamfered transition in catching groove; Plastic irregular profile a (1) is provided with near the indoor and connects wing b (22), is used to connect log decoration bar section b (16), connect wing b (22) one side be the straight wing that has the hook thorn, another side is hook formation.
Priority Applications (1)
| Application Number | Priority Date | Filing Date | Title |
|---|---|---|---|
| CN2010206292778U CN202125163U (en) | 2010-11-29 | 2010-11-29 | Combined-type energy-saving window |
Applications Claiming Priority (1)
| Application Number | Priority Date | Filing Date | Title |
|---|---|---|---|
| CN2010206292778U CN202125163U (en) | 2010-11-29 | 2010-11-29 | Combined-type energy-saving window |
Publications (1)
| Publication Number | Publication Date |
|---|---|
| CN202125163U true CN202125163U (en) | 2012-01-25 |
Family
ID=45488234
Family Applications (1)
| Application Number | Title | Priority Date | Filing Date |
|---|---|---|---|
| CN2010206292778U Expired - Fee Related CN202125163U (en) | 2010-11-29 | 2010-11-29 | Combined-type energy-saving window |
Country Status (1)
| Country | Link |
|---|---|
| CN (1) | CN202125163U (en) |
-
2010
- 2010-11-29 CN CN2010206292778U patent/CN202125163U/en not_active Expired - Fee Related
Similar Documents
| Publication | Publication Date | Title |
|---|---|---|
| CN202157666U (en) | Aluminum-plastic-wood combined energy-saving sash frame | |
| CN202131890U (en) | Combined type energy saving window | |
| CN202164939U (en) | Composite energy-saving window | |
| CN202164933U (en) | Aluminum-plastic-wood combined energy-saving window | |
| CN202125163U (en) | Combined-type energy-saving window | |
| CN202157669U (en) | Aluminum plastic wood combined type energy-saving window sash frame | |
| CN202131906U (en) | Aluminum-plastic-wood composite type energy-saving window sash frame | |
| CN202131907U (en) | Composite aluminum and plastic and wood energy-saving window | |
| CN202125178U (en) | Combined type energy-saving window | |
| CN202131920U (en) | Composite energy-saving window | |
| CN202152593U (en) | Compound energy-saving window | |
| CN202125162U (en) | Composite type energy-saving window | |
| CN202131891U (en) | Combined energy-saving window | |
| CN202152604U (en) | Compound energy-saving window | |
| CN202125161U (en) | Combined type energy-saving window | |
| CN202125150U (en) | Composite energy-saving window | |
| CN202125151U (en) | Combined type energy-saving window | |
| CN202152596U (en) | Combined energy saving window | |
| CN202131917U (en) | Combined type energy saving window | |
| CN202152595U (en) | Aluminum-plastic-wood composite energy-saving window | |
| CN202152601U (en) | Aluminium-plastic-wood composite energy-saving window | |
| CN202131892U (en) | Aluminum-plastic wooden combined-type energy-saving window | |
| CN202152603U (en) | Composite energy-saving window | |
| CN202131889U (en) | Aluminum plastic wood composite type energy-saving window | |
| CN202157668U (en) | Combined-type energy-saving window |
Legal Events
| Date | Code | Title | Description |
|---|---|---|---|
| C14 | Grant of patent or utility model | ||
| GR01 | Patent grant | ||
| C17 | Cessation of patent right | ||
| CF01 | Termination of patent right due to non-payment of annual fee |
Granted publication date: 20120125 Termination date: 20121129 |