CN202118828U - profiles - Google Patents

profiles Download PDF

Info

Publication number
CN202118828U
CN202118828U CN2010206412553U CN201020641255U CN202118828U CN 202118828 U CN202118828 U CN 202118828U CN 2010206412553 U CN2010206412553 U CN 2010206412553U CN 201020641255 U CN201020641255 U CN 201020641255U CN 202118828 U CN202118828 U CN 202118828U
Authority
CN
China
Prior art keywords
section bar
sides
face
height
outside
Prior art date
Legal status (The legal status is an assumption and is not a legal conclusion. Google has not performed a legal analysis and makes no representation as to the accuracy of the status listed.)
Expired - Fee Related
Application number
CN2010206412553U
Other languages
Chinese (zh)
Inventor
周保生
Current Assignee (The listed assignees may be inaccurate. Google has not performed a legal analysis and makes no representation or warranty as to the accuracy of the list.)
Dongguan Kingsun Optoelectronic Co Ltd
Original Assignee
Dongguan Kingsun Optoelectronic Co Ltd
Priority date (The priority date is an assumption and is not a legal conclusion. Google has not performed a legal analysis and makes no representation as to the accuracy of the date listed.)
Filing date
Publication date
Application filed by Dongguan Kingsun Optoelectronic Co Ltd filed Critical Dongguan Kingsun Optoelectronic Co Ltd
Priority to CN2010206412553U priority Critical patent/CN202118828U/en
Application granted granted Critical
Publication of CN202118828U publication Critical patent/CN202118828U/en
Anticipated expiration legal-status Critical
Expired - Fee Related legal-status Critical Current

Links

Images

Landscapes

  • Arrangement Of Elements, Cooling, Sealing, Or The Like Of Lighting Devices (AREA)
  • Non-Portable Lighting Devices Or Systems Thereof (AREA)

Abstract

本实用新型涉及半导体照明技术,尤其涉及一种LED光源模块用型材。该型材具有顶面和两侧面,顶面是一平面,两侧面分别沿顶面的两侧向下延伸,两侧面分别定义为第一侧面和第二侧面,其中第一侧面的高度大于第二侧面的高度;第二侧面底端内侧具有一开口槽,对应地第一侧面内侧相同高度上也具有一开口槽;第一侧面外侧及第二侧面外侧均具有散热棱。本实用新型提供一种结构的简洁的LED光源模块用型材。

Figure 201020641255

The utility model relates to semiconductor lighting technology, and in particular to a profile for LED light source modules. The profile has a top surface and two side surfaces, the top surface is a plane, and the two side surfaces extend downward along the two sides of the top surface, respectively, and the two side surfaces are defined as a first side surface and a second side surface, wherein the height of the first side surface is greater than the height of the second side surface; the inner side of the bottom end of the second side surface has an open groove, and correspondingly, the inner side of the first side surface also has an open groove at the same height; the outer side of the first side surface and the outer side of the second side surface both have heat dissipation ridges. The utility model provides a profile for LED light source modules with a simple structure.

Figure 201020641255

Description

Section bar
Technical field
The utility model relates to the semiconductor lighting technology, relates in particular to a kind of led light source module and uses section bar.
Background technology
The semiconductor lighting technology has become the main flow in light source market because of it has energy-conservation and characteristics long service life.
The led light source module basically all comprises a metal substrate, to strengthen heat-conducting effect.The LED illuminator is arranged at the front of metal substrate, and thermal component is attached at the reverse side of metal substrate.
Like Chinese patent document CN101625081A in disclosed a kind of led light source module on January 13rd, 2010; This led light source module comprises LED illuminating module and module pedestal; This led light source module also comprises the optics cover plate; Said optics cover plate is fixedly arranged on said module pedestal, defines a closed space with said module pedestal, and said LED illuminating module is arranged at said closed space; Said optics cover plate outer surface is plane or smooth excessive cambered surface, and said optics cover plate inner surface has several inner sunken faces; Said LED illuminating module has several LED illuminators, each LED illuminator the place ahead said inner sunken face that all distributes accordingly.
Chinese patent document CN101101103A is in disclosed a kind of LED street lamp on January 9th, 2008 for another example; This LED street lamp comprises lamp body and LED bulb; Lamp body comprises head section, stage casing, rear, and the head section is docked setting with the stage casing, and the other end in stage casing docks setting with rear; Be provided with sealing gasket between head section and the stage casing, the head section is connected with the stage casing through securing member; Be provided with sealing gasket between rear and the stage casing, rear is connected with the stage casing through securing member; The stage casing is a kind of section bar, and along the profile length direction, diverse location has identical cross section; Section bar has substrate, and substrate is tabular, and substrate extends along the profile length direction, and substrate has two faces, obverse and reverse; Two positive edges are provided with side plate respectively, and several heat radiation wings are set on the reverse side; The LED bulb is arranged on a face of conductive sole plate, constitutes the LED showing plate, has printed circuit on the conductive sole plate, and the front that the one side that conductive sole plate is not provided with the LED bulb is close to the substrate in lamp body stage casing is provided with; The LED street lamp also comprises secondary optical lens, and secondary optical lens is arranged on the lens base plate through button bit, and lens base plate and LED showing plate laterally arrange, the corresponding secondary optical lens of each LED bulb; The lens base plate has high supporting positions such as some towards a side of LED showing plate, supporting position butt conductive sole plate, and lens base plate, conductive sole plate are fixedly connected on substrate front side through securing member; The head section of lamp body has first transverse slat, and first transverse slat is arranged on an end that docks with the stage casing; Rear has second transverse slat, and second transverse slat is arranged on an end that docks with the stage casing; First transverse slat, second transverse slat, the side plate at positive two edges, stage casing, the front in stage casing define a cavity altogether; The front in stage casing constitutes the end of cavity; The side plate at first transverse slat, second transverse slat, positive two edges, stage casing constitutes the wall of cavity, and the cavity wall is provided with the step that is used for ccontaining lampshade away from an end at the end; The head section has one section pipe, and the axle center of pipe is vertical with first transverse slat, and first transverse slat is provided with one and leads to the interior wire hole of pipe, and the sidewall of pipe has the screwed hole that connects tube wall; Head section, stage casing, rear all adopt Heat Conduction Material to process; The LED street lamp also comprises lampshade, and lampshade is arranged in the described step, is provided with sealing gasket between lampshade and the lamp body.
The same with aforementioned prior art, all there is complex structure in led light source on the market, and the lamp body stage casing section bar of its use has determined it to have the high shortcoming of assembly cost.
The utility model content
The purpose of the utility model is to overcome the weak point of above-mentioned prior art and provides a kind of succinct led light source module of structure to use section bar.
The purpose of the utility model can realize through following technical scheme:
A kind of section bar is exclusively used in the LED lighting module, it is characterized in that: this section bar has end face and two sides; End face is a plane; Two sides respectively along the both sides of end face to extending below, two sides are defined as first side and second side respectively, wherein the height of first side is greater than the height of second side; Inboard, bottom, second side has an open slot, also has an open slot on the inboard equal height in first side accordingly; The outside, first side and the outside, second side all have the heat radiation rib.
Section bar is characterized in that: the middle part of the middle part of first side and second side has tie rod hole or thread Pilot hole respectively.
Section bar is characterized in that: tie rod hole or thread Pilot hole have opening respectively in the inboard of two side faces.
Section bar is characterized in that: the edge of end face both sides all extends to outside the two sides, and the height of the heat radiation rib in the outside, two sides is all concordant with the edge of end face both sides.
Section bar is characterized in that: the middle part of the middle part of first side and second side has tie rod hole or thread Pilot hole respectively; Tie rod hole or thread Pilot hole have opening respectively in the inboard of two side faces; The edge of end face both sides all extends to outside the two sides, and the height of the heat radiation rib in the outside, two sides is all concordant with the edge of end face both sides.
Section bar is characterized in that: this section bar end face is provided with lens opening in the longitudinal direction.
Section bar is characterized in that: said lens opening is single to be uniformly distributed with setting.
Section bar is characterized in that: said section bar is the aluminum or aluminum alloy section bar.
The section bar of the utility model is exclusively used in the LED lighting module, and this section bar has end face and two sides; End face is a plane; Two sides respectively along the both sides of end face to extending below, two sides are defined as first side and second side respectively, wherein the height of first side is greater than the height of second side; Inboard, bottom, second side has an open slot, also has an open slot on the inboard equal height in first side accordingly; The outside, first side and the outside, second side all have the heat radiation rib; End face can be used as lamp body and uses, and can process the lens installing hole, and the aluminium base assembly can be installed in the inside of section bar; In two open slots plate can be set; Be used for fixedly aluminium base assembly of butt, compared with prior art, the section bar of the utility model has characteristics simple for structure.
Description of drawings
Fig. 1 is the sectional view of first embodiment of the utility model.
Fig. 2 is the stereogram of first embodiment of the utility model.
Fig. 3 is the schematic perspective view of second embodiment of the utility model.
Fig. 4 is the lens of second embodiment of the utility model, reaches metal substrate, base, LED bulb assembly sketch map.
Fig. 5 is the generalized section of second embodiment of the utility model.
Fig. 6 is the perspective exploded view of second embodiment of the utility model.
The specific embodiment
To combine accompanying drawing that the utility model is done further to detail below.
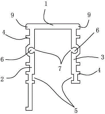
With reference to figure 1, Fig. 2; First embodiment of the utility model is a kind of section bar, is exclusively used in the LED lighting module, and this section bar has end face 1 and two sides 2/3; End face 1 is a plane; Two sides 2/3 respectively along the both sides of end face 1 to extending below, two sides 2/3 are defined as first side 2 and second side 3 respectively, wherein the height of first side 2 is greater than the height of second side 3; Inboard, 3 bottom, second side has an open slot 5, also has an open slot 5 on open slot 5 equal heights of 2 inboards, first side and second side 3 accordingly; 2 outsides, first side and 3 outsides, second side all have heat radiation rib 4; The middle part of the middle part of first side 2 and second side 3 has thread Pilot hole 7 respectively; Thread Pilot hole 7 has opening 7 respectively in the inboard of two sides 2/3; The edge 9 of end face 1 both sides all extends to outside two sides 2/3, and the height of the heat radiation rib 4 in 2/3 outside, two sides is all concordant with the edge 9 of end face 1 both sides; This section bar end face 1 is provided with lens opening 8 in the longitudinal direction; Lens opening 8 adopts punching press or golden butt formula on the section bar semi-finished product, to process; Said lens opening 8 is single to be uniformly distributed with setting; In the present embodiment, said section bar is the aluminum or aluminum alloy section bar.
Referring to figs. 2 to Fig. 6; Second embodiment of the utility model is a kind of led light source module of using the section bar of first embodiment of the utility model; Comprise metal substrate 103, metal substrate 103 fronts are provided with LED bulb 101, and LED bulb 101 is connected in metal substrate 103 through base 102; This led light source module also comprises lens 104; Lens 104 light inlets one side has by shirt rim 1042 and defines the pit 1041 that forms; Lens 104 buttons are located at LED bulb 101 and base 102, and LED bulb 101 and base 102 sink to pit 1041, and shirt rim 1042 is surrounded on around the base 102; This led light source module also comprises section bar 105, and section bar 105 has cavity, and the section bar end face has hole 1051, and metal substrate 103 is arranged at inside cavity, and lens 104 protrude in the end face of section bar 105 through said hole 1051.
In the present embodiment; Said section bar 105 has an end face and two sidewalls, and an end face and two sidewalls define said cavity jointly, and the tail end of two sidewalls has a groove 1053 respectively; This led light source module also comprises a pressing plate 107; The both sides of pressing plate 107 are placed in two grooves 1053 respectively, and pressing plate is provided with screw 108, and the front end of screw 108 is connected to the reverse side of said metal substrate 103;
In the present embodiment, section bar 105 outside also have heat radiation rib 1052, and heat radiation rib 1052 is along the length direction setting of section bar, and the heat radiation rib 1052 here also is appreciated that into heat radiation wing or radiating fin; The two side of section bar 105 also has the thread Pilot hole 1054 that is provided with along the profile length direction respectively; This led light source module also comprises the mount pad 106 that is arranged at the section bar two ends; Mount pad 106 is connected in screw bottom outlet 1054 through screw.
In the present embodiment, section bar 105, pressing plate 107, mount pad 106, metal substrate 103, screw 108 define an enclosure space jointly, are full of colloid 109 in this enclosure space; Colloid 109 can be selected silica gel for use, but is not limited to this, the colloid that also can select for use other to be easy to injecting glue and to have water-proof function; Certainly, colloid 109 is optional, as a kind of conversion scheme of present embodiment, also colloid 109 can be set.
In the present embodiment; Said section bar 105 has an end face and two sidewalls, and an end face and two sidewalls define said cavity jointly, and the tail end of two sidewalls has a groove 1055 respectively; This led light source module also comprises a pressing plate 107; The both sides of pressing plate 107 are placed in two grooves 1055 respectively, and pressing plate is provided with screw 108, and the front end of screw 108 is connected to the reverse side of said metal substrate 103.
In the present embodiment, pressing plate 107 laterally arranges with metal substrate 103; The width of a wherein sidewall of section bar 105 is greater than the width of another sidewall, and the tail end 1055 of a sidewall of broad extends outside the groove 1053.

Claims (8)

1. section bar; Be exclusively used in the LED lighting module; It is characterized in that: this section bar has end face and two sides, and end face is a plane, two sides respectively along the both sides of end face to extending below; Two sides are defined as first side and second side respectively, and wherein the height of first side is greater than the height of second side; Inboard, bottom, second side has an open slot, also has an open slot on the inboard equal height in first side accordingly; The outside, first side and the outside, second side all have the heat radiation rib.
2. section bar according to claim 1 is characterized in that: the middle part of the middle part of first side and second side has tie rod hole or thread Pilot hole respectively.
3. section bar according to claim 2 is characterized in that: tie rod hole or thread Pilot hole have opening respectively in the inboard of two side faces.
4. section bar according to claim 1 is characterized in that: the edge of end face both sides all extends to outside the two sides, and the height of the heat radiation rib in the outside, two sides is all concordant with the edge of end face both sides.
5. section bar according to claim 1 is characterized in that: the middle part of the middle part of first side and second side has tie rod hole or thread Pilot hole respectively; Tie rod hole or thread Pilot hole have opening respectively in the inboard of two side faces; The edge of end face both sides all extends to outside the two sides, and the height of the heat radiation rib in the outside, two sides is all concordant with the edge of end face both sides.
6. according to any described section bar of claim 1 to 5, it is characterized in that: this section bar end face is provided with lens opening in the longitudinal direction.
7. section bar according to claim 6 is characterized in that: said lens opening is single to be uniformly distributed with setting.
8. according to any described section bar of claim 1 to 5, it is characterized in that: said section bar is the aluminum or aluminum alloy section bar.
CN2010206412553U 2010-12-03 2010-12-03 profiles Expired - Fee Related CN202118828U (en)

Priority Applications (1)

Application Number Priority Date Filing Date Title
CN2010206412553U CN202118828U (en) 2010-12-03 2010-12-03 profiles

Applications Claiming Priority (1)

Application Number Priority Date Filing Date Title
CN2010206412553U CN202118828U (en) 2010-12-03 2010-12-03 profiles

Publications (1)

Publication Number Publication Date
CN202118828U true CN202118828U (en) 2012-01-18

Family

ID=45459890

Family Applications (1)

Application Number Title Priority Date Filing Date
CN2010206412553U Expired - Fee Related CN202118828U (en) 2010-12-03 2010-12-03 profiles

Country Status (1)

Country Link
CN (1) CN202118828U (en)

Cited By (1)

* Cited by examiner, † Cited by third party
Publication number Priority date Publication date Assignee Title
CN102121562A (en) * 2010-12-03 2011-07-13 东莞勤上光电股份有限公司 Section bar

Cited By (1)

* Cited by examiner, † Cited by third party
Publication number Priority date Publication date Assignee Title
CN102121562A (en) * 2010-12-03 2011-07-13 东莞勤上光电股份有限公司 Section bar

Similar Documents

Publication Publication Date Title
CN101608784B (en) LED lamp
CN104456273A (en) Modular LED Street Light
CN201599678U (en) LED down lamp
CN202118828U (en) profiles
CN201396635Y (en) LED street lamp
CN202733538U (en) Light-emitting diode (LED) lamp with high power
CN202392754U (en) Profiles for LED lighting street lights
CN201954298U (en) Led light source module
CN209165217U (en) A kind of Projecting Lamp
CN102121562A (en) Section bar
CN102121689B (en) LED light source module heat dissipation method
CN203298041U (en) High-efficiency LED (light emitting diode) fluorescent lamp
CN202791499U (en) Improved lighting device
CN208519584U (en) Bulkhead lamp
CN201706241U (en) LED Bulb Lamp for Easy Shade Installation
CN201688177U (en) LED bulb lamp convenient to assemble
CN206055386U (en) LED step lights
CN101581418A (en) LED street lamp
CN101625093A (en) LED streetlamp
CN102121582B (en) LED light source module
CN203023973U (en) LED (light-emitting diode) lamp panel of blank pressing frame technology
CN202561532U (en) Light-emitting diode (LED) lamp
CN203642089U (en) Novel LED lamp cup
CN203797423U (en) Improved structure of LED mining lamp
CN203501024U (en) Novel LED down light

Legal Events

Date Code Title Description
C14 Grant of patent or utility model
GR01 Patent grant
C17 Cessation of patent right
CF01 Termination of patent right due to non-payment of annual fee

Granted publication date: 20120118

Termination date: 20131203