CN202092257U - 一种风冷热泵模块化高温冷/热水机组 - Google Patents
一种风冷热泵模块化高温冷/热水机组 Download PDFInfo
- Publication number
- CN202092257U CN202092257U CN201120165457XU CN201120165457U CN202092257U CN 202092257 U CN202092257 U CN 202092257U CN 201120165457X U CN201120165457X U CN 201120165457XU CN 201120165457 U CN201120165457 U CN 201120165457U CN 202092257 U CN202092257 U CN 202092257U
- Authority
- CN
- China
- Prior art keywords
- air
- evaporative
- water
- closed
- cooler
- Prior art date
- Legal status (The legal status is an assumption and is not a legal conclusion. Google has not performed a legal analysis and makes no representation as to the accuracy of the status listed.)
- Expired - Fee Related
Links
- XLYOFNOQVPJJNP-UHFFFAOYSA-N water Substances O XLYOFNOQVPJJNP-UHFFFAOYSA-N 0.000 title claims abstract description 203
- 238000001816 cooling Methods 0.000 claims abstract description 51
- 239000000945 filler Substances 0.000 claims description 9
- 239000000203 mixture Substances 0.000 claims description 5
- 239000002131 composite material Substances 0.000 claims description 2
- 230000005494 condensation Effects 0.000 abstract description 8
- 238000009833 condensation Methods 0.000 abstract description 8
- 230000000694 effects Effects 0.000 abstract description 6
- 238000005057 refrigeration Methods 0.000 description 7
- 238000000034 method Methods 0.000 description 6
- 238000005516 engineering process Methods 0.000 description 5
- 238000004378 air conditioning Methods 0.000 description 4
- 238000012856 packing Methods 0.000 description 4
- 238000010586 diagram Methods 0.000 description 2
- 230000009286 beneficial effect Effects 0.000 description 1
- 230000005540 biological transmission Effects 0.000 description 1
- 238000004140 cleaning Methods 0.000 description 1
- 238000005260 corrosion Methods 0.000 description 1
- 230000007797 corrosion Effects 0.000 description 1
- 239000000428 dust Substances 0.000 description 1
- 238000005265 energy consumption Methods 0.000 description 1
- 238000010438 heat treatment Methods 0.000 description 1
- 230000002452 interceptive effect Effects 0.000 description 1
- 238000004519 manufacturing process Methods 0.000 description 1
- 230000001681 protective effect Effects 0.000 description 1
- 239000007921 spray Substances 0.000 description 1
- 238000005507 spraying Methods 0.000 description 1
Images
Landscapes
- Other Air-Conditioning Systems (AREA)
Abstract
本实用新型公开的风冷热泵模块化高温冷/热水机组,由闭式蒸发式冷水机组、蒸发冷凝式风冷热泵冷/热水机组以及直接蒸发冷却器之间通过管网连接复合组成;闭式蒸发式冷水机组包括:相并联的高温冷水空气冷却器和低温冷水空气冷却器,还包括闭式蒸发冷却盘管;蒸发冷凝式风冷热泵冷/热水机组由构成闭合回路的蒸发式冷凝器、蒸发器和压缩机组成;设置使蒸发冷凝式风冷热泵冷/热水机组一个进风面来自闭式蒸发式冷水机组的排风,另外三个进风面分别设置直接蒸发冷却器c、直接蒸发冷却器d和直接蒸发冷却器e。本实用新型的机组为模块化设计,通过阀门的调节可以实现四个工况的运行效果,具有明显的节能效果。
Description
技术领域
本实用新型属于空调制冷技术领域,具体涉及一种由闭式蒸发式冷水机组和蒸发冷凝式风冷热泵组成的模块化高温冷(热)水机组。
背景技术
单独蒸发冷却式冷水机组制取冷水受到气候条件的限制,使得制取的冷水水温随室外气象条件而变化不够稳定;单独依靠机械制冷制取低温冷水虽可以使水温趋于稳定,但是机械制冷是高能耗的;常规的蒸发冷却技术使水与空气在填料段进行热湿交换以制备冷风冷水,就水质而言不如采用闭式盘管清洁;常规的风冷热泵机组靠室外空气排走冷凝器的散热,如果采用蒸发式冷凝器将大大提高其冷凝效率,进而提高机组的COP。
将闭式蒸发冷却盘管与蒸发冷凝式风冷热泵进行模块化组成为高温冷(热)水机组;这样的技术手段在供冷季节以蒸发冷却技术为主机械制冷为辅,在过渡季节只采用蒸发冷却段制取的高温冷水就可以满足显热末端的要求,在单独依靠蒸发冷却段制取的高温冷水不能满足要求时再开启机械制冷段加以辅助,机械制冷段也可以单独运行满足要求。模块化的组成使得两种机组既可以分开使用,又可以复合使用互不干扰。通过将蒸发冷却技术与机械制冷技术相结合,可以把蒸发冷却推广到部分中等湿度地区和高湿度地区的舒适性空调以及以降温为主的工艺性空调场所应用。
发明内容
本实用新型的目的在于提供一种风冷热泵模块化高温冷/热水机组,将蒸发冷却高温冷水机组与蒸发冷凝式风冷热泵机组进行模块组成,既可以单独使用闭式蒸发冷却盘管制取高温冷水,又可以单独使用蒸发冷凝式风冷热泵机组进行供冷;还可以将二者有机结合同时使用,以闭式蒸发冷却盘管制取的高温冷水为主,以蒸发冷凝式风冷热泵机组制取的低温冷水为辅;使蒸发冷却空调技术不仅可以用在干燥地区并且更好的应用在广大中等湿度地区。
本实用新型所采用的技术方案是,一种风冷热泵模块化高温冷/热水机组,由闭式蒸发式冷水机组、蒸发冷凝式风冷热泵冷/热水机组以及直接蒸发冷却器之间通过管网连接复合组成;
闭式蒸发式冷水机组包括:相并联的高温冷水空气冷却器和低温冷水空气冷却器,高温冷水空气冷却器上方的机组壳体壁上设置有进风口,还包括闭式蒸发冷却盘管,闭式蒸发冷却盘管的上部从上到下依次设置有排风机a、挡水板a和喷嘴a,闭式蒸发冷却盘管的下部设置有水箱a,水箱a内设置管道通过水泵a依次与高温冷水空气冷却器和喷嘴a相连接;
蒸发冷凝式风冷热泵冷/热水机组的结构:由构成闭合回路的蒸发式冷凝器、蒸发器和压缩机组成,蒸发式冷凝器的上部从上到下依次设置有排风机b与排风机c、挡水板b、喷嘴b和填料b,水箱b内设置管道通过水泵b与喷嘴b相连接;
设置蒸发冷凝式风冷热泵冷/热水机组的位置,使其一个进风面来自所述闭式蒸发式冷水机组的排风,在蒸发冷凝式风冷热泵冷/热水机组的另外三个进风面分别设置有直接蒸发冷却器c、直接蒸发冷却器d和直接蒸发冷却器e。
本实用新型的特点还在于,
直接蒸发冷却器c的结构包括:从上到下依次由喷嘴c、填料c以及底部的水箱c组成,水箱c内设置管道通过水泵c与喷嘴c相连接;直接蒸发冷却器d和直接蒸发冷却器e的结构分别与直接蒸发冷却器c的结构相同。
闭式蒸发冷却盘管通过管道与蒸发器相连接,闭式蒸发冷却盘管与蒸发器连接的管道上设置有阀门a,闭式蒸发冷却盘管通过管道依次与系统外的集水器、显热末端和新风机组高温空气冷却器相连接,闭式蒸发冷却盘管与集水器连接的管道上设置有阀门b和水泵e,蒸发器通过管道依次与系统外的集水器、显热末端和新风机组高温空气冷却器相连接,蒸发器与集水器连接的管道上设置有水泵d,新风机组高温空气冷却器通过管道依次与低温冷水空气冷却器和闭式蒸发冷却盘管相连接,新风机组高温空气冷却器与低温冷水空气冷却器连接的管道上设置有阀门d,蒸发器与新风机组高温空气冷却器的出水管道相连接,并在蒸发器与新风机组高温空气冷却器连接的管道上设置有阀门c。
本实用新型的有益效果在于:
1)闭式蒸发式冷水机组采用闭式水系统,克服了开式水系统腐蚀管道、堵塞末端等缺点,保证了水质的清洁,克服了西北地区风沙、灰尘大的问题,循环水不易受污染,可以更好的广泛应用于广大西北地区;水泵仅需克服闭式水系统环路阻力,与建筑物高度无关,输送耗电量小,并且不用设置回水池,更加节能。
2)设置蒸发冷凝式风冷热泵冷(热)水机组的位置使得风冷热泵冷凝器的三个进风面的空气相比于室外空气更低,提高冷凝器的传热温差,最终提高其冷凝效率;同时,直接蒸发冷却器对室外新风有净化作用,避免冷凝器换热管表面被污染、堵塞,影响冷凝散热效果
3)设置蒸发冷凝式风冷热泵冷(热)水机组的位置使得其与闭式蒸发式冷水机组复合使用时,蒸发冷凝式风冷热泵冷凝器的一个进风面的空气来自闭式蒸发式冷水机组的排风,进一步提高能量的利用率,加大冷凝器的换热温差,提高冷凝器的冷凝效率,进而可以提高风冷热泵冷(热)水机组的COP。
4)蒸发冷凝式风冷热泵冷(热)水机组的冷凝器为蒸发式冷凝器,在蒸发式冷凝器的上部设置有填料b以及喷嘴b,这样设置使得冷凝器的换热效率进一步提高,同时淋水对冷凝器有很好的清洁作用,对冷凝器起到很好的保护作用,不易使冷凝器因为附着赃物而影响其使用效率,进而可以延长冷凝器的使用寿命。
5)分体式模块化的组成,使得使用该机组有很大的灵活性,在气候适宜区仅需闭式蒸发式冷水机组就可以满足要求时就可以不用风冷热泵冷(热)水机组加以辅助;只有闭式蒸发式冷水机组使用受到一定的气候条件限制时再以蒸发冷凝式风冷热泵冷(热)水机组加以辅助;若在不适合采用闭式蒸发式冷水机组的地区,则使用蒸发冷凝式风冷热泵冷(热)水机组以满足要求。
附图说明
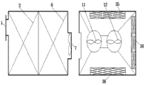
图1是本实用新型风冷热泵模块化高温冷/热水机组的结构示意图;
图2是图1的俯视图;
图3是本实用新型模块化高温冷/热水机组四个工况运行的管网布置图。
图中,1进风口,2高温冷水空气冷却器,3排风机a,4挡水板a,5喷嘴a,6闭式蒸发冷却盘管,7水箱a,8水泵a,9低温冷水空气冷却器,10排风口,11排风机b,12排风机c,13挡水板b,14喷嘴b,15填料b,16蒸发式冷凝器,17喷嘴c,18填料c,19水箱c,20水泵c,21水箱b,22压缩机,23蒸发器,24水泵b,25水泵d,26水泵e,27集水器,28显热末端,29新风机组高温空气冷却器,30阀门a,31阀门b,32阀门c,33阀门d,34直接蒸发冷却器c,35直接蒸发冷却器d,36直接蒸发冷却器e,闭式蒸发冷却盘管出口管道A,低温冷水空气冷却器的通入管道B,蒸发器通入管道Aˋ,蒸发器通入管道Bˋ。
具体实施方式
下面结合附图和具体实施方式对本实用新型进行详细说明。
本实用新型风冷热泵模块化高温冷/热水机组,由闭式蒸发式冷水机组、蒸发冷凝式风冷热泵冷/热水机组以及直接蒸发冷却器之间通过管网连接复合组成。图1、图2就是将闭式蒸发式冷水机组、蒸发冷凝式风冷热泵冷/热水机组、以及三台直接蒸发冷却器布置在两个模块内的实施方式,展示了其之间的相对位置。
闭式蒸发式冷水机组包括:相并联的高温冷水空气冷却器2和低温冷水空气冷却器9,高温冷水空气冷却器2上方的机组壳体壁上设置进风口1,还包括闭式蒸发冷却盘管6,闭式蒸发冷却盘管6的上部从上到下依次设置排风机a3、挡水板a4和喷嘴a5,闭式蒸发冷却盘管6的下部设置水箱a7,水箱a7内设置管道通过水泵a8依次与高温冷水空气冷却器2和喷嘴a5相连接;
蒸发冷凝式风冷热泵冷/热水机组的结构:由构成闭合回路的蒸发式冷凝器16、蒸发器23和压缩机22组成,蒸发式冷凝器16的上部从上到下依次设置排风机b11与排风机c12、挡水板b13、喷嘴b14和填料b15,水箱b21内设置管道通过水泵b24与喷嘴b14相连接。
设置蒸发冷凝式风冷热泵冷/热水机组的位置,使其一个进风面来自闭式蒸发式冷水机组的排风,在蒸发冷凝式风冷热泵冷/热水机组的另外三个进风面分别设置直接蒸发冷却器c34、直接蒸发冷却器d35和直接蒸发冷却器e36。
直接蒸发冷却器c34的结构包括:从上到下依次由喷嘴c17、填料c18以及底部的水箱c19组成,水箱c19内设置管道通过水泵c20与喷嘴c17相连接;直接蒸发冷却器d35和直接蒸发冷却器e36的结构分别与直接蒸发冷却器c34的结构相同。
图3所示的是闭式蒸发式冷水机组、蒸发冷凝式风冷热泵冷/热水机组以及直接蒸发冷却器之间的管网连接示意。闭式蒸发冷却盘管6通过管道与蒸发器23相连接,闭式蒸发冷却盘管6与蒸发器23连接的管道上设置阀门a30,闭式蒸发冷却盘管6通过管道依次与系统外的集水器27、显热末端28和新风机组高温空气冷却器29相连接,闭式蒸发冷却盘管6与集水器27连接的管道上设置阀门b31和水泵e26,蒸发器23通过管道依次与系统外的集水器27、显热末端28和新风机组高温空气冷却器29相连接,蒸发器23与集水器27连接的管道上设置水泵d25,新风机组高温空气冷却器29通过管道依次与低温冷水空气冷却器9和闭式蒸发冷却盘管6相连接,新风机组高温空气冷却器29与低温冷水空气冷却器9连接的管道上设置阀门d33,蒸发器23与新风机组高温空气冷却器29的出水管道相连接,并在蒸发器23与新风机组高温空气冷却器29连接的管道上设置阀门c32。
本实用新型的风冷热泵模块化高温冷/热水机组,采用模块化的组成方式,使得供水管路可以分为四个工况运行:1、单独使用闭式蒸发式冷水机组;2、单独使用蒸发冷凝式风冷热泵冷(热)水机组;3、闭式蒸发式冷水机组与蒸发冷凝式风冷热泵冷(热)水机组串联运行;4、闭式蒸发式冷水机组与蒸发冷凝式风冷热泵冷(热)水机组并联运行。分别模式下的工作流程如下:
1、夏季运行时室外空气在该机组的流程:
1)室外空气依次经过进风口1、高温冷水空气冷却器2、低温冷水空气冷却器9、闭式蒸发冷却盘管6、喷嘴a5、挡水板a 4最后由排风机a3排走。此过程中室外空气先经过高温冷水空气冷却器2进行初步降温,然后在低温冷水空气冷却器9中进一步降温,最后在闭式蒸发冷却盘管6中与盘管内的水以及喷淋水进行热湿交换后由排风机a3排掉或用于冷却蒸发冷凝式风冷热泵冷(热)水机组的冷凝器。
2)室外空气依次经过直接蒸发冷却器c34、蒸发式冷凝器16、填料b15、喷嘴b14、挡水板b13然后由排风机b11和排风机c12排掉。该过程直接蒸发冷却器对室外空气进行了预冷处理并对室外空气进行了湿式过滤。
3)室外空气依次经过直接蒸发冷却器d35、蒸发式冷凝器16、填料b15、喷嘴b14、挡水板b13然后由排风机b11和排风机c12排掉。该过程直接蒸发冷却器对室外空气进行了预冷处理并对室外空气进行了湿式过滤。
4)室外空气依次经过直接蒸发冷却器e36、蒸发式冷凝器16、填料b15、喷嘴b14、挡水板b13然后由排风机b11和排风机c12排掉。该过程直接蒸发冷却器对室外空气进行了预冷处理并对室外空气进行了湿式过滤。
2、夏季运行时水系统的流程(分为四个工况运行):
1)单独使用闭式蒸发式冷水机组:阀门a30关,阀门c32关,阀门b31开,阀门d33开,闭式蒸发式冷水机组制取的高温冷水通过水泵e26先输送到显热末端28再通过管网输送到新风机组高温空气冷却器29然后经过低温冷水空气冷却器9,最后回到闭式蒸发冷却盘管6,重复循环;
水箱a7中的高温冷水由水泵a8送到高温冷水空气冷却器2再通过管道与喷嘴a5相连接,重复循环。
2)单独使用蒸发冷凝式风冷热泵冷(热)水机组:阀门a30关,阀门b31关,阀门d33关,只开阀门c32,蒸发冷凝式风冷热泵冷(热)水机组制取的冷水通过水泵d25先输送到显热末端28再通过管网输送到新风机组高温空气冷却器29然后回到蒸发器23,重复循环;
水箱b21内设置管道通过水泵b24与喷嘴b14相连接,重复循环。
3)闭式蒸发式冷水机组与蒸发冷凝式风冷热泵冷(热)水机组串联运行:阀门a30开,阀门d33开,阀门b31关,阀门c32关,闭式蒸发式冷水机组制取的高温冷水通过蒸发冷凝式风冷热泵冷(热)水机组的蒸发器进一步降温后再通过水泵d25先输送到显热末端28再通过管网输送到新风机组高温空气冷却器29然后回到低温冷水空气冷却器9最后回到闭式蒸发冷却盘管6,重复循环;
水箱a7中的高温冷水由水泵a8送到高温冷水空气冷却器2再通过管道与喷嘴a5相连接,重复循环;
水箱b21内设置管道通过水泵b24与喷嘴b14相连接,重复循环。
4)闭式蒸发式冷水机组与蒸发冷凝式风冷热泵冷(热)水机组并联运行:阀门a30关,阀门b31开,阀门c32开,阀门d33开;
闭式蒸发式冷水机组制取的高温冷水通过水泵e26先输送到集水器27,蒸发冷凝式风冷热泵冷(热)水机组制取的冷水通过水泵d25输送到集水器27,在集水器27中混合后再输送到显热末端28再通过管网输送到新风机组高温空气冷却器29,然后回水分两路:一路经过低温冷水空气冷却器9,最后回到闭式蒸发冷却盘管6,重复循环;另一路回到蒸发器23,重复循环;
水箱a7中的高温冷水由水泵a8送到高温冷水空气冷却器2再通过管道与喷嘴a5相连接,重复循环;
水箱b21内设置管道通过水泵b24与喷嘴b14相连接,重复循环。
3、冬季运行时,阀门a30关,阀门b31关,阀门d33关,阀门c32开;将闭式蒸发式冷水机组与水泵b24停止运行以及三台直接蒸发冷却器c34、直接蒸发冷却器d35、直接蒸发冷却器e36的供水停止工作,只让蒸发冷凝式风冷热泵冷(热)水机组工作来为用户供暖。此时蒸发冷凝式风冷热泵冷(热)水机组制取的热水通过管道输送到显热末端28再经过新风机组高温空气冷却器29然后回到风冷热泵的蒸发器23(热泵在冬季运行时与夏季运行时相反蒸发器23会变成冷凝器的作用);重复循环。
Claims (3)
1.一种风冷热泵模块化高温冷/热水机组,其特征在于,由闭式蒸发式冷水机组、蒸发冷凝式风冷热泵冷/热水机组以及直接蒸发冷却器之间通过管网连接复合组成;
所述的闭式蒸发式冷水机组包括:相并联的高温冷水空气冷却器(2)和低温冷水空气冷却器(9),高温冷水空气冷却器(2)上方的机组壳体壁上设置有进风口(1),还包括闭式蒸发冷却盘管(6),所述闭式蒸发冷却盘管(6)的上部从上到下依次设置有排风机a(3)、挡水板a(4)和喷嘴a(5),闭式蒸发冷却盘管(6)的下部设置有水箱a(7),水箱a(7)内设置管道通过水泵a(8)依次与高温冷水空气冷却器(2)和喷嘴a(5)相连接;
所述的蒸发冷凝式风冷热泵冷/热水机组的结构:由构成闭合回路的蒸发式冷凝器(16)、蒸发器(23)和压缩机(22)组成,所述蒸发式冷凝器(16)的上部从上到下依次设置有排风机b(11)与排风机c(12)、挡水板b(13)、喷嘴b(14)和填料b(15),水箱b(21)内设置管道通过水泵b(24)与喷嘴b(14)相连接;
设置蒸发冷凝式风冷热泵冷/热水机组的位置,使其一个进风面来自所述闭式蒸发式冷水机组的排风,在蒸发冷凝式风冷热泵冷/热水机组的另外三个进风面分别设置有直接蒸发冷却器c(34)、直接蒸发冷却器d(35)和直接蒸发冷却器e(36)。
2.按照权利要求1所述的风冷热泵模块化高温冷/热水机组,其特征在于,所述直接蒸发冷却器c(34)的结构包括:从上到下依次由喷嘴c(17)、填料c(18)以及底部的水箱c(19)组成,水箱c(19)内设置管道通过水泵c(20)与喷嘴c(17)相连接;直接蒸发冷却器d(35)和直接蒸发冷却器e(36)的结构分别与直接蒸发冷却器c(34)的结构相同。
3. 按照权利要求1或2所述的风冷热泵模块化高温冷/热水机组,其特征在于,所述的闭式蒸发冷却盘管(6)通过管道与蒸发器(23)相连接,闭式蒸发冷却盘管(6)与蒸发器(23)连接的管道上设置有阀门a(30),所述的闭式蒸发冷却盘管(6)通过管道依次与系统外的集水器(27)、显热末端(28)和新风机组高温空气冷却器(29)相连接,闭式蒸发冷却盘管(6)与集水器(27)连接的管道上设置有阀门b(31)和水泵e(26),蒸发器(23)通过管道依次与系统外的集水器(27)、显热末端(28)和新风机组高温空气冷却器(29)相连接,蒸发器(23)与集水器(27)连接的管道上设置有水泵d(25),新风机组高温空气冷却器(29)通过管道依次与低温冷水空气冷却器(9)和闭式蒸发冷却盘管(6)相连接,新风机组高温空气冷却器(29)与低温冷水空气冷却器(9)连接的管道上设置有阀门d(33),蒸发器(23)与新风机组高温空气冷却器(29)的出水管道相连接,并在蒸发器(23)与新风机组高温空气冷却器(29)连接的管道上设置有阀门c(32)。
Priority Applications (1)
| Application Number | Priority Date | Filing Date | Title |
|---|---|---|---|
| CN201120165457XU CN202092257U (zh) | 2011-05-23 | 2011-05-23 | 一种风冷热泵模块化高温冷/热水机组 |
Applications Claiming Priority (1)
| Application Number | Priority Date | Filing Date | Title |
|---|---|---|---|
| CN201120165457XU CN202092257U (zh) | 2011-05-23 | 2011-05-23 | 一种风冷热泵模块化高温冷/热水机组 |
Publications (1)
| Publication Number | Publication Date |
|---|---|
| CN202092257U true CN202092257U (zh) | 2011-12-28 |
Family
ID=45367324
Family Applications (1)
| Application Number | Title | Priority Date | Filing Date |
|---|---|---|---|
| CN201120165457XU Expired - Fee Related CN202092257U (zh) | 2011-05-23 | 2011-05-23 | 一种风冷热泵模块化高温冷/热水机组 |
Country Status (1)
| Country | Link |
|---|---|
| CN (1) | CN202092257U (zh) |
Cited By (8)
| Publication number | Priority date | Publication date | Assignee | Title |
|---|---|---|---|---|
| CN102692056A (zh) * | 2012-05-28 | 2012-09-26 | 西安工程大学 | 露点间接、直接蒸发冷却器模块化蒸发冷却空调 |
| CN103062857A (zh) * | 2013-01-29 | 2013-04-24 | 西安工程大学 | 应用毛细管的闭式蒸发冷却冷水机组 |
| CN104131983A (zh) * | 2014-07-24 | 2014-11-05 | 扬州大学 | 石化企业循环冷却水系统水泵机组及调节阀最优组合运行方案确定方法 |
| CN105526731A (zh) * | 2015-12-30 | 2016-04-27 | 浙江思科国祥制冷设备有限公司 | 一种蒸发式冷凝空调热泵系统 |
| CN107327994A (zh) * | 2017-07-10 | 2017-11-07 | 江苏省邮电规划设计院有限责任公司 | 一种风冷型带蒸发冷却功能的热管空调机组 |
| CN108931018A (zh) * | 2018-04-21 | 2018-12-04 | 浙江国祥股份有限公司 | 一种带水力模块的蒸发冷凝一体机 |
| CN109945358A (zh) * | 2019-02-26 | 2019-06-28 | 珠海格力电器股份有限公司 | 一种冷水机组及空调 |
| CN110636744A (zh) * | 2019-08-27 | 2019-12-31 | 西安工程大学 | 一种数据中心用闭式蒸发冷却冷水系统 |
-
2011
- 2011-05-23 CN CN201120165457XU patent/CN202092257U/zh not_active Expired - Fee Related
Cited By (11)
| Publication number | Priority date | Publication date | Assignee | Title |
|---|---|---|---|---|
| CN102692056A (zh) * | 2012-05-28 | 2012-09-26 | 西安工程大学 | 露点间接、直接蒸发冷却器模块化蒸发冷却空调 |
| CN103062857A (zh) * | 2013-01-29 | 2013-04-24 | 西安工程大学 | 应用毛细管的闭式蒸发冷却冷水机组 |
| CN103062857B (zh) * | 2013-01-29 | 2015-05-20 | 西安工程大学 | 应用毛细管的闭式蒸发冷却冷水机组 |
| CN104131983A (zh) * | 2014-07-24 | 2014-11-05 | 扬州大学 | 石化企业循环冷却水系统水泵机组及调节阀最优组合运行方案确定方法 |
| CN105526731A (zh) * | 2015-12-30 | 2016-04-27 | 浙江思科国祥制冷设备有限公司 | 一种蒸发式冷凝空调热泵系统 |
| CN107327994A (zh) * | 2017-07-10 | 2017-11-07 | 江苏省邮电规划设计院有限责任公司 | 一种风冷型带蒸发冷却功能的热管空调机组 |
| CN108931018A (zh) * | 2018-04-21 | 2018-12-04 | 浙江国祥股份有限公司 | 一种带水力模块的蒸发冷凝一体机 |
| CN108931018B (zh) * | 2018-04-21 | 2019-05-14 | 浙江国祥股份有限公司 | 一种带水力模块的蒸发冷凝一体机 |
| CN109945358A (zh) * | 2019-02-26 | 2019-06-28 | 珠海格力电器股份有限公司 | 一种冷水机组及空调 |
| CN109945358B (zh) * | 2019-02-26 | 2020-03-27 | 珠海格力电器股份有限公司 | 一种冷水机组及空调 |
| CN110636744A (zh) * | 2019-08-27 | 2019-12-31 | 西安工程大学 | 一种数据中心用闭式蒸发冷却冷水系统 |
Similar Documents
| Publication | Publication Date | Title |
|---|---|---|
| CN202092257U (zh) | 一种风冷热泵模块化高温冷/热水机组 | |
| CN109855219B (zh) | 基于机械制冷的一体式蒸发冷却-冷凝冷水机组 | |
| CN203893343U (zh) | 蒸发冷却与机械制冷联合的一体化空调机组 | |
| CN104566724B (zh) | 应用于地铁环控系统的通风空调系统 | |
| CN102705933B (zh) | 自然冷却与立管式间接蒸发及直接蒸发复合空调机组 | |
| CN101846371B (zh) | 蒸发冷却冷水机组与机械制冷高温冷水复合的冷水机组 | |
| CN101788174B (zh) | 蒸发冷却和风冷热泵式复合冷热水机组 | |
| CN104006469A (zh) | 蒸发冷却与机械制冷联合的变风道节能空调机组 | |
| CN103411355A (zh) | 蒸发冷凝分离式集冷集热三集成冷冻站 | |
| CN201697257U (zh) | 喷水式空气冷却器与直接蒸发冷却横流式高温冷水机组 | |
| CN107166591A (zh) | 光伏回热型复合供冷与供热节能空调机组 | |
| CN104613574B (zh) | 基于能量梯级利用的温湿度独立控制空调系统 | |
| CN201621798U (zh) | 蒸发式冷水与风冷热泵冷热水机组组合的冷热水机组 | |
| CN203116206U (zh) | 立管式模块化蒸发冷却冷水机组 | |
| CN103104954B (zh) | 双冷源联合运行回收室内排风冷热量的空调系统 | |
| CN202613625U (zh) | 立管式三级复合型蒸发冷却空调机组 | |
| CN206831742U (zh) | 间接‑直接蒸发冷却与蒸发冷凝复合的节能空调机组 | |
| CN103759363B (zh) | 与被动式降温、采暖相结合的蒸发冷却空调系统 | |
| CN202254137U (zh) | 一种分体式热回收蒸发冷凝新风空调 | |
| CN202119028U (zh) | 以机械制冷为辅助冷源的蒸发冷却闭式高温冷水机组 | |
| CN107449076A (zh) | 间接加直接蒸发冷却与机械制冷复合分体机空调系统 | |
| CN201811379U (zh) | 蒸发冷却式冷水和新风复合机组 | |
| CN202392921U (zh) | 管式热回收型蒸发冷却空调机组 | |
| CN205860296U (zh) | 一种蒸发式冷凝器空调与水冷空调复合的制冷机组 | |
| CN211551913U (zh) | 基于氟泵系统与间接蒸发冷却相结合的空调机组 |
Legal Events
| Date | Code | Title | Description |
|---|---|---|---|
| C14 | Grant of patent or utility model | ||
| GR01 | Patent grant | ||
| C17 | Cessation of patent right | ||
| CF01 | Termination of patent right due to non-payment of annual fee |
Granted publication date: 20111228 Termination date: 20130523 |