CN202056937U - Double cooker chambers type induction cooker - Google Patents

Double cooker chambers type induction cooker Download PDF

Info

Publication number
CN202056937U
CN202056937U CN2011201676117U CN201120167611U CN202056937U CN 202056937 U CN202056937 U CN 202056937U CN 2011201676117 U CN2011201676117 U CN 2011201676117U CN 201120167611 U CN201120167611 U CN 201120167611U CN 202056937 U CN202056937 U CN 202056937U
Authority
CN
China
Prior art keywords
furnace
double
furnace chamber
chamber
heat
Prior art date
Legal status (The legal status is an assumption and is not a legal conclusion. Google has not performed a legal analysis and makes no representation as to the accuracy of the status listed.)
Expired - Fee Related
Application number
CN2011201676117U
Other languages
Chinese (zh)
Inventor
殷磊
Current Assignee (The listed assignees may be inaccurate. Google has not performed a legal analysis and makes no representation or warranty as to the accuracy of the list.)
Individual
Original Assignee
Individual
Priority date (The priority date is an assumption and is not a legal conclusion. Google has not performed a legal analysis and makes no representation as to the accuracy of the date listed.)
Filing date
Publication date
Application filed by Individual filed Critical Individual
Priority to CN2011201676117U priority Critical patent/CN202056937U/en
Application granted granted Critical
Publication of CN202056937U publication Critical patent/CN202056937U/en
Anticipated expiration legal-status Critical
Expired - Fee Related legal-status Critical Current

Links

Images

Classifications

    • YGENERAL TAGGING OF NEW TECHNOLOGICAL DEVELOPMENTS; GENERAL TAGGING OF CROSS-SECTIONAL TECHNOLOGIES SPANNING OVER SEVERAL SECTIONS OF THE IPC; TECHNICAL SUBJECTS COVERED BY FORMER USPC CROSS-REFERENCE ART COLLECTIONS [XRACs] AND DIGESTS
    • Y02TECHNOLOGIES OR APPLICATIONS FOR MITIGATION OR ADAPTATION AGAINST CLIMATE CHANGE
    • Y02BCLIMATE CHANGE MITIGATION TECHNOLOGIES RELATED TO BUILDINGS, e.g. HOUSING, HOUSE APPLIANCES OR RELATED END-USER APPLICATIONS
    • Y02B40/00Technologies aiming at improving the efficiency of home appliances, e.g. induction cooking or efficient technologies for refrigerators, freezers or dish washers

Landscapes

  • Electric Stoves And Ranges (AREA)

Abstract

一种双层炉腔式电磁炉,包括炉体,所述炉体由隔板分为上、下炉腔,隔板上开有安装孔,散热器固定在安装孔上并密封下炉腔,上炉腔顶端开口安装微晶体板,对应微晶体板下方的上炉腔内固定有线圈盘,对应散热器下方的下炉腔内还安装有相互电连接的IGBT、整流器以及线路板,该双层炉体的电磁炉,利用安装在上下炉腔的散热片将下炉腔内的IGBT和整流桥的热量传递给上炉腔内,再由进风口、散热风扇、出风口将热量传递到电磁炉外面,从而完成热量的传递,实现良好散热的作用;因此,上述结构双层炉体的电磁炉,具有结构简单、合理,既可保证炉体充分散热,又能防止异物进入线路板所在的下炉腔,且性能稳定。

Figure 201120167611

A double-layer furnace chamber type induction cooker, comprising a furnace body, the furnace body is divided into an upper chamber and a lower chamber by a partition plate, an installation hole is opened on the partition board, a radiator is fixed on the installation hole and the lower furnace chamber is sealed, and the upper furnace chamber is sealed. The top opening of the furnace cavity is equipped with a microcrystal plate, and a coil disk is fixed in the upper cavity corresponding to the microcrystal plate, and an IGBT, a rectifier and a circuit board electrically connected to each other are installed in the lower cavity corresponding to the radiator. The induction cooker with double-layer furnace body uses the heat sink installed in the upper and lower furnace chambers to transfer the heat from the IGBT and rectifier bridge in the lower furnace chamber to the upper furnace chamber, and then transfers the heat to the induction cooker through the air inlet, cooling fan and air outlet. outside, so as to complete the transfer of heat and achieve good heat dissipation; therefore, the induction cooker with the above-mentioned double-layer furnace body has a simple and reasonable structure, which can not only ensure sufficient heat dissipation of the furnace body, but also prevent foreign matter from entering the lower furnace where the circuit board is located. Cavity, and stable performance.

Figure 201120167611

Description

A kind of double-deck furnace cavate electromagnetic oven
Technical field
The utility model relates to the electromagentic furnace technology field, especially a kind of double-deck furnace cavate electromagnetic oven.
Background technology
Electromagnetic oven mainly is to utilize electromagnetic induction principle to make irony pan bottom produce eddy current, thereby producing a large amount of heat energy directly makes a pot body generate heat rapidly, see illustrated in figures 1 and 2, because there is heater members electromagnetic oven inside, as coil panel 6, choke coil 3, rectifier 8,, IGBT9, wiring board 10, for this reason, should be provided with fan heat sink 4 on the electromagnetic oven body of heater, 2, at present, the electromagnetic oven of being sold on the market, the casing 101 of its body of heater 1 generally all offers air inlet 2 and air outlet 3,2 places are equipped with fan 4 at air inlet, and wind is sucked, and by air outlet 3 places wind are discharged again.The electromagnetic oven of said structure still has following weak point: (1), because the air inlet 2 of casing 101 and air outlet 3 are communicated with the electromagnetic oven outsides, and therefore, the electromagnetic oven body of heater is non-enclosed structure causes easy water inlet, oil-feed dirt, advances foreign matter such as cockroach; These foreign matters can endanger the trouble free service of electromagnetic oven wiring board, cause electric leakage, short circuit easily, even damage the components and parts of electromagnetic oven inside.
Summary of the invention
The purpose of this utility model is to overcome the deficiency that above-mentioned prior art exists, and it is simple and reasonable for structure to provide a kind of double-deck furnace cavate electromagnetic oven, this electromagnetic oven to have, and both can guarantee that body of heater fully dispels the heat, can prevent foreign matter from entering lower furnace chamber again and influence the operate as normal of wiring board, and stable performance.
The purpose of this utility model is achieved in that a kind of double-deck furnace cavate electromagnetic oven, comprise body of heater, it is characterized in that, described body of heater is divided into upper and lower furnace chamber by dividing plate, have installing hole on the dividing plate, radiator is fixed on the installing hole and seals lower furnace chamber, and last cavity top end opening is installed the microcrystal plate, be fixed with coil panel in the last furnace chamber of corresponding microcrystal plate below, IGBT, rectifier and the wiring board of mutual electrical connection also is installed in the lower furnace chamber of corresponding radiator below.
The described body of heater both sides inwall of going up furnace chamber has air inlet and air outlet with symmetry shape, be fixed with radiator fan on air inlet and/or the air outlet, one side of last furnace chamber is provided with air inlet and radiator fan, opposite side is provided with air outlet, this radiator fan can also be arranged on the air outlet, or on air inlet and air outlet, be provided with simultaneously, the heat that heat that the lower furnace chamber transmission comes and last furnace chamber interior loop dish send is discharged by the air outlet that is located at furnace chamber, guarantee the operate as normal of electromagnetic oven, lower furnace chamber is an all-sealed structure, prevents into water, advances moisture, advances foreign matters such as cockroach.
This double-deck furnace cavate electromagnetic oven, utilize fin between the upper and lower furnace chamber with in the furnace chamber casing on the heat transferred that heater element sent of lower furnace chamber inside, by the cooling system (fan is into and out of the air port) of last furnace chamber heat is discharged again, realize the effect of good heat radiating; Therefore, the double-deck furnace cavate electromagnetic oven of said structure has simple and reasonable for structurely, both can guarantee fully heat radiation in the body of heater, can prevent that again foreign matter from entering lower furnace chamber, influences the work of wiring board.
The beneficial effects of the utility model are: (1), double-deck furnace cavate electromagnetic oven of the present utility model because the lower furnace chamber of electromagnetic oven is an all-sealed structure, prevent into water, advance moisture, advance foreign matter such as cockroach, thereby protected wiring board.Owing to be provided with division board between the last lower furnace chamber of electromagnetic oven, division board is provided with fin again, and fin is used for the heater element of lower furnace chamber, and the heat that rectifier, IGBT send passes to furnace chamber.Thereby realized the transmission of heat, salable again whole lower furnace chamber makes that electromagnetic oven can operate as normal, and prolong service life.
(2), double-deck furnace cavate electromagnetic oven avoided existing electromagnetic oven water inlet, oil-feed, advanced the hidden danger that cockroach influences the wiring board operate as normal, makes whole electromagnetic oven, has simple and reasonable for structure; Both can guarantee the abundant heat radiation of lower furnace chamber internal heat generation unit, and can prevent that again foreign matter from entering lower furnace chamber, make the more safe and reliable and stable performance of product;
(3), this double-deck furnace cavate electromagnetic oven, the air intake air-out is a horizontal plane (being in furnace chamber simultaneously), makes airflow smooth, radiating effect is better.
Description of drawings
Fig. 1 is the structural representation of existing electromagnetic oven body of heater.
Fig. 2 is the structural representation of existing electromagnetic oven body of heater.
Fig. 3 is the structural representation of the utility model electromagnetic oven body of heater.
The specific embodiment
Below in conjunction with drawings and Examples the utility model is further specified.
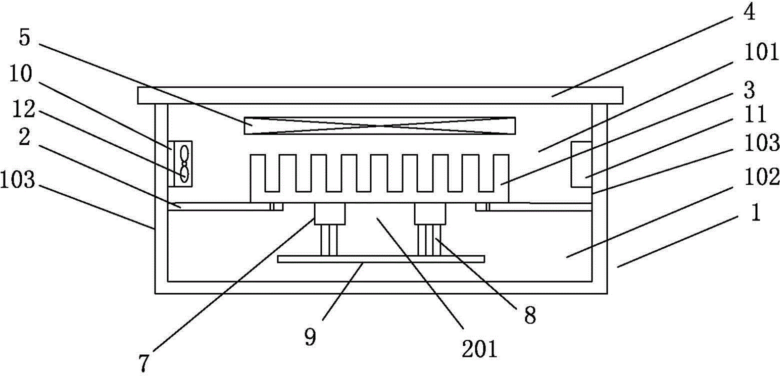
As shown in Figure 3, a kind of double-deck furnace cavate electromagnetic oven, comprise body of heater 1, it is characterized in that, described body of heater 1 is divided into upper and lower furnace chamber 101,102 by dividing plate 2, have installing hole 201 on the dividing plate 2, radiator 3 is fixed on the installing hole 201 and seals lower furnace chamber 102, last furnace chamber 101 top end openings are installed microcrystal plate 4, be fixed with coil panel 5 in the last furnace chamber 101 of corresponding microcrystal plate 4 belows, IGBT 7, rectifier 8 and the wiring board 9 of mutual electrical connection also is installed in the lower furnace chamber 102 of corresponding radiator 3 belows.
The described body of heater 1 both sides inwall 103 of going up furnace chamber 101 has air inlet 10 and air outlet 11 with symmetry shape, be fixed with radiator fan 12 on air inlet 10 and/or the air outlet 11, this radiator fan 12 can also be arranged on the air outlet 11, or 11 settings on air inlet 10 and air outlet simultaneously.Air inlet 10 and air outlet 11 can be arranged in any relative both sides of furnace chamber, preferably are provided with according to the radiating groove bearing of trend both sides on the radiator 3, and its effect be the best.
During work, this electromagnetic oven utilizes air inlet 10 air draughts, and air outlet 11 air drafts can both in time be delivered to the heat of the heater element of upper and lower furnace chamber 101,102 beyond the body of heater 1, thereby finishes the transmission of heat, realizes the effect of good heat radiating.
Above-described specific embodiment has thoroughly sealed the wiring board part (comprising IGBT 7, rectifier 8 and wiring board 9 etc.) of electromagnetic oven with lower furnace chamber, foreign matter can't be entered on the wiring board of electromagnetic oven, thereby eliminated the hidden danger that causes electromagnetic oven and damage (comprise humidity, damage by worms etc.), the reliability of secure context further improves, and effectively prolongs electromagnetic oven service life.
Above-described specific embodiment only is the utility model preferred embodiment, and the equivalent arrangements of being done according to the utility model claim all should be technology of the present utility model and contains such as.

Claims (2)

1.一种双层炉腔式电磁炉,包括炉体(1),其特征是,所述炉体(1)由隔板(2)分为上、下炉腔(101、102 ),隔板(2)上开有安装孔(201),散热器(3)固定在安装孔(201)上并密封下炉腔(102),上炉腔(101)顶端开口安装微晶体板(4),对应微晶体板(4)下方的上炉腔(101)内固定有线圈盘(5),对应散热器(3)下方的下炉腔(102)内还安装有相互电连接的IGBT (7)、整流器(8)以及线路板(9)。 1. A double-layer furnace cavity type induction cooker, comprising a furnace body (1), characterized in that the furnace body (1) is divided into upper and lower furnace chambers (101, 102) by a partition (2), and the partition (2) There is a mounting hole (201) on the top, the radiator (3) is fixed on the mounting hole (201) and sealed to the lower furnace cavity (102), and the top opening of the upper furnace cavity (101) is equipped with a microcrystalline plate (4) , a coil disk (5) is fixed in the upper chamber (101) below the microcrystal plate (4), and IGBTs ( 7), a rectifier (8) and a circuit board (9). 2.根据权利要求1所述双层炉腔式电磁炉,其特征是:所述上炉腔(101)的炉体(1)两侧内壁(103 )以对称状分别开有进风口(10)和出风口(11),进风口(10)和/或出风口(11)上固定有散热风扇(12)。 2. According to claim 1, the double-layer furnace cavity type induction cooker is characterized in that: the inner walls (103) on both sides of the furnace body (1) of the upper furnace cavity (101) are respectively symmetrically opened with air inlets (10) and the air outlet (11), the air inlet (10) and/or the air outlet (11) are fixed with a cooling fan (12).
CN2011201676117U 2011-05-24 2011-05-24 Double cooker chambers type induction cooker Expired - Fee Related CN202056937U (en)

Priority Applications (1)

Application Number Priority Date Filing Date Title
CN2011201676117U CN202056937U (en) 2011-05-24 2011-05-24 Double cooker chambers type induction cooker

Applications Claiming Priority (1)

Application Number Priority Date Filing Date Title
CN2011201676117U CN202056937U (en) 2011-05-24 2011-05-24 Double cooker chambers type induction cooker

Publications (1)

Publication Number Publication Date
CN202056937U true CN202056937U (en) 2011-11-30

Family

ID=45016910

Family Applications (1)

Application Number Title Priority Date Filing Date
CN2011201676117U Expired - Fee Related CN202056937U (en) 2011-05-24 2011-05-24 Double cooker chambers type induction cooker

Country Status (1)

Country Link
CN (1) CN202056937U (en)

Cited By (4)

* Cited by examiner, † Cited by third party
Publication number Priority date Publication date Assignee Title
CN102538035A (en) * 2012-02-08 2012-07-04 冯健满 A modular induction cooker
CN104501226A (en) * 2014-12-16 2015-04-08 山东信多达电子科技有限公司 Commercial sealing radiating electromagnetic oven
CN104501227A (en) * 2014-12-16 2015-04-08 山东信多达电子科技有限公司 Commercial electromagnetic oven with independent radiating of wire coil and electric control plate
CN106642231A (en) * 2016-12-29 2017-05-10 宁波方太厨具有限公司 Electromagnetic range

Cited By (4)

* Cited by examiner, † Cited by third party
Publication number Priority date Publication date Assignee Title
CN102538035A (en) * 2012-02-08 2012-07-04 冯健满 A modular induction cooker
CN104501226A (en) * 2014-12-16 2015-04-08 山东信多达电子科技有限公司 Commercial sealing radiating electromagnetic oven
CN104501227A (en) * 2014-12-16 2015-04-08 山东信多达电子科技有限公司 Commercial electromagnetic oven with independent radiating of wire coil and electric control plate
CN106642231A (en) * 2016-12-29 2017-05-10 宁波方太厨具有限公司 Electromagnetic range

Similar Documents

Publication Publication Date Title
CN204329197U (en) Electric-controlled box, air-conditioner outdoor unit and air-conditioning
CN205793471U (en) Built-in cooking appliance
CN202056937U (en) Double cooker chambers type induction cooker
CN203671679U (en) Built-in microwave oven and microwave cooking system
CN221322757U (en) Heat radiation module and integrated kitchen appliance using same
CN201964478U (en) Electromagnetic oven
CN204629830U (en) Air-conditioner outdoor unit and there is its air-conditioner
CN204100319U (en) Cooking apparatus
CN203615385U (en) Drawer-type microwave oven
CN204757046U (en) Induction cooker and heat radiation structure thereof
WO2017206240A1 (en) Embedded-type cooking appliance
WO2017054228A1 (en) Induction stove
CN221487205U (en) Energy storage converter housing, energy storage converter device and energy storage device
CN202660650U (en) Outdoor unit for air conditioner
CN202856646U (en) An inverter cabinet with good heat exchange
CN202231602U (en) Frequency converter box
CN203671680U (en) Microwave oven
CN202872679U (en) Waterproof and heat radiation structure for photovoltaic inverter
CN204629723U (en) Indoor apparatus of air conditioner and there is its air-conditioner
CN202213856U (en) Hot air type warm box
CN208973510U (en) A kind of air discharge structure of Steam roaster
CN201582879U (en) Improved structure of power control device of high-power induction cooker
CN221375829U (en) Air conditioner outdoor unit and air conditioner with same
CN205619423U (en) Bathroom heater four sides air -out structure
CN206686472U (en) Electric appliance box and air conditioner outdoor unit using same

Legal Events

Date Code Title Description
C14 Grant of patent or utility model
GR01 Patent grant
C17 Cessation of patent right
CF01 Termination of patent right due to non-payment of annual fee

Granted publication date: 20111130

Termination date: 20130524