CN202023410U - Door handle capable of hanging articles - Google Patents

Door handle capable of hanging articles Download PDF

Info

Publication number
CN202023410U
CN202023410U CN2011201034469U CN201120103446U CN202023410U CN 202023410 U CN202023410 U CN 202023410U CN 2011201034469 U CN2011201034469 U CN 2011201034469U CN 201120103446 U CN201120103446 U CN 201120103446U CN 202023410 U CN202023410 U CN 202023410U
Authority
CN
China
Prior art keywords
handle
door handle
rotating shaft
hanging
hanging hook
Prior art date
Legal status (The legal status is an assumption and is not a legal conclusion. Google has not performed a legal analysis and makes no representation as to the accuracy of the status listed.)
Expired - Fee Related
Application number
CN2011201034469U
Other languages
Chinese (zh)
Inventor
张笑征
殷光亮
吴勇
Current Assignee (The listed assignees may be inaccurate. Google has not performed a legal analysis and makes no representation or warranty as to the accuracy of the list.)
China University of Mining and Technology Beijing CUMTB
Original Assignee
China University of Mining and Technology Beijing CUMTB
Priority date (The priority date is an assumption and is not a legal conclusion. Google has not performed a legal analysis and makes no representation as to the accuracy of the date listed.)
Filing date
Publication date
Application filed by China University of Mining and Technology Beijing CUMTB filed Critical China University of Mining and Technology Beijing CUMTB
Priority to CN2011201034469U priority Critical patent/CN202023410U/en
Application granted granted Critical
Publication of CN202023410U publication Critical patent/CN202023410U/en
Anticipated expiration legal-status Critical
Expired - Fee Related legal-status Critical Current

Links

Images

Landscapes

  • Supports Or Holders For Household Use (AREA)

Abstract

一种可以挂物的门把手,它涉及一种门把手。它包含连接板、手把、挂物钩和转轴,手把固定在连接板上,手把的上部设有转轴,挂物钩上的轴孔与手把上的转轴相配合;本实用新型在需要挂物时将挂物钩直立即可挂物,平时可以将挂物钩放平。本实用新型在门把手原来的功能基础上又实现了挂物的功能,方便了外出以及家居生活。

Figure 201120103446

A door handle capable of hanging objects relates to a door handle. It includes a connecting plate, a handle, a hook and a rotating shaft, the handle is fixed on the connecting plate, the upper part of the handle is provided with a rotating shaft, and the shaft hole on the hanging hook is matched with the rotating shaft on the handle; When you need to hang things, put the hanging hook upright and you can hang things immediately, and you can put the hanging hook flat at ordinary times. The utility model realizes the function of hanging objects on the basis of the original function of the door handle, which is convenient for going out and living at home.

Figure 201120103446

Description

A kind of door handle that can hang thing
Technical field:
The utility model relates to a kind of door handle, is specifically related to a kind of door handle that can hang thing.
Background technology:
Existing door handle just plays the effect of opening the door or closing the door and can not hang thing, and such as using the lavatory to communal bathroom, pocket does not have local the extension, and overcoat does not have local the extension, and is very inconvenient.Even at home, bare door handle thinks that interim suspension member clothes, bag and so on are all impossible.
The utility model content:
The purpose of this utility model provides a kind of door handle that can hang thing, it can solve existing door handle and just play the effect of opening the door or closing the door and can not hang thing, and such as using the lavatory to communal bathroom, pocket does not have local the extension, overcoat does not have local the extension, and is very inconvenient.Even at home, bare door handle is thought interim suspension member clothes, bag and so on all impossible problem, and then a kind of door handle that can hang thing is provided.
In order to solve the existing problem of background technology, the utility model is by the following technical solutions: it comprises junction plate, handgrip, hanging hook and rotating shaft, handgrip is fixed on the junction plate, and the top of handgrip is provided with rotating shaft, and the axis hole on the hanging hook matches with rotating shaft on the handgrip.
The beneficial effects of the utility model: when needs are hung thing, hanging hook uprightly can be hung thing, hanging hook can be set level at ordinary times.The utility model has realized hanging the function of thing again on the original function basis of door handle, made things convenient for and gone out and life staying idle at home.
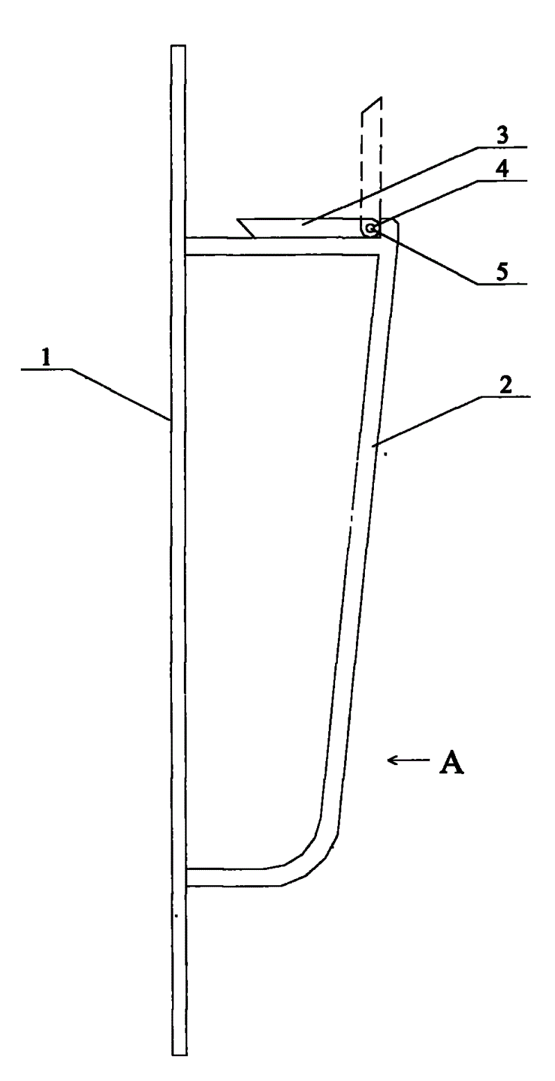
Description of drawings:
Fig. 1 is the overall structure schematic diagram that the specific embodiment of the present utility model provides,
Fig. 2 is the partial structurtes schematic diagram of handgrip 2,
Fig. 3 is the structural representation of hanging hook 3,
Fig. 4 is that the A of Fig. 1 is to view.
The specific embodiment:
Referring to Fig. 1-4, this specific embodiment is by the following technical solutions: it comprises junction plate 1, handgrip 2, hanging hook 3 and rotating shaft 5, handgrip 2 is fixed on the junction plate 1, and the top of handgrip 2 is provided with rotating shaft 5, and the axis hole 4 on the hanging hook 3 matches with rotating shaft 5 on the handgrip 2.
This specific embodiment uprightly can be hung thing with hanging hook when needs are hung thing, hanging hook can be set level at ordinary times.The utility model has realized hanging the function of thing again on the original function basis of door handle, made things convenient for and gone out and life staying idle at home.

Claims (1)

1.一种可以挂物的门把手,其特征在于它包含连接板(1)、手把(2)、挂物钩(3)和转轴(5),手把(2)固定在连接板(1)上,手把(2)的上部设有转轴(5),挂物钩(3)上的轴孔(4)与手把(2)上的转轴(5)相配合。1. A door handle that can hang objects, is characterized in that it includes a connecting plate (1), a handle (2), a hanging object hook (3) and a rotating shaft (5), and the handle (2) is fixed on the connecting plate ( 1), the top of the handle (2) is provided with a rotating shaft (5), and the shaft hole (4) on the hook (3) matches the rotating shaft (5) on the handle (2).
CN2011201034469U 2011-04-01 2011-04-01 Door handle capable of hanging articles Expired - Fee Related CN202023410U (en)

Priority Applications (1)

Application Number Priority Date Filing Date Title
CN2011201034469U CN202023410U (en) 2011-04-01 2011-04-01 Door handle capable of hanging articles

Applications Claiming Priority (1)

Application Number Priority Date Filing Date Title
CN2011201034469U CN202023410U (en) 2011-04-01 2011-04-01 Door handle capable of hanging articles

Publications (1)

Publication Number Publication Date
CN202023410U true CN202023410U (en) 2011-11-02

Family

ID=44848363

Family Applications (1)

Application Number Title Priority Date Filing Date
CN2011201034469U Expired - Fee Related CN202023410U (en) 2011-04-01 2011-04-01 Door handle capable of hanging articles

Country Status (1)

Country Link
CN (1) CN202023410U (en)

Cited By (2)

* Cited by examiner, † Cited by third party
Publication number Priority date Publication date Assignee Title
CN106049988A (en) * 2016-08-08 2016-10-26 常熟市东方特种金属材料厂 Handle
CN106049986A (en) * 2016-06-27 2016-10-26 无锡迪奥机械有限公司 Doorknob with key hook

Cited By (2)

* Cited by examiner, † Cited by third party
Publication number Priority date Publication date Assignee Title
CN106049986A (en) * 2016-06-27 2016-10-26 无锡迪奥机械有限公司 Doorknob with key hook
CN106049988A (en) * 2016-08-08 2016-10-26 常熟市东方特种金属材料厂 Handle

Similar Documents

Publication Publication Date Title
CN203028859U (en) Suspension type chopstick
CN202023410U (en) Door handle capable of hanging articles
CN202312694U (en) Clothes hook with convenient disassembly and assembly
CN202375479U (en) Wardrobe with rotatable hanger
CN201384357Y (en) Portable clothes rack hook
CN202347925U (en) Novel doorknob
CN202325096U (en) Door capable of being converted into ping-pong table
CN202146182U (en) Simple wind resisting clothes hanger
CN202525573U (en) Novel embedded handle
CN202365166U (en) Table with mirror
CN201571882U (en) Simple coat hanger with storage function
CN201542328U (en) A new type of tray
CN205094127U (en) Multi -angle wall pastes couple
CN202112806U (en) Spoon with hook
CN102755077A (en) Multifunctional clothes rack
CN202173335U (en) a soap box
CN203244175U (en) Storage type wall painting frame
CN203153337U (en) Novel wind-proof and moisture-proof clothes rack
CN201963044U (en) Doorknob with hook
CN201929818U (en) Chopstick cage
CN201658253U (en) A pot lid with a hook
CN202139902U (en) Novel door knob
CN203152778U (en) Multifunctional draw-bar box
CN202589379U (en) Wall-mounted-type bath soap case
CN202609406U (en) Convenient rubbish collection basket

Legal Events

Date Code Title Description
C14 Grant of patent or utility model
GR01 Patent grant
C17 Cessation of patent right
CF01 Termination of patent right due to non-payment of annual fee

Granted publication date: 20111102

Termination date: 20120401