CN201921135U - Cup for taking traditional Chinese medicines - Google Patents

Cup for taking traditional Chinese medicines Download PDF

Info

Publication number
CN201921135U
CN201921135U CN2011200311286U CN201120031128U CN201921135U CN 201921135 U CN201921135 U CN 201921135U CN 2011200311286 U CN2011200311286 U CN 2011200311286U CN 201120031128 U CN201120031128 U CN 201120031128U CN 201921135 U CN201921135 U CN 201921135U
Authority
CN
China
Prior art keywords
cup
traditional chinese
chinese medicines
funnel
taking
Prior art date
Legal status (The legal status is an assumption and is not a legal conclusion. Google has not performed a legal analysis and makes no representation as to the accuracy of the status listed.)
Expired - Fee Related
Application number
CN2011200311286U
Other languages
Chinese (zh)
Inventor
李思祥
刘玉岭
Current Assignee (The listed assignees may be inaccurate. Google has not performed a legal analysis and makes no representation or warranty as to the accuracy of the list.)
Individual
Original Assignee
Individual
Priority date (The priority date is an assumption and is not a legal conclusion. Google has not performed a legal analysis and makes no representation as to the accuracy of the date listed.)
Filing date
Publication date
Application filed by Individual filed Critical Individual
Priority to CN2011200311286U priority Critical patent/CN201921135U/en
Application granted granted Critical
Publication of CN201921135U publication Critical patent/CN201921135U/en
Anticipated expiration legal-status Critical
Expired - Fee Related legal-status Critical Current

Links

Images

Landscapes

  • Filling Of Jars Or Cans And Processes For Cleaning And Sealing Jars (AREA)

Abstract

A cup for taking traditional Chinese medicines belongs to the technical field of medical appliances. The utility model adopts the technical scheme that the cup for taking the traditional Chinese medicines comprises a cup body and a cup lid, and is characterized in that a funnel is arranged on the cup lid, a filter screen is arranged in the funnel, and a thermometer is arranged at the lower part of the cup body. The cup for taking the traditional Chinese medicines has the benefits that the structure is simple, when the traditional Chinese medicines are taken, the temperature of the traditional Chinese medicines can be measured and dregs of a decoction can be filtered, and the work difficulty of medical staff is reduced.

Description

The Chinese medicine take medicine cup
Technical field: this utility model belongs to the medical instruments technical field, is a kind of Chinese medicine take medicine cup specifically.
Background technology: at present, clinically when taking traditional Chinese medicine employed in the common cup of medicine glass, this cup can not be measured the Chinese medicine temperature, more can not the medicinal residues in the Chinese medicine decoction be filtered, it is very inconvenient to use, and has increased work difficulty to the medical worker.
Summary of the invention: the purpose of this utility model provides a kind ofly can measure the Chinese medicine temperature when taking traditional Chinese medicine, and can filter the Chinese medicine take medicine cup of medicinal residues.
The technical solution of the utility model is: comprise cup and bowl cover, it is characterized in that being provided with funnel on bowl cover that be provided with drainage screen in the funnel, bowl cover has thermometer.
The beneficial effects of the utility model are: this utility model is simple in structure, can measure the Chinese medicine temperature when taking traditional Chinese medicine, and can filter medicinal residues, has alleviated medical worker's work difficulty.
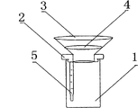
Description of drawings: accompanying drawing 1 is a structural representation of the present utility model.
Among the figure 1, cup, 2, bowl cover, 3, funnel, 4, drainage screen, 5, thermometer.
The specific embodiment: comprise cup 1 and bowl cover 2, it is characterized in that on bowl cover 2, being provided with funnel 3 that be provided with drainage screen 4 in the funnel 3, bowl cover 2 has thermometer 5.When taking traditional Chinese medicine, in funnel 3, fall Chinese medicine, drainage screen 4 filters medicinal residues, and thermometer 5 is measured temperature and is got final product.

Claims (1)

1. the Chinese medicine take medicine cup comprises cup (1) and bowl cover (2), it is characterized in that: be provided with funnel (3) on bowl cover (2), be provided with drainage screen (4) in the funnel (3), bowl cover (2) has thermometer (5).
CN2011200311286U 2011-01-21 2011-01-21 Cup for taking traditional Chinese medicines Expired - Fee Related CN201921135U (en)

Priority Applications (1)

Application Number Priority Date Filing Date Title
CN2011200311286U CN201921135U (en) 2011-01-21 2011-01-21 Cup for taking traditional Chinese medicines

Applications Claiming Priority (1)

Application Number Priority Date Filing Date Title
CN2011200311286U CN201921135U (en) 2011-01-21 2011-01-21 Cup for taking traditional Chinese medicines

Publications (1)

Publication Number Publication Date
CN201921135U true CN201921135U (en) 2011-08-10

Family

ID=44425010

Family Applications (1)

Application Number Title Priority Date Filing Date
CN2011200311286U Expired - Fee Related CN201921135U (en) 2011-01-21 2011-01-21 Cup for taking traditional Chinese medicines

Country Status (1)

Country Link
CN (1) CN201921135U (en)

Similar Documents

Publication Publication Date Title
CN201921135U (en) Cup for taking traditional Chinese medicines
CN202459373U (en) Chinese medicine taking device
CN202376464U (en) Chinese medicinal kettle
CN201996855U (en) Traditional Chinese medicine taking cup
CN201519304U (en) Novel Chinese medicine drinking cup
CN201578598U (en) Traditional Chinese medicine taking device
CN202437718U (en) Traditional Chinese medicine taking cup
CN202409533U (en) Traditional Chinese medicine taking cup
CN202355594U (en) Traditional Chinese medicine pot
CN202554495U (en) Multifunctional Chinese medicine taking cup
CN202982657U (en) Liquid medicine taking cup
CN202288868U (en) Filter for traditional Chinese medicine decoction
CN201906205U (en) Traditional Chinese medicine decocting device with purification function
CN202397827U (en) Multifunctional traditional Chinese medicine decocting device
CN203132882U (en) Novel urine collecting device
CN202027929U (en) Traditional Chinese medicine taking cup
CN202314406U (en) Traditional chinese medicine decocting filter
CN202974726U (en) Urine collecting device
CN202446498U (en) Traditional Chinese medicine filtering device for medicine taking
CN202859681U (en) Traditional Chinese medicine drinking cup
CN202376463U (en) Traditional Chinese medicine boiler
CN201618145U (en) Chinese medicinal herb decocting device
CN201930258U (en) Cup for taking traditional Chinese medicine
CN202654417U (en) Liquid medicine taking cup
CN203089913U (en) Traditional Chinese medicine taking cup

Legal Events

Date Code Title Description
C14 Grant of patent or utility model
GR01 Patent grant
C17 Cessation of patent right
CF01 Termination of patent right due to non-payment of annual fee

Granted publication date: 20110810

Termination date: 20120121