CN201618145U - Chinese medicinal herb decocting device - Google Patents
Chinese medicinal herb decocting device Download PDFInfo
- Publication number
- CN201618145U CN201618145U CN2010201247899U CN201020124789U CN201618145U CN 201618145 U CN201618145 U CN 201618145U CN 2010201247899 U CN2010201247899 U CN 2010201247899U CN 201020124789 U CN201020124789 U CN 201020124789U CN 201618145 U CN201618145 U CN 201618145U
- Authority
- CN
- China
- Prior art keywords
- chinese medicinal
- medicinal herb
- decocting device
- utility
- ceramic pot
- Prior art date
- Legal status (The legal status is an assumption and is not a legal conclusion. Google has not performed a legal analysis and makes no representation as to the accuracy of the status listed.)
- Expired - Fee Related
Links
- 239000003814 drug Substances 0.000 claims abstract description 16
- 239000000919 ceramic Substances 0.000 claims abstract description 15
- 229940079593 drug Drugs 0.000 claims description 4
- 235000008216 herbs Nutrition 0.000 claims description 4
- 239000007788 liquid Substances 0.000 abstract description 3
- 101100298222 Caenorhabditis elegans pot-1 gene Proteins 0.000 description 4
- 238000009835 boiling Methods 0.000 description 4
- 238000001914 filtration Methods 0.000 description 3
- 230000009286 beneficial effect Effects 0.000 description 1
- 239000012467 final product Substances 0.000 description 1
Images
Landscapes
- Medical Preparation Storing Or Oral Administration Devices (AREA)
Abstract
The utility model relates to a Chinese medicinal herb decocting device, which belongs to the technical field of the medical instrument. The utility model adopts the technical scheme that: the Chinese medicinal herb decocting device comprises a ceramic tank, a medicine pouring nozzle and a handle, and is characterized in that the bottom part of the ceramic tank is provided with an electric heat furnace, a supporting arm is arranged inside the ceramic tank, and the supporting arm is provided with a filter screen cylinder. The Chinese medicinal herb decocting device has simple structure, can automatic heat when decocting the Chinese medicinal herb for the patients, can filter the medicinal liquid, and can reduce the work difficulty of the medical personnel.
Description
Technical field: this utility model belongs to the medical instruments technical field, is that a kind of Chinese medicine is decocted medicinal herbs device specifically.
Background technology: at present, when boiling Chinese medicine to patient, use ceramic pot or teakettle mostly clinically, these apparatus all need to be placed on the stove to heat, and do not have the medical filtration facility, have increased great work difficulty to the medical worker.
Summary of the invention: the purpose of this utility model provides and a kind ofly can heat automatically when boiling Chinese medicine to patient, and Chinese medicine that can filtering liquid medicine is decocted medicinal herbs device.
The technical solution of the utility model is: comprise ceramic pot, drug outlet and handle, it is characterized in that being provided with muffle electric furnace in the ceramic pot bottom that be provided with support arm in the ceramic pot, support arm is provided with screen tube.
The beneficial effects of the utility model are: this utility model is simple in structure, when boiling Chinese medicine, can heat automatically to patient, and can filtering liquid medicine, alleviated medical worker's work difficulty.
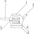
Description of drawings: accompanying drawing 1 is a structural representation of the present utility model.
Among the figure 1, ceramic pot, 2, drug outlet, 3, handle, 4, muffle electric furnace, 5, support arm, 6, screen tube.
The specific embodiment: comprise ceramic pot 1, drug outlet 2 and handle 3, it is characterized in that being provided with muffle electric furnace 4 that be provided with support arm 5 in the ceramic pot 1, support arm 5 is provided with screen tube 6 in ceramic pot 1 bottom.When boiling Chinese medicine to patient, Chinese medicine is put into ceramic pot 1, open muffle electric furnace 4 then and heat and get final product.
Claims (1)
1. Chinese medicine is decocted medicinal herbs device, comprises ceramic pot (1), drug outlet (2) and handle (3), it is characterized in that: be provided with muffle electric furnace (4) in ceramic pot (1) bottom, be provided with support arm (5) in the ceramic pot (1), support arm (5) is provided with screen tube (6).
Priority Applications (1)
| Application Number | Priority Date | Filing Date | Title |
|---|---|---|---|
| CN2010201247899U CN201618145U (en) | 2010-01-30 | 2010-01-30 | Chinese medicinal herb decocting device |
Applications Claiming Priority (1)
| Application Number | Priority Date | Filing Date | Title |
|---|---|---|---|
| CN2010201247899U CN201618145U (en) | 2010-01-30 | 2010-01-30 | Chinese medicinal herb decocting device |
Publications (1)
| Publication Number | Publication Date |
|---|---|
| CN201618145U true CN201618145U (en) | 2010-11-03 |
Family
ID=43021597
Family Applications (1)
| Application Number | Title | Priority Date | Filing Date |
|---|---|---|---|
| CN2010201247899U Expired - Fee Related CN201618145U (en) | 2010-01-30 | 2010-01-30 | Chinese medicinal herb decocting device |
Country Status (1)
| Country | Link |
|---|---|
| CN (1) | CN201618145U (en) |
-
2010
- 2010-01-30 CN CN2010201247899U patent/CN201618145U/en not_active Expired - Fee Related
Similar Documents
| Publication | Publication Date | Title |
|---|---|---|
| CN201618145U (en) | Chinese medicinal herb decocting device | |
| CN202376464U (en) | Chinese medicinal kettle | |
| CN202822134U (en) | Novel traditional Chinese medicine decocting pot | |
| CN202459373U (en) | Chinese medicine taking device | |
| CN202198837U (en) | Automatic medicine decocting device | |
| CN202355594U (en) | Traditional Chinese medicine pot | |
| CN202002314U (en) | Constant-temperature heater of bagged traditional Chinese medicinal soup | |
| CN201996848U (en) | Electronic traditional Chinese medicine decocting apparatus | |
| CN202437718U (en) | Traditional Chinese medicine taking cup | |
| CN202376463U (en) | Traditional Chinese medicine boiler | |
| CN201591839U (en) | Chinese traditional medicine boiling device | |
| CN202314406U (en) | Traditional chinese medicine decocting filter | |
| CN201921135U (en) | Cup for taking traditional Chinese medicines | |
| CN201578598U (en) | Traditional Chinese medicine taking device | |
| CN202409533U (en) | Traditional Chinese medicine taking cup | |
| CN202844135U (en) | Chinese medicine decocting device | |
| CN202288868U (en) | Filter for traditional Chinese medicine decoction | |
| CN201791091U (en) | Chinese medicament decoction drinking device | |
| CN202397827U (en) | Multifunctional traditional Chinese medicine decocting device | |
| CN201906205U (en) | Traditional Chinese medicine decocting device with purification function | |
| CN202605321U (en) | Chinese medicine decocting device | |
| CN202982657U (en) | Liquid medicine taking cup | |
| CN202446500U (en) | Cup for users to take traditional Chinese medicine | |
| CN203017391U (en) | Traditional chinese medicine decocting device | |
| CN202490187U (en) | Medicine decocting kettle |
Legal Events
| Date | Code | Title | Description |
|---|---|---|---|
| C14 | Grant of patent or utility model | ||
| GR01 | Patent grant | ||
| CF01 | Termination of patent right due to non-payment of annual fee | ||
| CF01 | Termination of patent right due to non-payment of annual fee |
Granted publication date: 20101103 Termination date: 20130130 |