CN201744200U - Cotton pulp deslagging device - Google Patents
Cotton pulp deslagging device Download PDFInfo
- Publication number
- CN201744200U CN201744200U CN2010202721882U CN201020272188U CN201744200U CN 201744200 U CN201744200 U CN 201744200U CN 2010202721882 U CN2010202721882 U CN 2010202721882U CN 201020272188 U CN201020272188 U CN 201020272188U CN 201744200 U CN201744200 U CN 201744200U
- Authority
- CN
- China
- Prior art keywords
- pulp
- deslagging
- pump
- glass
- removes
- Prior art date
- Legal status (The legal status is an assumption and is not a legal conclusion. Google has not performed a legal analysis and makes no representation as to the accuracy of the status listed.)
- Expired - Fee Related
Links
- 229920000742 Cotton Polymers 0.000 title claims abstract description 22
- 239000002893 slag Substances 0.000 claims abstract description 26
- 239000011521 glass Substances 0.000 claims abstract description 21
- 238000010790 dilution Methods 0.000 claims abstract description 19
- 239000012895 dilution Substances 0.000 claims abstract description 19
- 239000002002 slurry Substances 0.000 claims description 21
- 239000013049 sediment Substances 0.000 claims description 14
- 239000004570 mortar (masonry) Substances 0.000 claims description 10
- 239000011440 grout Substances 0.000 claims description 6
- 238000004519 manufacturing process Methods 0.000 abstract description 11
- 238000004064 recycling Methods 0.000 abstract description 4
- XLYOFNOQVPJJNP-UHFFFAOYSA-N water Substances O XLYOFNOQVPJJNP-UHFFFAOYSA-N 0.000 abstract description 2
- 230000007613 environmental effect Effects 0.000 abstract 1
- 108010063955 thrombin receptor peptide (42-47) Proteins 0.000 description 5
- 238000011010 flushing procedure Methods 0.000 description 2
- 238000000926 separation method Methods 0.000 description 2
- 229920002472 Starch Polymers 0.000 description 1
- 238000007599 discharging Methods 0.000 description 1
- 230000000694 effects Effects 0.000 description 1
- 238000005516 engineering process Methods 0.000 description 1
- 238000003912 environmental pollution Methods 0.000 description 1
- 238000001914 filtration Methods 0.000 description 1
- 238000000034 method Methods 0.000 description 1
- 239000002994 raw material Substances 0.000 description 1
- 235000019698 starch Nutrition 0.000 description 1
- 239000008107 starch Substances 0.000 description 1
- 239000002699 waste material Substances 0.000 description 1
Images
Landscapes
- Paper (AREA)
Abstract
The utility model relates to a cotton pulp deslagging device, comprising an original pulp chest, a pulp conveying pipe and a glass deslagging device, wherein the original pulp chest is connected with a primary deslagging pump at the bottom, the other end of the primary deslagging pump is connected with the glass deslagging device through the pulp conveying pipe, a pulp outlet of the glass deslagging device is connected with an acceptable pulp pipe, a slag outlet of the glass deslagging device is communicated to a dilution tank, the side wall of the dilution tank is provided with a water feed pipe, the bottom of the dilution tank is connected with a secondary deslagging pump, the other end of the secondary deslagging pump is connected with a conical deslagging bucket through the pulp conveying pipe, the pump outlet of the conical deslagging bucket is connected with a conveying pipe leading to the original pump chest, and the bottom end of the conical deslaging bucket is connected with a sedimenting tank. The utility model is reasonable in structure, and by means of the combinational use of multiple groups of deslagging pumps and the deslagging device, the slag pulp subjected to deslagging can be diluted and deslagged once again for recycling, therefore, production resources can be effectively saved, product quality and production efficiency can be improved, and the environmental is not polluted. The utility model is simple to operation, convenient to use and suitable for popularization and application.
Description
Technical field
The utility model relates to a kind of deslagging device, especially a kind of cotton pulp deslagging device that is used for battery separator production.
Background technology
In a lot of raw material deep-processing process, be extensive use of the separation equipment that pulp water is separated at present, in battery separator production, also be useful on the separation equipment of cotton pulp slagging-off.These equipment mainly are to utilize delivery pump that the magma in first wife's stock tank is delivered to the glass scummer at present, carry out processing and forming with regard to directly flowing to make-up machine then.This equipment discharging is fast, but waste huge, also have the part slag to starch the utilization that to remove the gred again in the slag slurry after the slagging-off of glass scummer, and only also can be mingled with some cotton slags in the good cotton pulp through once slagging-off, can directly influence the quality of battery separator.At present, also be not used in the cotton pulp deslagging device that can repeatedly remove the gred in the battery separator production on the market, also not having can be to the choosing of the slag pulp screen after the slagging-off cotton pulp deslagging device of utilization again.
Summary of the invention
The utility model will solve the shortcoming of above-mentioned prior art, and providing a kind of can carry out the multiple times of filtration slagging-off and can screen the cotton pulp deslagging device that slagging-off once more utilizes again to the slag slurry cotton pulp, saves the resources of production, satisfies the production demand.
The utility model solves the technical scheme that its technical problem adopts: this cotton pulp deslagging device, comprise first wife's stock tank, feed pipe for mortar, the glass scummer, first wife's stock tank bottom is connected with one-level and removes pulp pump, the other end that one-level is removed pulp pump is connected with the glass scummer by feed pipe for mortar, the grout outlet of glass scummer is connected to good slurry pipe, the slag notch of glass scummer leads to dilution trap, the dilution trap sidewall is provided with feed pipe, the dilution trap bottom is connected with secondary and removes pulp pump, the other end that secondary removes pulp pump is connected except that inder pot by feed pipe for mortar and taper, taper removes on the grout outlet of inder pot and is connected to the carrier pipe that leads to first wife's stock tank, and the bottom that taper removes inder pot is connected with the sediment jar.Like this, when each delivery pump is started working, magma in first wife's stock tank is transported to the glass scummer and carries out the secondary slagging-off after one-level once removes the gred except that pulp pump, good slurry after slagging-off just can be delivered directly on the make-up machine by good slurry pipe and use, also have part to recycle in the left slag slurry, the slag slurry is discharged to and flows to secondary in the dilution trap except that the pulp pump slagging-off after dilution, cotton pulp after secondary removes the pulp pump slagging-off is transported to taper and removes the gred once more except that inder pot, at this moment the cotton pulp that comes out except that inder pot from taper is exactly good slurry of separating once more from the slag slurry, and these good slurries are transported to first wife's stock tank by carrier pipe and carry out recycling.
Further, sediment jar bottom is provided with and lets out the slag door.Taper removes between inder pot and the sediment jar and is provided with butterfly valve.Can conveniently control like this and let out slag.Taper removes inder pot, the sediment jar all is connected with feed pipe by arm, and convenient dilution and flushing are equipped with valve, Pressure gauge on each arm.Taper removes the inder pot top and is provided with Pressure gauge.Can grasp pressure data, convenient and safe production at any time like this.
The effect that the utility model is useful is: of the present utility model rational in infrastructure, remove being used in combination of pulp pump and scummer by many groups, make the slag slurry after slagging-off can dilute the slagging-off recycling once more, can effectively save the resources of production like this, improve product quality and production efficiency, and free from environmental pollution.This uses novel simple to operate, and convenient the use is fit to apply.
Description of drawings
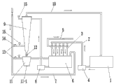
Fig. 1 is a structural representation of the present utility model.
Description of reference numerals: first wife's stock tank 1, feed pipe for mortar 2, glass scummer 3, slag notch 3-1, one-level are removed pulp pump 4, very slurry pipe 5, dilution trap 6, feed pipe 7, secondary remove pulp pump 8, taper removes inder pot 9, carrier pipe 10, sediment jar 11, lets out slag door 11-1, butterfly valve 12, arm 13, valve 14, Pressure gauge 15.
The specific embodiment
The utility model is described in further detail below in conjunction with accompanying drawing:
With reference to accompanying drawing: this cotton pulp deslagging device in the present embodiment, comprise first wife's stock tank 1, feed pipe for mortar 2, glass scummer 3, first wife's stock tank 1 bottom is connected with one-level and removes pulp pump 4, the other end that one-level is removed pulp pump 4 is connected with glass scummer 3 by feed pipe for mortar 2, the grout outlet of glass scummer 3 is connected to good slurry pipe 5, the slag notch 3-1 of glass scummer 3 leads to dilution trap 6, dilution trap 6 sidewalls are provided with feed pipe 7, dilution trap 6 bottoms are connected with secondary and remove pulp pump 8, the other end that secondary removes pulp pump 8 is connected except that inder pot 9 by feed pipe for mortar 2 and taper, taper removes on the grout outlet of inder pot 9 and is connected to the carrier pipe 10 that leads to first wife's stock tank 1, and the bottom that taper removes inder pot 9 is connected with sediment jar 11.Sediment jar 11 bottoms are provided with lets out slag door 11-1.Taper removes between inder pot 9 and the sediment jar 11 and is provided with butterfly valve 12.Can conveniently control like this and let out slag.Taper removes inder pot 9, sediment jar 11 all is connected with feed pipe 7 by arm 13, and convenient dilution and flushing are equipped with valve 14, Pressure gauge 15 on each arm 13.Taper removes inder pot 9 tops and is provided with Pressure gauge 15.Can grasp pressure data, convenient and safe production at any time like this.
The workflow that this use is novel: when each delivery pump is started working, magma in first wife's stock tank 1 is transported to glass scummer 3 and carries out the secondary slagging-off after one-level once removes the gred except that pulp pump 4, good slurry after slagging-off just can be delivered directly on the make-up machine by good slurry pipe 5 and use, also have part to recycle in the left slag slurry, the slag slurry is discharged to and flows to secondary in the dilution trap 6 except that pulp pump 8 slagging-off after dilution, cotton pulp after secondary removes pulp pump 8 slagging-off is transported to taper and removes the gred once more except that inder pot 9, at this moment the cotton pulp that comes out except that inder pot 9 from taper is exactly good slurry of separating once more from the slag slurry, and these good slurries are transported to first wife's stock tank 1 by carrier pipe 10 and carry out recycling.The slag that slagging-off at last is left is got rid of from the slag door 11-1 that lets out of sediment jar 11.
Though the utility model illustrates and describes by the reference preferred embodiment,, those skilled in the art should understand, and in the scope of claims, can do the various variation on form and the details.
Claims (5)
1. cotton pulp deslagging device, comprise first wife's stock tank (1), feed pipe for mortar (2), glass scummer (3), it is characterized in that: described first wife's stock tank (1) bottom is connected with one-level and removes pulp pump (4), the other end that described one-level is removed pulp pump (4) is connected with glass scummer (3) by feed pipe for mortar (2), the grout outlet of described glass scummer (3) is connected to good slurry pipe (5), the slag notch (3-1) of described glass scummer (3) leads to dilution trap (6), described dilution trap (6) sidewall is provided with feed pipe (7), described dilution trap (6) bottom is connected with secondary and removes pulp pump (8), the other end that described secondary removes pulp pump (8) is connected except that inder pot (9) by feed pipe for mortar (2) and taper, described taper removes on the grout outlet of inder pot (9) and is connected to the carrier pipe (10) that leads to first wife's stock tank (1), and the bottom that described taper removes inder pot (9) is connected with sediment jar (11).
2. cotton pulp deslagging device according to claim 1 is characterized in that: described sediment jar (11) bottom is provided with lets out slag door (11-1).
3. cotton pulp deslagging device according to claim 1 is characterized in that: described taper removes between inder pot (9) and the sediment jar (11) and is provided with butterfly valve (12).
4. cotton pulp deslagging device according to claim 1, it is characterized in that: described taper removes inder pot (9), sediment jar (11) all is connected with feed pipe (7) by arm (13), is equipped with valve (14), Pressure gauge (15) on described each arm (13).
5. cotton pulp deslagging device according to claim 1 is characterized in that: described taper removes inder pot (9) top and is provided with Pressure gauge (15).
Priority Applications (1)
| Application Number | Priority Date | Filing Date | Title |
|---|---|---|---|
| CN2010202721882U CN201744200U (en) | 2010-07-27 | 2010-07-27 | Cotton pulp deslagging device |
Applications Claiming Priority (1)
| Application Number | Priority Date | Filing Date | Title |
|---|---|---|---|
| CN2010202721882U CN201744200U (en) | 2010-07-27 | 2010-07-27 | Cotton pulp deslagging device |
Publications (1)
| Publication Number | Publication Date |
|---|---|
| CN201744200U true CN201744200U (en) | 2011-02-16 |
Family
ID=43578873
Family Applications (1)
| Application Number | Title | Priority Date | Filing Date |
|---|---|---|---|
| CN2010202721882U Expired - Fee Related CN201744200U (en) | 2010-07-27 | 2010-07-27 | Cotton pulp deslagging device |
Country Status (1)
| Country | Link |
|---|---|
| CN (1) | CN201744200U (en) |
Cited By (3)
| Publication number | Priority date | Publication date | Assignee | Title |
|---|---|---|---|---|
| CN102330377A (en) * | 2011-07-13 | 2012-01-25 | 苏州维艾普新材料有限公司 | High-efficiency circulating deslagging device and deslagging method thereof |
| CN104003493A (en) * | 2014-06-09 | 2014-08-27 | 机械工业第四设计研究院有限公司 | Novel circulating water slag removal system |
| CN107362593A (en) * | 2017-08-02 | 2017-11-21 | 上海中芬新能源投资有限公司 | Slurries weight particulate matter ON-LINE SEPARATION device for wet method fume desulfurizing system |
-
2010
- 2010-07-27 CN CN2010202721882U patent/CN201744200U/en not_active Expired - Fee Related
Cited By (4)
| Publication number | Priority date | Publication date | Assignee | Title |
|---|---|---|---|---|
| CN102330377A (en) * | 2011-07-13 | 2012-01-25 | 苏州维艾普新材料有限公司 | High-efficiency circulating deslagging device and deslagging method thereof |
| CN104003493A (en) * | 2014-06-09 | 2014-08-27 | 机械工业第四设计研究院有限公司 | Novel circulating water slag removal system |
| CN107362593A (en) * | 2017-08-02 | 2017-11-21 | 上海中芬新能源投资有限公司 | Slurries weight particulate matter ON-LINE SEPARATION device for wet method fume desulfurizing system |
| CN107362593B (en) * | 2017-08-02 | 2019-12-27 | 上海中芬新能源投资有限公司 | Slurry heavy particulate matter online separation device for wet flue gas desulfurization system |
Similar Documents
| Publication | Publication Date | Title |
|---|---|---|
| CN203862376U (en) | Gravel washing, recovering and dewatering all-in-one machine | |
| CN201744200U (en) | Cotton pulp deslagging device | |
| CN206368223U (en) | Secondary waste glue recovery system for viscose production | |
| CN102642854B (en) | Treatment method of red mud in Bayer process production flow of aluminum oxide | |
| CN204933663U (en) | A kind of tailings disposal plant | |
| CN202263485U (en) | Ceramic filter grading dehydration system | |
| CN203874889U (en) | Device for extracting mineral products from river sand | |
| CN202860267U (en) | Terminal dewatering system device for long-distance pipeline coal conveying | |
| CN202542892U (en) | Settling tank for solid-liquid separation | |
| CN103357494A (en) | High efficiency and low energy consumption fine sand recovering device | |
| CN210546982U (en) | Causticized slag recovery processing device | |
| CN102380255B (en) | Graded dehydration system and method of ceramic filter | |
| CN203355861U (en) | High-efficient low-consumption fine sand recycling device | |
| CN105312003A (en) | Terminal coal slurry dehydration and fine-grinding combined slurry production device and terminal coal slurry dehydration and fine-grinding combined slurry production method of long-distance pipeline | |
| CN203663993U (en) | Skid-mounted coal preparation integrated device | |
| CN203370386U (en) | Solid-liquid separation equipment for tailings | |
| CN201686890U (en) | Paper pulp recovering device used in the process of treatment of paper-making wastewater | |
| CN202595553U (en) | Recovery system of papermaking off-machine water fine fibers | |
| CN202924843U (en) | Waste sludge and waste water automatic separation, recovery and reutilization device | |
| CN210710772U (en) | Filler kaolin production line for FCC catalyst | |
| CN202061701U (en) | Material-passing magnetic separation device of magnetic separator | |
| CN207722425U (en) | Pulp-water processing system and sandstone sewage disposal system | |
| CN206897632U (en) | A kind of carbide slag liquid processing device | |
| CN205461369U (en) | Tailing dry emission system | |
| CN203763997U (en) | Dissolved liquid settling separation washing equipment |
Legal Events
| Date | Code | Title | Description |
|---|---|---|---|
| C14 | Grant of patent or utility model | ||
| GR01 | Patent grant | ||
| CF01 | Termination of patent right due to non-payment of annual fee |
Granted publication date: 20110216 Termination date: 20180727 |
|
| CF01 | Termination of patent right due to non-payment of annual fee |