CN201395498Y - Maintenance cranes for large wind turbines - Google Patents
Maintenance cranes for large wind turbines Download PDFInfo
- Publication number
- CN201395498Y CN201395498Y CN2008202338309U CN200820233830U CN201395498Y CN 201395498 Y CN201395498 Y CN 201395498Y CN 2008202338309 U CN2008202338309 U CN 2008202338309U CN 200820233830 U CN200820233830 U CN 200820233830U CN 201395498 Y CN201395498 Y CN 201395498Y
- Authority
- CN
- China
- Prior art keywords
- crane
- wind turbines
- scale wind
- hoist
- maintenance
- Prior art date
- Legal status (The legal status is an assumption and is not a legal conclusion. Google has not performed a legal analysis and makes no representation as to the accuracy of the status listed.)
- Expired - Lifetime
Links
- 238000012423 maintenance Methods 0.000 title claims abstract description 20
- 229910000831 Steel Inorganic materials 0.000 claims description 6
- 239000010959 steel Substances 0.000 claims description 6
- 239000003638 chemical reducing agent Substances 0.000 abstract 1
- 238000010586 diagram Methods 0.000 description 1
- 230000007246 mechanism Effects 0.000 description 1
- 238000000034 method Methods 0.000 description 1
- 239000000725 suspension Substances 0.000 description 1
Images
Classifications
-
- Y—GENERAL TAGGING OF NEW TECHNOLOGICAL DEVELOPMENTS; GENERAL TAGGING OF CROSS-SECTIONAL TECHNOLOGIES SPANNING OVER SEVERAL SECTIONS OF THE IPC; TECHNICAL SUBJECTS COVERED BY FORMER USPC CROSS-REFERENCE ART COLLECTIONS [XRACs] AND DIGESTS
- Y02—TECHNOLOGIES OR APPLICATIONS FOR MITIGATION OR ADAPTATION AGAINST CLIMATE CHANGE
- Y02E—REDUCTION OF GREENHOUSE GAS [GHG] EMISSIONS, RELATED TO ENERGY GENERATION, TRANSMISSION OR DISTRIBUTION
- Y02E10/00—Energy generation through renewable energy sources
- Y02E10/70—Wind energy
- Y02E10/72—Wind turbines with rotation axis in wind direction
Landscapes
- Wind Motors (AREA)
Abstract
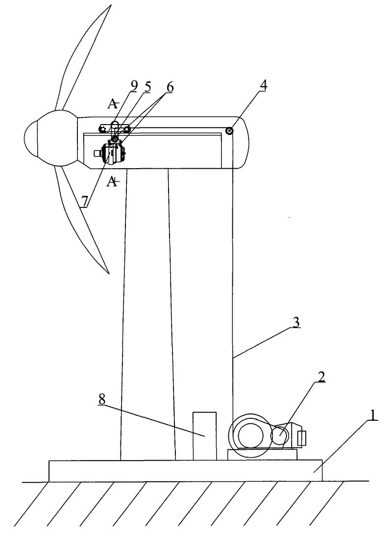
本实用新型公开了一种用于大型风力发电机组的维修吊车,其包括有控制装置、设在机舱内部的行车、增速滑轮组、用于连接固定维修部件的吊具及设在风力发电机组基础平台上由所述控制装置控制的卷扬机,所述增速滑轮组与所述卷扬机之间由绕过设在所述机舱内部的引导滑轮的钢丝绳连接,所述增速滑轮组安装在所述行车上,同时与所述吊具连接。该吊车能将机舱内部的大型零部件(叶片、增速机、发电机等)吊至基础平台上或从基础平台吊入机舱内部,通过改变滑轮组的倍率和钢丝绳缠绕方式并配合适当的吊具,能够满足大型风力发电机组机舱内部所有零部件的吊装,具有便捷高效、费用相对低廉的优点。
The utility model discloses a maintenance crane for a large-scale wind power generating set, which comprises a control device, a crane arranged inside the engine room, a speed-increasing pulley block, a hanger for connecting fixed maintenance parts, and a crane set on the foundation of the wind power generating set. The hoist controlled by the control device on the platform, the speed-increasing pulley block and the hoist are connected by a wire rope bypassing the guide pulley inside the cabin, the speed-increasing pulley block is installed on the crane, At the same time, it is connected with the spreader. The crane can hoist large parts (blades, speed reducers, generators, etc.) inside the nacelle to the foundation platform or hoist them into the nacelle from the foundation platform. , which can meet the hoisting of all parts inside the nacelle of large-scale wind turbines, and has the advantages of convenience, high efficiency and relatively low cost.
Description
Claims (4)
Priority Applications (1)
| Application Number | Priority Date | Filing Date | Title |
|---|---|---|---|
| CN2008202338309U CN201395498Y (en) | 2008-12-24 | 2008-12-24 | Maintenance cranes for large wind turbines |
Applications Claiming Priority (1)
| Application Number | Priority Date | Filing Date | Title |
|---|---|---|---|
| CN2008202338309U CN201395498Y (en) | 2008-12-24 | 2008-12-24 | Maintenance cranes for large wind turbines |
Publications (1)
| Publication Number | Publication Date |
|---|---|
| CN201395498Y true CN201395498Y (en) | 2010-02-03 |
Family
ID=41618000
Family Applications (1)
| Application Number | Title | Priority Date | Filing Date |
|---|---|---|---|
| CN2008202338309U Expired - Lifetime CN201395498Y (en) | 2008-12-24 | 2008-12-24 | Maintenance cranes for large wind turbines |
Country Status (1)
| Country | Link |
|---|---|
| CN (1) | CN201395498Y (en) |
Cited By (4)
| Publication number | Priority date | Publication date | Assignee | Title |
|---|---|---|---|---|
| CN104045004A (en) * | 2013-03-12 | 2014-09-17 | 上海电气风能有限公司 | Assembly-type crane used for wind generating set |
| CN107882682A (en) * | 2017-06-06 | 2018-04-06 | 周桑雨 | A kind of Liftable type wind power generation plant |
| CN108862050A (en) * | 2018-06-26 | 2018-11-23 | 江苏金风科技有限公司 | More changing device |
| CN111847216A (en) * | 2019-04-30 | 2020-10-30 | 上海电气风电集团股份有限公司 | Part hoisting system and method suitable for floating type offshore wind turbine generator system |
-
2008
- 2008-12-24 CN CN2008202338309U patent/CN201395498Y/en not_active Expired - Lifetime
Cited By (4)
| Publication number | Priority date | Publication date | Assignee | Title |
|---|---|---|---|---|
| CN104045004A (en) * | 2013-03-12 | 2014-09-17 | 上海电气风能有限公司 | Assembly-type crane used for wind generating set |
| CN107882682A (en) * | 2017-06-06 | 2018-04-06 | 周桑雨 | A kind of Liftable type wind power generation plant |
| CN108862050A (en) * | 2018-06-26 | 2018-11-23 | 江苏金风科技有限公司 | More changing device |
| CN111847216A (en) * | 2019-04-30 | 2020-10-30 | 上海电气风电集团股份有限公司 | Part hoisting system and method suitable for floating type offshore wind turbine generator system |
Similar Documents
| Publication | Publication Date | Title |
|---|---|---|
| CN102795555B (en) | Large slalom crane for offshore platform | |
| CN104120913B (en) | Double-rocker-arm electric control rotation derrick | |
| CN202415019U (en) | Rapidly erected tire type crane | |
| CN201395498Y (en) | Maintenance cranes for large wind turbines | |
| CN201199661Y (en) | Parallel dnockout core holder for rotor | |
| CN102515035A (en) | Maintenance hoisting equipment for wind generation set | |
| CN202766146U (en) | Large pile circling type offshore platform crane | |
| CN203699762U (en) | Concealed frequency conversion hoisting mechanism | |
| CN202545121U (en) | Wind generating set with crane | |
| CN206720617U (en) | The high rotating speed energy-storage booster of crane and lifting mechanism | |
| CN203451107U (en) | Self-lifting type wind generating set crane | |
| CN208700331U (en) | A kind of cable unwinding device | |
| CN2698761Y (en) | Portable crane | |
| CN207175154U (en) | A kind of elevator with energy back | |
| CN201343379Y (en) | Crane used for maintenance of large-size wind power equipment | |
| CN203284098U (en) | Disassembled and assembled part self-lifting device for tower crane | |
| CN104355241A (en) | Multifunctional high-altitude operation crane for overhauling and maintaining wind power generator | |
| CN203699765U (en) | Concealed winch reduction gear | |
| CN103588131B (en) | Eight-point synchronous automatic lifting maintenance platform | |
| CN2761563Y (en) | Special crane for extra-high, banding, autolifting type wind power generator | |
| CN203767917U (en) | Pulley mechanism of hoisting machinery | |
| CN101224855B (en) | Crane used for maintenance of large-scale wind power equipment | |
| CN210620063U (en) | Hoisting device for transporting goods from fan cabin | |
| CN203820346U (en) | Tower weight lifting machine | |
| CN202529738U (en) | Special lifting machine for wind power |
Legal Events
| Date | Code | Title | Description |
|---|---|---|---|
| C14 | Grant of patent or utility model | ||
| GR01 | Patent grant | ||
| C56 | Change in the name or address of the patentee |
Owner name: HUARUI WIND POWER TECHNOLOGY (GROUP) CO., LTD. Free format text: FORMER NAME: HUARUI WIND POWER TECHNOLOGY CO., LTD. |
|
| CP01 | Change in the name or title of a patent holder |
Address after: 100872, 19 floor, building 59, Zhongguancun Avenue, Beijing, Haidian District Patentee after: Sinovel Polytron Technologies Inc. Address before: 100872, 19 floor, building 59, Zhongguancun Avenue, Beijing, Haidian District Patentee before: SINOVEL WIND Co.,Ltd. |
|
| CP03 | Change of name, title or address |
Address after: 100872, room 7, building 59, 705 Zhongguancun street, Haidian District, Beijing Patentee after: SINOVEL WIND GROUP Co.,Ltd. Address before: 100872, 19 floor, building 59, Zhongguancun Avenue, Beijing, Haidian District Patentee before: Sinovel Polytron Technologies Inc. |
|
| CX01 | Expiry of patent term | ||
| CX01 | Expiry of patent term |
Granted publication date: 20100203 |
