CN201366382Y - Cyclone separator with orifice plate exhaust structure - Google Patents
Cyclone separator with orifice plate exhaust structure Download PDFInfo
- Publication number
- CN201366382Y CN201366382Y CNU2009200181410U CN200920018141U CN201366382Y CN 201366382 Y CN201366382 Y CN 201366382Y CN U2009200181410 U CNU2009200181410 U CN U2009200181410U CN 200920018141 U CN200920018141 U CN 200920018141U CN 201366382 Y CN201366382 Y CN 201366382Y
- Authority
- CN
- China
- Prior art keywords
- pipe
- orifice plate
- separation
- exhaust pipe
- cyclone separator
- Prior art date
- Legal status (The legal status is an assumption and is not a legal conclusion. Google has not performed a legal analysis and makes no representation as to the accuracy of the status listed.)
- Expired - Fee Related
Links
Images
Classifications
-
- Y—GENERAL TAGGING OF NEW TECHNOLOGICAL DEVELOPMENTS; GENERAL TAGGING OF CROSS-SECTIONAL TECHNOLOGIES SPANNING OVER SEVERAL SECTIONS OF THE IPC; TECHNICAL SUBJECTS COVERED BY FORMER USPC CROSS-REFERENCE ART COLLECTIONS [XRACs] AND DIGESTS
- Y02—TECHNOLOGIES OR APPLICATIONS FOR MITIGATION OR ADAPTATION AGAINST CLIMATE CHANGE
- Y02A—TECHNOLOGIES FOR ADAPTATION TO CLIMATE CHANGE
- Y02A50/00—TECHNOLOGIES FOR ADAPTATION TO CLIMATE CHANGE in human health protection, e.g. against extreme weather
- Y02A50/20—Air quality improvement or preservation, e.g. vehicle emission control or emission reduction by using catalytic converters
- Y02A50/2351—Atmospheric particulate matter [PM], e.g. carbon smoke microparticles, smog, aerosol particles, dust
Landscapes
- Cyclones (AREA)
Abstract
本实用新型一种带有孔板排气结构的旋风分离器,包括导向器,分离管,排气管和灰斗。排气管下端口设有连为一体的孔板,在孔板上均匀的设有小孔;排气管下部同轴深入到分离管内的上部,排气管与分离管之间为同轴安装在排气管上的导向器,导向器上面若干个沿圆周方向均匀排列的导向叶片与分离管内壁形成使气流转向的流道。分离管下端设有连为一体的圆弧锥段并封闭安装在灰斗中。本实用新型具有分离效率高、压降小、能耗低的优点,既可单独使用,也可组成多管旋风分离器,可广泛的应用于石油化工高温烟气的除尘,净化与固体颗粒的回收,也可应用于煤气化,塑料、轻工和冶金等工业部门。
The utility model relates to a cyclone separator with an orifice exhaust structure, comprising a guide, a separation pipe, an exhaust pipe and an ash hopper. The lower port of the exhaust pipe is provided with a connected orifice plate, and small holes are uniformly arranged on the orifice plate; the lower part of the exhaust pipe is coaxially penetrated into the upper part of the separation pipe, and the exhaust pipe and the separation pipe are installed coaxially On the guider on the exhaust pipe, several guide vanes evenly arranged in the circumferential direction on the guider and the inner wall of the separation pipe form a flow channel for turning the airflow. The lower end of the separation pipe is provided with a connected circular arc cone section and is sealed and installed in the ash hopper. The utility model has the advantages of high separation efficiency, small pressure drop, and low energy consumption. It can be used alone or form a multi-pipe cyclone separator, and can be widely used in dust removal of high-temperature flue gas in petrochemical industry, purification and solid particle separation. Recycling can also be applied to industrial sectors such as coal gasification, plastics, light industry and metallurgy.
Description
技术领域 technical field
本实用新型涉及一种带有孔板排气结构的旋风分离器,属于利用离心力的作用来分离气体中粉尘的装置。The utility model relates to a cyclone separator with an orifice exhaust structure, which belongs to a device for separating dust in gas by using centrifugal force.
背景技术 Background technique
现在通用的轴向进气的旋风分离器由导向器,分离管,排气管及灰斗等组成。排气管下部同轴深入到分离管内的上部,排气管与分离管之间为同轴安装在排气管上的导向器,导向器上面若干个沿圆周方向均匀排列的导向叶片与分离管内壁形成使气流转向的流道。分离管的下部封闭安装在灰斗中。在工业应用过程中普遍存在的问题是旋风分离器出口局部区域气流存在高湍流脉动与强烈二次涡运动现象,由此造成旋风分离器操作弹性差,压降大,能耗高,严重阻碍了企业的节能增效。The current general axial air intake cyclone separator is composed of a guide, a separation pipe, an exhaust pipe and an ash hopper. The lower part of the exhaust pipe goes deep into the upper part of the separation pipe coaxially. There is a guide coaxially installed on the exhaust pipe between the exhaust pipe and the separation pipe. Several guide vanes evenly arranged in the circumferential direction on the guide are connected to the inside of the separation pipe. The walls form flow channels that divert the airflow. The lower part of the separation pipe is closed and installed in the ash hopper. The common problem in the process of industrial application is that there are high turbulent pulsation and strong secondary vortex motion in the airflow in the local area of the cyclone separator outlet, which results in poor operating flexibility of the cyclone separator, large pressure drop, and high energy consumption, which seriously hinders the development of the cyclone separator. Enterprise energy saving and efficiency enhancement.
实用新型内容Utility model content
本实用新型要解决的技术问题是提供一种分离效率高、压降小、能耗低的带有孔板排气结构的旋风分离器。The technical problem to be solved by the utility model is to provide a cyclone separator with an orifice exhaust structure with high separation efficiency, small pressure drop and low energy consumption.
本实用新型一种带有孔板排气结构的旋风分离器,包括导向器、分离管和排气管,排气管下端口设有连为一体的孔板,在孔板上均匀的设有小孔;分离管下端设有连为一体的圆弧锥段。The utility model is a cyclone separator with an orifice exhaust structure, which includes a guide, a separation pipe and an exhaust pipe. The lower port of the exhaust pipe is provided with an orifice plate connected as a whole, and the orifice plate is uniformly arranged A small hole; the lower end of the separation tube is provided with a connected circular arc cone section.
本实用新型一种带有孔板排气结构的旋风分离器,其中孔板高度为排气管内径的0.05~4倍;孔板上开小孔的截面形状为圆形、正方形和椭圆形;小孔的角度θ为0°~45°,θ为小孔的中心轴线与排气管中心轴线之间的夹角;小孔总面积为排气管内径面积的30%~80%。The utility model is a cyclone separator with an orifice plate exhaust structure, wherein the height of the orifice plate is 0.05 to 4 times the inner diameter of the exhaust pipe; the cross-sectional shape of the small hole on the orifice plate is circular, square or elliptical; The angle θ of the small hole is 0°-45°, θ is the angle between the central axis of the small hole and the central axis of the exhaust pipe; the total area of the small holes is 30%-80% of the inner diameter area of the exhaust pipe.
本实用新型一种带有孔板排气结构的旋风分离器,其中圆弧锥段的高度是分离管内直径的0.6~0.9倍;圆弧半径是分离管内直径的1.3~1.6倍;圆弧锥段下端口内直径是分离管内直径的0.5~0.7倍,是排气管内直径的0.9~1.2倍。The utility model is a cyclone separator with an orifice exhaust structure, wherein the height of the arc cone section is 0.6 to 0.9 times the inner diameter of the separation pipe; the radius of the arc is 1.3 to 1.6 times the inner diameter of the separation pipe; The inner diameter of the lower port is 0.5 to 0.7 times the inner diameter of the separation pipe, and 0.9 to 1.2 times the inner diameter of the exhaust pipe.
本实用新型一种带有孔板排气结构的旋风分离器的优点及积极效果在于:在排气管下端口安装孔板结构,这样根据开孔数目将从排气管下端口进入的气流由一股变成多股,增强了对出口局部区域气流的高湍流脉动与强烈二次涡运动的抑制能力,大幅度降低了旋风管压降与能耗;孔板开孔面积及开孔角度的变化,可以调节多股气流之间的相互作用,减弱排气管内气流的旋转动能损失,进一步降低旋风管的压降;排气管入口的孔板使排气流通面积减小,增大了旋风管内气流的旋转强度,延长了颗粒在旋风管内被分离的时间,提高了旋风管的分离效率。The advantages and positive effects of the cyclone separator with an orifice exhaust structure of the utility model are: the orifice structure is installed at the lower port of the exhaust pipe, so that the airflow entering from the lower port of the exhaust pipe is separated by the number of openings. One strand becomes multiple strands, which enhances the ability to suppress the high turbulent pulsation and strong secondary vortex motion of the airflow in the local area of the outlet, and greatly reduces the pressure drop and energy consumption of the cyclone tube; the opening area of the orifice plate and the opening angle Changes can adjust the interaction between multiple airflows, weaken the loss of rotational kinetic energy of the airflow in the exhaust pipe, and further reduce the pressure drop of the cyclone pipe; the orifice plate at the entrance of the exhaust pipe reduces the exhaust flow area and increases the cyclone The rotation strength of the airflow in the tube prolongs the time for particles to be separated in the cyclone tube and improves the separation efficiency of the cyclone tube.
附图说明 Description of drawings
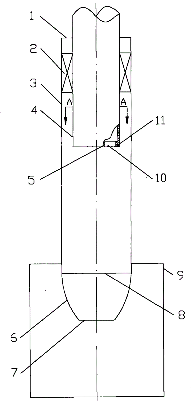
图1为本实用新型一种带有孔板排气结构的旋风分离器构造原理示意图;Fig. 1 is a schematic diagram of the construction principle of a cyclone separator with an orifice exhaust structure of the utility model;
图2为图1的A-A剖面示意图(放大);Fig. 2 is A-A sectional schematic diagram (enlarged) of Fig. 1;
图3为开孔角度示意图(放大)。Figure 3 is a schematic diagram of the opening angle (enlarged).
图中1.旋风分离器入口,2.导向器,3.分离管,4.排气管,5.孔板,6.圆弧锥段,7.圆弧锥段下端口,8.分离管下端口,9.灰斗,10.小孔,11.排气管下端口。In the figure 1. Cyclone separator inlet, 2. Guide, 3. Separation pipe, 4. Exhaust pipe, 5. Orifice plate, 6. Arc cone section, 7. Arc cone section lower port, 8. Separation pipe Lower port, 9. ash hopper, 10. small hole, 11. lower port of exhaust pipe.
具体实施方式 Detailed ways
本实用新型一种带有孔板排气结构的旋风分离器包括分离管3、排气管4和灰斗9,排气管4下部同轴深入到分离管3内的上部,排气管4与分离管3之间为同轴安装在排气管4上的导向器2,导向器2上面若干个沿圆周方向均匀排列的导向叶片与分离管3内壁形成使气流转向的流道;排气管4下端口设有连为一体同轴深入排气管4的孔板5,在孔板5上均匀的设有小孔10;分离管3的下端设有连为一体的圆弧锥段6;分离管3的下部封闭安装在灰斗9中。A cyclone separator with an orifice exhaust structure of the utility model includes a separation pipe 3, an
孔板5高度为排气管4内径的0.1倍;孔板5上开小孔10的截面形状为圆形;小孔10的角度θ为0°,θ为小孔10的中心轴线与排气管4中心轴线之间的夹角;小孔10总面积为排气管4内径面积的50%。The height of the
圆弧锥段6的高度是分离管3内直径的0.7倍;圆弧锥段6的圆弧半径是分离管3内直径的1.4倍;圆弧锥段下端口7内直径是分离管3内直径的0.6倍,是排气管4内直径的0.9倍。The height of the arc cone section 6 is 0.7 times the inner diameter of the separation pipe 3; the arc radius of the arc cone section 6 is 1.4 times the inner diameter of the separation pipe 3; the inner diameter of the lower port 7 of the arc cone section is the inner diameter of the separation pipe 3 0.6 times of the diameter is 0.9 times of the inner diameter of the
使用时,含尘气流沿轴向从旋风分离器入口1进入旋风分离器,经导向器2上的导向叶片与分离管3内壁形成使气流转向的流道后转变成高速旋转运动,其中的颗粒受到离心力的作用逐渐向分离管3内壁运动而被分离下来。气流夹带颗粒向下在分离管3及圆弧锥段6中实现气固两相离心分离。分离下来的颗粒随下行气流进入圆弧锥段6,从圆弧锥段下端口7进入灰斗9。净化后的下行气流在圆弧锥段6下部折返成上行气流,向上流经分离管下端口8、小孔10,最后进入排气管4排出。从圆弧锥段下端口7进入灰斗9的小部分气流在灰斗9底部折返成上行气流,经圆弧锥段下端口7进入圆弧锥段6,同样向上流经分离管下端口8、小孔10,最后进入排气管4排出。When in use, the dust-laden airflow enters the cyclone separator from the inlet 1 of the cyclone separator in the axial direction, passes through the guide vane on the guider 2 and the inner wall of the separation pipe 3 to form a flow channel that turns the airflow, and then transforms into a high-speed rotating motion, and the particles in it Under the action of centrifugal force, it gradually moves to the inner wall of the separation tube 3 and is separated. The gas-solid two-phase centrifugation is realized in the separation pipe 3 and the circular arc cone section 6 by the particles entrained by the air flow downward. The separated particles enter the arc cone section 6 along with the downward airflow, and enter the ash hopper 9 from the lower port 7 of the arc cone section. The purified downward airflow turns back into the upward airflow at the lower part of the circular arc cone section 6, flows upward through the lower port 8 and the
本实用新型一种带有孔板排气结构的旋风分离器结构简单紧凑,既可单独使用,也可组成多管旋风分离器,可广泛的应用于石油化工高温烟气的除尘,净化与固体颗粒的回收,也可应用于煤气化,塑料、轻工和冶金等工业部门。The utility model has a simple and compact structure of a cyclone separator with an orifice exhaust structure, which can be used alone or form a multi-pipe cyclone separator, and can be widely used in dust removal, purification and solid The recovery of particles can also be applied to industrial sectors such as coal gasification, plastics, light industry and metallurgy.
Claims (3)
Priority Applications (1)
| Application Number | Priority Date | Filing Date | Title |
|---|---|---|---|
| CNU2009200181410U CN201366382Y (en) | 2009-01-13 | 2009-01-13 | Cyclone separator with orifice plate exhaust structure |
Applications Claiming Priority (1)
| Application Number | Priority Date | Filing Date | Title |
|---|---|---|---|
| CNU2009200181410U CN201366382Y (en) | 2009-01-13 | 2009-01-13 | Cyclone separator with orifice plate exhaust structure |
Publications (1)
| Publication Number | Publication Date |
|---|---|
| CN201366382Y true CN201366382Y (en) | 2009-12-23 |
Family
ID=41485283
Family Applications (1)
| Application Number | Title | Priority Date | Filing Date |
|---|---|---|---|
| CNU2009200181410U Expired - Fee Related CN201366382Y (en) | 2009-01-13 | 2009-01-13 | Cyclone separator with orifice plate exhaust structure |
Country Status (1)
| Country | Link |
|---|---|
| CN (1) | CN201366382Y (en) |
Cited By (2)
| Publication number | Priority date | Publication date | Assignee | Title |
|---|---|---|---|---|
| CN104084322A (en) * | 2014-07-11 | 2014-10-08 | 江苏华泰重工装备有限公司 | Particle separation device |
| CN109549565A (en) * | 2018-12-03 | 2019-04-02 | 珠海格力电器股份有限公司 | Gas-dust separation mesh enclosure, gas-dust separation system and dust collector |
-
2009
- 2009-01-13 CN CNU2009200181410U patent/CN201366382Y/en not_active Expired - Fee Related
Cited By (2)
| Publication number | Priority date | Publication date | Assignee | Title |
|---|---|---|---|---|
| CN104084322A (en) * | 2014-07-11 | 2014-10-08 | 江苏华泰重工装备有限公司 | Particle separation device |
| CN109549565A (en) * | 2018-12-03 | 2019-04-02 | 珠海格力电器股份有限公司 | Gas-dust separation mesh enclosure, gas-dust separation system and dust collector |
Similar Documents
| Publication | Publication Date | Title |
|---|---|---|
| CN202224255U (en) | Symmetrical double-rotation type swirler | |
| CN202270591U (en) | Horizontal gas-solid cyclone separator | |
| CN102716820A (en) | Positive pressure running cyclone separator | |
| CN110270189B (en) | Guide vane type high-pressure cyclone separator | |
| CN106269313A (en) | A kind of cyclone separator installing guide vane in central tube | |
| CN105772235A (en) | Cyclone separator | |
| CN201778016U (en) | Natural gas purifying direct current type cyclone pipe with slotting structure | |
| CN109078766B (en) | Cyclone dust collector | |
| CN108906349A (en) | Efficient low-resistance one-in-and-two-out formula rotoclone collector | |
| CN105498986B (en) | A kind of cyclone separator for separating air inlet multiple exhaust | |
| CN204710582U (en) | A kind of helical type cyclone separator of improvement | |
| CN102553732A (en) | Backflow circulation cyclone separator | |
| CN201366382Y (en) | Cyclone separator with orifice plate exhaust structure | |
| CN204656170U (en) | A kind of horizontal ring streaming deduster | |
| CN107737675A (en) | Oppositely oriented two stage cyclone separator | |
| CN103111162A (en) | Novel spiral flow whirlwind gas separator | |
| CN201776193U (en) | Guide vane type tornadotron with stepped slit of dust exhaust structure | |
| CN200954466Y (en) | Guide vane cyclone tube with slot structure | |
| CN2592280Y (en) | Cone-diffusion cyclone separator | |
| CN101147895B (en) | Cyclone of a cyclone dust collector | |
| CN104148195B (en) | Dynamic eddy flow double-stage separator | |
| CN205701114U (en) | Cyclone separator | |
| CN205236212U (en) | Cyclone who separates multiple exhaust that admits air | |
| CN109158229B (en) | A double-barrel cyclone separator | |
| CN208437047U (en) | A kind of efficient cyclone separator |
Legal Events
| Date | Code | Title | Description |
|---|---|---|---|
| C14 | Grant of patent or utility model | ||
| GR01 | Patent grant | ||
| C17 | Cessation of patent right | ||
| CF01 | Termination of patent right due to non-payment of annual fee |
Granted publication date: 20091223 Termination date: 20120113 |
