CN201309724Y - Accumulator reclaiming box - Google Patents
Accumulator reclaiming box Download PDFInfo
- Publication number
- CN201309724Y CN201309724Y CNU2008202203049U CN200820220304U CN201309724Y CN 201309724 Y CN201309724 Y CN 201309724Y CN U2008202203049 U CNU2008202203049 U CN U2008202203049U CN 200820220304 U CN200820220304 U CN 200820220304U CN 201309724 Y CN201309724 Y CN 201309724Y
- Authority
- CN
- China
- Prior art keywords
- recycling
- leakage hole
- slideway
- small
- box
- Prior art date
- Legal status (The legal status is an assumption and is not a legal conclusion. Google has not performed a legal analysis and makes no representation as to the accuracy of the status listed.)
- Expired - Fee Related
Links
- 230000000295 complement effect Effects 0.000 claims 1
- 238000004064 recycling Methods 0.000 abstract description 17
- 239000010926 waste battery Substances 0.000 abstract description 9
- 230000009286 beneficial effect Effects 0.000 abstract description 2
- 238000011084 recovery Methods 0.000 description 4
- 239000002699 waste material Substances 0.000 description 3
- 239000010813 municipal solid waste Substances 0.000 description 2
- 239000000126 substance Substances 0.000 description 2
- 239000002028 Biomass Substances 0.000 description 1
- 230000007812 deficiency Effects 0.000 description 1
- 239000002440 industrial waste Substances 0.000 description 1
- 238000000034 method Methods 0.000 description 1
- 229920003023 plastic Polymers 0.000 description 1
- 239000004033 plastic Substances 0.000 description 1
- XLYOFNOQVPJJNP-UHFFFAOYSA-N water Substances O XLYOFNOQVPJJNP-UHFFFAOYSA-N 0.000 description 1
Images
Classifications
-
- Y—GENERAL TAGGING OF NEW TECHNOLOGICAL DEVELOPMENTS; GENERAL TAGGING OF CROSS-SECTIONAL TECHNOLOGIES SPANNING OVER SEVERAL SECTIONS OF THE IPC; TECHNICAL SUBJECTS COVERED BY FORMER USPC CROSS-REFERENCE ART COLLECTIONS [XRACs] AND DIGESTS
- Y02—TECHNOLOGIES OR APPLICATIONS FOR MITIGATION OR ADAPTATION AGAINST CLIMATE CHANGE
- Y02W—CLIMATE CHANGE MITIGATION TECHNOLOGIES RELATED TO WASTEWATER TREATMENT OR WASTE MANAGEMENT
- Y02W30/00—Technologies for solid waste management
- Y02W30/10—Waste collection, transportation, transfer or storage, e.g. segregated refuse collecting, electric or hybrid propulsion
Landscapes
- Refuse Collection And Transfer (AREA)
Abstract
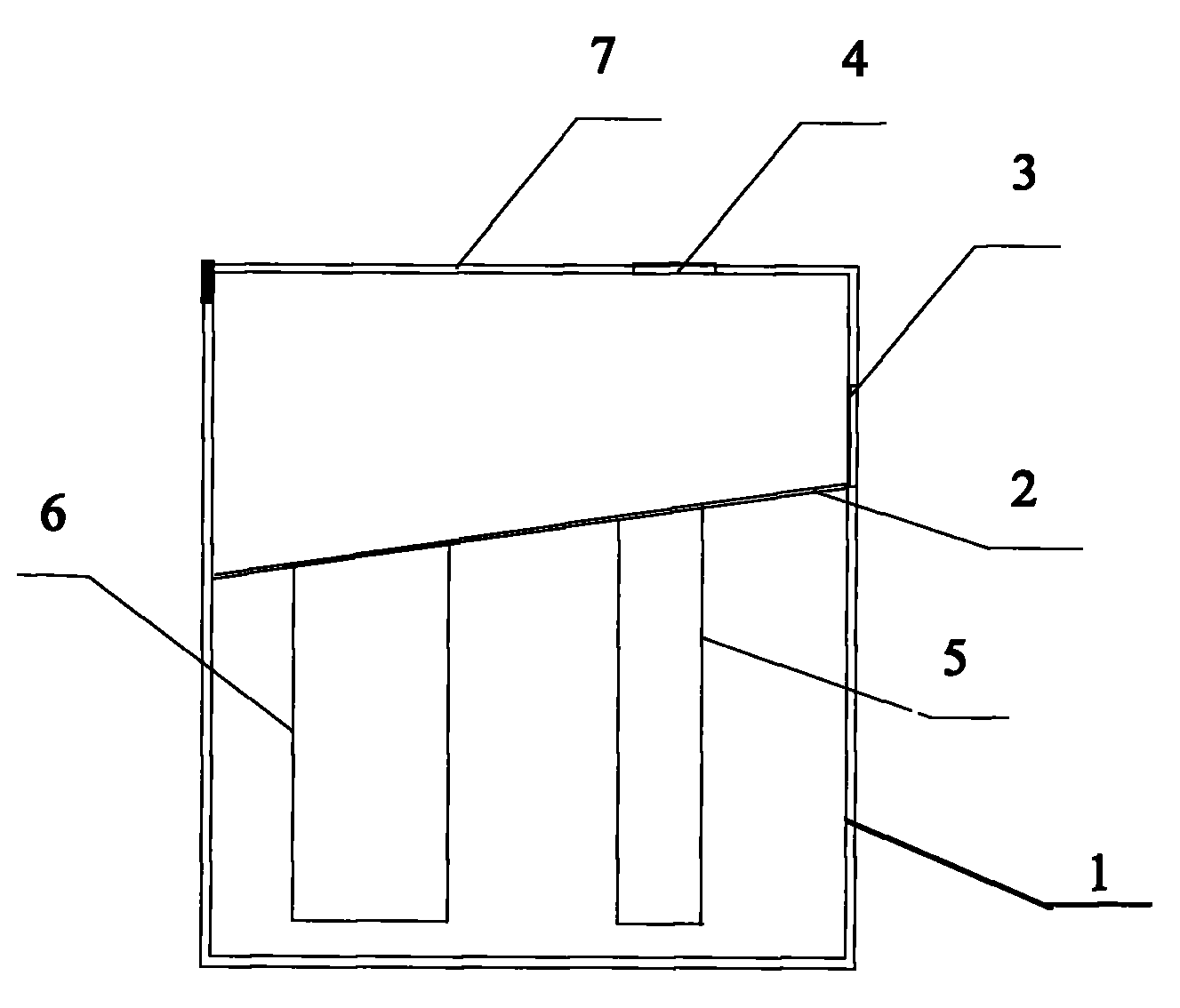
一种蓄电池回收箱,包括箱体(1),箱体(1)上设有上盖(7),上盖(7)与箱体(1)间装有折页。上述箱体(1)内设有一个具有坡度的滑道(2),滑道(2)上分别制有小漏物孔和大漏物孔,与小漏物孔和大漏物孔相匹配的有小回收箱(5)和大回收箱(6),滑道(2)的上端固定在箱体(1)的侧入口(3)上。具有构思独特,结构简单易行的特点。由于本产品可以按照电池的大小分类,给废电池的回收提供了便利。实现了废电池专项回收,不但有利于环境,而对其中可回收部分再利用,也可以节约有限的资源。使用时,将废电池扔进侧入口或上入口,小电池从滑道上的小漏物孔掉进小回收箱,而大电池顺着滑道继续下行而进入大漏物孔掉进大回收箱。
A storage battery recycling box, comprising a box body (1), an upper cover (7) is arranged on the box body (1), and a hinge is arranged between the upper cover (7) and the box body (1). The above-mentioned box (1) is provided with a slideway (2) with a slope, and the slideway (2) is respectively made with a small leakage hole and a large leakage hole, which match the small leakage hole and the large leakage hole There are small recycling bins (5) and large recycling bins (6), and the upper end of the slideway (2) is fixed on the side inlet (3) of the casing (1). It has the characteristics of unique conception and simple structure. Because this product can be classified according to the size of batteries, it provides convenience for the recycling of waste batteries. The special recycling of waste batteries has been realized, which is not only beneficial to the environment, but also can save limited resources by reusing the recyclable parts. When in use, throw the waste battery into the side entrance or the upper entrance, the small battery will fall into the small recycling box through the small leakage hole on the slide, and the large battery will continue down the slideway and enter the large leakage hole and fall into the large recycling box .
Description
技术领域 technical field
本实用新型涉及一种废弃物质回收箱,特别是一种能够实现按蓄电池的大小分类回收废弃蓄电池的回收箱。The utility model relates to a recycling box for waste materials, in particular to a recycling box capable of classifying and recycling waste batteries according to the size of the batteries.
背景技术 Background technique
目前,人们常用的垃圾箱,一般是不分类的。生物质垃圾、废弃旧塑料及工业垃圾经常是混装在一起。尤其是废电池随地乱扔,即使是扔到垃圾箱,废弃电池里面的化学物质流出对环境造成很严重的污染。再者,城市垃圾大部分不能进行处理,主要是排放在农村的田野间,蓄电池流出的有害物质不但对人的身体有害,对周围的农作物及水源也造成了污染,这样的恶性循环严重地破坏了人们的生存环境。At present, the garbage bins commonly used by people are generally not classified. Biomass waste, discarded old plastics and industrial waste are often mixed together. Especially waste batteries are thrown everywhere, even if they are thrown into the trash can, the chemical substances in the waste batteries will flow out and cause serious pollution to the environment. Furthermore, most of the urban waste cannot be treated, and it is mainly discharged in the fields in the countryside. The harmful substances discharged from the battery are not only harmful to the human body, but also pollute the surrounding crops and water sources. This vicious cycle seriously damages the people's living environment.
发明内容 Contents of the invention
本实用新型的目的是弥补上述现有技术的不足,而提供一种可以按电池大小回收的蓄电池回收箱。该回收箱,包括箱体(1),箱体(1)上设有上盖(7),上盖(7)与箱体(1)间装有折页,所述箱体(1)内设有一个具有坡度的滑道(2),滑道(2)上分别制有小漏物孔和大漏物孔,与小漏物孔和大漏物孔相匹配的有小回收箱(5)和大回收箱(6),滑道(2)的上端固定在箱体(1)的侧入口(3)上,在上盖(7)上还设有上入口(4)。The purpose of the utility model is to make up for the deficiencies of the above-mentioned prior art, and to provide a battery recycling box that can be recycled according to the size of the battery. The recovery box includes a box body (1), the box body (1) is provided with an upper cover (7), and a hinge is installed between the upper cover (7) and the box body (1), and the inside of the box body (1) A slideway (2) with a slope is provided, and a small leakage hole and a large leakage hole are respectively formed on the slideway (2), and a small recovery box (5 ) and a large recovery box (6), the upper end of the slideway (2) is fixed on the side inlet (3) of the casing (1), and the upper cover (7) is also provided with the upper inlet (4).
本实用新型具有构思独特,结构简单易行,由于本产品可以按照电池的大小分类,给废电池的回收提供了便利。实现了废电池专项回收,不但有利于环境,而对其中可回收部分再利用,也可以节约有限的资源。The utility model has a unique concept and a simple and easy structure, and because the product can be classified according to the size of the batteries, it provides convenience for the recycling of waste batteries. The special recycling of waste batteries has been realized, which is not only beneficial to the environment, but also can save limited resources by reusing the recyclable parts.
附图说明 Description of drawings
图1是本实用新型的结构示意图。Fig. 1 is a structural representation of the utility model.
具体实施方式 Detailed ways
实施例Example
参照图1,该回收箱,包括箱体1,箱体1上设有上盖7,上盖7与箱体1间装有折页,所述箱体1内设有一个具有坡度的滑道2,滑道2上分别制有小漏物孔和大漏物孔,与小漏物孔和大漏物孔相匹配的有小回收箱5和大回收箱6,滑道2的上端固定在箱体1的侧入口3上,在上盖7上还设有上入口4。With reference to Fig. 1, this recovery box comprises box body 1, and box body 1 is provided with loam cake 7, and hinge is equipped with between loam cake 7 and box body 1, and described box body 1 is provided with a slideway with
使用时,将废电池扔进侧入口或上入口,小电池从滑道上的小漏物孔掉进小回收箱,而大电池顺着滑道继续下行而进入大漏物孔掉进大回收箱。When in use, throw the waste battery into the side entrance or the upper entrance, the small battery will fall into the small recycling box through the small leakage hole on the slide, and the large battery will continue down the slideway and enter the large leakage hole and fall into the large recycling box .
Claims (2)
Priority Applications (1)
| Application Number | Priority Date | Filing Date | Title |
|---|---|---|---|
| CNU2008202203049U CN201309724Y (en) | 2008-12-04 | 2008-12-04 | Accumulator reclaiming box |
Applications Claiming Priority (1)
| Application Number | Priority Date | Filing Date | Title |
|---|---|---|---|
| CNU2008202203049U CN201309724Y (en) | 2008-12-04 | 2008-12-04 | Accumulator reclaiming box |
Publications (1)
| Publication Number | Publication Date |
|---|---|
| CN201309724Y true CN201309724Y (en) | 2009-09-16 |
Family
ID=41106975
Family Applications (1)
| Application Number | Title | Priority Date | Filing Date |
|---|---|---|---|
| CNU2008202203049U Expired - Fee Related CN201309724Y (en) | 2008-12-04 | 2008-12-04 | Accumulator reclaiming box |
Country Status (1)
| Country | Link |
|---|---|
| CN (1) | CN201309724Y (en) |
Cited By (6)
| Publication number | Priority date | Publication date | Assignee | Title |
|---|---|---|---|---|
| CN105957241A (en) * | 2016-04-18 | 2016-09-21 | 上海电机学院 | Paid waste battery recovery machine with multiple choices |
| CN106492978A (en) * | 2016-11-07 | 2017-03-15 | 杨静 | A kind of New-type refuse vehicle separator |
| CN107600774A (en) * | 2017-09-12 | 2018-01-19 | 徐美娣 | A kind of cell classification retracting device |
| CN108438616A (en) * | 2018-04-11 | 2018-08-24 | 林琼章 | A kind of old and useless article classified recycle bin |
| CN109178705A (en) * | 2018-07-24 | 2019-01-11 | 芜湖市金马电子信息有限责任公司 | A kind of computer refuse battery auxiliary recovery unit |
| CN110697384A (en) * | 2019-10-12 | 2020-01-17 | 钱车华 | Processing method for recovering waste battery |
-
2008
- 2008-12-04 CN CNU2008202203049U patent/CN201309724Y/en not_active Expired - Fee Related
Cited By (7)
| Publication number | Priority date | Publication date | Assignee | Title |
|---|---|---|---|---|
| CN105957241A (en) * | 2016-04-18 | 2016-09-21 | 上海电机学院 | Paid waste battery recovery machine with multiple choices |
| CN105957241B (en) * | 2016-04-18 | 2018-12-11 | 上海电机学院 | It can multinomial selective paid old and useless battery recycling machine |
| CN106492978A (en) * | 2016-11-07 | 2017-03-15 | 杨静 | A kind of New-type refuse vehicle separator |
| CN107600774A (en) * | 2017-09-12 | 2018-01-19 | 徐美娣 | A kind of cell classification retracting device |
| CN108438616A (en) * | 2018-04-11 | 2018-08-24 | 林琼章 | A kind of old and useless article classified recycle bin |
| CN109178705A (en) * | 2018-07-24 | 2019-01-11 | 芜湖市金马电子信息有限责任公司 | A kind of computer refuse battery auxiliary recovery unit |
| CN110697384A (en) * | 2019-10-12 | 2020-01-17 | 钱车华 | Processing method for recovering waste battery |
Similar Documents
| Publication | Publication Date | Title |
|---|---|---|
| CN201309724Y (en) | Accumulator reclaiming box | |
| CN206427585U (en) | A kind of garbage truck for carrying compression function | |
| CN105292863A (en) | Buried type ecological environment-friendly trash bin | |
| CN201347263Y (en) | Solar compression dustbin | |
| CN203079119U (en) | Intelligent garbage can | |
| CN201102768Y (en) | Sealing garbage can | |
| CN202683452U (en) | Spiral screening type garbage sorting machine | |
| CN207595775U (en) | A kind of foot-operated separation of solid and liquid dustbin | |
| CN206665413U (en) | A kind of dustbin | |
| CN202244946U (en) | Classification dustbin | |
| CN201296489Y (en) | Classification trash can | |
| CN205499932U (en) | Multi -functional environmentally -friendly trash bin | |
| CN201144078Y (en) | Sorting trash can | |
| CN203209144U (en) | Multifunctional garbage disposing device | |
| CN202429586U (en) | Dustbin for collecting wastewater | |
| CN203997656U (en) | A kind of energy-conservation classifying dustbin that utilizes waste or used plastics to make | |
| CN103895989A (en) | Double-body garbage can | |
| CN202296007U (en) | Split-charging recycling bin for urban garbage | |
| CN111674757A (en) | A kind of community environmental protection sorting garbage can | |
| CN205219798U (en) | Categorised recycle kitchen garbage's environmental protection equipment | |
| CN202729018U (en) | Old article recycling box | |
| CN203268771U (en) | Novel garbage can used in office | |
| CN202414556U (en) | Novel trash can with waste battery recycling function | |
| CN203033252U (en) | Simple magnetic separation trash can | |
| CN1951780A (en) | Advertisement garbage box with waste battery reclamation box |
Legal Events
| Date | Code | Title | Description |
|---|---|---|---|
| C14 | Grant of patent or utility model | ||
| GR01 | Patent grant | ||
| C17 | Cessation of patent right | ||
| CF01 | Termination of patent right due to non-payment of annual fee |
Granted publication date: 20090916 Termination date: 20100104 |
