CN201268648Y - Multifunctional universal sewage treatment system - Google Patents
Multifunctional universal sewage treatment system Download PDFInfo
- Publication number
- CN201268648Y CN201268648Y CNU2008201083213U CN200820108321U CN201268648Y CN 201268648 Y CN201268648 Y CN 201268648Y CN U2008201083213 U CNU2008201083213 U CN U2008201083213U CN 200820108321 U CN200820108321 U CN 200820108321U CN 201268648 Y CN201268648 Y CN 201268648Y
- Authority
- CN
- China
- Prior art keywords
- tank
- sedimentation tank
- multifunctional
- treatment system
- sewage treatment
- Prior art date
- Legal status (The legal status is an assumption and is not a legal conclusion. Google has not performed a legal analysis and makes no representation as to the accuracy of the status listed.)
- Expired - Fee Related
Links
Images
Classifications
-
- Y—GENERAL TAGGING OF NEW TECHNOLOGICAL DEVELOPMENTS; GENERAL TAGGING OF CROSS-SECTIONAL TECHNOLOGIES SPANNING OVER SEVERAL SECTIONS OF THE IPC; TECHNICAL SUBJECTS COVERED BY FORMER USPC CROSS-REFERENCE ART COLLECTIONS [XRACs] AND DIGESTS
- Y02—TECHNOLOGIES OR APPLICATIONS FOR MITIGATION OR ADAPTATION AGAINST CLIMATE CHANGE
- Y02W—CLIMATE CHANGE MITIGATION TECHNOLOGIES RELATED TO WASTEWATER TREATMENT OR WASTE MANAGEMENT
- Y02W10/00—Technologies for wastewater treatment
- Y02W10/10—Biological treatment of water, waste water, or sewage
Landscapes
- Physical Water Treatments (AREA)
Abstract
本实用新型涉及一种多功能通用污水处理系统,主要包括集水初沉池、多功能调节池、絮凝沉淀池、气浮池、好氧生物滤池、二次沉淀池和储水池,所述多功能调节池底部设有间隙式曝气器、污泥刮板和污泥排污口、上部设有浮油刮板和浮油排污口,所述絮凝沉淀池、气浮池、好氧生物滤池、二次沉淀池和储水池依次连接,所述絮凝沉淀池上部设有絮凝剂投药器,所述气浮池底部设有气浮供气装置,上部设有浮渣刮板机构,所述好氧生物滤池中部设有好氧滤料,底部设有曝气器,所述集水初沉池底部设有刮泥装置和排污口。本系统整体结构简单紧凑,结构合理,维护方便,通用性强,适应于生活或生产中经常出现小规模的污水排放,特别是远离市政管道的场所。
The utility model relates to a multifunctional universal sewage treatment system, which mainly includes a water collecting primary sedimentation tank, a multifunctional regulating tank, a flocculation sedimentation tank, an air flotation tank, an aerobic biological filter, a secondary sedimentation tank and a water storage tank. The bottom of the functional adjustment tank is equipped with gap aerator, sludge scraper and sludge discharge outlet, and the upper part is equipped with oil slick scraper and oil slick discharge outlet. The flocculation sedimentation tank, air flotation tank, aerobic biological filter, The secondary sedimentation tank and the water storage tank are connected sequentially. The upper part of the flocculation sedimentation tank is provided with a flocculant dosing device, the bottom of the air flotation tank is provided with an air flotation air supply device, and the upper part is provided with a scum scraper mechanism. The aerobic biological An aerobic filter material is provided in the middle of the filter tank, an aerator is provided at the bottom, and a mud scraping device and a sewage outlet are provided at the bottom of the primary sedimentation tank. The overall structure of the system is simple and compact, reasonable in structure, convenient in maintenance and strong in versatility. It is suitable for small-scale sewage discharge in life or production, especially in places far away from municipal pipelines.
Description
技术领域 technical field
本实用新型涉及一种多功能通用污水处理系统,属于环保技术领域。The utility model relates to a multifunctional universal sewage treatment system, which belongs to the technical field of environmental protection.
背景技术 Background technique
对于生活或生产中经常出现小规模的污水排放,特别是远离市政管道的场所,需要设置小型的污水处理系统进行污水的处理,使之符合排放标准,以便就地排放,这类小规模的污水处理系统由于处理量小,能够承担的投资不大,因此需要一种适应性广、成本比较低的成品,以便在工厂生产统一的成品,而不需要针对各种具体的污水性质进行独立的设计和工程建设。鉴于污水中通常会存在这样的污染物:油污等漂浮物、沙尘等沉淀物、胶体等悬浮物、微生物以及有机污染物构成的BOD和COD,因此需要这种通用设备具有消除这些污染物的能力。For small-scale sewage discharges that often occur in life or production, especially in places far away from municipal pipes, it is necessary to set up a small sewage treatment system for sewage treatment to make it meet the discharge standards for on-site discharge. This type of small-scale sewage Due to the small processing capacity of the treatment system, the investment that can be borne is not large. Therefore, a finished product with wide adaptability and relatively low cost is required to produce a unified finished product in the factory without independent design for various specific sewage properties. and engineering construction. In view of the fact that such pollutants usually exist in sewage: floating substances such as oil, sediments such as sand and dust, suspended substances such as colloids, microorganisms and BOD and COD composed of organic pollutants, it is necessary for this general equipment to have the ability to eliminate these pollutants. ability.
实用新型内容 Utility model content
为克服现有技术的上述缺陷,本实用新型提供了一种多功能通用污水处理系统,这种系统适于进行一般的小规模污水排放源,其处理效果好,结构紧凑,安装和维护方便,占地面积小。In order to overcome the above-mentioned defects of the prior art, the utility model provides a multifunctional universal sewage treatment system, which is suitable for general small-scale sewage discharge sources, and has good treatment effect, compact structure, and convenient installation and maintenance. Small footprint.
本实用新型实现上述目的的技术方案是:一种多功能通用污水处理系统,包括依次连接的集水初沉池、多功能调节池、絮凝沉淀池、气浮池、好氧生物滤池、二次沉淀池和储水池,所述多功能调节池、絮凝沉淀池、气浮池、好氧生物滤池、二次沉淀池和储水池依次连接,所述多功能调节池底部设有污泥刮板和污泥排污口、上部设有浮油刮板和浮油排污口,所述集水初沉池底部设有刮泥装置和排污口。The technical solution of the utility model to achieve the above purpose is: a multifunctional universal sewage treatment system, including a water collection primary sedimentation tank, a multifunctional regulating tank, a flocculation sedimentation tank, an air flotation tank, an aerobic biological filter, a secondary Sedimentation tank and water storage tank, the multifunctional adjustment tank, flocculation sedimentation tank, air flotation tank, aerobic biological filter, secondary sedimentation tank and water storage tank are connected in sequence, and the bottom of the multifunctional adjustment tank is equipped with sludge scraper and The upper part of the sludge discharge port is provided with an oil slick scraper and an oil slick discharge port, and the bottom of the primary settling tank is provided with a mud scraping device and a sewage discharge port.
所述絮凝沉淀池上部设有絮凝剂投药器,所述气浮池底部设有气浮供气装置,上部设有浮渣刮板机构,所述好氧生物滤池中部设有好氧滤料,底部设有曝气器,所述絮凝沉淀池的进水管为本系统的进水管,所述储水池的出水管为本系统的出水管。The upper part of the flocculation sedimentation tank is provided with a flocculant dosing device, the bottom of the air flotation tank is provided with an air flotation air supply device, the upper part is provided with a scum scraper mechanism, and the middle part of the aerobic biological filter is provided with an aerobic filter material. An aerator is arranged at the bottom, the water inlet pipe of the flocculation sedimentation tank is the water inlet pipe of the system, and the water outlet pipe of the water storage tank is the water outlet pipe of the system.
由于本实用新型设计的总体处理流程合理,先在多功能调节池中进行集水,以便后续工序的稳定,同时在集水过程中刮除自然分离处理的沉淀物和漂浮物,减轻了后续设备的负荷,然后再经过化学沉淀,将在多功能调节池中没有沉淀的可沉淀物质经过絮凝沉淀的方式大幅度削减下来,经过这样的两次分离,可以消除污水中60%以上的有机污染以及更大比例的固体颗粒物,然后采用气浮的方式将水中剩余的油和其他类似污染物气浮去除,再经过高效的好氧生物滤池进行生化净化反应,将其中溶解性有机物分解掉,再经过二次沉淀,除去水中携带的污泥以及其他可沉淀物,形成的出水中的污染物明显地减少,对于没有特别难以处理的污染物以及过高污染浓度的一般生活和生产污水,这种处理后以便均可符合污水排放标准和灌溉标准,可以就地排放或用于景观用水。本系统整体结构简单紧凑,结构合理,维护方便,通用性强,适应于生活或生产中经常出现小规模的污水排放,特别是远离市政管道的场所。Because the overall treatment process designed by the utility model is reasonable, the water is firstly collected in the multi-functional regulating pool, so that the subsequent process is stable, and at the same time, the sediment and floating objects that are naturally separated and treated are scraped off during the water collection process, which reduces the subsequent equipment. The load, and then through chemical precipitation, the precipitable substances that have not settled in the multi-functional regulating tank are greatly reduced by flocculation and precipitation. After such two separations, more than 60% of the organic pollution in the sewage can be eliminated and A larger proportion of solid particles, and then use air flotation to remove the remaining oil and other similar pollutants in the water, and then undergo a biochemical purification reaction through an efficient aerobic biological filter to decompose the dissolved organic matter, and then After secondary sedimentation, the sludge and other sediments carried in the water are removed, and the pollutants in the formed effluent are significantly reduced. For general domestic and production sewage without particularly difficult pollutants and excessively high pollution concentrations, this After treatment, it can meet the sewage discharge standard and irrigation standard, and can be discharged on site or used for landscape water. The overall structure of the system is simple and compact, reasonable in structure, convenient in maintenance and strong in versatility. It is suitable for small-scale sewage discharge in life or production, especially in places far away from municipal pipelines.
附图说明 Description of drawings
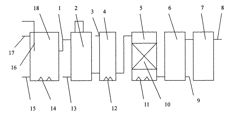
图1是本实用新型的结构示意图。Fig. 1 is a structural representation of the utility model.
具体实施方式 Detailed ways
参见图1,本实用新型提供了一种多功能通用污水处理系统,主要包括集水初沉池、多功能调节池18、絮凝沉淀池2、气浮池4、好氧生物滤池5、二次沉淀池6和储水池7,所述多功能调节池、絮凝沉淀池、气浮池、好氧生物滤池、二次沉淀池和储水池依次连接,所述多功能调节池底部设有污泥刮板和污泥排污口15、上部设有浮油刮板和浮油排污口17,所述絮凝沉淀池上部设有絮凝剂投药器,所述气浮池底部设有气浮供气装置12,上部设有浮渣刮板机构,所述好氧生物滤池中部设有好氧滤料10,底部设有曝气器11,所述多功能调节池的进水管16为本系统的进水管,所述储水池的出水管8为本系统的出水管。Referring to Fig. 1, the utility model provides a multifunctional universal sewage treatment system, which mainly includes a water collecting primary sedimentation tank, a multifunctional regulating
所述多功能调节池底板还可以设有间歇式曝气器14,沉淀和曝气交替进行,以便增大污水中的氧量,利于后续的处理。The bottom plate of the multifunctional regulating tank can also be provided with an
所述多功能调节池可以采用中上部进水、中下部出水的结构,池中设有竖向隔板,水需要绕过竖向隔板才能由进水口流到出水口,以便改善沉淀和上浮效果。The multifunctional adjustment pool can adopt the structure of water inlet in the middle and upper part and water outlet in the middle and lower part. There are vertical partitions in the pool, and the water needs to bypass the vertical partitions to flow from the water inlet to the water outlet, so as to improve sedimentation and flotation. Effect.
所述絮凝沉淀池内部可以采用斜板沉淀结构,设有斜板沉淀区,在斜板沉淀区的前面设有带搅拌器的给药空间,所述给药空间的上方设有絮凝剂投药器,投药器根据水流量不断向给药空间投入絮凝剂,经过搅拌器搅拌后充分混合在污水中,同污水的有机颗粒物和其他有机分子凝絮,然后流入斜板沉淀区域内沉淀,这种沉淀箱的沉淀效率高,体积小,并且通过加入絮凝剂后,高浓度污水中大约30%以上的BOD和COD被除去,减轻了后续生化处理的污染负荷。The inside of the flocculation-sedimentation tank can adopt a sloping plate sedimentation structure, and a sloping plate sedimentation area is provided. A dosing space with an agitator is provided in front of the sloping plate sedimentation area, and a flocculant dosing device is provided above the dosing space. , the dosing device continuously injects flocculant into the dosing space according to the water flow rate, and after being stirred by the agitator, it is fully mixed in the sewage, coagulates with organic particles and other organic molecules in the sewage, and then flows into the sedimentation area of the inclined plate for precipitation. The box has high sedimentation efficiency and small volume, and by adding flocculant, more than 30% of BOD and COD in high-concentration sewage are removed, reducing the pollution load of subsequent biochemical treatment.
所述絮凝沉淀池的底部可以设有污泥排放口13,用于在一定条件下排放污泥。也可以在絮凝沉淀池底部设置潜水污泥泵,定期将污泥打出来送入污泥浓缩池进行浓缩,浓缩后的污泥进一步过滤和压成泥饼,以便运到专门的处理场所。The bottom of the flocculation sedimentation tank may be provided with a
所述气浮池采用气浮原理将油以及通过曝气后可以携带气泡上浮的污染物,其底部的气浮供气装置射出的气体同水中污染物结合在一起,形成带气泡的壳体,上浮到气浮池表面后聚积,等聚积到一定厚度通过刮板刮到池子一侧的浮渣排放口3排出。The air flotation tank adopts the principle of air flotation to use the oil and pollutants that can carry bubbles to float up after aeration, and the gas injected by the air flotation air supply device at the bottom of the tank is combined with the pollutants in the water to form a shell with bubbles and float up. After reaching the surface of the air flotation pool, it accumulates, and when it accumulates to a certain thickness, it is scraped to the
所述好氧生物滤池中的滤料可以采用悬挂在池中的软滤料,以便于提高净化效率,并方便清理和维护。池底设置有曝气器,以便为好氧生物提供空气和氧,气浮池中的气浮曝气过程也有利于提高水中的含氧量。The filter material in the aerobic biological filter can be a soft filter material suspended in the tank, so as to improve the purification efficiency and facilitate cleaning and maintenance. An aerator is installed at the bottom of the pool to provide air and oxygen for aerobic organisms, and the air flotation aeration process in the air flotation pool is also conducive to increasing the oxygen content in the water.
所述二次沉淀池内部可以采用斜板沉淀结构,设有斜板沉淀区,以获得高的沉淀效率高,减小体积。所述二次沉淀池底部也可以设置设有污泥排放口9,用于在一定条件下排放污泥。也可以在二次沉淀池底部设置潜水污泥泵,定期将污泥打出来送入污泥浓缩池进行浓缩,浓缩后的污泥进一步过滤和压成泥饼,以便运到专门的处理场所。The interior of the secondary sedimentation tank can adopt a slanted plate sedimentation structure, and a slanted plate sedimentation area is provided to obtain high sedimentation efficiency and reduce volume. The bottom of the secondary sedimentation tank may also be provided with a
当所述絮凝沉淀池和二次沉淀池的池底设有潜水污泥泵时,各潜水污泥泵的出口管道可以连接于一个污泥浓缩池,以便排出来的污泥在污泥浓缩池进一步浓缩。When the bottom of the flocculation sedimentation tank and the secondary sedimentation tank is provided with a submersible sludge pump, the outlet pipelines of each submersible sludge pump can be connected to a sludge thickening tank, so that the sludge that is discharged is in the sludge thickening tank Concentrate further.
所述二次沉淀池的潜水泵的出口管道也通过污泥回流管连接于所述的好氧生物滤池,以便进行污泥回流,改善所述好氧生物滤池的处理效果。The outlet pipe of the submersible pump of the secondary sedimentation tank is also connected to the aerobic biofilter through a sludge return pipe, so as to return the sludge and improve the treatment effect of the aerobic biofilter.
所述二次沉淀池上面可以设有消毒机,以便对二次沉淀池中的水进行灭菌,防止细菌和其他微生物在储水池中泛滥。其中一种优选的消毒机是用于制备臭氧的臭氧机,通过溶解在水中的臭氧将细菌和其他微生物灭活。A disinfection machine may be provided above the secondary sedimentation tank to sterilize the water in the secondary sedimentation tank and prevent bacteria and other microorganisms from flooding the water storage tank. One of the preferred sanitizers is an ozone machine that produces ozone, which inactivates bacteria and other microorganisms by dissolving ozone in water.
所述各池之间的连接均可以采用管道1连接,所述连接用的管道上可以设有泵和阀门,以便进行水流控制。The connection between the pools can be connected by
Claims (10)
Priority Applications (1)
| Application Number | Priority Date | Filing Date | Title |
|---|---|---|---|
| CNU2008201083213U CN201268648Y (en) | 2008-05-29 | 2008-05-29 | Multifunctional universal sewage treatment system |
Applications Claiming Priority (1)
| Application Number | Priority Date | Filing Date | Title |
|---|---|---|---|
| CNU2008201083213U CN201268648Y (en) | 2008-05-29 | 2008-05-29 | Multifunctional universal sewage treatment system |
Publications (1)
| Publication Number | Publication Date |
|---|---|
| CN201268648Y true CN201268648Y (en) | 2009-07-08 |
Family
ID=40841242
Family Applications (1)
| Application Number | Title | Priority Date | Filing Date |
|---|---|---|---|
| CNU2008201083213U Expired - Fee Related CN201268648Y (en) | 2008-05-29 | 2008-05-29 | Multifunctional universal sewage treatment system |
Country Status (1)
| Country | Link |
|---|---|
| CN (1) | CN201268648Y (en) |
Cited By (3)
| Publication number | Priority date | Publication date | Assignee | Title |
|---|---|---|---|---|
| CN108675560A (en) * | 2018-06-11 | 2018-10-19 | 河海大学 | A kind of domestic sewage processing system |
| CN112441706A (en) * | 2020-12-07 | 2021-03-05 | 浙江德安科技股份有限公司 | Integration resourceful treatment of domestic sewage system |
| CN119080227A (en) * | 2024-10-12 | 2024-12-06 | 江苏新奇环保有限公司 | A transfer station water treatment integrated equipment |
-
2008
- 2008-05-29 CN CNU2008201083213U patent/CN201268648Y/en not_active Expired - Fee Related
Cited By (4)
| Publication number | Priority date | Publication date | Assignee | Title |
|---|---|---|---|---|
| CN108675560A (en) * | 2018-06-11 | 2018-10-19 | 河海大学 | A kind of domestic sewage processing system |
| CN112441706A (en) * | 2020-12-07 | 2021-03-05 | 浙江德安科技股份有限公司 | Integration resourceful treatment of domestic sewage system |
| CN119080227A (en) * | 2024-10-12 | 2024-12-06 | 江苏新奇环保有限公司 | A transfer station water treatment integrated equipment |
| CN119080227B (en) * | 2024-10-12 | 2025-05-06 | 江苏新奇环保有限公司 | Transfer station water treatment integrated equipment |
Similar Documents
| Publication | Publication Date | Title |
|---|---|---|
| CN101323494A (en) | Carwash circulating water processing system | |
| CN211255639U (en) | An integrated mobile treatment equipment for oily water bodies | |
| CN101591118A (en) | Multifunctional general sewage treatment system | |
| CN202390287U (en) | Internal iron-carbon UASB-SBR (Upflow Anaerobic Sludge Blanket-Sequencing Batch Reactor) coupling system for treatment of printing and dyeing wastewater | |
| CN201400630Y (en) | Chemical fiber wastewater treatment system | |
| CN210237322U (en) | Mine water recycling treatment system | |
| CN201268647Y (en) | Small-sized domestic sewage processing system | |
| CN208829505U (en) | After-treatment system of the Fine Chemistry Wastewater after MVR distills | |
| CN201268648Y (en) | Multifunctional universal sewage treatment system | |
| CN207193070U (en) | A kind of efficient equipment for processing industrial sewage | |
| CN111186966A (en) | A kind of waste transfer station leachate treatment device and process | |
| CN110655265A (en) | Method for treating pharmaceutical wastewater | |
| CN205258241U (en) | Printing and dyeing wastewater treatment system | |
| CN101293724A (en) | Miniature general use sewage treatment system | |
| CN111960618A (en) | Overlapping and splicing sewage treatment equipment and method for coastal region quasi-IV water | |
| CN203200128U (en) | Integrated treatment equipment of food wastewater | |
| CN201952305U (en) | A kind of sewage treatment equipment | |
| CN101591116A (en) | Small-sized box type modularization general-purpose sewage treating apparatus | |
| CN114988634B (en) | An oxidation ditch system for river sewage treatment and its application method | |
| CN205528260U (en) | Sewage treatment system | |
| CN213446615U (en) | Ethylene-vinyl acetate copolymer adhesive wastewater treatment device | |
| CN102976564A (en) | Continuous rural domestic waste water treating device | |
| CN211847575U (en) | Integrated sewage treatment system | |
| CN210480920U (en) | Air floatation system with sludge backflow function | |
| CN208218511U (en) | The processing unit of high-concentration sewage |
Legal Events
| Date | Code | Title | Description |
|---|---|---|---|
| C14 | Grant of patent or utility model | ||
| GR01 | Patent grant | ||
| EE01 | Entry into force of recordation of patent licensing contract |
Assignee: Beijing Beinei Engine Parts Co.,Ltd. Assignor: Beijing Nengtuo Hi-Tech Co., Ltd. Contract fulfillment period: 2009.9.21 to 2014.12.31 Contract record no.: 2010110000018 Denomination of utility model: Multifunctional general sewage treatment system Granted publication date: 20090708 License type: Exclusive license Record date: 20100127 |
|
| LIC | Patent licence contract for exploitation submitted for record |
Free format text: EXCLUSIVE LICENSE; TIME LIMIT OF IMPLEMENTING CONTACT: 2009.9.21 TO 2014.12.31; CHANGE OF CONTRACT Name of requester: BEIJING BEINEI ENGINE COMPONENTS CO., LTD. Effective date: 20100127 |
|
| C17 | Cessation of patent right | ||
| CF01 | Termination of patent right due to non-payment of annual fee |
Granted publication date: 20090708 Termination date: 20110529 |
