CN201263802Y - High and low-temperature double-layer built-in disinfection cabinet - Google Patents
High and low-temperature double-layer built-in disinfection cabinet Download PDFInfo
- Publication number
- CN201263802Y CN201263802Y CNU2008200517323U CN200820051732U CN201263802Y CN 201263802 Y CN201263802 Y CN 201263802Y CN U2008200517323 U CNU2008200517323 U CN U2008200517323U CN 200820051732 U CN200820051732 U CN 200820051732U CN 201263802 Y CN201263802 Y CN 201263802Y
- Authority
- CN
- China
- Prior art keywords
- disinfection
- temperature
- disinfection cabinet
- heating pipe
- low temperature
- Prior art date
- Legal status (The legal status is an assumption and is not a legal conclusion. Google has not performed a legal analysis and makes no representation as to the accuracy of the status listed.)
- Expired - Lifetime
Links
Images
Landscapes
- Apparatus For Disinfection Or Sterilisation (AREA)
Abstract
本实用新型公开了一种高低温双层嵌入式消毒柜,由消毒柜主柜体组成,主柜体间隔分为低温消毒腔、高温消毒腔,高温消毒腔内设置有发热管,其特征在于,所述设置在高温消毒腔内的发热管为两个或两个以上,且设置在底部;本实用新型的高低温双层嵌入式消毒柜具有高温室内的温度更均匀、消毒效果好、质量可靠、使用寿命长的优点。
The utility model discloses a high-low temperature double-layer embedded disinfection cabinet, which is composed of a main cabinet body of the disinfection cabinet. , the heat pipes arranged in the high-temperature disinfection chamber are two or more, and are arranged at the bottom; the high-low temperature double-layer embedded disinfection cabinet of the utility model has more uniform temperature in the high-temperature chamber, good disinfection effect, and high quality. The advantages of reliability and long service life.
Description
技术领域 technical field
本实用新型涉及消毒柜技术领域,更具体地说是涉及高低温双层嵌入式消毒柜。The utility model relates to the technical field of disinfection cabinets, in particular to a high-low temperature double-layer embedded disinfection cabinet.
背景技术 Background technique
目前,高低温双层嵌入式消毒柜一般在上部设置低温室、下部设置高温消毒室,而其高温消毒室一般是在底部设置一个消毒发热管,如中国专利公开/公告号为2497790、发明名称为立式电脑消毒柜、公开/公告日为2002年7月3日的专利申请,它包括上门、下门、碗架、碟架、电控面板、杯架、柜体、外框、电源电路,其特征在于:在柜体的上室内装有臭氧发生器、温控器、烘干器,在柜体的下室装有传感器、远红外石英管及门开关,在中间的电控面板上设有液显示屏、操作按键,温控器、传感器、操作按键、门开关的输出都送中央控制电路,中央控制电路的输出分别通过远红外加热驱动电路送到远红外石英管,通过臭氧室烘干驱动电路送到烘干器,通过臭氧驱动电路送到臭氧发生器。再如中国专利申请号为99222170、申请日为1999年9月2日、发明名称为一种高、低温消毒柜的专利,它提供了一种高、低温消毒柜技术方案。该方案主要包括有柜体,在柜体内的中下部有间隔层,在间隔层的下面与柜体相配有高温门体组成高温消毒腔,在间隔层的上面有低温门体与柜体组成低温消毒腔,在两消毒腔的柜体上均有透气孔,另在低温消毒腔内有臭氧发生器,在高温消毒腔内有电加热管,上述方案均为在底部设置一个发热管,从而出现单根管结构的局部温度过高的缺陷,使高温室内的温度不均匀,消毒效果不佳,而且由于消毒管无保护装置,易损坏。At present, high and low temperature double-layer embedded disinfection cabinets are generally equipped with a low temperature room on the upper part and a high temperature disinfection room on the lower part, and the high temperature disinfection room is generally provided with a disinfection heating tube at the bottom, such as Chinese Patent Publication / Announcement No. It is a patent application for a vertical computer disinfection cabinet with a publication/announcement date of July 3, 2002, which includes upper door, lower door, bowl rack, dish rack, electric control panel, cup holder, cabinet body, outer frame, and power circuit , which is characterized in that: an ozone generator, a temperature controller, and a dryer are installed in the upper chamber of the cabinet, sensors, far-infrared quartz tubes and door switches are installed in the lower chamber of the cabinet, and an electric control panel in the middle Equipped with a liquid crystal display screen, operation buttons, the outputs of the temperature controller, sensors, operation buttons, and door switches are all sent to the central control circuit, and the output of the central control circuit is sent to the far-infrared quartz tube through the far-infrared heating drive circuit, and then passed through the ozone chamber. The drying drive circuit is sent to the dryer, and then sent to the ozone generator through the ozone drive circuit. Another example is that the Chinese patent application number is 99222170, the date of application is September 2, 1999, and the title of invention is a patent for a high and low temperature disinfection cabinet, which provides a high and low temperature disinfection cabinet technical scheme. The scheme mainly includes a cabinet body, and there is a spacer in the middle and lower part of the cabinet body. A high-temperature door body is equipped with the cabinet body below the spacer layer to form a high-temperature disinfection chamber. Disinfection chamber, there are ventilation holes on the cabinets of the two disinfection chambers, and there is an ozone generator in the low-temperature disinfection chamber, and an electric heating tube in the high-temperature disinfection chamber. The defect that the local temperature of the single tube structure is too high makes the temperature in the high-temperature chamber uneven, and the disinfection effect is not good, and because the disinfection tube has no protective device, it is easy to be damaged.
发明内容 Contents of the invention
本实用新型的目的就是为了解决现有技术之不足而提供的一种高温室内的温度更均匀、消毒效果好、质量可靠、使用寿命长的高低温双层消毒柜。The purpose of this utility model is to provide a high-low temperature double-layer disinfection cabinet with more uniform temperature in a high-temperature chamber, good disinfection effect, reliable quality and long service life in order to solve the deficiencies of the prior art.
本实用新型是采用如下技术解决方案来实现上述目的:该高低温双层消毒柜由消毒柜主柜体组成,主柜体间隔分为低温消毒腔、高温消毒腔,高温消毒腔内设置有发热管,其特征在于,所述设置在高温消毒腔内的发热管为两个或两个以上,且设置在底部。The utility model adopts the following technical solution to achieve the above object: the high and low temperature double-layer disinfection cabinet is composed of the main cabinet of the disinfection cabinet, and the main cabinet is divided into a low-temperature disinfection chamber and a high-temperature disinfection chamber. The heat pipe is characterized in that there are two or more heat pipes arranged in the high-temperature disinfection chamber, and they are arranged at the bottom.
作为上述方案的进一步说明,所述发热管通过两对应设置的压块固定在高温消毒腔的底部,压块由上下压块扣合构成,上下压块之间扣合成与发热管端部外形相对应的凹槽孔,发热管端部固定在两套压块之间。As a further description of the above scheme, the heating tube is fixed on the bottom of the high-temperature disinfection chamber through two correspondingly arranged pressing blocks. Corresponding to the groove hole, the end of the heat pipe is fixed between the two sets of pressing blocks.
所述发热管的底部还设置有发热管罩底板,该底板表面为热反射面。The bottom of the heat pipe is also provided with a bottom plate of the heat pipe cover, and the surface of the bottom plate is a heat reflecting surface.
所述发热管的外围还设置有保护网罩,该保护网罩通过发热管罩底板固定。The outer periphery of the heating pipe is also provided with a protective mesh cover, and the protective mesh cover is fixed by the bottom plate of the heating pipe cover.
本实用新型采用上述技术解决方案所能达到的有益效果是:The beneficial effect that the utility model can reach by adopting above-mentioned technical solution is:
1、本实用新型的高、低温家用嵌入式消毒柜发热管采用下高温室底部左右或前后各放一根发热管;这样的结构分布,高温室内的温度更均匀,消毒效果更理想;一定程度上避免单根管结构的局部温度过高的缺陷;1. The heating tubes of the high-temperature and low-temperature household embedded disinfection cabinets of the present utility model adopt a heating tube placed on the left, right, front and back of the bottom of the high-temperature room; such a structure distribution makes the temperature in the high-temperature room more uniform and the disinfection effect is more ideal; to a certain extent To avoid the defect that the local temperature of the single pipe structure is too high;
2、本实用新型的发热管固定安装更为牢固,并能充分发挥发热管的热能,效果更佳。2. The heating pipe of the utility model is fixed and installed more firmly, and can fully exert the heat energy of the heating pipe, and the effect is better.
附图说明 Description of drawings
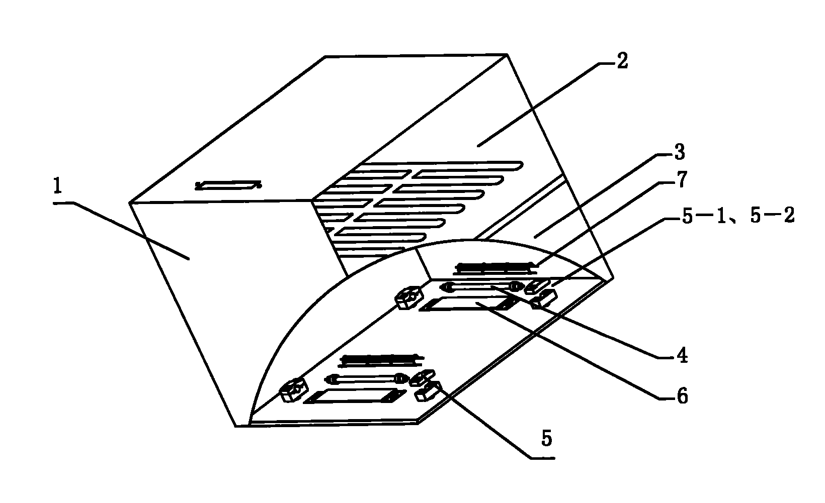
图1为本实用新型嵌入式消毒柜局部剖视结构示意图;Fig. 1 is the partial cross-sectional structure schematic diagram of embedded disinfection cabinet of the present utility model;
附图标记说明:1、主柜体 2、低温消毒腔 3、高温消毒腔 4、发热管 5、压块 5-1、上压块 5-2、下压块 6、发热管罩底板 7、保护网罩Explanation of reference signs: 1. Main cabinet body 2. Low
具体实施方式 Detailed ways
如图1、图2所示,本实用新型的该高低温双层消毒柜由消毒柜主柜体1组成,主柜体1间隔分为低温消毒腔2、高温消毒腔3,高温消毒腔3内设置有两个发热管4,所述设置在高温消毒腔内的发热管4也可以为两个以上,且均设置在底部;所述发热管4通过两对应设置的压块5固定在高温消毒腔3的底部,压块5由上下压块5—1、5—2扣合构成,上下压块5—1、5—2之间扣合成与发热管端部外形相对应的凹槽孔,发热管端部固定在两套压块5之间;所述发热管4的底部还设置有发热管罩底板6,该罩底板6底部通过螺钉固定在发热管4的底部的柜体上,该底板6表面为热反射面;所述发热管4的外围还设置有保护网罩7,该保护网罩7通过发热管罩底板6固定。As shown in Figure 1 and Figure 2, the high and low temperature double-layer disinfection cabinet of the present utility model is composed of a disinfection cabinet
本实用新型并不局限于上述实施例,所述两个或两个以上的发热管可以横向或纵向并列设置,或斜向设置也可;本领域技术人员还可做多种修改和变化,在不脱离实用新型的精神下,都在本实用新型所要求保护范围。The utility model is not limited to the above-mentioned embodiments, and the two or more heating pipes can be arranged side by side horizontally or vertically, or arranged obliquely; those skilled in the art can also make various modifications and changes. Without departing from the spirit of the utility model, all are within the scope of protection required by the utility model.
Claims (5)
Priority Applications (1)
| Application Number | Priority Date | Filing Date | Title |
|---|---|---|---|
| CNU2008200517323U CN201263802Y (en) | 2008-08-04 | 2008-08-04 | High and low-temperature double-layer built-in disinfection cabinet |
Applications Claiming Priority (1)
| Application Number | Priority Date | Filing Date | Title |
|---|---|---|---|
| CNU2008200517323U CN201263802Y (en) | 2008-08-04 | 2008-08-04 | High and low-temperature double-layer built-in disinfection cabinet |
Publications (1)
| Publication Number | Publication Date |
|---|---|
| CN201263802Y true CN201263802Y (en) | 2009-07-01 |
Family
ID=40830148
Family Applications (1)
| Application Number | Title | Priority Date | Filing Date |
|---|---|---|---|
| CNU2008200517323U Expired - Lifetime CN201263802Y (en) | 2008-08-04 | 2008-08-04 | High and low-temperature double-layer built-in disinfection cabinet |
Country Status (1)
| Country | Link |
|---|---|
| CN (1) | CN201263802Y (en) |
Cited By (3)
| Publication number | Priority date | Publication date | Assignee | Title |
|---|---|---|---|---|
| CN103028125A (en) * | 2012-09-20 | 2013-04-10 | 宁波欧琳厨房电器有限公司 | High-temperature disinfection cabinet |
| CN110583966A (en) * | 2019-10-28 | 2019-12-20 | 会同县木叶山兔业有限公司 | Separate packaging and sterilizing treatment device for rabbit meat leisure food |
| CN110787309A (en) * | 2019-11-28 | 2020-02-14 | 东阳杏泊电子科技有限公司 | Automatic layering sterilizer of accuse temperature |
-
2008
- 2008-08-04 CN CNU2008200517323U patent/CN201263802Y/en not_active Expired - Lifetime
Cited By (4)
| Publication number | Priority date | Publication date | Assignee | Title |
|---|---|---|---|---|
| CN103028125A (en) * | 2012-09-20 | 2013-04-10 | 宁波欧琳厨房电器有限公司 | High-temperature disinfection cabinet |
| CN103028125B (en) * | 2012-09-20 | 2015-08-19 | 宁波欧琳厨房电器有限公司 | High-temperature disinfection cabinet |
| CN110583966A (en) * | 2019-10-28 | 2019-12-20 | 会同县木叶山兔业有限公司 | Separate packaging and sterilizing treatment device for rabbit meat leisure food |
| CN110787309A (en) * | 2019-11-28 | 2020-02-14 | 东阳杏泊电子科技有限公司 | Automatic layering sterilizer of accuse temperature |
Similar Documents
| Publication | Publication Date | Title |
|---|---|---|
| CN203354933U (en) | Disinfection cabinet | |
| CN201263802Y (en) | High and low-temperature double-layer built-in disinfection cabinet | |
| CN201826178U (en) | Multifunctional household ultraviolet disinfection airing cupboard | |
| CN209084828U (en) | An integrated stove with gas and electricity separation | |
| CN205054851U (en) | Warm device of acupuncture | |
| CN201775806U (en) | Disinfection cabinet | |
| CN209471069U (en) | A kind of cement stability boiling box | |
| CN2912640Y (en) | Sterilizing cupboard | |
| CN203634515U (en) | Sterilized cupboard | |
| CN214962282U (en) | Multi-cavity fermentation device for composite high-fiber pastry | |
| CN201505305U (en) | Electric heating sterilization device for sterilization of edible fungus | |
| CN206007025U (en) | A kind of family expenses baking machine of automatic temperature-control | |
| CN201562123U (en) | Screen plate oven | |
| CN201395558Y (en) | Heating roller table in glass tempering furnace | |
| CN217697364U (en) | Disinfection box | |
| CN205108446U (en) | Detachable degassing unit | |
| CN208301566U (en) | A kind of Multifunctional bathroom cabinet | |
| CN209073419U (en) | A kind of disinfection cabinet electric heating tube device | |
| CN220169539U (en) | Electric heater with sterilizing and mite-killing functions | |
| CN203074522U (en) | Glass towel rack heater | |
| CN211316792U (en) | Vacuum drying oven for reverse osmosis scale inhibitor test | |
| CN205077288U (en) | Towel heater | |
| CN207727083U (en) | A kind of novel intelligent incubator | |
| CN202769782U (en) | Wall hanging flat plate type heater | |
| CN202873093U (en) | Infrared heater |
Legal Events
| Date | Code | Title | Description |
|---|---|---|---|
| C14 | Grant of patent or utility model | ||
| GR01 | Patent grant | ||
| CX01 | Expiry of patent term | ||
| CX01 | Expiry of patent term |
Granted publication date: 20090701 |
