CN201112247Y - Double-column V-shaped outdoor three-phase AC high-voltage isolating switch for external pressure type sensing finger structure - Google Patents
Double-column V-shaped outdoor three-phase AC high-voltage isolating switch for external pressure type sensing finger structure Download PDFInfo
- Publication number
- CN201112247Y CN201112247Y CNU2007200280493U CN200720028049U CN201112247Y CN 201112247 Y CN201112247 Y CN 201112247Y CN U2007200280493 U CNU2007200280493 U CN U2007200280493U CN 200720028049 U CN200720028049 U CN 200720028049U CN 201112247 Y CN201112247 Y CN 201112247Y
- Authority
- CN
- China
- Prior art keywords
- contact
- fingertip
- fixed
- touch base
- finger
- Prior art date
- Legal status (The legal status is an assumption and is not a legal conclusion. Google has not performed a legal analysis and makes no representation as to the accuracy of the status listed.)
- Expired - Fee Related
Links
- 239000012212 insulator Substances 0.000 claims abstract description 15
- 239000000843 powder Substances 0.000 claims description 21
- XEEYBQQBJWHFJM-UHFFFAOYSA-N Iron Chemical compound [Fe] XEEYBQQBJWHFJM-UHFFFAOYSA-N 0.000 claims description 16
- 238000007906 compression Methods 0.000 claims description 11
- RYGMFSIKBFXOCR-UHFFFAOYSA-N Copper Chemical compound [Cu] RYGMFSIKBFXOCR-UHFFFAOYSA-N 0.000 claims description 10
- 229910052802 copper Inorganic materials 0.000 claims description 10
- 239000010949 copper Substances 0.000 claims description 10
- 229910052742 iron Inorganic materials 0.000 claims description 8
- 239000000463 material Substances 0.000 claims description 8
- 238000009413 insulation Methods 0.000 claims description 7
- 229910052709 silver Inorganic materials 0.000 claims description 5
- 239000004332 silver Substances 0.000 claims description 5
- 229910000838 Al alloy Inorganic materials 0.000 claims description 3
- 239000000956 alloy Substances 0.000 claims description 3
- 238000003466 welding Methods 0.000 claims 1
- 238000004140 cleaning Methods 0.000 abstract description 9
- 238000010438 heat treatment Methods 0.000 abstract description 4
- 238000012423 maintenance Methods 0.000 abstract description 2
- 230000005404 monopole Effects 0.000 abstract 3
- 238000002955 isolation Methods 0.000 abstract 1
- 230000003068 static effect Effects 0.000 abstract 1
- 230000002421 anti-septic effect Effects 0.000 description 3
- 230000005611 electricity Effects 0.000 description 3
- 230000005540 biological transmission Effects 0.000 description 2
- 230000000694 effects Effects 0.000 description 2
- 230000005684 electric field Effects 0.000 description 2
- 230000002349 favourable effect Effects 0.000 description 2
- JEIPFZHSYJVQDO-UHFFFAOYSA-N iron(III) oxide Inorganic materials O=[Fe]O[Fe]=O JEIPFZHSYJVQDO-UHFFFAOYSA-N 0.000 description 2
- 239000000203 mixture Substances 0.000 description 2
- 238000003916 acid precipitation Methods 0.000 description 1
- 230000007812 deficiency Effects 0.000 description 1
- 230000002950 deficient Effects 0.000 description 1
- 238000010586 diagram Methods 0.000 description 1
- 239000000428 dust Substances 0.000 description 1
- 238000005516 engineering process Methods 0.000 description 1
- 230000003628 erosive effect Effects 0.000 description 1
- 238000009440 infrastructure construction Methods 0.000 description 1
- 150000003839 salts Chemical class 0.000 description 1
Images
Landscapes
- Switch Cases, Indication, And Locking (AREA)
Abstract
A button contact structure for power supply systems is provided, which is an outdoor three-phase AC high voltage isolation switch of V-shaped horizontally rotational style of GW5III two-cylinder horizontal fracture of external pressing type. The switch comprises three monopoles, a main knife operation device that connects the three monopoles into a whole and an earthing knife operation device; a contact base I (8) fixedly provided with a finger-shaped sheet (9) is arranged on an electro-conductive rod I (7) of a left contact (3) of the V-shaped two-cylinder structure monopoles; a spring (20) and an insulative pad are arranged in the finger-shaped sheet (9); a contact base II fixedly provided with a quadrate head (13) is arranged on an electro-conductive rod II (12) of a right contact (4); a movable contact (15) of an earthing switch in the earthing operation device is a contact base III (17) fixedly provided with a contact sheet (18) and is arranged on an electro-conductive rod III (16); the static contact is that a contact board (22) is fixed on a wiring base (22) of a post insulator (2). The switch of the utility model has the advantages of strong ability for flow passage and bearing short circuit current, good self-cleaning ability resulting in reduced maintenance, the switch also relieves the phenomenon of high heating of an electro-conductive circuit, and has good integrated use capacity and safety reliability.
Description
One, technical field:
The utility model relates to the isolating switch in a kind of electric power system, and the fingertip structure of using in specifically a kind of power supply system is the outdoor three-phase alternating current high voltage isolator of the horizontal fracture V-type of the GW5III type twin columns horizontal rotation type of external-compression type.
Two, background technology:
In the last few years, along with China's rapid development of economy, infrastructure construction was advanced by leaps and bounds especially, and the operational reliability of the various high-voltage electrical equipments of electric power system is had higher requirement; And isolating switch is in the various device of electric power system, and its operational environment is worst, is exposed to fully in the atmospheric environment, is bearing the erosion of acid rain, salt fog, dust storm.Because existing isolating switch exists deficiency in the design, cause isolating switch through-current capability, bear the short circuit current ability; Can not be self-cleaning, often need to safeguard; And exist defectives such as galvanic circle heating height, transmission position easy-to-rust, antiseptic property difference.In the various interruption of services of in recent years electric power system, the interruption of service of isolating switch is maximum.For this reason, relevant department has proposed isolating switch is carried out the requirement that improvement is transformed, and make it have good antiseptic power and conduction reliability, and very little maintenance even need not safeguarded; The rate of failure of isolating switch is reduced in the minimum scope.
Three, summary of the invention:
The outdoor three-phase alternating current high voltage isolator of the horizontal fracture V-type of GW5III type twin columns horizontal rotation type that it is external-compression type that the purpose of this utility model provides a kind of fingertip structure, bears short circuit current ability height at through-current capability; Fingertip, contact have self-cleaning ability, reduce and safeguard; Improved galvanic circle heating height, transmission position easy-to-rust, antiseptic property, its whole serviceability and security reliability are good.
For achieving the above object, the technical scheme that the utility model is taked is: on the basis of the outdoor three-phase alternating current high voltage isolator of the horizontal fracture V-type of former GW5 type twin columns horizontal rotation type, to first-class improvement of moving contact, stationary contact of leading electricity fingertip, contact and earthed switch partly.Promptly include three one poles and the operator powder operation device, compositions such as cutter powder operation device.Three one poles by the operator powder operation device, the cutter powder operation device connect into integral body.Each one pole is a V-type queen post structure, and each one pole all includes base, two post insulators, left contact, right contact etc.The lower end of two post insulators is installed on the base, and V-shaped, the upper end of two post insulators is installed left contact, right contact respectively.Left side contact is provided with fingertip, and right contact is provided with contact, and fingertip and sets of contacts are synthesized the fingertip structure.Left side contact is connected with the contact of right contact is chimeric by its fingertip.Handle the operator powder operation device, by the embedding of left and right contact and separately, realize the combined floodgate and the separating brake of isolating switch.It is characterized in that described fingertip structure is the external-compression type structure, be the fingertip structure include fingertip is arranged, contact, fingertip is to be fixed with touch base I on the conducting rod I of left contact, the both sides of touch base I are fixed with V-shaped finger-like sheet respectively, the dehiscing by the end of touch base I and in dehiscing, be provided with spring I of finger-like sheet, be provided with insulation cushion between the two ends of spring I and the finger-like sheet, be provided with the rubber-like iron plate in two outsides of finger-like sheet, an end of iron plate is fixed on the touch base I; Contact is to be fixed with touch base II, the square spigot that be fixed with hollow on the touch base II, is square on the conducting rod II of right contact.When closing a floodgate, two iron plates produce the magnetic force of inhaling mutually under effect of electric field, make the finger-like sheet be pressed in square spigot tightly.The moving contact of earthed switch is that an end that is connected with fixed contact on conducting rod III is fixed with touch base III in the described ground connection powder operation device, the both sides of touch base III are fixed with the contact that is parallel to each other respectively, lean on the end of touch base III to be provided with the spring shaft that stretches out two contacts at two contacts, be provided with spring II between the two ends of spring shaft and the contact outside, the two ends of spring II are provided with insulation cushion; The fixed contact of earthed switch be fixed with on the junction block of post insulator upper end can tightly embed moving contact two contacts that are parallel to each other between touch panel.
Operator operating mechanism in the operation operator powder operation device, be installed in two main shafts in base, two post insulators by drives such as operator vertical links, joints, two main shafts drive left contact respectively, right contact is the rotation of horizontal plane direction, the fingertip that makes left contact and the contact of right contact chimeric with separate, realize the combined floodgate and the separating brake of leading electricity part.Ground cutter operating mechanism in cutter powder operation device operatively by ground cutter vertical links, space four-links, makes on the moving contact of earthed switch pendulum connect with the chimeric combined floodgate of fixed contact, and the bottom then separating brake cut-offs.
In order to improve conductive capability and automatically cleaning ability, the material of the finger-like sheet of fingertip and the square spigot of contact is pure red copper section bar and all is coated with hard silver in the contact site of the square spigot of the finger-like sheet of fingertip and contact; The material of the conducting rod I of fingertip and the conducting rod II of contact is aluminium alloy material.The contact of earthed switch moving contact is copper coin cold moudling, curved.Fixing, the conducting rod II of conducting rod I and touch base I and fixing, the conducting rod III of touch base II go up to weld with fixedly being of touch base III and fix.
Because the material of contact and fingertip adopts the pure red copper section bar with favorable elasticity and electric conductivity, and structurally carried out overall improvement, all be coated with hard silver in the contact site, (spring has electric current to pass through behind combined floodgate to have replaced the former fingertip version that is provided with spring, heating, the elasticity of spring is reduced, thereby reliability and current carrying capacity have been influenced), fingertip is to realize by the stage clip of fingertip inside to the clamping force of contact, make the finger-like sheet be pressed in (we are referred to as external-compression type fingertip structure) that square spigot is realized tightly, improved the clamping force of contact and fingertip and the conveyance capacity of electric current during combined floodgate.Be provided with insulation cushion between spring I and finger-like sheet, when closing a floodgate, spring I does not have electric current to be passed through, and spring I can not generate heat, and has guaranteed that the elastic force of spring I can not weaken.Fingertip and contact be by sliding motion close a floodgate, separating brake, also just improved the automatically cleaning ability.The contact of earthed switch moving contact adopts copper coin cold moudling, curved, have better elastic and electric conductivity, and spring II is arranged, when contact and touch panel combined floodgate in the arranged outside of contact, has clamping force preferably, the electric conductivity after having guaranteed to close a floodgate.Therefore, the utlity model has through-current capability, bear short circuit current ability height; Self-cleaning ability is good, reduces and safeguards; Improved the galvanic circle high phenomenon of generating heat, its whole serviceability and security reliability are good.
Four, description of drawings
Fig. 1 is a schematic diagram of the present utility model;
Fig. 2 is the vertical view of Fig. 1;
Fig. 3 is that M among Fig. 1 is to view.
Fig. 4 is the N enlarged drawing among Fig. 2.
Five, embodiment
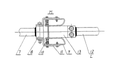
Accompanying drawing is embodiment of the present utility model, include three one poles and the operator powder operation device, compositions such as cutter powder operation device.Three one poles by the operator powder operation device, the cutter powder operation device connect into integral body.Each one pole is a V-type queen post structure, and each one pole all includes base 1, two post insulators 2, left contact 3, right contact 4 etc.The lower end of two post insulators 2 is installed on the base 1, and V-shaped, the upper end of two post insulators 2 is installed left contact 3, right contact 4 respectively.Left side contact 3 is provided with fingertip 5, and right contact 4 is provided with contact 6, and fingertip 5 is combined into the fingertip structure with contact 6.Left side contact 3 is by contact 6 chimeric are connected of its fingertip 5 with right contact 4.Handle the operator powder operation device, by the embedding of left and right contact 3,4 and separately, realize the combined floodgate and the separating brake of isolating switch.It is characterized in that described fingertip structure is the external-compression type structure, be the fingertip structure include fingertip 5 is arranged, contact 6, fingertip 5 is fixed with touch base I8 on the conducting rod I7 of left contact 3, the both sides of touch base I8 are fixed with the finger-like sheet 9 that is the U type respectively, the dehiscing by the end of touch base I8 and in dehiscing, be provided with spring I10 of finger-like sheet 9, be provided with insulation cushion between the two ends of spring I10 and the finger-like sheet 9, two outsides at finger-like sheet 9 are provided with rubber-like iron plate 11, and an end of iron plate 11 is fixed on the touch base I8; Contact 6 is fixed with touch base II, the square spigot 13 that be fixed with hollow on the touch base II, is square on the conducting rod II12 of right contact 4.When closing a floodgate, two iron plates 11 produce the magnetic force of inhaling mutually under effect of electric field, make finger-like sheet 9 be pressed in square spigot 13 tightly.The moving contact 15 of earthed switch is that an end that is connected on conducting rod III16, with fixed contact is fixed with touch base III17 in the described ground connection powder operation device, the both sides of touch base III17 are fixed with the contact 18 that is parallel to each other respectively, lean on the end of touch base III17 to be provided with the spring shaft 19 that stretches out two contacts 18 at two contacts 18, be provided with spring II20 between the two ends of spring shaft 19 and contact 18 outsides, the two ends of spring II20 are provided with insulation cushion; The fixed contact of earthed switch be fixed with on the junction block 21 of post insulator 2 upper ends can tightly embed moving contact 15 two contacts that are parallel to each other 18 between touch panel 22.
Operator operating mechanism in the operation operator powder operation device, be installed in two main shafts in base 1, two post insulators 2 by drives such as operator vertical links, joints, two main shafts drive left contact 3 respectively, right contact 4 is the rotation of horizontal plane direction, the fingertip 5 that makes left contact 3 and the contact of right contact 46 chimeric with separate, realize the combined floodgate and the separating brake of leading electricity part.Ground cutter operating mechanism in cutter powder operation device operatively by ground cutter vertical links, space four-links, makes on the moving contact 15 of earthed switch pendulum connect with the chimeric combined floodgate of fixed contact, and the bottom then separating brake cut-offs.
In order to improve conductive capability and automatically cleaning ability, the material of the finger-like sheet 9 of the fingertip 5 of present embodiment and the square spigot 13 of contact 6 is pure red copper section bar and all is coated with hard silver in the contact site of the square spigot 13 of the finger-like sheet 9 of fingertip 5 and contact 6; The material of the conducting rod I7 of fingertip 5 and the conducting rod II12 of contact 6 is aluminium alloy material.The contact 18 of earthed switch moving contact 15 is copper coin cold moudling, curved.Fixing, the conducting rod II12 of conducting rod I7 and touch base I8 and fixing, the conducting rod III16 of touch base II go up to weld with fixedly being of touch base III17 and fix.
Because contact 6 of the present utility model adopts the pure red copper section bar with favorable elasticity and electric conductivity with the material of fingertip 5, and all is coated with hard silver in the contact site, has improved contact 6 and the clamping force of fingertip 5 and the conveyance capacity of electric current during combined floodgate.Fingertip 5 and contact 6 be by sliding motion close a floodgate, separating brake, improved the automatically cleaning ability.The contact 18 of earthed switch moving contact adopts copper coin cold moudling, curved, have better elastic and electric conductivity, and spring II20 is arranged, when contact 18 closes a floodgate with touch panel 22 in the arranged outside of contact 18, has clamping force preferably, the electric conductivity after having guaranteed to close a floodgate.Therefore, the utlity model has through-current capability, bear short circuit current ability height; Self-cleaning ability is good, reduces and safeguards; Improved the galvanic circle high phenomenon of generating heat, its whole serviceability and security reliability are good.
Claims (4)
1, the outdoor three-phase alternating current high voltage isolator of a kind of twin columns V-type of external-compression type fingertip structure, include three one poles and operator powder operation device, the cutter powder operation device form, three one poles by the operator powder operation device, the cutter powder operation device connect into integral body; Each one pole is a V-type queen post structure, each one pole all includes base (1), two post insulators (2), left contact (3), right contact (4), it is last, also V-shaped that the lower end of two post insulators (2) is installed in base (1), the upper end of two post insulators (2) is installed left contact (3), right contact (4) respectively, left side contact (3) is provided with fingertip (5), right contact (4) is provided with contact (6), fingertip (5) is combined into the fingertip structure with contact (6), and left contact (3) is by contact (6) chimeric be connected of its fingertip (5) with right contact (4); It is characterized in that described fingertip structure is the external-compression type structure, be that the fingertip structure includes and fingertip arranged (5), contact (6), fingertip (5) is fixed with touch base I (8) on the conducting rod I (7) of left contact (3), the both sides of touch base I (8) are fixed with the finger-like sheet (9) that is the U type respectively, dehiscing of finger-like sheet (9) by the end of touch base I (8), and in dehiscing, be provided with spring I (10), be provided with insulation cushion between the two ends of spring I (10) and the finger-like sheet (9), be provided with rubber-like iron plate (11) in two outsides of finger-like sheet (9), an end of iron plate (11) is fixed on the touch base I (8); Contact (6) is fixed with touch base II, the square spigot that be fixed with hollow on the touch base II, is square (13) on the conducting rod II (12) of right contact (4); The moving contact (15) of earthed switch is to go up an end that is connected with fixed contact at conducting rod III (16) to be fixed with touch base III (17) in the described ground connection powder operation device, the both sides of touch base III (17) are fixed with the contact (18) that is parallel to each other respectively, lean on the end of touch base III (17) to be provided with the spring shaft (19) that stretches out two contacts (18) at two contacts (18), be provided with spring II (20) between the two ends of spring shaft (19) and contact (18) outside, the two ends of spring II (20) are provided with insulation cushion; The fixed contact of earthed switch is the touch panel (22) that is fixed with on the junction block (21) of post insulator (2) upper end between two contacts that are parallel to each other (18) that can tightly embed moving contact (15).
2, the outdoor three-phase alternating current high voltage isolator of the twin columns V-type of external-compression type fingertip structure according to claim 1, the material that it is characterized in that the square spigot (13) of the finger-like sheet (9) of fingertip (5) and contact (6) are pure red copper section bar and all are coated with hard silver in the contact site of the square spigot (13) of the finger-like sheet (9) of fingertip (5) and contact (6); The material of the conducting rod I (7) of left side contact (3) and the conducting rod II (12) of right contact (4) is aluminium alloy material.
3, the outdoor three-phase alternating current high voltage isolator of the twin columns V-type of external-compression type fingertip structure according to claim 1, the contact (18) that it is characterized in that earthed switch moving contact (15) is copper coin cold moudling, curved.
4, the outdoor three-phase alternating current high voltage isolator of the twin columns V-type of external-compression type fingertip structure according to claim 1, fixing, the conducting rod II (12) that it is characterized in that conducting rod I (7) and touch base I (8) are gone up with the welding that fixedly is of touch base III (17) with fixing, the conducting rod III (16) of touch base II and are fixed.
Priority Applications (1)
| Application Number | Priority Date | Filing Date | Title |
|---|---|---|---|
| CNU2007200280493U CN201112247Y (en) | 2007-09-14 | 2007-09-14 | Double-column V-shaped outdoor three-phase AC high-voltage isolating switch for external pressure type sensing finger structure |
Applications Claiming Priority (1)
| Application Number | Priority Date | Filing Date | Title |
|---|---|---|---|
| CNU2007200280493U CN201112247Y (en) | 2007-09-14 | 2007-09-14 | Double-column V-shaped outdoor three-phase AC high-voltage isolating switch for external pressure type sensing finger structure |
Publications (1)
| Publication Number | Publication Date |
|---|---|
| CN201112247Y true CN201112247Y (en) | 2008-09-10 |
Family
ID=39963992
Family Applications (1)
| Application Number | Title | Priority Date | Filing Date |
|---|---|---|---|
| CNU2007200280493U Expired - Fee Related CN201112247Y (en) | 2007-09-14 | 2007-09-14 | Double-column V-shaped outdoor three-phase AC high-voltage isolating switch for external pressure type sensing finger structure |
Country Status (1)
| Country | Link |
|---|---|
| CN (1) | CN201112247Y (en) |
Cited By (4)
| Publication number | Priority date | Publication date | Assignee | Title |
|---|---|---|---|---|
| CN101714476B (en) * | 2009-11-05 | 2013-01-02 | 闫淼江 | High-voltage isolating switch |
| CN109166739A (en) * | 2018-09-28 | 2019-01-08 | 苏州国嘉记忆合金有限公司 | A kind of switch touching head assembly |
| CN111489911A (en) * | 2020-04-09 | 2020-08-04 | 陕西省地方电力(集团)有限公司延安供电分公司 | An anti-overheating and anti-corrosion high-voltage AC isolation switch |
| CN113539731A (en) * | 2021-06-28 | 2021-10-22 | 杭州永德电气有限公司 | High-voltage grounding isolating switch and isolating method |
-
2007
- 2007-09-14 CN CNU2007200280493U patent/CN201112247Y/en not_active Expired - Fee Related
Cited By (5)
| Publication number | Priority date | Publication date | Assignee | Title |
|---|---|---|---|---|
| CN101714476B (en) * | 2009-11-05 | 2013-01-02 | 闫淼江 | High-voltage isolating switch |
| CN109166739A (en) * | 2018-09-28 | 2019-01-08 | 苏州国嘉记忆合金有限公司 | A kind of switch touching head assembly |
| CN111489911A (en) * | 2020-04-09 | 2020-08-04 | 陕西省地方电力(集团)有限公司延安供电分公司 | An anti-overheating and anti-corrosion high-voltage AC isolation switch |
| CN111489911B (en) * | 2020-04-09 | 2022-05-03 | 陕西省地方电力(集团)有限公司延安供电分公司 | Anti-overheating and anti-corrosion high-voltage alternating-current isolating switch |
| CN113539731A (en) * | 2021-06-28 | 2021-10-22 | 杭州永德电气有限公司 | High-voltage grounding isolating switch and isolating method |
Similar Documents
| Publication | Publication Date | Title |
|---|---|---|
| CN201104318Y (en) | Double-column II type outdoor three-phase AC high-voltage isolating switch with self-operated sensing finger structure | |
| CN201112254Y (en) | Double-column II type outdoor three-phase AC high-voltage isolating switch for external pressure type sensing finger structure | |
| CN201112247Y (en) | Double-column V-shaped outdoor three-phase AC high-voltage isolating switch for external pressure type sensing finger structure | |
| CN203573889U (en) | Outdoor high-voltage large-current isolating switch | |
| CN201608091U (en) | Single-column vertical-telescopic-type outdoor high-voltage alternating-current isolating switch | |
| CN201430103Y (en) | Single-post single-arm vertical retractable outdoor three-phase high-voltage alternating-current isolating switch | |
| CN105762000A (en) | DC load isolation switch | |
| CN204966367U (en) | Novel indoor high voltage isolator of GN10 | |
| CN204178992U (en) | The conductive structure of twin columns vertical opening type high-voltage alternating current isolating switch | |
| CN201112253Y (en) | Double-column V-shaped outdoor three-phase AC high-voltage isolating switch of self-operated sensing finger structure | |
| CN201638731U (en) | Telescopic outdoor high-voltage alternate-current isolating switch with dual-column horizontal fracture | |
| CN201868299U (en) | Outdoor AC high-voltage isolating switch | |
| CN201041782Y (en) | Two-step action three-phase AC outdoor high-voltage ground switch | |
| CN103192741B (en) | Rail-side conductor rail power switching system | |
| CN202601491U (en) | Outdoor high-voltage isolating switch | |
| CN105405703A (en) | Three-position isolating and grounding switch | |
| CN201274252Y (en) | DC ultra-high-voltage isolation switch | |
| CN204178996U (en) | The conductive structure of three-column type high voltage alternating current isolating switch | |
| CN201402771Y (en) | Double-post horizontal rotation type outdoor tri-phase high-voltage alternating-current disconnector | |
| CN201638735U (en) | Single-pole vertical-fracture telescopic outdoor high-voltage alternating-current isolating switch | |
| CN202307657U (en) | 126 kV outdoor AC high-voltage isolation switch | |
| CN202997335U (en) | Ring network cabinet | |
| CN201829400U (en) | Vertically telescopic outdoor three-phase high-pressure AC (Alternating Current) isolating switch with single column and double arms | |
| CN102543549B (en) | Rail transit isolating switch body | |
| CN202167401U (en) | Intelligent outdoor high-voltage AC bus grounding switch |
Legal Events
| Date | Code | Title | Description |
|---|---|---|---|
| C14 | Grant of patent or utility model | ||
| GR01 | Patent grant | ||
| C17 | Cessation of patent right | ||
| CF01 | Termination of patent right due to non-payment of annual fee |
Granted publication date: 20080910 Termination date: 20100914 |