CN201109083Y - Improved quick clamp for working table - Google Patents

Improved quick clamp for working table Download PDF

Info

Publication number
CN201109083Y
CN201109083Y CNU2007201701610U CN200720170161U CN201109083Y CN 201109083 Y CN201109083 Y CN 201109083Y CN U2007201701610 U CNU2007201701610 U CN U2007201701610U CN 200720170161 U CN200720170161 U CN 200720170161U CN 201109083 Y CN201109083 Y CN 201109083Y
Authority
CN
China
Prior art keywords
lifting body
aperture
screw rod
screw
inserted link
Prior art date
Legal status (The legal status is an assumption and is not a legal conclusion. Google has not performed a legal analysis and makes no representation as to the accuracy of the status listed.)
Expired - Fee Related
Application number
CNU2007201701610U
Other languages
Chinese (zh)
Inventor
徐秀贵
Current Assignee (The listed assignees may be inaccurate. Google has not performed a legal analysis and makes no representation or warranty as to the accuracy of the list.)
Individual
Original Assignee
Individual
Priority date (The priority date is an assumption and is not a legal conclusion. Google has not performed a legal analysis and makes no representation as to the accuracy of the date listed.)
Filing date
Publication date
Application filed by Individual filed Critical Individual
Priority to CNU2007201701610U priority Critical patent/CN201109083Y/en
Application granted granted Critical
Publication of CN201109083Y publication Critical patent/CN201109083Y/en
Anticipated expiration legal-status Critical
Expired - Fee Related legal-status Critical Current

Links

Images

Landscapes

  • Gripping Jigs, Holding Jigs, And Positioning Jigs (AREA)

Abstract

An improved quick clamp for working table top is composed of a lifting body, a clamping rod, an inserting rod, an elastic pressing plate between said inserting rod and front end of lifting body for fixing or releasing the lifting body to regulate the up-down movement of lifting body, a rotary handle above the clamping rod for quickly clamping and locating the workpiece after the height between base and workpiece is regulated by lever principle, and two sleeves with internal thread and slope are screwed on the external diameter of said inserting rod, the outer diameter of the sleeve can be increased or reduced to be positioned in the hole diameter on the working table surface, so that the workpiece processing operation is convenient.

Description

工作台面用之改良的快速夹 Improved quick clips for countertops

技术领域 technical field

本实用新型涉及一种夹固工具,特别是一种可在工作台面上供木工或者是其它用途上来夹定位使用的改良的快速夹。The utility model relates to a clamping tool, in particular to an improved quick clamp which can be used for clamping and positioning on a work table for carpentry or other purposes.

背景技术 Background technique

由于一般插在工作台面上来夹持工件予以加工使用的夹具,外观型态有很多种,实在是不胜枚举,但是综合下其结构都是采取如附图1所示的构造方式,来达到可迫紧定位于工作台面上的孔径中,如图1中所示,在夹具上设有一个插杆1,以倾斜状的方式直接将插杆1插入贯通于工作台面2上的预设孔径3处,使插杆1的边面能够顶触到工作台面2上的孔径3上下两点边端31、32处,然后再配合以螺帽33、垫片34等构件,来自插杆1的底端螺旋到工作台面2的底端面固定,这种的迫紧定位固定方式,在使用上乃具有以下的缺失处:Because the clamps are generally inserted into the work table to clamp the workpiece for processing, there are many kinds of appearance types, which are too numerous to enumerate. However, the structure is generally adopted as shown in Figure 1 to achieve the possible Tightly positioned in the aperture on the worktable, as shown in Figure 1, an insertion rod 1 is provided on the fixture, and the insertion rod 1 is directly inserted into the preset aperture 3 on the worktable 2 in an inclined manner place, so that the side surface of the plunger 1 can touch the upper and lower sides 31 and 32 of the aperture 3 on the work surface 2, and then cooperate with components such as nuts 33 and gaskets 34 to come from the bottom of the plunger 1 The end screw is fixed to the bottom end surface of the work surface 2. This kind of tight positioning and fixing method has the following shortcomings in use:

第一,其在使用上因为插杆1边面所顶触到木质工作台面2上的孔径3内是上下两点边端31、32的点接处,所以在以螺帽33迫紧后,很容易如图2上所示者,使该边端31处凹陷入或者是破裂掉,这样一来,就会有空隙35产生,而使插杆1在加工作业当中幌动,影响工件8加工质量。First, in use, because the hole 3 where the side surface of the plunger 1 touches the wooden work surface 2 is the junction of the upper and lower points 31, 32, so after tightening with the nut 33, It is easy to sag or break the side end 31 as shown in FIG. 2 . In this way, a gap 35 will be generated, and the plunger 1 will fluctuate during the processing operation, which will affect the processing of the workpiece 8. quality.

第二,该夹具的构造设计上,是于必须以插杆1,插入贯通于工作台面2上的预设孔径3外,再以螺帽33迫紧来固定的方式,所以其使用上的工作台面2就必须被限定在有完全贯穿到底部外的孔径3之工作台面2才能够使用,若是遇到有未完全贯穿到底部外的孔径3之工作台面2就无法使用,于是最近市面上有出现如图3所示的另外一种夹具构造,虽然这种夹具在其底端设有一个可向外扩张的套筒84,在插入工作台面上的预设孔径中时,可以解决上列所述之缺失处,但是其在使用上仍然具有其它的缺失处,兹说明如下:Second, in terms of the structural design of the fixture, the insertion rod 1 must be inserted through the preset aperture 3 on the work surface 2, and then tightened by the nut 33 to fix it, so the work in use The table top 2 must be limited to the work table 2 that has the aperture 3 that completely penetrates the bottom. There is another kind of fixture structure as shown in Figure 3, although this fixture is provided with a sleeve 84 that can expand outwards at its bottom end, when inserting in the preset aperture on the work surface, can solve above-listed problem. However, it still has other deficiencies in use, which are explained as follows:

第一,其构造上太过繁杂,在外径上要车制螺杆80,而内径中又要车制螺纹81与内螺孔82,制造上成本很高。First, its structure is too complicated. The screw rod 80 must be machined on the outer diameter, and the screw thread 81 and the inner screw hole 82 must be machined on the inner diameter. The manufacturing cost is very high.

第二,其在插入工作台面上的预设孔径中使用时,是完全靠用手来旋转旋钮83,使套筒84向外扩张,所以很费力不便。Second, when it is inserted into the preset aperture on the worktable, the knob 83 is completely rotated by hand to expand the sleeve 84 outward, so it is very laborious and inconvenient.

第三,其在使用上调整滑座85上下时,是如图4所示,须将滑座85一端抬起倾斜,使滑座85内的两杆体86、87抵触到螺杆80,来使其定位,这种使用方式很容易因工作时幌动或者不小心碰到滑座85时,就会使滑座85产生幌动,无法达到完全紧固的功能。Third, when adjusting the sliding seat 85 up and down in use, as shown in Figure 4, one end of the sliding seat 85 must be lifted and tilted so that the two rod bodies 86, 87 in the sliding seat 85 are in contact with the screw rod 80 to make it Positioning, this mode of use is easy to cause sliding seat 85 to produce sliding seat 85 due to fluctuating during work or accidentally bumping into sliding seat 85, and the function of complete fastening cannot be achieved.

第四,其在使用上要夹固工件时,须靠用手来旋转旋钮88,使夹座89逐渐向下,操作上十分耗时缓慢。Fourth, when the workpiece is to be clamped in use, the knob 88 must be rotated by hand to make the clamping seat 89 gradually downward, which is very time-consuming and slow in operation.

第五,其夹座89的底端为平整直线状设计,当遇到外形为圆弧形的工件时,就不容易夹固。The 5th, the bottom end of its clamp seat 89 is flat and linear design, when running into the workpiece that profile is arc shape, just is not easy to clamp.

有鉴于此,所以本发明人才再研发出本实用新型来提供给消费者方便使用。In view of this, the inventors have developed the utility model to provide convenience to consumers.

发明内容 Contents of the invention

本实用新型的目的是提出一种能令工作台面用之快速夹使用时,不必须限定在有完全贯穿到底部外的孔径之工作台面才能够使用,可以省时省力的固定快速夹到工作台面上,并且在固定时可以避免桌面的孔径内端边破裂或凹陷入,产生余隙,固定不稳固的情况,另外还可以解决外形为圆弧形的工件不易加固的问题。The purpose of this utility model is to propose a quick clip that can be used on the work surface, and it does not have to be limited to the work surface that has a hole that completely penetrates to the outside of the bottom. It can be fixed and quickly clamped to the work surface with time and effort. When fixing, it can avoid the inner end edge of the tabletop from breaking or sinking, resulting in clearance, and the situation of unstable fixing. In addition, it can also solve the problem that the arc-shaped workpiece is not easy to reinforce.

为了实现上述目的,本实用新型提出以下方案:In order to achieve the above object, the utility model proposes the following scheme:

一种工作台面用之改良的快速夹,其特征在于:其构造上包括:An improved quick clip for worktable, characterized in that its structure includes:

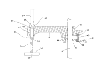
升降本体4-其前端颈部设有一个可上下贯通的孔径41,在该孔径41的前端外缘面上具有一个内径孔座42,于其前端颈部的孔径41下端近缘部位,具有一个插口44,以及在升降本体4的后端部位,具有一对凸耳45与一座体46,在升降本体4其座体后端部位上的中央部位开设有一个可上下贯通的螺孔径47,可供夹杆5上的螺杆51旋入组合;。Lifting body 4-its front neck is provided with an aperture 41 that can pass through up and down. There is an inner diameter hole seat 42 on the front outer edge surface of the aperture 41, and there is a lower end near the aperture 41 of the front neck. Socket 44, and at the rear end position of lifting body 4, have a pair of lug 45 and seat body 46, offer a screw hole diameter 47 that can penetrate up and down at the central part on its seat body rear end position of lifting body 4, can Screw the screw rod 51 on the clip bar 5 into the combination;

手把93-其近下方部位设有一对如凸轮缘面形状的端部94以及在该端部94上设有一个横杆轴95。Handle 93-it is provided with a pair of end portion 94 such as cam flange surface shape near its lower part and is provided with a cross bar shaft 95 on this end portion 94.

插杆6-在其接近杆身的上端部位处,设有一个凹入环槽63,供一扣环64卡入其内,在插杆6的底端部位,设有一段螺杆61以及在螺杆61的上方杆身处,开设有一个凹入缺口62。Insertion rod 6-at its upper end near the shaft, a recessed ring groove 63 is provided for a snap ring 64 to snap into it. At the bottom of the insertion rod 6, a section of screw rod 61 and a screw rod are provided. A concave notch 62 is provided at the upper shaft of the shaft 61 .

夹杆5-是由一个螺杆51、与一个座体52所组合构成。Clamping bar 5-is composed of a screw rod 51 and a seat body 52 .

压片9-其尾端部位开设有一个孔径91,以及其前方部位开设有一个凹入的孔座92。The pressing sheet 9 is provided with an aperture 91 at its rear end, and a recessed hole seat 92 at its front.

压缩弹簧43-在组合时是其上方部位穿插在升降本体4前端颈部的内径41孔座中,而下方部位是穿插于压片9前方部位的孔座92中。Compression spring 43-is that its top part is inserted in the inner diameter 41 hole seat of lifting body 4 front end necks when assembling, and the lower part is to be inserted in the hole seat 92 of pressing plate 9 front parts.

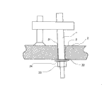
两块套筒72、73-其中位于下方位置的套筒73,在其上设有一内螺纹孔径71,而位于上方位置的套筒72,在其上设有一内径722,两者分别可以圈套与旋转螺合在插杆6接近底端部位的螺杆61上;Two pieces of sleeves 72, 73-wherein the sleeve 73 located at the lower position is provided with an internal threaded aperture 71 thereon, and the sleeve 72 located at the upper position is provided with an inner diameter 722 thereon, both of which can be snare and Rotate and screw on the screw rod 61 near the bottom end of the insertion rod 6;

升降本体4前端上的孔径41可供插杆6穿插入其内,内径孔座42可供压缩弹簧43的上端部位穿插于其内,在压片9尾端部位上的孔径91套穿于插杆6后,压片9尾端部位则穿插于升降本体4下方的插口44中,压缩弹簧43的下端部位插入于压片9前方部位的孔座92中,位于升降本体4后端部位上的座体46,其上的螺孔径47供夹杆5上的螺杆51旋入组合,升降本体4后端部位上的凸耳45,供手把93下方的横杆轴95穿插组合,并且在组合后使手把93下方部位的端部94,能对应在夹杆5螺杆51的顶端面上。The aperture 41 on the front end of the lifting body 4 can be used for the insertion rod 6 to be inserted therein, the inner diameter hole seat 42 can be used for the upper end of the compression spring 43 to be inserted therein, and the aperture 91 on the tail end of the pressing piece 9 is sleeved in the insertion Behind the rod 6, the tail end of the pressing piece 9 is inserted into the socket 44 below the lifting body 4, and the lower end of the compression spring 43 is inserted into the hole seat 92 at the front of the pressing piece 9, and the opening on the rear end of the lifting body 4. Seat body 46, screw diameter 47 on it is screwed into combination for screw rod 51 on the clamping rod 5, and the lug 45 on the rear end of lift body 4 is used for the cross bar shaft 95 below the handle 93 to penetrate and combine, and in combination Afterwards, the end 94 of the handle 93 lower part can correspond to the top end surface of the clamping rod 5 screw rod 51.

本实用新型的有益效果在于:The beneficial effects of the utility model are:

采用本实用新型实现的工作台面用之快速夹在操作上较为省时省力,能利用杠杆原理,快速的将工件抵止住固定位,使插杆在插入工作台面上的预设孔径中时,能够很快速的完全迫紧定位于工作台面上的孔径中而方便其加工作业使用。The quick clamping of the working table realized by the utility model is more time-saving and labor-saving in operation, and the principle of leverage can be used to quickly hold the workpiece against the fixed position, so that when the inserting rod is inserted into the preset aperture on the working table, It can be quickly and completely tightened and positioned in the hole on the worktable to facilitate its use in processing operations.

附图的简要说明Brief description of the drawings

图1、2、3、4是为现有技术的相关构造图。Figures 1, 2, 3, and 4 are related structural diagrams of the prior art.

图5是为本实用新型的立体构造分解图。Fig. 5 is an exploded view of the three-dimensional structure of the present invention.

图6是为本实用新型的立体构造组合图。Fig. 6 is a three-dimensional structural combination diagram of the present utility model.

图7、8是为实用新型的平面剖视相关构造示意图。Figures 7 and 8 are schematic diagrams of related structures in plane section of the utility model.

图9是为本实用新型以扳手旋转插杆时之示意图。Fig. 9 is a schematic view of the utility model when the insertion rod is rotated with a wrench.

图10、11是为本实用新型实施于工作台面上贯通孔径时之实施图例。Figures 10 and 11 are examples of implementation of the utility model when the utility model is applied to a through hole on the workbench.

图12是为本实用新型座体在夹固圆形工件时之示意图。Fig. 12 is a schematic view of the seat body of the present invention when clamping a circular workpiece.

图13是为本实用新型实施于工作台面上夹持工件时之实施图例。Fig. 13 is an example of implementation of the utility model when the workpiece is clamped on the worktable.

图14、15是为本实用新型实施于工作台面上未贯通孔径时之实施图例。Figures 14 and 15 are examples of the implementation of the utility model when the aperture is not penetrated on the workbench.

具体实施方式 Detailed ways

请参阅图5、6、7所示,本实用新型是由一个升降本体4搭配一个插杆6、夹杆5与压缩弹簧43、压片9、手把93、两套筒72、73及垫片36、垫片34、螺帽33等构件所组合构成,其中,升降本体4的前端颈部设有一个可上下贯通的孔径41,在该孔径41的前端外缘面上,另外成型具有一个内径孔座42,又,位于该孔径41下端近缘部位,则设计成型具有一个插口44,以及在升降本体4的后端部位,设计成型具有一对凸耳45与一座体46,其中,在座体46的中央部位开设有一个可上下贯通的螺孔径47;插杆6,在其接近杆身的上端部位处,设有一个凹入环槽63,可供一扣环64卡入其内,来作为调整升降本体4在插杆6上位移动作时之上死点,防止升降本体4向上脱离开来,另外在插杆6的的底端部位,设有一段螺杆61,可以使两套筒72、73及垫片36、垫片34、螺帽33等构件圈套旋转螺合在其上搭配使用,又,在螺杆61的上方杆身处,开设有一个凹入缺口62,可供旋转插杆6时,用扳手10来夹持旋转;压片9,其尾端部位开设有一个孔径91,以及其前方部位开设有一个凹入的孔座92;手把93,其近下方部位设有一对如凸轮缘面形状般的端部94,以及在该端部94上设有一个横杆轴95;夹杆5,是由一个螺杆51、与一个座体52所组合构成,在螺杆51上旋合有一个螺帽53,而座体52的底端面开设有凹槽54;两套筒72、73,其中,位于下方位置的套筒73,在其上设有一内螺纹孔径71,而位于上方位置的套筒72,在其上设有一内径722,两者分别可以圈套与旋转螺合在插杆6接近底端部位的螺杆61上,并搭配垫片36、垫片34、螺帽33等构件来使用,除此之外,该两块套筒72、73最特别的地方是将其设计成由一个套筒以斜坡度的方式裁切成为两块,使该两块套筒72、73各自皆具有一个斜切边面721、731,利用这两块套筒72、73上可相对接触的斜切边面721、731设计,使两块套筒72、73在相对螺旋上下移动时,能使其的外径向外增大或向内缩小;上述各个构件在组合时是,升降本体4前端上的孔径41可供插杆6穿插入其内,而内径孔座42则可供压缩弹簧43的上端部位,穿插于其内,另外,在压片9尾端部位上的孔径91套穿于插杆6后,压片9尾端部位就能穿插于升降本体4下方的插口44中,并且使压缩弹簧43的下端部位,能插入于压片9前方部位的孔座92中,又,位于升降本体4后端部位上的座体46,其上的螺孔径47则可供夹杆5上的螺杆51旋入组合,而升降本体4后端部位上的凸耳45,则可供手把93下方的横杆轴95穿插组合,并且在组合后使手把93下方部位的端部94,能对应在夹杆5螺杆51的顶端面上。Please refer to Figures 5, 6, and 7, the utility model is composed of a lifting body 4 with an insertion rod 6, a clamping rod 5, a compression spring 43, a pressing piece 9, a handle 93, two sleeves 72, 73 and pads Sheet 36, gasket 34, nut 33 and other components are combined, wherein, the front neck of the lifting body 4 is provided with an aperture 41 that can penetrate up and down, and on the front end outer edge surface of the aperture 41, a Inner diameter hole seat 42, again, be positioned at this aperture 41 lower end proximal parts, then design molding has a socket 44, and in the rear end position of lifting body 4, design molding has a pair of lugs 45 and seat body 46, wherein, in seat The central portion of the body 46 is provided with a screw hole 47 that can penetrate up and down; the insertion rod 6 is provided with a recessed ring groove 63 near the upper end of the rod body, and a buckle 64 can be snapped into it. It is used to adjust the upper dead point of the lifting body 4 when it is displaced on the insertion rod 6, so as to prevent the lifting body 4 from detaching upwards. In addition, a section of screw 61 is provided at the bottom of the insertion rod 6 to make the two sleeves 72, 73 and spacers 36, spacers 34, nuts 33 and other component rings are screwed together for use, and again, at the upper shaft of the screw rod 61, a recessed gap 62 is provided for rotation and insertion. When the rod 6, use a wrench 10 to clamp and rotate; the pressure sheet 9 has an aperture 91 at its tail end, and a recessed hole seat 92 at its front; handle 93, its near lower part is provided with a To the end portion 94 of the shape of the cam flange, and on the end portion 94, a cross bar shaft 95 is provided; A nut 53 is screwed together, and the bottom end surface of the seat body 52 is provided with a groove 54; two sleeves 72, 73, wherein, the sleeve 73 located at the lower position is provided with an internal threaded aperture 71 on it, and is located at The sleeve 72 at the upper position is provided with an inner diameter 722 on it, and the two can be snare and rotated and screwed on the screw rod 61 near the bottom of the insertion rod 6, and are matched with the gasket 36, the gasket 34, and the nut 33. In addition, the most special part of the two sleeves 72, 73 is that they are designed to be cut into two pieces by a sleeve with a slope, so that the two sleeves 72, 73 73 each has a chamfered side surface 721,731, using the design of the chamfered side surface 721,731 that can be in relative contact on the two sleeves 72,73, when the two sleeves 72,73 move up and down relative to the spiral , can make its outer diameter increase outwards or shrink inward; when the above-mentioned components are combined, the aperture 41 on the front end of the lifting body 4 can be used for the insertion rod 6 to be inserted therein, while the inner diameter hole seat 42 can be used for The upper end of the compression spring 43 is interspersed therein. In addition, after the aperture 91 on the tail end of the pressing piece 9 is inserted through the insertion rod 6, the tail end of the pressing piece 9 can be inserted into the socket 44 below the lifting body 4 In, and the lower end portion of the compression spring 43 can be inserted into the hole seat 92 at the front portion of the pressing piece 9, and the seat body 46 positioned at the rear end portion of the lifting body 4 has a screw hole diameter 47 on it for clamping The screw rod 51 on the rod 5 is screwed into the combination, and the lug 45 on the rear end of the lifting body 4 can be inserted and combined with the cross bar shaft 95 below the handle 93, and after the combination, the end of the handle 93 below is The portion 94 can correspond to the top end surface of the screw rod 51 of the clamp rod 5 .

例如图10所示,当位于下方的套筒73被插杆6旋转带动顺着螺杆61向上时,下方的套筒73就可沿着上方套筒72的斜切边面721向上螺旋并推动上方套筒72移动,进而使两者所组合构成的套筒外径,向外扩张变大,反之,如图11所示,当位于下方的套筒73被旋转向下时,下方的套筒73就可向下螺旋移动,进而使两者所组合构成的外径,恢复成原状变小;当遇到工作环境中的工作台面2是有完全贯穿到底部外的孔径3时,其在使用上就是如上述图10、11所示的方式,直接将插杆6垂直向下插入贯穿于工作台面2上的预设孔径3底缘外,再套上垫片34,并以螺帽33旋转固定,接着以扳手10旋转插杆6(如图9所示),即可使位于下方位置的套筒73被插杆6旋转带动顺着螺杆61,朝上方套筒72的斜切边面721逐一向上位移动作,进而使两块套筒72、73外径,向外扩张变大,当两套筒72、73已于孔径3内迫紧后,这时只要将工件置于座体52的下方,然后以手按住压片9的前端部位向上,如图7、8所示,就可以使升降本体4在插杆6上位移动作以调整好座体52与工件8间的接触高度,然后再将原压住压片9的手放开,并向上拨动手把93,即可利用杠杆原理,使手把93近下方部位的端部94来将螺杆51的顶端面抵止住予以固定位,操作上很方便省力,在夹固工件8后完全不会有松开幌动的情事发生,另外当要拆卸工件8时,只要依上述反之动作,在将手把93向下拨动,即可令工件8被松开,又,因为本实用新型在座体52的底端面设有凹槽54,所以如图12所示,当遇到外形为圆弧形的工件时,也可以很容易被夹固;又在使用后须令插杆6与孔径3分离开时,就可如图8、11所示,以扳手10来旋转插杆6,使位于下方位置的套筒73可被旋转向下螺旋移动,进而使套筒72、73所组合构成的外径变小;当遇到工作环境中的工作台面2是有未完全贯穿到底部外的孔径3时,其在使用上则是如图13、14、15所示,这时就不需使用垫片34与螺帽33构件,只要将插杆6直接插入工作台面2上的预设孔径3中,使位于下方的套筒73底面顶触到孔径3底缘,然后再以扳手10旋转插杆6旋转,就可以使下方的套筒73沿着螺杆61朝上方套筒72的斜切边面721向上螺旋移动,逐一堆动上方套筒72来向上位移,直到顶触到插杆6上的垫片51为止,这样一来就能使套筒72、73所组合构成的外径,向外扩张变大,而可顶触固定在孔径3边面;上述本实用新型的紧固定位方式,其在紧固时是完全以两块套筒72、73的整个边面来垂直紧贴在孔径3边面上,两者间的接触为整个直线边面,所以不会有发生令孔径3内端边破裂或凹陷入情事,可以避免孔径内产生余隙,确保夹固定位后的稳固性,另外为了增加在夹固上的磨擦力,本实用新型在实施时亦可将两块套筒72、73的外缘表面加工成具有压花,使其与孔径3内端边间的磨擦力变大。For example, as shown in FIG. 10, when the lower sleeve 73 is rotated by the insertion rod 6 and moves upward along the screw 61, the lower sleeve 73 can spiral upward along the chamfered side surface 721 of the upper sleeve 72 and push the upper The sleeve 72 moves, and then the outer diameter of the sleeve formed by the combination of the two expands outward. Conversely, as shown in FIG. 11 , when the lower sleeve 73 is rotated downward, the lower sleeve 73 It can move downwards in a spiral, so that the outer diameter formed by the combination of the two can be restored to its original shape and become smaller; when the working surface 2 in the working environment has a hole 3 that completely penetrates to the bottom, its use As shown in the above-mentioned Figures 10 and 11, the insertion rod 6 is directly inserted vertically downwards outside the bottom edge of the predetermined aperture 3 on the work surface 2, and then the gasket 34 is put on, and the nut 33 is rotated and fixed. , and then rotate the insert rod 6 with a wrench 10 (as shown in Figure 9), so that the sleeve 73 located at the lower position is driven by the rotation of the insert rod 6 to follow the screw rod 61 toward the chamfered side surface 721 of the upper sleeve 72 one by one. The upward displacement action makes the outer diameters of the two sleeves 72, 73 expand outwards and become larger. After the two sleeves 72, 73 have been tightened in the aperture 3, at this time, only the workpiece should be placed under the seat body 52 , and then press the front end of the pressing piece 9 upwards, as shown in Figures 7 and 8, the lifting body 4 can be displaced on the insertion rod 6 to adjust the contact height between the seat body 52 and the workpiece 8, and then Release the hand that originally pressed the pressing piece 9 again, and move the handle 93 upwards, and the lever principle can be used to make the end 94 of the handle 93 near the lower part to stop the top surface of the screw rod 51 and fix it position, the operation is very convenient and labor-saving. After the workpiece 8 is clamped, there will be no loosening and shaking. In addition, when the workpiece 8 is to be disassembled, just move the handle 93 downward according to the above-mentioned reverse action. That is to say, the workpiece 8 is loosened, and because the utility model is provided with a groove 54 on the bottom surface of the seat body 52, so as shown in Figure 12, when running into a workpiece with an arc shape, it can be easily clamped; and when it is necessary to separate the insertion rod 6 from the aperture 3 after use, the insertion rod 6 can be rotated with a wrench 10 as shown in Figures 8 and 11, so that the sleeve 73 located at the lower position can be rotated Move downwards in a spiral, and then make the outer diameter of the combination of sleeves 72, 73 smaller; when the worktable 2 in the working environment has a hole 3 that does not completely penetrate the bottom, it will be used As shown in Figures 13, 14, and 15, at this time, there is no need to use the gasket 34 and the nut 33 components, as long as the insertion rod 6 is directly inserted into the preset aperture 3 on the work surface 2, so that the sleeve 73 located below The top of the bottom surface touches the bottom edge of the aperture 3, and then the insertion rod 6 is rotated with a wrench 10, so that the lower sleeve 73 can spiral upward along the screw rod 61 towards the chamfered side surface 721 of the upper sleeve 72, and move one by one. The upper sleeve 72 is displaced upward until it touches the gasket 51 on the insertion rod 6. In this way, the outer diameter formed by the combination of the sleeves 72 and 73 expands outward and can be pushed against. Fixed on the 3 side surfaces of the aperture; the above-mentioned fastening and positioning method of the present utility model is to be vertically attached to the 3 side surfaces of the aperture with the entire side surfaces of the two sleeves 72, 73 when fastening, and between the two The contact is the entire straight line surface, so there will be no cracking or sinking of the inner edge of the aperture 3, which can avoid the gap in the aperture and ensure the stability of the clamping position. In addition, in order to increase the clamping force Friction force, the utility model also can process the outer edge surface of two sleeves 72,73 to have embossing when carrying out, make it and the friction force between the inner edge of aperture 3 become bigger.

Claims (4)

1. the quick folder of the improvement used of a work top is characterized in that: its textural comprising:
Lifting body (4) but-its front end neck is provided with the aperture (41) of a up/down perforation, on the front outer face of this aperture (41), has an inner diameter hole seat (42), nearly edge position, lower end, aperture (41) in its front end neck, has a socket (44), and at the position, rear end of lifting body (4), have an a pair of lug (45) and a pedestal (46), at lifting body (4) but the central part on its position, pedestal rear end offers the screw footpath (47) of a up/down perforation, can supply screw rod (51) on the clamping bar (5) to screw in and make up;
Handgrip (93)-its nearly lower portion is provided with a pair of end as cam edge face shape (94) and is provided with a cross bar axle (95) on this end (94);
Inserted link (6)-at its position, upper end near shaft, be provided with a recessed annular groove (63), snap in it bottom part in inserted link (6) for a clasp (64), be provided with one section screw rod (61) and, offer a recessed breach (62) at the shaft place, top of screw rod (61);
Clamping bar (5)-be by a screw rod (51), constituted with a pedestal (52);
Compressing tablet (9)-its tail end position offers an aperture (91), with and the front part position offer a recessed hole seat (92);
Compression spring (43)-be that intert in the seat of internal diameter (41) hole of lifting body (4) front end neck at position above it when combination, and lower portion is to be interspersed in the hole seat (92) at compressing tablet (9) position, the place ahead;
Two sleeves (72,73)-wherein be positioned at sleeve (73) of lower position, be provided with an internal thread aperture (71) thereon, and be positioned at the sleeve (72) of top position, be provided with an internal diameter (722) thereon, both respectively can snare and rotation be screwed on the screw rod (61) of inserted link (6) near bottom part;
Aperture (41) on lifting body (4) front end can supply inserted link (6) to intert in it, the position, upper end of inner diameter hole seat (42) spring (43) but voltage supply is contracted is interspersed in it, after the cover of the aperture (91) on compressing tablet (9) the tail end position is through at inserted link (6), compressing tablet (9) tail end position then is interspersed in the socket (44) of lifting body (4) below, the lower end part of compression spring (43) is inserted in the hole seat (92) at compressing tablet (9) position, the place ahead, be positioned at the pedestal (46) on lifting body (4) position, rear end, screw footpath (47) on it screws in combination for the screw rod (51) on the clamping bar (5), lug (45) on lifting body (4) position, rear end, for the interspersed combination of the cross bar axle (95) of handgrip (93) below, and after combination, make the end (94) of handgrip (93) lower portion, can be corresponding on the top end face of clamping bar (5) screw rod (51).
2. the quick folder of the improvement used of work top according to claim 1, it is characterized in that: the screw rod (61) on inserted link (6) bottom part, can come the snare rotation to screw togather use in two sleeves (72,73) and pad (34,36) collocation nut members such as (33).
3. the quick folder of the improvement used of the described work top of claim 1 is characterized in that: be combined with a nut (53) on the screw rod in the clamping bar (5), and the bottom face of pedestal (52) is provided with groove (54).
4. the quick folder of the improvement used of work top according to claim 1, it is characterized in that: the relative contact edge face of these two sleeves (72,73) is a bevelled edge face (721,731).
CNU2007201701610U 2007-08-13 2007-08-13 Improved quick clamp for working table Expired - Fee Related CN201109083Y (en)

Priority Applications (1)

Application Number Priority Date Filing Date Title
CNU2007201701610U CN201109083Y (en) 2007-08-13 2007-08-13 Improved quick clamp for working table

Applications Claiming Priority (1)

Application Number Priority Date Filing Date Title
CNU2007201701610U CN201109083Y (en) 2007-08-13 2007-08-13 Improved quick clamp for working table

Publications (1)

Publication Number Publication Date
CN201109083Y true CN201109083Y (en) 2008-09-03

Family

ID=39893602

Family Applications (1)

Application Number Title Priority Date Filing Date
CNU2007201701610U Expired - Fee Related CN201109083Y (en) 2007-08-13 2007-08-13 Improved quick clamp for working table

Country Status (1)

Country Link
CN (1) CN201109083Y (en)

Cited By (11)

* Cited by examiner, † Cited by third party
Publication number Priority date Publication date Assignee Title
CN102990551A (en) * 2012-11-17 2013-03-27 常州信息职业技术学院 Multifunctional workpiece holder
CN103170855A (en) * 2013-04-12 2013-06-26 南车戚墅堰机车有限公司 Rapid pressing device
CN103240695A (en) * 2013-05-13 2013-08-14 成都海凌达机械有限公司 Mechanism for limiting central position of rear frame
CN103964340A (en) * 2014-05-26 2014-08-06 苏州艾酷玛赫设备制造有限公司 Lifting device for automobile part detection
CN104924242A (en) * 2015-07-01 2015-09-23 安徽江淮汽车股份有限公司 Pre-clamping device for clamp
CN107671769A (en) * 2016-05-27 2018-02-09 蒋志超 A kind of fixture
CN108098715A (en) * 2017-12-24 2018-06-01 上力电力科技有限公司 A kind of mechanical automation production hoistable platform
CN108527554A (en) * 2018-05-03 2018-09-14 陈慎慎 A kind of clamping device of thicknessing and planning machine hole structure
CN109877507A (en) * 2019-03-04 2019-06-14 江南造船(集团)有限责任公司 A kind of Work fixing device
CN113478447A (en) * 2021-07-20 2021-10-08 贵州黔新哲米科技有限公司 Electromechanical device troubleshooting device
CN116512156A (en) * 2023-05-04 2023-08-01 威海市威力高档工具有限公司 Rotary clamping method of plug-in F clamp

Cited By (14)

* Cited by examiner, † Cited by third party
Publication number Priority date Publication date Assignee Title
CN102990551A (en) * 2012-11-17 2013-03-27 常州信息职业技术学院 Multifunctional workpiece holder
CN102990551B (en) * 2012-11-17 2014-08-13 常州信息职业技术学院 Multifunctional workpiece holder
CN103170855A (en) * 2013-04-12 2013-06-26 南车戚墅堰机车有限公司 Rapid pressing device
CN103240695A (en) * 2013-05-13 2013-08-14 成都海凌达机械有限公司 Mechanism for limiting central position of rear frame
CN103964340A (en) * 2014-05-26 2014-08-06 苏州艾酷玛赫设备制造有限公司 Lifting device for automobile part detection
CN104924242A (en) * 2015-07-01 2015-09-23 安徽江淮汽车股份有限公司 Pre-clamping device for clamp
CN107671769A (en) * 2016-05-27 2018-02-09 蒋志超 A kind of fixture
CN107671769B (en) * 2016-05-27 2019-04-02 江苏坤勋建设工程有限公司 a fixture
CN108098715A (en) * 2017-12-24 2018-06-01 上力电力科技有限公司 A kind of mechanical automation production hoistable platform
CN108527554A (en) * 2018-05-03 2018-09-14 陈慎慎 A kind of clamping device of thicknessing and planning machine hole structure
CN109877507A (en) * 2019-03-04 2019-06-14 江南造船(集团)有限责任公司 A kind of Work fixing device
CN113478447A (en) * 2021-07-20 2021-10-08 贵州黔新哲米科技有限公司 Electromechanical device troubleshooting device
CN113478447B (en) * 2021-07-20 2022-06-14 贵州黔新哲米科技有限公司 Electromechanical device troubleshooting device
CN116512156A (en) * 2023-05-04 2023-08-01 威海市威力高档工具有限公司 Rotary clamping method of plug-in F clamp

Similar Documents

Publication Publication Date Title
CN201109083Y (en) Improved quick clamp for working table
US9915283B2 (en) Fixture
CN102672503A (en) Quick clamping device applicable to work surface
TW201801645A (en) Cylinder quick release device
CN105922027A (en) An expansion sleeve clamping device
CN204183271U (en) Convenient positioning and clamping components for fixtures
CN107756075A (en) Adjustable pressing plate positioning clamping device
CN103286597A (en) Fixture
CN201862811U (en) Scatheless lever type bench drill pressure plate
CN111774910A (en) A jig for machining and testing a shaft hole of a casing
CN105269483A (en) Linkage type clamping mechanism
CN204449972U (en) A kind of machine tooling auxiliary clamping device
CN209350158U (en) Auxiliary tooling for fuel injector gasket assembly
CN204019207U (en) The special fixture of a kind of machining robot base upper surface
CN205218818U (en) Quick grinding fixture of small -size part
CN215318309U (en) Clamp for assembling chair base
CN104668985A (en) Special clamp for machining square bottom surface of robot base
CN210938872U (en) Frock compresses tightly fixture device
CN202556104U (en) Fast clamping device applicable to worktable board
CN209503544U (en) Frock clamp
TWM591904U (en) Improved transmission element puller
CN205415010U (en) A anchor clamps for assisting long side of processing shift fork
CN207656299U (en) Clamping and positioning structure of clamp
CN205363374U (en) Shift fork cutter head portion anchor clamps
CN220945190U (en) Quick compaction assembly fixture suitable for cup joint product

Legal Events

Date Code Title Description
C14 Grant of patent or utility model
GR01 Patent grant
C17 Cessation of patent right
CF01 Termination of patent right due to non-payment of annual fee

Granted publication date: 20080903

Termination date: 20100813