CN201106653Y - Shock absorber - Google Patents
Shock absorber Download PDFInfo
- Publication number
- CN201106653Y CN201106653Y CNU2007201764501U CN200720176450U CN201106653Y CN 201106653 Y CN201106653 Y CN 201106653Y CN U2007201764501 U CNU2007201764501 U CN U2007201764501U CN 200720176450 U CN200720176450 U CN 200720176450U CN 201106653 Y CN201106653 Y CN 201106653Y
- Authority
- CN
- China
- Prior art keywords
- piston
- oil
- shock absorber
- outer tube
- axially
- Prior art date
- Legal status (The legal status is an assumption and is not a legal conclusion. Google has not performed a legal analysis and makes no representation as to the accuracy of the status listed.)
- Expired - Fee Related
Links
- 230000035939 shock Effects 0.000 title claims abstract description 29
- 239000006096 absorbing agent Substances 0.000 title claims abstract description 26
- 238000000926 separation method Methods 0.000 claims abstract description 21
- 239000012530 fluid Substances 0.000 claims 4
- 239000007788 liquid Substances 0.000 abstract description 18
- 230000000694 effects Effects 0.000 abstract description 4
- 230000002093 peripheral effect Effects 0.000 abstract description 2
- 238000009434 installation Methods 0.000 description 4
- 230000006835 compression Effects 0.000 description 3
- 238000007906 compression Methods 0.000 description 3
- 230000008878 coupling Effects 0.000 description 3
- 238000010168 coupling process Methods 0.000 description 3
- 238000005859 coupling reaction Methods 0.000 description 3
- 230000009286 beneficial effect Effects 0.000 description 1
- 238000004891 communication Methods 0.000 description 1
- 238000010586 diagram Methods 0.000 description 1
- 238000000034 method Methods 0.000 description 1
- 230000000149 penetrating effect Effects 0.000 description 1
- 229920001296 polysiloxane Polymers 0.000 description 1
Images
Landscapes
- Fluid-Damping Devices (AREA)
Abstract
一种避震器,包含:一缸管单元、一油气分离阀,及一活塞单元。该缸管单元包括一外管。该油气分离阀可移动地安装在外管内,以分隔界定出一气体空间与一液体空间。该活塞单元包括一安装在液体空间内的活塞、一连接活塞的活塞杆,及一圈套在活塞周缘的衬圈,该衬圈具有一衬圈本体,及至少一由衬圈本体的外周面轴向往内凹设的通道。当该活塞单元移动时部分油液就会随着油压自动通过通道。所以本实用新型借由衬圈上的通道设计,让油液能随着动作而自动进出通道,用以维持液体空间内的油液密度,可达到动作时不会有噪音产生的作用。
A shock absorber includes: a cylinder tube unit, an oil-gas separation valve, and a piston unit. The cylinder tube unit includes an outer tube. The oil-gas separation valve is movably installed in the outer tube to separate and define a gas space and a liquid space. The piston unit includes a piston installed in the liquid space, a piston rod connected to the piston, and a liner ring sleeved on the periphery of the piston, the liner ring having a liner ring body, and at least one channel axially recessed from the outer peripheral surface of the liner ring body. When the piston unit moves, part of the oil will automatically pass through the channel with the oil pressure. Therefore, the utility model uses the channel design on the liner ring to allow the oil to automatically enter and exit the channel with the movement, so as to maintain the oil density in the liquid space, so as to achieve the effect of no noise during movement.
Description
技术领域technical field
本实用新型是一种避震器,特别是涉及一种固接于自行车的座垫与骨架间,其内部其以一液体空间及一气体空间相互搭配吸收震动,借以提供座垫避震效果的避震器。The utility model relates to a shock absorber, in particular to a shock absorber which is fixedly connected between a seat cushion and a frame of a bicycle, in which a liquid space and a gas space are matched with each other to absorb shock, so as to provide the shock absorbing effect of the seat cushion. Shock Absorbers.
背景技术Background technique
如图1所示,一种以往避震器1包含:一缸管单元11、一油气分离阀12、一导引器13,及一活塞单元14。该缸管单元11包括一中空直立的外管111、一封闭固结在该外管111的底端的联结座112,及一固定结合在外管111的顶端的油封座113。该油气分离阀12可轴向移动地气密塞装在外管111内,并将外管111分隔界定出一位在下方的气体空间114,及一位在上方的液体空间115。该导引器13固定安装在液体空间115中且紧邻于油封座113。As shown in FIG. 1 , a conventional shock absorber 1 includes: a
该活塞单元14包括一可轴向移动地安装在液体空间115内的活塞141,及一连接活塞141且穿伸出导引器13与油封座113的活塞杆142。该活塞141将液体空间115分隔出一邻近油气分离阀12的第一储油区间116,以及一邻近导引器13的第二储油区间117。The
该活塞141具有一轴向贯穿顶部的安装孔143、一形成在底部且连通安装孔143与第一储油区间116的第一通道144,及多个相间隔地由第一通道144径向贯通至第二储油区间117的第二通道145。该活塞杆142具有一轴向形成在远离活塞141的一端内的螺孔146,及一由螺孔146往下延伸以轴向连通安装孔143的容置孔147。The
而该活塞单元14还包括一可轴向移动地安装在安装孔143内的控制销141、一穿伸在该容置孔147中且抵靠在该控制销141上的动作杆142,及一可轴向移动地螺接在该螺孔146中的螺丝143。And the
使用前,可先旋转螺丝143带动动作杆142,控制该控制销141移近或移离第一、二通道144、145,用以调整避震器1压力,在这里主要是以控制销141完全阻塞第一、二通道144、145,使其不连通的情况来说明。当避震器1受到外力时,该活塞单元14会如图2所示向下移动,使得第一储油区间116内的油液受到挤压,推动油气分离阀12朝下移动压缩气体空间114内的气体,而当外力消失时,就能借由气体空间114内气体蓄积的回复力,顶推油气分离阀12复位,同时利用第一储油区116内的油液带动活塞单元14向上移动,用以缓冲外力所造成的震动。Before use, the
虽然上述避震器1可以借由活塞单元14与油气分离阀12的搭配移动来缓冲震动,但是当活塞141向下移动后,第二储油区间117的空间变大,此将使得容存其内的油液的密度相对变小,而且油液会顺流积存在下方邻近活塞141处,其上方则会形成无油液的空间,故当活塞141向上复位移动,且第二储油区间117的空间变小的瞬间,下方油液将会通过空间直接拍打导引器13,进而发出噪音,此为以往避震器1在设计上不理想的部分,仍有待改善。Although the above-mentioned shock absorber 1 can cushion the shock by the movement of the
实用新型内容Utility model content
本实用新型的主要目的,是在于提供一种可以消除噪音的避震器。The main purpose of the utility model is to provide a shock absorber that can eliminate noise.
本实用新型的一种避震器,包含:一缸管单元、一油气分离阀,及一活塞单元。A shock absorber of the utility model comprises: a cylinder pipe unit, an oil-gas separation valve, and a piston unit.
该缸管单元包括一中空外管,该外管具有相反的一第一端,及一第二端。The cylinder tube unit includes a hollow outer tube with a first opposite end and a second end.
该油气分离阀可轴向移动地安装在外管内,以与第一端间界定出一气体空间,并与第二端间界定出一液体空间。The oil-gas separation valve is installed in the outer tube axially movable to define a gas space with the first end and a liquid space with the second end.
该活塞单元包括一可轴向移动地安装在液体空间内且邻近外管的第二端的活塞、一连接活塞且穿伸出第二端的活塞杆,及一圈套在活塞周缘的衬圈,该活塞将液体空间分隔出一邻近油气分离阀的第一储油区间,以及一邻近第二端的第二储油区间,该衬圈具有一衬圈本体,及至少一由衬圈本体的外周面轴向往内凹设且连通第一、二储油区间的通道。The piston unit includes a piston axially movably installed in the liquid space and adjacent to the second end of the outer tube, a piston rod connected to the piston and protruding from the second end, and a ring sleeved on the periphery of the piston. The liquid space is divided into a first oil storage area adjacent to the oil-gas separation valve and a second oil storage area adjacent to the second end. A channel is recessed inward and communicates with the first and second oil storage intervals.
该活塞单元可相对于缸管单元在一正常位置与一压缩位置间移动,当受到外力时,该活塞单元会由正常位置往油气分离阀的方向移动至压缩位置,使得第一储油区间内的油液受到挤压,而有部分油液会自动通过衬圈的通道流入第二储油区间,当外力消失时,该活塞单元就会往第二端移动复位至正常位置,使得第二储油区间内的油液受到挤压,此时第二储油区间中的部分油液就会自动通过衬圈的通道流回第一储油区间。The piston unit can move between a normal position and a compression position relative to the cylinder tube unit. When an external force is applied, the piston unit will move from the normal position to the compression position in the direction of the oil-air separation valve, so that the first oil storage area The oil is squeezed, and part of the oil will automatically flow into the second oil storage area through the passage of the lining ring. When the external force disappears, the piston unit will move to the second end and return to the normal position, so that the second oil storage area The oil in the oil interval is squeezed, and now part of the oil in the second oil storage interval will automatically flow back to the first oil storage interval through the passage of the lining ring.
本实用新型的有益效果在于:借由衬圈上的通道设计,让油液能随着动作而自动进出通道,用以维持液体空间内的油液密度,可达到动作时不会有噪音产生的作用。The beneficial effect of the utility model is that: by virtue of the channel design on the lining ring, the oil can automatically enter and exit the channel with the movement, so as to maintain the oil density in the liquid space, and no noise will be generated during the action. effect.
附图说明Description of drawings
图1是一种以往避震器的一组合剖视示意图,说明一活塞单元位在一正常位置;Fig. 1 is a combined cross-sectional schematic diagram of a conventional shock absorber, illustrating that a piston unit is in a normal position;
图2是类似图1的视图,说明该活塞单元位在一压缩位置;Figure 2 is a view similar to Figure 1, illustrating the piston unit in a compressed position;
图3是本实用新型的避震器的一较佳实施例的一立体分解图;Fig. 3 is a three-dimensional exploded view of a preferred embodiment of the shock absorber of the present invention;
图4是该较佳实施例的一组合剖视示意图,说明一活塞单元位在一正常位置;Fig. 4 is a combined sectional schematic view of the preferred embodiment, illustrating a piston unit in a normal position;
图5是图4的一局部放大图;Fig. 5 is a partially enlarged view of Fig. 4;
图6是类似图5的视图,说明该活塞单元位在一压缩位置。Figure 6 is a view similar to Figure 5, illustrating the piston unit in a compressed position.
具体实施方式Detailed ways
下面结合附图及实施例对本实用新型进行详细说明:Below in conjunction with accompanying drawing and embodiment the utility model is described in detail:
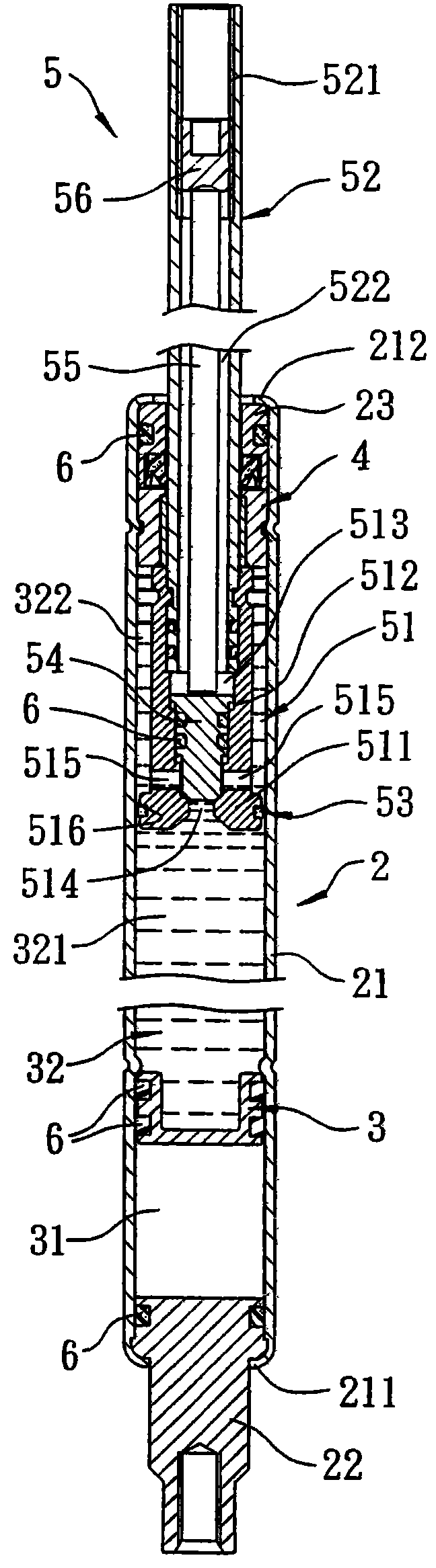
如图3、图4与图5所示,本实用新型避震器的较佳实施例是固定地安装在自行车的一座垫(图未示)与一骨架(图未示)间,并包含:一缸管单元2、一油气分离阀3、一导引器4,及一活塞单元5。As shown in Fig. 3, Fig. 4 and Fig. 5, the preferred embodiment of the shock absorber of the present invention is fixedly installed between a cushion (not shown) and a frame (not shown) of a bicycle, and includes : a
该缸管单元2包括一中空直立的外管21,该外管21具有一位于下方的第一端211,及一相反于第一端211的第二端212。该缸管单元2还包括一封闭固结在该外管21的第一端211且与骨架固接的联结座22,及一固定结合在外管21的第二端212的油封座23。The
该油气分离阀3是可轴向移动地安装在外管21内,以与第一端211的联结座22间界定出一密闭的气体空间31,并与第二端212的油封座23间界定出一与气体空间31不相通的液体空间32。The oil-
该导引器4是固定地安装在该液体空间32内且紧邻第二端212的油封座23。The
该活塞单元5包括一可轴向移动地安装在液体空间32内,且位于导引器4与油气分离阀3间的活塞51、一连接活塞51且穿伸出导引器4与第二端212的活塞杆52,及一圈套在活塞51周缘的衬圈53。该活塞51将液体空间32分隔出一邻近油气分离阀3的第一储油区间321,以及一邻近导引器4的第二储油区间322。The
该活塞51具有一密封塞置在该外管21中的塞压部511、一由塞压部511向上往导引器4延伸且直径较小于塞压部511的轴套部512、一轴向贯穿该轴套部512的安装孔513、一轴向贯穿塞压部511且连通安装孔513与第一储油区间321的第一通道514,及多个径向贯通轴套部512并连通第一通道514与第二储油区间322的第二通道515。该活塞杆52具有一轴向形成在远离活塞51的一端内的螺孔521,及一由螺孔521往活塞51的方向轴向贯穿且连通安装孔513的容置孔522。在设计上第二通道515的数量可以为一个、二个或二个以上。该衬圈53具有一嵌套在塞压部511的环槽516内的衬圈本体531,及至少一由衬圈本体53 1的外周面轴向往内凹设且连通第一、二储油区间321、322的通道532。在本实施例中该衬圈本体53 1的剖面呈正方形,当然设计上也可以为圆形、椭圆形或其他形状,在此不再详细说明。The
而该活塞单元5还包括一可轴向移动地安装在安装孔513内的控制销54、一穿伸在该容置孔522中且抵靠在该控制销54上的动作杆55,及一可轴向移动地螺接在该螺孔521中的螺丝56。须进一步说明的是,避震器在联结座22、油封座23、油气分离阀3,以及控制销54等构件的周缘,分别套置有至少一由橡胶或是硅利康制成的O型环圈6,其具有气封或油封的功能,在此不再说明。The
在上述气体空间31中填充空气,并在液体空间32内灌注油液。使用前,可先视使用人士体重或路况而调整避震器压力,也就是旋转螺丝56带动动作杆55,控制该控制销54移近或移离第一、二通道514、515间,用以控制两通道514、515间连通间隙的大小,但这并不是本实用新型的重点,所以在此不再详细说明。The
动作时,该活塞单元5可相对于缸管单元2在一正常位置与一压缩位置间移动,当避震器受到外力时,该活塞单元5会由图4及图5的正常位置,往油气分离阀3的方向移动至如图6的压缩位置,使得第一储油区间321内的油液受到挤压,而有部分油液会自动通过衬圈53的通道532流入第二储油区间322。当外力消失时,该活塞单元5就会往第二端212移动复位至正常位置,使得第二储油区间322内的油液受到挤压,此时第二储油区间322中的部分油液,就会自动通过衬圈53的通道532流回第一储油区间321。When in action, the
由上述说明可知,本实用新型避震器的设计,主要是在衬圈53设有通道532,让油液能随着动作而自动进出通道532,用以维持液体空间32内的油液密度,不会产生噪音,所以本实用新型可达到动作时不会有噪音产生的作用,确实能够达到本实用新型的目的。It can be seen from the above description that the design of the shock absorber of the present invention is mainly to provide a
Claims (5)
Priority Applications (1)
| Application Number | Priority Date | Filing Date | Title |
|---|---|---|---|
| CNU2007201764501U CN201106653Y (en) | 2007-09-13 | 2007-09-13 | Shock absorber |
Applications Claiming Priority (1)
| Application Number | Priority Date | Filing Date | Title |
|---|---|---|---|
| CNU2007201764501U CN201106653Y (en) | 2007-09-13 | 2007-09-13 | Shock absorber |
Publications (1)
| Publication Number | Publication Date |
|---|---|
| CN201106653Y true CN201106653Y (en) | 2008-08-27 |
Family
ID=39958455
Family Applications (1)
| Application Number | Title | Priority Date | Filing Date |
|---|---|---|---|
| CNU2007201764501U Expired - Fee Related CN201106653Y (en) | 2007-09-13 | 2007-09-13 | Shock absorber |
Country Status (1)
| Country | Link |
|---|---|
| CN (1) | CN201106653Y (en) |
Cited By (1)
| Publication number | Priority date | Publication date | Assignee | Title |
|---|---|---|---|---|
| CN101839296B (en) * | 2010-01-13 | 2012-10-24 | 福州百特节能科技有限公司 | Springless shock absorber for automatically controlling damp and harvesting pulse hydraulic energy |
-
2007
- 2007-09-13 CN CNU2007201764501U patent/CN201106653Y/en not_active Expired - Fee Related
Cited By (1)
| Publication number | Priority date | Publication date | Assignee | Title |
|---|---|---|---|---|
| CN101839296B (en) * | 2010-01-13 | 2012-10-24 | 福州百特节能科技有限公司 | Springless shock absorber for automatically controlling damp and harvesting pulse hydraulic energy |
Similar Documents
| Publication | Publication Date | Title |
|---|---|---|
| US8844687B2 (en) | Valve structure of shock absorber having variable flow channel | |
| CN201041213Y (en) | A split-type adjustable air chamber pressure multi-stage damping shock absorber | |
| CN101846152A (en) | Oil buffer | |
| CN102720795A (en) | Hydro-pneumatic spring for amphibious vehicles and hydraulic regulating device for hydro-pneumatic spring for amphibious vehicle | |
| US20110296981A1 (en) | Shock absorber | |
| CN111609073B (en) | Aircraft landing gear buffer | |
| AU2017221795A1 (en) | Adjustable seat tube structure and bicycle | |
| CN108343698A (en) | Damper | |
| CN103883661A (en) | Slide valve type variable-damping shock absorber matched with air spring and working method thereof | |
| CN201106653Y (en) | Shock absorber | |
| JP5660667B2 (en) | Front fork | |
| CN116085419A (en) | Novel double-adjusting shock absorber | |
| CN104251277A (en) | Large-connecting-rod two-grade buffering shock absorber | |
| CN105599825B (en) | Oil-gas type bicycle seat tube height adjusting structure | |
| TWM618279U (en) | Bicycle pneumatic rod | |
| EP2119580A1 (en) | Shock absorber for vehicles, particularly for motorcycle-like vehicles and the like | |
| CN206592099U (en) | Anti- return of one kind tells ball-and-seat | |
| CN100528621C (en) | Piston load of vehicle height adjusting shock absorber and method of machining the same | |
| CN209430663U (en) | Shock absorbing structure | |
| CN220770026U (en) | Cylinder-closed type oil-gas buffer | |
| CN221610462U (en) | Air bag shock absorber for motorcycle | |
| CN208331099U (en) | Damper | |
| CN218431584U (en) | Front fork shock absorber and scooter | |
| TWM378166U (en) | Front fork shock absorber of bicycle | |
| CN201581909U (en) | Plug-in hydraulic control check valve |
Legal Events
| Date | Code | Title | Description |
|---|---|---|---|
| C14 | Grant of patent or utility model | ||
| GR01 | Patent grant | ||
| C17 | Cessation of patent right | ||
| CF01 | Termination of patent right due to non-payment of annual fee |
Granted publication date: 20080827 Termination date: 20091013 |
