CN115824505A - A shutoff mechanism that is used for new energy automobile part sealing performance to detect frock - Google Patents
A shutoff mechanism that is used for new energy automobile part sealing performance to detect frock Download PDFInfo
- Publication number
- CN115824505A CN115824505A CN202310154940.5A CN202310154940A CN115824505A CN 115824505 A CN115824505 A CN 115824505A CN 202310154940 A CN202310154940 A CN 202310154940A CN 115824505 A CN115824505 A CN 115824505A
- Authority
- CN
- China
- Prior art keywords
- moving plate
- pushing block
- plate
- pushing
- plug
- Prior art date
- Legal status (The legal status is an assumption and is not a legal conclusion. Google has not performed a legal analysis and makes no representation as to the accuracy of the status listed.)
- Granted
Links
- 238000007789 sealing Methods 0.000 title claims abstract description 26
- 238000001514 detection method Methods 0.000 claims abstract description 19
- 230000000903 blocking effect Effects 0.000 claims description 8
- 238000006073 displacement reaction Methods 0.000 abstract description 3
- 230000000694 effects Effects 0.000 description 6
- 238000000034 method Methods 0.000 description 3
- 238000007792 addition Methods 0.000 description 1
- 230000008094 contradictory effect Effects 0.000 description 1
- 238000012986 modification Methods 0.000 description 1
- 230000004048 modification Effects 0.000 description 1
- 238000006467 substitution reaction Methods 0.000 description 1
Images
Classifications
-
- Y—GENERAL TAGGING OF NEW TECHNOLOGICAL DEVELOPMENTS; GENERAL TAGGING OF CROSS-SECTIONAL TECHNOLOGIES SPANNING OVER SEVERAL SECTIONS OF THE IPC; TECHNICAL SUBJECTS COVERED BY FORMER USPC CROSS-REFERENCE ART COLLECTIONS [XRACs] AND DIGESTS
- Y02—TECHNOLOGIES OR APPLICATIONS FOR MITIGATION OR ADAPTATION AGAINST CLIMATE CHANGE
- Y02E—REDUCTION OF GREENHOUSE GAS [GHG] EMISSIONS, RELATED TO ENERGY GENERATION, TRANSMISSION OR DISTRIBUTION
- Y02E60/00—Enabling technologies; Technologies with a potential or indirect contribution to GHG emissions mitigation
- Y02E60/10—Energy storage using batteries
Landscapes
- Cooling, Air Intake And Gas Exhaust, And Fuel Tank Arrangements In Propulsion Units (AREA)
- Portable Nailing Machines And Staplers (AREA)
Abstract
The invention relates to the technical field of sealing performance detection tools, and provides a plugging mechanism for a sealing performance detection tool of a new energy automobile part, which comprises: driving member, the output end of the driving piece is connected with a pushing block; the fixing plate is sleeved on the outer side of the pushing block; the moving plate is movably arranged on one side of the fixed plate, which is far away from the driving piece, and the pushing block is movably inserted in the moving plate; and one end of the plug is hinged on the movable plate and movably abutted against the front end of the pushing block. Compared with the prior art, the invention has the advantages that by arranging the driving piece, the pushing block connected to the output end of the driving piece, the fixed plate and the movable plate sleeved outside the pushing block and the plug hinged on the movable plate, when the plug-type workpiece picking and placing device works, the working mode that the driving piece drives the plug to rotate firstly and then move can utilize the working space in the vertical direction, so that the plug can conveniently pick and place the workpiece by moving a smaller distance in the horizontal direction, and the displacement of the driving piece in the horizontal direction is reduced.
Description
Technical Field
The invention relates to the technical field of sealing performance detection tools, in particular to a plugging mechanism for a sealing performance detection tool of a new energy automobile part.
Background
The tightness detection refers to the detection of the tightness of a workpiece and the leakage, and has wide application fields. The working principle of the device is that a hole-shaped structure communicated with the inner cavity of the workpiece on the side wall of the workpiece is generally blocked by a plug, so that the inner cavity of the workpiece is isolated from outside air, and then the inner cavity of the workpiece is inflated and the workpiece is detected whether to have a leakage condition by detecting flowing data of gas.
Traditional leakproofness detects frock and is close to or keeps away from through the lateral wall that cylinder or motor directly drove end cap and work piece mostly, after the work piece detects the completion, the enough big just can make things convenient for the work piece to take out from the frock of distance that needs to make end cap and work piece keep away from, and when work piece structure is comparatively complicated, the operating space that the leakproofness detected is when less again, can't provide the distance that end cap and work piece kept away from after detecting the completion, and make the difficult follow leakproofness of work piece take out in detecting the frock.
Disclosure of Invention
The technical problem to be solved by the invention is to solve the current state of the prior art, and provides a shutoff mechanism that is used for new energy automobile part sealing performance to detect frock.
The present invention solves the above technical problems the adopted technical scheme is as follows: provides a plugging mechanism for a sealing performance detection tool of new energy automobile parts, the method comprises the following steps: a driving member for driving the driving member to rotate, the output end of the driving piece is connected with a pushing block;
a fixing plate is arranged on the base plate, the pushing block is sleeved with the outer side of the pushing block;
the moving plate is movably arranged on one side, away from the driving piece, of the fixed plate, and the pushing block is movably inserted into the moving plate;
one end of the plug is hinged on the moving plate and movably abutted against the front end of the pushing block;
when the driving piece drives the pushing block to move, the driving piece is used for pushing the plug to rotate relative to the moving plate, and after the pushing block moves to a preset position, the moving plate is driven to move towards a direction far away from the fixed plate.
At foretell a shutoff mechanism for new energy automobile part sealing performance detects frock, it is close to promote the piece one side of driving piece is provided with first spout, it is equipped with first fixed block to insert on the movable plate, first spout cover is established the lateral wall of first fixed block, just the lateral wall of first spout with be provided with first elastic component between the first fixed block.
At foretell a shutoff mechanism that is used for new energy automobile part sealing performance to detect frock, the fixed plate is close to one side of movable plate is connected with the guide post, the guide post is kept away from the one end of movable plate is provided with the promotion portion, the lateral wall cover of guide post is equipped with the second elastic component, the both ends of second elastic component are supported respectively and are pushed against the promotion portion with between the movable plate, the elastic coefficient of second elastic component will be greater than the elastic coefficient of first elastic component.
At foretell a shutoff mechanism for new energy automobile part sealing performance detects frock, it is close to promote the piece one side of driving piece is provided with the second spout, it is equipped with the second fixed block to insert on the movable plate, the lateral wall of second spout is at least one side towards the central point of second spout puts to extend and forms and blocks the piece, the second spout cover is established the lateral wall of second fixed block just block the piece with the activity of second fixed block is supported and is leaned on.
At foretell a shutoff mechanism for new energy automobile part sealing performance detects frock, the promotion piece is kept away from the one end interval of driving piece is provided with first catch bar and second catch bar, the length of first catch bar will be less than the length of second catch bar, first catch bar with the lateral wall activity of end cap is supported and is leaned on, the lateral wall of second catch bar with the lateral wall activity of end cap is supported and is leaned on.
In the plugging mechanism for the new energy automobile part sealing performance detection tool, a connecting rod is inserted into one side, away from the driving piece, of the moving plate, a through hole is formed in the end portion of the plug, and the through hole is sleeved on the outer side wall of the connecting rod.
At foretell a shutoff mechanism that is used for new energy automobile part sealing performance to detect frock, be provided with the counter bore on the movable plate and with the mounting hole of counter bore intercommunication, the tip of connecting rod is provided with the spread groove, the tip cover of connecting rod is equipped with the torsional spring, the main part of torsional spring is in the counter bore, two pins of torsional spring are in respectively the mounting hole with in the spread groove.
In the plugging mechanism for the new energy automobile part sealing performance detection tool, the moving plate is inserted with the abutting sleeve, the guide column penetrates through the abutting sleeve and is connected to the moving plate, and the end part of the abutting sleeve abuts against the end part of the second elastic piece.
The plugging mechanism for the sealing performance detection tool of the new energy automobile part further comprises a supporting plate, the driving piece and the fixing plate are fixed on the supporting plate, and the supporting plate is located between the driving piece and the fixing plate.
Compared with the prior art, the invention has the advantages that by arranging the driving piece, the pushing block connected with the output end of the driving piece, the fixed plate and the movable plate sleeved outside the pushing block and the plug hinged on the movable plate, when in work, the working mode that the driving piece drives the plug to rotate firstly and then move can utilize the working space in the vertical direction, so that the plug can conveniently take and place workpieces by moving a smaller distance in the horizontal direction, and the displacement of the driving piece in the horizontal direction is reduced.
Drawings
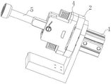
FIG. 1 is an extension of the present application a perspective view of the time;
FIG. 2 is a perspective view of the present application when folded;
FIG. 3 is a partial cross-sectional view of the first embodiment;
FIG. 4 is a partial sectional view of the second embodiment;
fig. 5 is a perspective view of the moving plate.
In the figure, 1, a driving part; 2. a fixing plate; 3. a pushing block; 4. moving the plate; 5. a plug; 6. a first chute; 7. a first fixed block; 8. a first elastic member; 9. a guide post; 10. a pushing part; 11. a second elastic member; 12. a second chute; 13. a second fixed block; 14. a blocking block; 15. a first push rod; 16. a second push rod; 17. a connecting rod; 18. a countersunk hole; 19. mounting holes; 20. connecting grooves; 21. a torsion spring; 22. a body portion; 23. a pin; 24. an abutting sleeve; 25. and a support plate.
Detailed Description
The following are specific embodiments of the present invention and are further described with reference to the drawings, but the present invention is not limited to these embodiments.
As shown in fig. 1 to 5, the plugging mechanism for the sealing performance detection tool of the new energy automobile part of the present invention includes: the device comprises a driving piece 1, a pushing block 3, a fixing plate 2, a moving plate 4, a plug 5 and a supporting plate 25.
Specifically, driving piece 1 and fixed plate 2 are all fixed on backup pad 25 and backup pad 25 is in between driving piece 1 and fixed plate 2, backup pad 25 is used for the fixed of whole shutoff mechanism and installs, promote the output of piece 3 connection at driving piece 1, the outside that promotes piece 3 is established to fixed plate 2 cover, the activity of movable plate 4 sets up the one side of keeping away from driving piece 1 at fixed plate 2, and promote piece 3 and insert and establish in movable plate 4, end cap 5 one end articulates on movable plate 4 and supports with the front end activity that promotes piece 3 and lean on.
As shown in fig. 2, at this time, the axis direction of the plug 5 is perpendicular to the output direction of the driving member 1, the plug 5 is folded and stored in the plugging mechanism, during operation, the driving member 1 drives the pushing block 3 to move, when the pushing block 3 moves, the plug 5 is firstly pushed to rotate relative to the moving plate 4, after the pushing block 3 moves to a preset position (the plug 5 rotates to the position shown in fig. 1 is taken as a reference for the pushing block 3 to move to the preset position), the pushing block 3 drives the moving plate 4 to move towards a direction away from the fixed plate 2, so that the plug 5 abuts against a side wall of a workpiece to be plugged, the working mode that the driving member 1 drives the plug 5 to move after rotating firstly can utilize a working space in the vertical direction, so that the plug 5 moves in the horizontal direction for a smaller distance to facilitate taking and placing of the workpiece, and displacement of the driving member 1 moving in the horizontal direction is reduced, preferably, the driving member 1 may be a motor, an air cylinder, an electromagnet, or other power mechanism.
The following two embodiments illustrate the specific structure of the plugging mechanism:
practice of example one
One side of the pushing block 3 close to the driving piece 1 is provided with a first sliding groove 6, a first fixing block 7 is inserted on the moving plate 4, the first sliding groove 6 is sleeved on the outer side wall of the first fixing block 7, and a first elastic piece 8 is arranged between the side wall of the first sliding groove 6 and the first fixing block 7.
When the driving piece 1 drives the pushing block 3 to move in a direction from right to left as shown in fig. 3, the pushing block 3 firstly pushes the plug 5 to rotate, the moving plate 4 does not start to move while the plug 5 rotates, and the first sliding groove 6 and the pushing block 3 move together, so that when the pushing block 3 moves, the first elastic piece 8 is in a compressed state, after the plug 5 rotates to a preset position, the first elastic piece 8 cannot be compressed again, and starts to push the first fixed block 7 and the pushing block 3 to move together, the first fixed block 7 starts to drive the moving plate 4 to move when moving, and when the moving plate 4 moves, the moving plate 4 can drive the plug 5 to move from right to left as shown in fig. 3, so that the plug 5 starts to be attached to a workpiece after rotating to the preset position.
Furthermore, one side of the fixed plate 2 close to the movable plate 4 is connected with a guide column 9, one end of the guide column 9 far away from the movable plate 4 is provided with a pushing part 10, the outer side wall of the guide column 9 is sleeved with a second elastic part 11, two ends of the second elastic part 11 respectively abut against a space between the pushing part 10 and the movable plate 4, and the elastic coefficient of the second elastic part 11 is larger than that of the first elastic part 8.
When the driving member 1 pushes the pushing block 3 to move and compress the first elastic member 8, since the elastic coefficient of the second elastic member 11 is greater than the elastic coefficient of the first elastic member 8, the moving plate 4 does not start to move when the first elastic member 8 starts to compress, and after the first elastic member 8 is compressed to a certain extent (the plug 5 rotates to a preset position), the first fixing block 7 starts to drive the moving plate 4 to move and the second elastic member 11 starts to compress.
Preferably, the driving member 1 drives the pushing block 3 to move and then drives the moving plate 4 to move through the first fixed block 7, or the second elastic member 11 is not required, which may be implemented by friction between the guide post 9 and the moving plate 4, that is, friction between the guide post 9 and the moving plate 4 is increased by providing a concave-convex structure or adding a friction block between the guide post 9 and the moving plate 4, so that before the pushing block 3 moves to the predetermined position of the plug 5, the pushing block 3 moves and the moving plate 4 does not move because the friction between the moving plate 4 and the guide post 9 is greater than the pushing force of the first spring 8 on the moving plate 4, and after the plug 5 rotates to the predetermined position, the first elastic member 8 compresses to its own elastic force and starts to be greater than the friction between the moving plate 4 and the guide post 9, so as to start to push the moving plate 4 to move relative to the guide post 9.
Furthermore, one end, far away from the driving piece 1, of the pushing block 3 is provided with a first pushing rod 15 and a second pushing rod 16 at intervals, the length of the first pushing rod 15 is smaller than that of the second pushing rod 16, the first pushing rod 15 is movably abutted against the side wall of the plug 5, and the side wall of the second pushing rod 16 is movably abutted against the side wall of the plug 5.
Because end cap 5 articulates on movable plate 4, and first catch bar 15 supports with the lateral wall of end cap 5 and leans on, when promotion piece 3 removes, first catch bar 15 can promote end cap 5 and rotate to can realize that end cap 5 rotates preset position, the lateral wall of second catch bar 16 supports with the lateral wall activity of end cap 5 and leans on, can rotate after preset position at end cap 5, restriction end cap 5 rotates once more, guarantee that end cap 5 rotates the position after the preset position, and then guarantee that end cap 5 supports tightly with the work piece.
Furthermore, a connecting rod 17 is inserted into one side, away from the driving piece 1, of the moving plate 4, a through hole is formed in the end portion of the plug 5, the through hole is sleeved on the outer side wall of the connecting rod 17, and the connecting rod 17 and the through hole are arranged to achieve hinging between the plug 5 and the moving plate 4.
Further, the moving plate 4 is provided with a counter bore 18 and a mounting hole 19 communicated with the counter bore 18, the end of the connecting rod 17 is provided with a connecting groove 20, the end of the connecting rod 17 is sleeved with a torsion spring 21, a main body portion 22 of the torsion spring 21 is located in the counter bore 18, and two pins 23 of the torsion spring 21 are respectively located in the mounting hole 19 and the connecting groove 20.
In the process that the driving element 1 pushes the plug 5 to rotate through the pushing block 3, the distance between the two pins 23 of the torsion spring 21 is slowly increased, so that the torsion spring 21 is slowly in a stretching state, after the pushing block 3 is reset, the torsion spring 21 restores to the initial state, so that the distance between the two pins 23 is shortened, and when the distance between the pins 23 is shortened, the plug 5 is driven to rotate from the state shown in fig. 2 to the state shown in fig. 1.
Further, an abutting sleeve 24 is inserted on the moving plate 4, the guide post 9 penetrates through the abutting sleeve 24 and is connected to the moving plate 4, and the end of the abutting sleeve 24 abuts against the end of the second elastic element 11. The abutting sleeve 24 is used for avoiding direct friction between the moving plate 4 and the guide column 9, thereby preventing the moving plate 4 from being worn and prolonging the service life of the moving plate 4.
Preferably, the first elastic member 8 and/or the second elastic member 11 may be a spring or a rubber product.
Example two
One side of the pushing block 3 close to the driving piece 1 is provided with a second sliding groove 12, a second fixed block 13 is inserted into the moving plate 4, at least one side of the side wall of the second sliding groove 12 extends towards the center of the second sliding groove 12 to form a blocking block 14, the second sliding groove 12 is sleeved on the outer side wall of the second fixed block 13, and the blocking block 14 is movably abutted against the second fixed block 13.
In the scheme, when the driving piece 1 pushes the pushing block 3 to move, the pushing block 3 moves and the moving plate 4 does not move, the side wall of the second fixing block 13 and the side wall of the blocking block 14 slowly approach each other in the moving process of the pushing block 3, and after the second fixing block 13 is attached to the blocking block 14, the pushing block 3 drives the moving plate 4 to move through the second fixing block 13 when moving, so that the scheme can also realize that when the driving piece 1 drives the pushing block 3 to move, the pushing block 3 firstly moves and the moving plate 4 does not move, and after the pushing block 3 pushes the plug 5 to rotate to the preset position, the pushing block 3 starts to drive the moving plate 4 to move.
In this embodiment, an elastic member may be provided between the guide column 9 and the moving plate 4, or the elastic member may not be provided, and the structure of the other parts of the blocking mechanism is the same as that of the first embodiment, and will not be described redundantly here.
It should be noted that all directional indicators (such as up, down, left, right, front, back \8230;) in the embodiments of the present invention are only used to explain the relative positional relationship between the components, the motion situation, etc. in a specific posture (as shown in the attached drawings), and if the specific posture is changed, the directional indicator is changed accordingly.
Moreover, descriptions of the present invention as relating to "first," "second," "a," etc. are for descriptive purposes only and are not to be construed as indicating or implying relative importance or implicit ly indicating a number of technical features indicated. Thus, a feature defined as "first" or "second" may explicitly or implicitly include at least one such feature. In the description of the present invention, "a plurality" means at least two, e.g., two, three, etc., unless specifically limited otherwise.
In the present invention, unless otherwise explicitly stated or limited, the terms "connected", "fixed", and the like are to be understood broadly, for example, "fixed" may be fixedly connected, may be detachably connected, or may be integrated; can be mechanically or electrically connected; they may be directly connected or indirectly connected through intervening media, or they may be connected internally or in any other suitable relationship, unless expressly stated otherwise. The specific meanings of the above terms in the present invention can be understood by those skilled in the art according to specific situations.
In addition, the technical solutions in the embodiments of the present invention may be combined with each other, but it must be based on the realization of those skilled in the art, and when the technical solutions are contradictory or cannot be realized, such a combination of technical solutions should not be considered to exist, and is not within the protection scope of the present invention.
The specific embodiments described herein are merely illustrative of the spirit of the invention. Various modifications, additions and substitutions for the described embodiments may be made by those skilled in the art without departing from the scope and spirit of the invention as defined by the accompanying claims.
Claims (9)
1. The utility model provides a shutoff mechanism that is used for new energy automobile part sealing performance to detect frock which characterized in that includes:
the output end of the driving piece is connected with a pushing block;
the fixing plate is sleeved on the outer side of the pushing block;
the moving plate is movably arranged on one side, away from the driving piece, of the fixed plate, and the pushing block is movably inserted into the moving plate;
one end of the plug is hinged on the moving plate and movably abutted against the front end of the pushing block;
when the driving piece drives the pushing block to move, the driving piece is used for pushing the plug to rotate relative to the moving plate, and after the pushing block moves to a preset position, the moving plate is driven to move towards a direction far away from the fixed plate.
2. The plugging mechanism for the sealing performance detection tool of the new energy automobile part as claimed in claim 1, wherein a first sliding groove is formed in one side of the pushing block close to the driving member, a first fixed block is inserted into the moving plate, the first sliding groove is sleeved on an outer side wall of the first fixed block, and a first elastic member is arranged between a side wall of the first sliding groove and the first fixed block.
3. The plugging mechanism for the sealing performance detection tool of the new energy automobile part as claimed in claim 2, wherein a guide post is connected to one side of the fixed plate close to the moving plate, a pushing portion is arranged at one end of the guide post away from the moving plate, a second elastic member is sleeved on an outer side wall of the guide post, two ends of the second elastic member respectively abut against between the pushing portion and the moving plate, and an elastic coefficient of the second elastic member is greater than an elastic coefficient of the first elastic member.
4. The plugging mechanism for the sealing performance detection tool of the new energy automobile part as claimed in claim 1, wherein a second sliding groove is formed in one side of the pushing block close to the driving member, a second fixed block is inserted into the moving plate, at least one side of a side wall of the second sliding groove extends towards a center position of the second sliding groove to form a blocking block, the second sliding groove is sleeved on an outer side wall of the second fixed block, and the blocking block is movably abutted against the second fixed block.
5. The plugging mechanism for the sealing performance detection tool of the new energy automobile part as claimed in claim 1, wherein a first pushing rod and a second pushing rod are disposed at an interval at one end of the pushing block away from the driving member, the length of the first pushing rod is smaller than that of the second pushing rod, the first pushing rod movably abuts against the side wall of the plug, and the side wall of the second pushing rod movably abuts against the side wall of the plug.
6. The plugging mechanism for the sealing performance detection tool of the new energy automobile part as claimed in claim 1, wherein a connecting rod is inserted into one side of the moving plate away from the driving member, a through hole is formed in an end portion of the plug, and the through hole is sleeved on an outer side wall of the connecting rod.
7. The plugging mechanism for the new energy automobile part sealing performance detection tool according to claim 6, wherein a counter bore and a mounting hole communicated with the counter bore are formed in the moving plate, a connecting groove is formed in an end portion of the connecting rod, a torsion spring is sleeved on an end portion of the connecting rod, a main body portion of the torsion spring is located in the counter bore, and two pins of the torsion spring are located in the mounting hole and the connecting groove respectively.
8. The plugging mechanism for the sealing performance detection tool of the new energy automobile part as claimed in claim 3, wherein an abutting sleeve is inserted on the moving plate, the guide column penetrates through the abutting sleeve and is connected to the moving plate, and an end of the abutting sleeve abuts against an end of the second elastic member.
9. The plugging mechanism for the sealing performance detection tool of the new energy automobile part as claimed in claim 1, further comprising a supporting plate, wherein the driving member and the fixing plate are both fixed on the supporting plate, and the supporting plate is located between the driving member and the fixing plate.
Priority Applications (1)
| Application Number | Priority Date | Filing Date | Title |
|---|---|---|---|
| CN202310154940.5A CN115824505B (en) | 2023-02-23 | 2023-02-23 | Plugging mechanism for new energy automobile part sealing performance detection tool |
Applications Claiming Priority (1)
| Application Number | Priority Date | Filing Date | Title |
|---|---|---|---|
| CN202310154940.5A CN115824505B (en) | 2023-02-23 | 2023-02-23 | Plugging mechanism for new energy automobile part sealing performance detection tool |
Publications (2)
| Publication Number | Publication Date |
|---|---|
| CN115824505A true CN115824505A (en) | 2023-03-21 |
| CN115824505B CN115824505B (en) | 2023-07-25 |
Family
ID=85522129
Family Applications (1)
| Application Number | Title | Priority Date | Filing Date |
|---|---|---|---|
| CN202310154940.5A Active CN115824505B (en) | 2023-02-23 | 2023-02-23 | Plugging mechanism for new energy automobile part sealing performance detection tool |
Country Status (1)
| Country | Link |
|---|---|
| CN (1) | CN115824505B (en) |
Citations (13)
| Publication number | Priority date | Publication date | Assignee | Title |
|---|---|---|---|---|
| DE20101526U1 (en) * | 2001-01-30 | 2001-08-02 | Fedor Ulisch GmbH, 42855 Remscheid | Test plugs for density tests and leakage quantity measurements on gas-carrying pipes in a pipe network |
| CN103364193A (en) * | 2012-03-27 | 2013-10-23 | 上海华依科技发展有限公司 | Air inlet blocking mechanism for motor vehicle engine air inlet pressure test |
| CN205872945U (en) * | 2016-08-05 | 2017-01-11 | 秦卿 | Seal part's drive arrangement |
| CN108680312A (en) * | 2018-08-02 | 2018-10-19 | 重庆攀升机械制造有限公司 | The testing agency of products air tightness and its application on a kind of automatic detection production line |
| CN209400146U (en) * | 2019-01-30 | 2019-09-17 | 上汽时代动力电池系统有限公司 | A kind of battery pack water-cooled plate airtight test device |
| CN209400154U (en) * | 2018-11-30 | 2019-09-17 | 鸿富准精密工业(深圳)有限公司 | Detection device |
| JP2019219216A (en) * | 2018-06-18 | 2019-12-26 | トヨタ自動車株式会社 | Leak tester |
| CN209894409U (en) * | 2019-06-20 | 2020-01-03 | 大连恒祥科技有限公司 | A plugging mechanism for the air tightness detection of square flanges of automobile exhaust systems |
| RU209939U1 (en) * | 2021-11-15 | 2022-03-24 | Публичное акционерное общество "КАМАЗ" | PLUG FOR PIPING LEAK TEST |
| CN114778011A (en) * | 2022-06-16 | 2022-07-22 | 浙江华朔科技股份有限公司 | Plugging mechanism for double-cavity shell steam inspection tool |
| CN217637858U (en) * | 2022-06-10 | 2022-10-21 | 浙江华朔科技股份有限公司 | Double-station air tightness detection tool for shell |
| CN218002841U (en) * | 2022-07-04 | 2022-12-09 | 东风德纳车桥有限公司 | Shell-reducing positive-pressure leak test detection device |
| CN115683821A (en) * | 2022-11-14 | 2023-02-03 | 江南工业集团有限公司 | A plugging device and method for pipeline pressure resistance detection |
-
2023
- 2023-02-23 CN CN202310154940.5A patent/CN115824505B/en active Active
Patent Citations (13)
| Publication number | Priority date | Publication date | Assignee | Title |
|---|---|---|---|---|
| DE20101526U1 (en) * | 2001-01-30 | 2001-08-02 | Fedor Ulisch GmbH, 42855 Remscheid | Test plugs for density tests and leakage quantity measurements on gas-carrying pipes in a pipe network |
| CN103364193A (en) * | 2012-03-27 | 2013-10-23 | 上海华依科技发展有限公司 | Air inlet blocking mechanism for motor vehicle engine air inlet pressure test |
| CN205872945U (en) * | 2016-08-05 | 2017-01-11 | 秦卿 | Seal part's drive arrangement |
| JP2019219216A (en) * | 2018-06-18 | 2019-12-26 | トヨタ自動車株式会社 | Leak tester |
| CN108680312A (en) * | 2018-08-02 | 2018-10-19 | 重庆攀升机械制造有限公司 | The testing agency of products air tightness and its application on a kind of automatic detection production line |
| CN209400154U (en) * | 2018-11-30 | 2019-09-17 | 鸿富准精密工业(深圳)有限公司 | Detection device |
| CN209400146U (en) * | 2019-01-30 | 2019-09-17 | 上汽时代动力电池系统有限公司 | A kind of battery pack water-cooled plate airtight test device |
| CN209894409U (en) * | 2019-06-20 | 2020-01-03 | 大连恒祥科技有限公司 | A plugging mechanism for the air tightness detection of square flanges of automobile exhaust systems |
| RU209939U1 (en) * | 2021-11-15 | 2022-03-24 | Публичное акционерное общество "КАМАЗ" | PLUG FOR PIPING LEAK TEST |
| CN217637858U (en) * | 2022-06-10 | 2022-10-21 | 浙江华朔科技股份有限公司 | Double-station air tightness detection tool for shell |
| CN114778011A (en) * | 2022-06-16 | 2022-07-22 | 浙江华朔科技股份有限公司 | Plugging mechanism for double-cavity shell steam inspection tool |
| CN218002841U (en) * | 2022-07-04 | 2022-12-09 | 东风德纳车桥有限公司 | Shell-reducing positive-pressure leak test detection device |
| CN115683821A (en) * | 2022-11-14 | 2023-02-03 | 江南工业集团有限公司 | A plugging device and method for pipeline pressure resistance detection |
Non-Patent Citations (2)
| Title |
|---|
| 关薇: "缸体水套测漏机设计与实现", 装备制造技术 * |
| 周杨飞 等: "安全阀密封试验快速封堵装置研究与开发", 石油和化工设备 * |
Also Published As
| Publication number | Publication date |
|---|---|
| CN115824505B (en) | 2023-07-25 |
Similar Documents
| Publication | Publication Date | Title |
|---|---|---|
| CN103115034B (en) | Rotary cylinder | |
| CN111590372A (en) | Tool changing position detection mechanism and linear driving mechanism | |
| CN115824505A (en) | A shutoff mechanism that is used for new energy automobile part sealing performance to detect frock | |
| CN113197446B (en) | Storage unit of locker | |
| CN118789250B (en) | An automatic assembly machine for steering gear end cover | |
| CN115971936B (en) | Claw to claw knife picking mechanism | |
| CN116512945B (en) | Mobile charging device and mobile charging method | |
| CN219901894U (en) | Floating clamp | |
| CN217692067U (en) | Automatic butt joint tool | |
| CN217058537U (en) | Bearing device for blasting | |
| CN217112511U (en) | Test fixture | |
| CN116352407A (en) | Assembly equipment | |
| CN215902231U (en) | Earphone charging box detection device and earphone charging box detection equipment | |
| CN209915035U (en) | Power supply assembly of electronic cigarette and electronic cigarette | |
| CN110039225A (en) | A kind of screw, clinching and shrapnel integrated release device | |
| CN222144509U (en) | Clamp fastening performance rapid detection device | |
| CN220902387U (en) | Horizontal telescopic pin assembly suitable for specific occasion | |
| CN220100049U (en) | Rotary locking device of excavator | |
| CN218384036U (en) | Access control base | |
| CN223626131U (en) | A chassis | |
| CN222762441U (en) | Industrial tablet personal computer | |
| CN210677606U (en) | Assembling device | |
| CN222850214U (en) | A gear box chamber oil circuit inner hole sealing detection device | |
| CN215725787U (en) | Utensil is examined to pump case | |
| CN223451101U (en) | Heavy-duty truck battery replacement frame structure |
Legal Events
| Date | Code | Title | Description |
|---|---|---|---|
| PB01 | Publication | ||
| PB01 | Publication | ||
| SE01 | Entry into force of request for substantive examination | ||
| SE01 | Entry into force of request for substantive examination | ||
| GR01 | Patent grant | ||
| GR01 | Patent grant |