CN114951111A - Intelligent high-pressure cleaning machine - Google Patents

Intelligent high-pressure cleaning machine Download PDF

Info

Publication number
CN114951111A
CN114951111A CN202210694186.XA CN202210694186A CN114951111A CN 114951111 A CN114951111 A CN 114951111A CN 202210694186 A CN202210694186 A CN 202210694186A CN 114951111 A CN114951111 A CN 114951111A
Authority
CN
China
Prior art keywords
water
pressure
intelligent high
storage tank
spray gun
Prior art date
Legal status (The legal status is an assumption and is not a legal conclusion. Google has not performed a legal analysis and makes no representation as to the accuracy of the status listed.)
Pending
Application number
CN202210694186.XA
Other languages
Chinese (zh)
Inventor
吴贤斌
Current Assignee (The listed assignees may be inaccurate. Google has not performed a legal analysis and makes no representation or warranty as to the accuracy of the list.)
Zhejiang Qilehua Technology Co ltd
Original Assignee
Zhejiang Qilehua Technology Co ltd
Priority date (The priority date is an assumption and is not a legal conclusion. Google has not performed a legal analysis and makes no representation as to the accuracy of the date listed.)
Filing date
Publication date
Application filed by Zhejiang Qilehua Technology Co ltd filed Critical Zhejiang Qilehua Technology Co ltd
Priority to CN202210694186.XA priority Critical patent/CN114951111A/en
Publication of CN114951111A publication Critical patent/CN114951111A/en
Pending legal-status Critical Current

Links

Images

Classifications

    • BPERFORMING OPERATIONS; TRANSPORTING
    • B08CLEANING
    • B08BCLEANING IN GENERAL; PREVENTION OF FOULING IN GENERAL
    • B08B3/00Cleaning by methods involving the use or presence of liquid or steam
    • B08B3/02Cleaning by the force of jets or sprays
    • B08B3/026Cleaning by making use of hand-held spray guns; Fluid preparations therefor
    • BPERFORMING OPERATIONS; TRANSPORTING
    • B08CLEANING
    • B08BCLEANING IN GENERAL; PREVENTION OF FOULING IN GENERAL
    • B08B13/00Accessories or details of general applicability for machines or apparatus for cleaning
    • BPERFORMING OPERATIONS; TRANSPORTING
    • B08CLEANING
    • B08BCLEANING IN GENERAL; PREVENTION OF FOULING IN GENERAL
    • B08B3/00Cleaning by methods involving the use or presence of liquid or steam
    • B08B3/04Cleaning involving contact with liquid
    • B08B3/10Cleaning involving contact with liquid with additional treatment of the liquid or of the object being cleaned, e.g. by heat, by electricity or by vibration
    • B08B3/14Removing waste, e.g. labels, from cleaning liquid
    • BPERFORMING OPERATIONS; TRANSPORTING
    • B08CLEANING
    • B08BCLEANING IN GENERAL; PREVENTION OF FOULING IN GENERAL
    • B08B2203/00Details of cleaning machines or methods involving the use or presence of liquid or steam
    • B08B2203/02Details of machines or methods for cleaning by the force of jets or sprays
    • B08B2203/0217Use of a detergent in high pressure cleaners; arrangements for supplying the same

Landscapes

  • Cleaning By Liquid Or Steam (AREA)

Abstract

本发明涉及高压清洗设备技术领域,尤其涉及一种智能高压清洗机。其技术方案包括:底架、蓄水箱和机箱,底架的顶部安装有蓄水箱,蓄水箱的正面通过支架放置有喷枪架,喷枪架的顶部一侧安装有清洗剂连接管底架的顶部另一侧安装有机箱,机箱的内部一侧安装有柱塞泵,柱塞泵的输出端安装有水压传感器,水压传感器的顶部通过管道安装有过滤器,机箱的顶部安装有保护罩,保护罩的一侧放置有清洗剂储液箱。本发明通过各种结构的组合使得本装置在遇到顽固污渍时,可使清洗剂与水液混合,以提高装置的清洗效果,无需将清洗机倒入水液内部全部混合,使得工作人员可根据需求对清洗剂进行智能使用,提高了装置的经济效益。

Figure 202210694186

The invention relates to the technical field of high-pressure cleaning equipment, in particular to an intelligent high-pressure cleaning machine. The technical scheme includes: a bottom frame, a water storage tank and a chassis, a water storage tank is installed on the top of the bottom frame, a spray gun frame is placed on the front of the water storage tank through a bracket, and a cleaning agent connecting pipe base frame is installed on the top side of the spray gun frame A case is installed on the other side of the top of the case, a plunger pump is installed on the inner side of the case, a water pressure sensor is installed at the output end of the piston pump, a filter is installed on the top of the water pressure sensor through a pipeline, and a protection is installed on the top of the case. cover, and a cleaning agent reservoir is placed on one side of the protective cover. Through the combination of various structures, the present invention enables the device to mix the cleaning agent with the water when encountering stubborn stains, so as to improve the cleaning effect of the device. The intelligent use of the cleaning agent according to the needs improves the economic efficiency of the device.

Figure 202210694186

Description

Intelligent high-pressure cleaning machine
Technical Field
The invention relates to the technical field of high-pressure cleaning equipment, in particular to an intelligent high-pressure cleaning machine.
Background
Along with the rapid development of economy, particularly the rapid development of the automobile industry and the popularization of automobiles, people gradually improve the living environment and improve the quality of the living environment, the market of domestic high-pressure washing equipment is rapidly increased, a high-pressure washing machine is a machine which enables a high-pressure plunger pump to generate high-pressure water to wash the surface of an object through a power device, can peel off dirt and wash away the dirt to achieve the aim of washing the surface of the object, because a high-pressure water column is used for cleaning the dirt, the high-pressure washing machine is one of scientific, economic and environment-friendly cleaning modes in the prior art, and according to the driving engine, the high-pressure washing machine is driven by a motor, the high-pressure washing machine is driven by a gasoline engine, and the high-pressure washing machine is driven by a diesel engine, the three cleaning machines are all provided with high-pressure pumps, and the three cleaning machines are different in that the three cleaning machines are respectively connected with the motor, the gasoline engine or the diesel engine to drive the high-pressure pumps to operate, the cleaning effect of product, the impact force size of with water is relevant, the impact force of water is greater than dirt and object surface adhesion, high pressure water will peel off the dirt, wash away, because use high-pressure water column to clear up the dirt, the produced foam of powerful water pressure just is enough to take away general dirt, and when meetting very hard oil stain, the cleaning effect of cleaning machine is limited, in order to guarantee the cleaning performance of device, can pour into the sanitizer into water liquid inside, and current equipment is intelligent general in the operation process, great to the sanitizer loss, therefore we propose an intelligence high pressure cleaner.
Through retrieval, patent publication No. CN207274637U discloses an intelligent high-pressure cleaning machine, which comprises a frame, wherein a plunger pump driven by a power device is fixedly installed on the frame, two ends of the plunger pump are respectively provided with a water inlet pipe and a water outlet pipe, and the water inlet pipe and the water outlet pipe are respectively connected with a water inlet pipe; the water inlet pipe is provided with a filter with a sewage draining exit, and the sewage draining exit is plugged with a plug; one end of the water inlet pipe, which is far away from the plunger pump, is provided with a connecting nut, and the connecting nut is connected with a filter head or a water source pipeline; an electric control pressure regulating valve connected with the drain pipe is also arranged on the rack, the other end of the electric control pressure regulating valve is connected with a spray pipe, and a spray gun is arranged on the spray pipe; still be equipped with the automatically controlled unit in the frame and the manometer that links to each other with the plunger pump, the manometer, automatically controlled air-vent valve and power device all link to each other with the automatically controlled unit, CN207274637U and most of these kinds of devices on the market meet very tough oil stain in the in-process of using in the prior art, the cleaning performance of cleaning machine is limited, in order to guarantee the cleaning performance of device, need pour into the sanitizer into water liquid inside, and present mix cleaner and water liquid are whole, the staff can't carry out the selective use to the cleaner according to the demand, cause the cleaner extravagant, economic benefits is general, and can't intercept water liquid impurity in the device operation process, influence the operating performance of device, we propose an intelligence high pressure cleaner in view of this and solve current problem.
Disclosure of Invention
The invention aims to provide an intelligent high-pressure cleaning machine to solve the problems in the background technology.
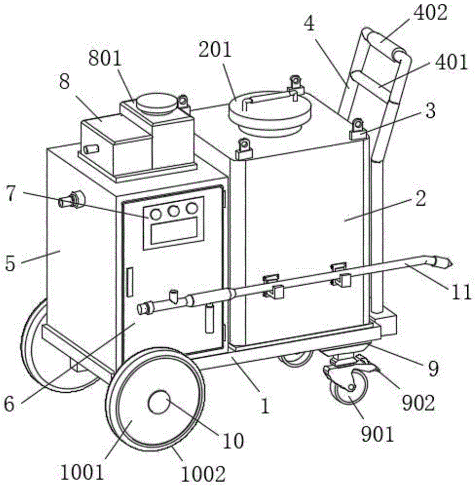
In order to achieve the purpose, the invention provides the following technical scheme: the utility model provides an intelligence high pressure cleaner, includes chassis, water storage box and quick-witted case, the mount pad is installed through the bolt in bottom one side of chassis, the water storage box is installed at the top of chassis, the top both sides welding of water storage box has two sets of welding seats, the spray gun frame has been placed through the support in the front of water storage box, the cleaner connecting pipe is installed to top one side of spray gun frame, the welding of outside one side of chassis has the push rod, quick-witted case is installed to the top opposite side of chassis, the plunger pump is installed to inside one side of quick-witted case, hydraulic pressure sensor is installed to the output of plunger pump, hydraulic pressure sensor's top has the filter through the pipe-line mounting, the chamber door is installed through the hinge in the front of machine case, the safety cover is installed at the top of machine case, the cleaner liquid storage box has been placed to one side of safety cover.
When the spray gun is used, the water storage tank can be used for providing a water storage position, the water inside the water storage tank can be extracted by utilizing the power-on operation of the plunger pump, and the water is conveyed to flow through the water pressure sensor and the filter through the pipeline and then enters the spray gun frame through the external pipeline for high-pressure spraying;
when meetting stubborn spot, the staff need not to add the washing liquid to the inside of water storage box, can extract the inside washing agent of storing of washing agent liquid storage box through starting the water pump, and carry to spray gun frame inside, make the washing agent mix with water liquid, with the cleaning performance of improvement device, and when not needing the washing agent to add, steerable water pump shut down can practice thrift the washing agent, and improve the feature of environmental protection of device, make the staff carry out intelligent use to the washing agent according to the demand, the economic benefits of device has been improved.
Preferably, a shaft rod is installed on one side of the bottom of the underframe through a bearing, a hub is installed outside the shaft rod, and an outer cover is installed outside the hub. Axostylus axostyle accessible bearing rotates in the bottom of chassis, utilizes the axostylus axostyle can provide wheel hub's mounted position, and wheel hub adopts metal material to make, has better structural strength, and wheel hub can provide mounted position for the cover tire, can be convenient for the device through the cooperation of cover tire and wheel hub and axostylus axostyle and remove, and the staff of being convenient for promotes the assigned position with the device.
Preferably, the top of the water storage tank is provided with a protective cover, the top of the protective cover is provided with a knob handle, and the knob handle is sleeved with an anti-slip sleeve. Utilize the water storage box can provide the storage position of water liquid, can provide the water source for the device operation, utilize the visor can protect the water storage box, the connected mode of visor and water storage box can adopt current common threaded connection mode, utilize the knob hand (hold) can provide the position of gripping for staff's hand, the staff of can being convenient for grips the knob hand (hold), and the staff is gripping the in-process, utilize the antiskid cover can improve the frictional force when the staff grips the knob hand (hold), so that the staff rotates the visor through the knob hand (hold), can dismantle and install the visor.
Preferably, the push rod is internally welded with a reinforcing beam, the top of the reinforcing beam is sleeved with a rubber sleeve, and the outer part of the rubber sleeve is provided with anti-skid lines in a surrounding manner. The welding that utilizes reinforcing beam and push away the thick stick can consolidate the structural strength who pushes away the thick stick for the staff grips and pushes away the thick stick and more stable when promoting the device, utilizes the cooperation of rubber sleeve and anti-skidding line can improve the frictional force when the staff grips and pushes away the thick stick, so that the staff promotes the device better.
Preferably, the top of the welding seat is welded with a lifting lug, and the lifting lug is internally provided with a through hole. The welded seat can provide the welding position for the lug, utilizes the cooperation of lug and through-hole to provide the position of binding of rope, and when the water storage box was fully loaded with water liquid, the staff of can being convenient for used outside lifting device to remove the water storage box hoist and mount, and the staff of being convenient for uses the device.
Preferably, a circuit breaker is installed on one side of the top of the interior of the case, a frequency converter is installed inside the case on one side of the circuit breaker, and a PLC is installed inside the case on one side of the frequency converter. The circuit breaker is a switch device which can close, bear and break the current under the condition of normal loop and can close, bear and break the current under the condition of abnormal loop in a specified time, the circuit breaker can be used as a power switch of a cleaning machine, the frequency converter applies the frequency conversion technology and the microelectronic technology, the frequency converter mainly comprises a rectifying unit, a filtering unit, an inversion unit, a braking unit, a driving unit, a detection unit and a microprocessing unit, the voltage and the frequency of an output power supply are adjusted by opening and closing an internal IGBT, the required power supply voltage is provided according to the actual requirement of a motor, and the purposes of energy saving and speed regulation are further achieved, in addition, the frequency converter has a plurality of protection functions, a PLC controller such as overcurrent, overvoltage, overload protection and the like is a digital electronic device with a microprocessor, is long used for automatic control, and can be used as the function regulation of the device by utilizing the cooperation of the PLC controller and the frequency converter, the pressure and flow signals collected by the water pressure sensor are converted and then transmitted to the device according to work requirements, and the device is used for fault warning, and is a common technology of the existing cleaning machine.
Preferably, a control panel is installed on the front upper side of the box door, and a button is installed on the front upper side of the control panel. The opening and closing of the box door can be used for facilitating the maintenance of electrical equipment inside the case by workers, the electrical equipment is protected, the control panel can be used for providing an operation position for the workers, the operation parameters of the device can be set by pressing the button, the control device operates, and the prior control technology can be adopted.
Preferably, the inside of safety cover is installed with the water pump, and the output of water pump passes through the pipeline and is connected with the cleaner connecting pipe. The circular telegram operation that utilizes the water pump can extract the cleaner, utilizes the water pump to pass through being connected of pipeline and cleaner connecting pipe, can carry the cleaner to spray gun frame to carry out the mixed use with cleaner and water liquid, improve the cleaning performance of device to stubborn spot.
Preferably, the bottom of the mounting seat is provided with a caster, and a limit plate is arranged in the caster. The truckle can rotate, and the device of can being convenient for of the rotation that utilizes the truckle removes, and can restrict the rotation of truckle through the limit wrench, can be convenient for the staff with the device remove to it after the assigned position restrict, the staff of being convenient for uses the device, has improved the practicality of device.
Preferably, the handle is installed to bottom one side of spray gun rack, and the water liquid connecting pipe is installed to the one end of spray gun rack, and the shower nozzle is installed to the other end of spray gun rack, and the water liquid connecting pipe passes through the pipeline and is connected with the output of plunger pump. Utilize water liquid connecting tube to pass through being connected of pipeline and plunger pump, can make the water liquid of plunger pump extraction get into the inside of spray gun frame to spray the washing liquid by the spray gun frame, utilize the handle can provide the position of gripping for staff's hand, the staff accessible grips the handle and uses the device, in order to wash the assigned position.
Compared with the prior art, the invention has the beneficial effects that:
1. according to the invention, through the combination of various structures, when the device is used, especially when stubborn stains are encountered, the cleaning agent can be mixed with water liquid so as to improve the cleaning effect of the device, and when the cleaning agent is not required to be added, the water pump can be controlled to stop running, the cleaning agent can be saved, the cleaning machine is not required to be poured into the water liquid to be completely mixed, the environmental protection property of the device is improved, so that workers can intelligently use the cleaning agent according to requirements, and the economic benefit of the device is improved.
2. According to the invention, through the combination of various structures, when water passes through the filter, impurities in the water can be intercepted by the filter, the spray gun frame is prevented from being blocked by the impurities, so that the pressure of the spray gun frame when the water is sprayed is not reduced by the influence of the impurities, and the filter is in a threaded detachable design, so that the later-stage cleaning and maintenance are facilitated.
Drawings
FIG. 1 is a front view of the present invention;
FIG. 2 is a schematic front view of the present invention;
FIG. 3 is a schematic diagram of the internal structure of the case according to the present invention;
FIG. 4 is a partial schematic view of the spray gun stand of the present invention;
FIG. 5 is a schematic view of a partial structure of the protective cover of the present invention;
FIG. 6 is a schematic view of a partial structure of a cleaning agent storage tank according to the present invention;
fig. 7 is a partial structural diagram of the controller according to the present invention.
In the figure: 1. a chassis; 2. a water storage tank; 201. a protective cover; 202. a knob handle; 203. an anti-slip sleeve; 3. welding a base; 301. lifting lugs; 302. a through hole; 4. pushing the bar; 401. reinforcing the beam; 402. a rubber sleeve; 5. a chassis; 501. a plunger pump; 502. a water pressure sensor; 503. a filter; 6. a box door; 7. a control panel; 701. a button; 8. a protective cover; 801. a cleaning agent liquid storage tank; 802. a water pump; 9. a mounting seat; 901. a caster wheel; 902. a limiting plate; 10. a shaft lever; 1001. a hub; 1002. an outer tire; 11. a spray gun stand; 1101. a grip; 1102. a cleaning agent connecting pipe; 1103. a water liquid connecting pipe; 12. a circuit breaker; 13. a frequency converter; 14. a PLC controller.
Detailed Description
The technical solution of the present invention is further explained with reference to the accompanying drawings and specific embodiments.
Example one
As shown in fig. 1, 2, 3, 4, 5, 6 and 7, the intelligent high-pressure cleaning machine provided by the invention comprises a chassis 1, a water storage tank 2 and a machine case 5, wherein one side of the bottom of the chassis 1 is provided with a mounting seat 9 through a bolt, the top of the chassis 1 is provided with the water storage tank 2, two sets of welding seats 3 are welded on two sides of the top of the water storage tank 2, a spray gun frame 11 is placed on the front surface of the water storage tank 2 through a support, a cleaning agent connecting pipe 1102 is installed on one side of the top of the spray gun frame 11, a push rod 4 is welded on one side of the outside of the chassis 1, the other side of the top of the chassis 1 is provided with the machine case 5, one side of the inside of the machine case 5 is provided with a plunger pump 501, an output end of the plunger pump 501 is provided with a water pressure sensor 502, the top of the water pressure sensor 502 is provided with a filter 503 through a pipeline, the front surface of the machine case 5 is provided with a door 6 through a hinge, a protective cover 8 is installed at the top of the case 5, and a cleaning agent storage tank 801 is placed on one side of the protective cover 8.
The working principle of the intelligent high-pressure cleaning machine based on the first embodiment is as follows: when the water spraying gun is used, the water storage tank 2 can be used for providing a water storage position, the water inside the water storage tank 2 can be extracted by the aid of the power-on operation of the plunger pump 501, the water is conveyed to flow through the water pressure sensor 502 and the filter 503 through the pipeline and then enters the spray gun frame 11 through the external pipeline to be sprayed at high pressure, the water spraying gun is a common technology of the existing high-pressure cleaning machine, when the water passes through the filter 503, impurities in the water can be intercepted by the aid of the filter 503, the spray gun frame 11 is prevented from being blocked by the impurities, so that the pressure of the spray gun frame 11 when the water is sprayed is not influenced by the impurities and reduced, and the filter 503 is in a detachable threaded design and is convenient for later-stage cleaning and maintenance;
when meetting stubborn spot, the staff need not to add the washing liquid to water storage box 2's inside, can extract the inside washing agent of storing of washing agent liquid storage box 801 through starting water pump 802, and carry to spray gun frame 11 inside, make the washing agent mix with water liquid, with the cleaning performance of improving the device, and when not needing the washing agent to add, steerable water pump 802 shut down, can practice thrift the washing agent, and improve the feature of environmental protection of device, make the staff can carry out intelligent use to the washing agent according to the demand, the economic benefits of device has been improved.
Example two
As shown in fig. 1, fig. 2, fig. 3, fig. 4, fig. 5, and fig. 7, compared with the first embodiment, the present invention further includes: the bottom of the underframe 1 is provided with a shaft lever 10 through a bearing, the outside of the shaft lever 10 is provided with a hub 1001, the outside of the hub 1001 is provided with a cover tire 1002, the top of the water storage tank 2 is provided with a protective cover 201, the top of the protective cover 201 is provided with a knob handle 202, the outside of the knob handle 202 is sleeved with an anti-slip sleeve 203, the inside of the push rod 4 is welded with a reinforcing beam 401, the top of the reinforcing beam 401 is sleeved with a rubber sleeve 402, the outside of the rubber sleeve 402 is surrounded with anti-slip patterns, the top of the welding seat 3 is welded with a lifting lug 301, the lifting lug 301 is internally provided with a through hole 302, one side of the top of the inside of the case 5 is provided with a circuit breaker 12, the inside of the case 5 at one side of the circuit breaker 12 is provided with a frequency converter 13, the inside of the case 5 at one side of the frequency converter 13 is provided with a PLC 14, the front upper part of the case 6 is provided with a control panel 7, and the front part of the control panel 7 is provided with a button 701, the internally mounted of safety cover 8 has water pump 802, and the output of water pump 802 passes through the pipeline and is connected with cleaner connecting pipe 1102, truckle 901 is installed to the bottom of mount pad 9, and the internally mounted of truckle 901 has stop plate 902, handle 1101 is installed to bottom one side of spray gun rack 11, and water liquid connecting pipe 1103 is installed to the one end of spray gun rack 11, and the shower nozzle is installed to the other end of spray gun rack 11, and water liquid connecting pipe 1103 passes through the pipeline and is connected with plunger pump 501's output.
In this embodiment, as shown in fig. 1 and fig. 2, the shaft 10 can rotate at the bottom of the chassis 1 through a bearing, the shaft 10 can provide an installation position of the hub 1001, the hub 1001 is made of a metal material and has a better structural strength, the hub 1001 can provide an installation position for the outer tire 1002, and the outer tire 1002 can be matched with the hub 1001 and the shaft 10 to facilitate the movement of the device, so that a worker can push the device to a designated position; as shown in fig. 1 and 5, the water storage tank 2 can provide a water storage position for water, so as to provide a water source for the operation of the device, the protective cover 201 can protect the water storage tank 2, the protective cover 201 and the water storage tank 2 can be connected by a conventional threaded connection method, the knob handle 202 can provide a holding position for the hand of a worker, so that the worker can hold the knob handle 202 conveniently, and the worker can improve the friction force when holding the knob handle 202 by the worker by using the anti-slip sleeve 203 during the holding process, so that the worker can rotate the protective cover 201 by the knob handle 202, and can detach and install the protective cover 201; as shown in fig. 1, the structural strength of the push rod 4 can be reinforced by welding the reinforcing beam 401 and the push rod 4, so that the device can be pushed more stably when a worker holds the push rod 4, and the friction force of the worker holding the push rod 4 can be improved by matching the rubber sleeve 402 with the anti-slip lines, so that the worker can push the device better; as shown in fig. 1 and 5, the welding seat 3 can provide a welding position for the lifting lug 301, and a binding position of a rope can be provided by matching the lifting lug 301 with the through hole 302, so that when the water storage tank 2 is fully filled with water, a worker can conveniently use external hoisting equipment to hoist and move the water storage tank 2, and the worker can conveniently use the device;
as shown in fig. 1 and 3, the breaker 12 is a switch device capable of closing, bearing and opening/closing the current under the normal loop condition and closing, bearing and opening/closing the current under the abnormal loop condition within a specified time, the breaker 12 can be used as a power switch of a cleaning machine, the inverter 13 applies the frequency conversion technology and the microelectronic technology, the inverter 13 mainly comprises a rectifying unit, a filtering unit, an inverting unit, a braking unit, a driving unit, a detecting unit and the like, the voltage and the frequency of an output power supply are adjusted by opening/closing an internal IGBT, the required power supply voltage is provided according to the actual requirement of the motor, and further the purposes of energy saving and speed regulation are achieved, in addition, the inverter 13 has a plurality of protection functions, and the PLC controller 14 such as overcurrent, overvoltage, overload protection and the like is a digital electronic device with a microprocessor, which is long used for automatic control, the PLC 14 and the frequency converter 13 are used in cooperation to adjust the function of the device, pressure and flow signals collected by the water pressure sensor 502 are converted, and then instructions for acceleration and deceleration are transmitted to the device according to working requirements, and the device is used for fault warning, and is a common technology of the existing cleaning machine; as shown in fig. 1 and 7, the opening and closing of the box door 6 can facilitate the maintenance of the electrical equipment inside the cabinet 5 by the operator and provide protection for the electrical equipment, the control panel 7 can provide an operation position for the operator, and the operation parameters of the device can be set by pressing the button 701 to control the device to operate, which can adopt the existing control technology; as shown in fig. 1 and 5, the cleaning agent can be pumped by the power-on operation of the water pump 802, and the cleaning agent can be conveyed to the spray gun rack 11 by the connection of the water pump 802 and the cleaning agent connecting pipe 1102 through a pipeline, so that the cleaning agent and water liquid can be mixed for use, and the cleaning performance of the device on stubborn stains is improved; as shown in fig. 1, the caster 901 can rotate, the rotation of the caster 901 can facilitate the movement of the device, and the limiting plate 902 can limit the rotation of the caster 901, so that a worker can conveniently limit the device after moving the device to a specified position, the worker can conveniently use the device, and the practicability of the device is improved; as shown in fig. 1 and 4, the water connecting pipe 1103 is connected to the plunger pump 501 through a pipe, so that the water pumped by the plunger pump 501 enters the interior of the spray gun rack 11, the spray gun rack 11 sprays the cleaning solution, the grip 1101 can provide a holding position for the hand of the worker, and the worker can use the device by holding the grip 1101 to wash the designated position.
The above embodiments are merely some preferred embodiments of the present invention, and those skilled in the art can make various alternative modifications and combinations based on the technical solution of the present invention and the related teaching of the above embodiments.

Claims (10)

1.一种智能高压清洗机,包括底架(1)、蓄水箱(2)和机箱(5),其特征在于:所述底架(1)的底部一侧通过螺栓安装有安装座(9),所述底架(1)的顶部安装有蓄水箱(2),所述蓄水箱(2)的顶部两侧焊接有两组焊接座(3),所述蓄水箱(2)的正面通过支架放置有喷枪架(11),所述喷枪架(11)的顶部一侧安装有清洗剂连接管(1102),所述底架(1)的外部一侧焊接有推杠(4),所述底架(1)的顶部另一侧安装有机箱(5),所述机箱(5)的内部一侧安装有柱塞泵(501),所述柱塞泵(501)的输出端安装有水压传感器(502),所述水压传感器(502)的顶部通过管道安装有过滤器(503),所述机箱(5)的正面通过合页安装有箱门(6),所述机箱(5)的顶部安装有保护罩(8),所述保护罩(8)的一侧放置有清洗剂储液箱(801)。1. An intelligent high-pressure cleaning machine, comprising a chassis (1), a water storage tank (2) and a chassis (5), characterized in that: the bottom side of the chassis (1) is provided with a mounting seat ( 9), a water storage tank (2) is installed on the top of the bottom frame (1), and two sets of welding seats (3) are welded on both sides of the top of the water storage tank (2). ), a spray gun frame (11) is placed on the front of the frame (11), a cleaning agent connecting pipe (1102) is installed on the top side of the spray gun frame (11), and a push rod (1102) is welded on the outer side of the bottom frame (1). 4), a case (5) is installed on the other side of the top of the chassis (1), a plunger pump (501) is installed on the inner side of the case (5), and the plunger pump (501) is A water pressure sensor (502) is installed at the output end, a filter (503) is installed on the top of the water pressure sensor (502) through a pipeline, and a box door (6) is installed on the front of the case (5) through a hinge, A protective cover (8) is installed on the top of the chassis (5), and a cleaning agent liquid storage tank (801) is placed on one side of the protective cover (8). 2.根据权利要求1所述的一种智能高压清洗机,其特征在于:所述底架(1)的底部一侧通过轴承安装有轴杆(10),且轴杆(10)的外部安装有轮毂(1001),且轮毂(1001)的外部安装有外胎(1002)。2. An intelligent high-pressure washer according to claim 1, characterized in that: a shaft (10) is installed on the bottom side of the bottom frame (1) through a bearing, and the shaft (10) is mounted on the outside There is a hub (1001), and a tire (1002) is mounted on the outside of the hub (1001). 3.根据权利要求1所述的一种智能高压清洗机,其特征在于:所述蓄水箱(2)的顶部安装有保护盖(201),保护盖(201)的顶部安装有旋钮手把(202),且旋钮手把(202)的外部套有防滑套(203)。3. The intelligent high-pressure washer according to claim 1, wherein a protective cover (201) is installed on the top of the water storage tank (2), and a knob handle is installed on the top of the protective cover (201). (202), and the outer cover of the knob handle (202) is covered with a non-slip cover (203). 4.根据权利要求1所述的一种智能高压清洗机,其特征在于:所述推杠(4)的内部焊接有加固梁(401),且加固梁(401)的顶部套有橡胶套(402),且橡胶套(402)的外部环绕设有防滑纹。4. An intelligent high-pressure cleaner according to claim 1, characterized in that: a reinforcing beam (401) is welded inside the push bar (4), and a rubber sleeve (401) is covered on the top of the reinforcing beam (401). 402), and the outer periphery of the rubber cover (402) is provided with anti-skid patterns. 5.根据权利要求1所述的一种智能高压清洗机,其特征在于:所述焊接座(3)的顶部焊接有吊耳(301),且吊耳(301)的内部开设有通孔(302)。5. An intelligent high-pressure cleaner according to claim 1, characterized in that: a lifting lug (301) is welded on the top of the welding seat (3), and a through hole (301) is opened inside the lifting lug (301). 302). 6.根据权利要求1所述的一种智能高压清洗机,其特征在于:所述机箱(5)内部的顶部一侧安装有断路器(12),断路器(12)一侧的机箱(5)内部安装有变频器(13),且变频器(13)一侧的机箱(5)内部安装有PLC控制器(14)。6. An intelligent high-pressure cleaning machine according to claim 1, characterized in that: a circuit breaker (12) is installed on one side of the top inside the case (5), and a case (5) on one side of the circuit breaker (12) is installed. ) a frequency converter (13) is installed inside, and a PLC controller (14) is installed inside the chassis (5) on one side of the frequency converter (13). 7.根据权利要求1所述的一种智能高压清洗机,其特征在于:所述箱门(6)的正面上方安装有控制面板(7),且控制面板(7)的正面上方安装有按钮(701)。7. An intelligent high-pressure cleaner according to claim 1, characterized in that: a control panel (7) is installed above the front of the box door (6), and a button is installed above the front of the control panel (7). (701). 8.根据权利要求1所述的一种智能高压清洗机,其特征在于:所述保护罩(8)的内部安装有水泵(802),且水泵(802)的输出端通过管道与清洗剂连接管(1102)连接。8 . The intelligent high-pressure cleaner according to claim 1 , wherein a water pump ( 802 ) is installed inside the protective cover ( 8 ), and the output end of the water pump ( 802 ) is connected to the cleaning agent through a pipeline. 9 . Tube (1102) connection. 9.根据权利要求1所述的一种智能高压清洗机,其特征在于:所述安装座(9)的底部安装有脚轮(901),且脚轮(901)的内部安装有限位扳(902)。9. The intelligent high-pressure washer according to claim 1, wherein a caster (901) is installed at the bottom of the mounting seat (9), and a limit lever (902) is installed inside the caster (901) . 10.根据权利要求1所述的一种智能高压清洗机,其特征在于:所述喷枪架(11)的底部一侧安装有握把(1101),喷枪架(11)的一端安装有水液连接管(1103),喷枪架(11)的另一端安装有喷头,且水液连接管(1103)通过管道与柱塞泵(501)的输出端连接。10. An intelligent high-pressure cleaner according to claim 1, characterized in that: a handle (1101) is installed on one side of the bottom of the spray gun frame (11), and a water liquid is installed at one end of the spray gun frame (11). A connecting pipe (1103), the other end of the spray gun frame (11) is provided with a spray head, and the water-liquid connecting pipe (1103) is connected with the output end of the plunger pump (501) through a pipeline.
CN202210694186.XA 2022-06-20 2022-06-20 Intelligent high-pressure cleaning machine Pending CN114951111A (en)

Priority Applications (1)

Application Number Priority Date Filing Date Title
CN202210694186.XA CN114951111A (en) 2022-06-20 2022-06-20 Intelligent high-pressure cleaning machine

Applications Claiming Priority (1)

Application Number Priority Date Filing Date Title
CN202210694186.XA CN114951111A (en) 2022-06-20 2022-06-20 Intelligent high-pressure cleaning machine

Publications (1)

Publication Number Publication Date
CN114951111A true CN114951111A (en) 2022-08-30

Family

ID=82962835

Family Applications (1)

Application Number Title Priority Date Filing Date
CN202210694186.XA Pending CN114951111A (en) 2022-06-20 2022-06-20 Intelligent high-pressure cleaning machine

Country Status (1)

Country Link
CN (1) CN114951111A (en)

Citations (9)

* Cited by examiner, † Cited by third party
Publication number Priority date Publication date Assignee Title
JP2005324158A (en) * 2004-05-17 2005-11-24 Taisei Engineering Co Ltd Apparatus for removing adhered matter
CN2848366Y (en) * 2005-07-12 2006-12-20 吴伟烽 Multifunction high efficiency cleaning water syringe
CN105942919A (en) * 2016-06-28 2016-09-21 安庆天蛛外墙清洗有限公司 Spray device special for cleaning outer wall of tall building
CN206168851U (en) * 2016-09-21 2017-05-17 东莞市鹿瀚电子有限公司 A fast and efficient washing machine
CN207274637U (en) * 2017-09-14 2018-04-27 任海龙 A kind of intelligent high-pressure cleaning machine
CN207952105U (en) * 2018-01-11 2018-10-12 东北林业大学 The super atomization plane cleaning device of one kind
CN213435902U (en) * 2020-08-21 2021-06-15 长沙凯德防水涂料有限公司 Novel high-pressure cleaning machine
CN215278789U (en) * 2021-05-08 2021-12-24 江苏俊屹佳工业设备有限公司 Movable high-pressure cleaning device
CN216574502U (en) * 2021-10-18 2022-05-24 上海巴道江山环保科技有限公司 Cold water type high-pressure cleaning machine capable of automatically adding cleaning agent

Patent Citations (9)

* Cited by examiner, † Cited by third party
Publication number Priority date Publication date Assignee Title
JP2005324158A (en) * 2004-05-17 2005-11-24 Taisei Engineering Co Ltd Apparatus for removing adhered matter
CN2848366Y (en) * 2005-07-12 2006-12-20 吴伟烽 Multifunction high efficiency cleaning water syringe
CN105942919A (en) * 2016-06-28 2016-09-21 安庆天蛛外墙清洗有限公司 Spray device special for cleaning outer wall of tall building
CN206168851U (en) * 2016-09-21 2017-05-17 东莞市鹿瀚电子有限公司 A fast and efficient washing machine
CN207274637U (en) * 2017-09-14 2018-04-27 任海龙 A kind of intelligent high-pressure cleaning machine
CN207952105U (en) * 2018-01-11 2018-10-12 东北林业大学 The super atomization plane cleaning device of one kind
CN213435902U (en) * 2020-08-21 2021-06-15 长沙凯德防水涂料有限公司 Novel high-pressure cleaning machine
CN215278789U (en) * 2021-05-08 2021-12-24 江苏俊屹佳工业设备有限公司 Movable high-pressure cleaning device
CN216574502U (en) * 2021-10-18 2022-05-24 上海巴道江山环保科技有限公司 Cold water type high-pressure cleaning machine capable of automatically adding cleaning agent

Similar Documents

Publication Publication Date Title
CN101357626B (en) Multifunctional car washer
CN114951111A (en) Intelligent high-pressure cleaning machine
CN209077384U (en) A kind of plastic container cleaning device
CN111013176A (en) Rectifying tower convenient to inner wall clearance
CN201842061U (en) Mobile car washing device
CN210386732U (en) Novel aluminum foil cleaning device
CN209829679U (en) High-pressure water surface cleaner for realizing automatic vacuum recovery of wastewater
CN202656997U (en) Intelligent high-pressure water gun
CN209503864U (en) The mixing multi-functional ship rust remover of three mixing sand tanks before frequency conversion
CN206219117U (en) Vehicle is from jacking apparatus
CN213029378U (en) Shower nozzle detachable forestry is planted and is used irrigation equipment
CN210373636U (en) Range hood cleaning machine
CN204710767U (en) High-pressure spray wash device and portable hydro-peening car
CN211100603U (en) Hopper is from belt cleaning device
CN210174820U (en) New forms of energy outdoor automobile belt cleaning device
CN200970702Y (en) Handle type multifunction concrete floor polishing machine
CN219386695U (en) A waterproof plugging device
CN218233047U (en) Small emulsified asphalt spraying machine
CN213855914U (en) Agricultural machine tire processing equipment
CN207617690U (en) A kind of vehicle mounted portable high pressure car washer
CN216546116U (en) Controllable high pressure cleaner of water yield
CN216989057U (en) Closed spray dryer with one-key environment-friendly cleaning function and used for hard alloy
CN206104165U (en) Large -traffic spraying waterproofing work professional equipment
CN217963722U (en) Highway sign cleaning equipment
CN111809681A (en) Water conservancy pipeline pull throughs of high-efficient environmental protection

Legal Events

Date Code Title Description
PB01 Publication
PB01 Publication
SE01 Entry into force of request for substantive examination
SE01 Entry into force of request for substantive examination
RJ01 Rejection of invention patent application after publication

Application publication date: 20220830

RJ01 Rejection of invention patent application after publication